JP2010031355A - 高亜鉛含有鉄鉱石を用いた粒鉄製造方法 - Google Patents
高亜鉛含有鉄鉱石を用いた粒鉄製造方法 Download PDFInfo
- Publication number
- JP2010031355A JP2010031355A JP2009106319A JP2009106319A JP2010031355A JP 2010031355 A JP2010031355 A JP 2010031355A JP 2009106319 A JP2009106319 A JP 2009106319A JP 2009106319 A JP2009106319 A JP 2009106319A JP 2010031355 A JP2010031355 A JP 2010031355A
- Authority
- JP
- Japan
- Prior art keywords
- zinc
- iron
- iron ore
- dust
- raw material
- Prior art date
- Legal status (The legal status is an assumption and is not a legal conclusion. Google has not performed a legal analysis and makes no representation as to the accuracy of the status listed.)
- Granted
Links
Images
Classifications
-
- Y—GENERAL TAGGING OF NEW TECHNOLOGICAL DEVELOPMENTS; GENERAL TAGGING OF CROSS-SECTIONAL TECHNOLOGIES SPANNING OVER SEVERAL SECTIONS OF THE IPC; TECHNICAL SUBJECTS COVERED BY FORMER USPC CROSS-REFERENCE ART COLLECTIONS [XRACs] AND DIGESTS
- Y02—TECHNOLOGIES OR APPLICATIONS FOR MITIGATION OR ADAPTATION AGAINST CLIMATE CHANGE
- Y02P—CLIMATE CHANGE MITIGATION TECHNOLOGIES IN THE PRODUCTION OR PROCESSING OF GOODS
- Y02P10/00—Technologies related to metal processing
- Y02P10/20—Recycling
Landscapes
- Manufacture And Refinement Of Metals (AREA)
- Manufacture Of Iron (AREA)
Abstract
【解決手段】亜鉛を0.01mass%以上、鉄を50mass%以上含有する高亜鉛含有鉄鉱石を含有する鉄鉱石と、炭素系固体還元材と、造滓材とを混合した混合原料4を移動型炉床3上に積層し、炉床3上部から熱供給して混合原料4を還元し、更に溶融させて、還元鉄を得ることを特徴とする高亜鉛含有鉄鉱石を用いた粒鉄製造方法を用いる。高亜鉛含有鉄鉱石の配合量が鉄鉱石の10mass%以上であること、炉床3上に炭材を積層した上に、混合原料4を積層すること、混合原料4を塊成化して、炉床3上に積層すること、混合原料4を1450℃以上で加熱することが好ましい。
【選択図】図1
Description
(1)、亜鉛を0.01mass%以上、鉄を50mass%以上含有する高亜鉛含有鉄鉱石を含有する鉄鉱石と、炭素系固体還元材と、造滓材とを混合した混合原料を移動型炉床上に積載し、該炉床上部から熱供給して前記混合原料を還元し、更に溶融させて、還元鉄を得ることを特徴とする高亜鉛含有鉄鉱石を用いた粒鉄製造方法。
(2)、高亜鉛含有鉄鉱石の配合量が鉄鉱石の10mass%以上であることを特徴とする(1)に記載の高亜鉛含有鉄鉱石を用いた粒鉄製造方法。
(3)、炉床上に炭材を積載した上に、混合原料を積層することを特徴とする(1)または(2)に記載の高亜鉛含有鉄鉱石を用いた粒鉄製造方法。
(4)、混合原料を塊成化して、炉床上に積載することを特徴とする(1)ないし(3)のいずれかに記載の高亜鉛含有鉄鉱石を用いた粒鉄製造方法。
(5)、混合原料を1450℃以上で加熱することを特徴とする(1)ないし(4)のいずれかに記載の高亜鉛含有鉄鉱石を用いた粒鉄製造方法。
(6)、(1)ないし(5)のいずれかに記載の粒鉄製造方法において移動型炉床炉で発生したダストの少なくとも一部を回収し、該ダストを前記移動型炉床上に積載し、該炉床上部から熱供給して、前記移動型炉床炉で発生するダストから粗酸化亜鉛を得ることを特徴とする高亜鉛含有鉄鉱石を用いた粒鉄製造方法。
(7)、混合原料中の鉄鉱石の平均亜鉛濃度が0.005mass%以上であることを特徴とする(6)に記載の高亜鉛含有鉄鉱石を用いた粒鉄製造方法。
(8)、(1)ないし(5)のいずれかに記載の粒鉄製造方法において、高亜鉛含有鉄鉱石を含有する鉄鉱石と、亜鉛含有ダストと、炭素系固体還元材と、造滓材とを混合した混合原料を移動型炉床上に積載し、該炉床上部から熱供給して、前記移動型炉床炉で発生するダストから粗酸化亜鉛を得ることを特徴とする高亜鉛含有鉄鉱石を用いた粒鉄製造方法。
(9)、混合原料中の平均亜鉛濃度が0.45mass%以上であることを特徴とする(8)に記載の高亜鉛含有鉄鉱石を用いた粒鉄製造方法。
高亜鉛含有鉄鉱石が微粉鉱石の場合(粒径3mm以下)には、炭素系固体還元材、造滓材とともに塊成化して、炭材内装ペレットとして用いることもできる。塊成化した原料は加熱時の飛散が少なく、ダストの亜鉛濃度を向上させることができる。同様に圧縮成型して、ブリケットとしてから使用することもできる。また、造粒時、ベントナイトなどの無機バインダー、糖蜜、コーンスターチなどの有機バインダーを混合して、より強度を高めることもできる。これらペレットやブリケットは水分を蒸発させてから、使用することも可能である。 一方で、高亜鉛含有鉄鉱石を粉状のままで使用することも効果的である。粉原料のまま使用することにより、塊を製造するための設備、電力、バインダーなどの費用が不要になり、経済性向上に寄与することができる。
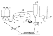
2 炉体
2a 予熱帯
2b 還元帯
2c 溶融帯
2d 冷却帯
3 回転炉床
4 混合原料
5 バーナー
6 装入装置
7 排出装置
8 冷却装置
11 鉱石ホッパー
12 石炭ホッパー
13 造滓材ホッパー
14 混合機
15 回転炉床炉
16 還元鉄排出口
17 排ガスダクト用バグフィルター
18 粉体搬送用ローリー
19 吸引ファン
20 煙突
21 回収ダスト搬送コンベアー
21a 第1回収ダスト搬送コンベアー
21b 第2回収ダスト搬送コンベアー
22 第1回収ダスト貯蔵ホッパー
23 ダストヤード
Claims (9)
- 亜鉛を0.01mass%以上、鉄を50mass%以上含有する高亜鉛含有鉄鉱石を含有する鉄鉱石と、炭素系固体還元材と、造滓材とを混合した混合原料を移動型炉床上に積載し、該炉床上部から熱供給して前記混合原料を還元し、更に溶融させて、還元鉄を得ることを特徴とする高亜鉛含有鉄鉱石を用いた粒鉄製造方法。
- 高亜鉛含有鉄鉱石の配合量が鉄鉱石の10mass%以上であることを特徴とする請求項1に記載の高亜鉛含有鉄鉱石を用いた粒鉄製造方法。
- 炉床上に炭材を積載した上に、混合原料を積層することを特徴とする請求項1または請求項2に記載の高亜鉛含有鉄鉱石を用いた粒鉄製造方法。
- 混合原料を塊成化して、炉床上に積載することを特徴とする請求項1ないし請求項3のいずれかに記載の高亜鉛含有鉄鉱石を用いた粒鉄製造方法。
- 混合原料を1450℃以上で加熱することを特徴とする請求項1ないし請求項4のいずれかに記載の高亜鉛含有鉄鉱石を用いた粒鉄製造方法。
- 請求項1ないし請求項5のいずれかに記載の粒鉄製造方法において移動型炉床炉で発生したダストの少なくとも一部を回収し、該ダストを前記移動型炉床上に積載し、該炉床上部から熱供給して、前記移動型炉床炉で発生するダストから粗酸化亜鉛を得ることを特徴とする高亜鉛含有鉄鉱石を用いた粒鉄製造方法。
- 混合原料中の鉄鉱石の平均亜鉛濃度が0.005mass%以上であることを特徴とする請求項6に記載の高亜鉛含有鉄鉱石を用いた粒鉄製造方法。
- 請求項1ないし請求項5のいずれかに記載の粒鉄製造方法において、高亜鉛含有鉄鉱石を含有する鉄鉱石と、亜鉛含有ダストと、炭素系固体還元材と、造滓材とを混合した混合原料を移動型炉床上に積載し、該炉床上部から熱供給して、前記移動型炉床炉で発生するダストから粗酸化亜鉛を得ることを特徴とする高亜鉛含有鉄鉱石を用いた粒鉄製造方法。
- 混合原料中の平均亜鉛濃度が0.45mass%以上であることを特徴とする請求項8に記載の高亜鉛含有鉄鉱石を用いた粒鉄製造方法。
Priority Applications (1)
| Application Number | Priority Date | Filing Date | Title |
|---|---|---|---|
| JP2009106319A JP5396991B2 (ja) | 2008-04-25 | 2009-04-24 | 高亜鉛含有鉄鉱石を用いた粒鉄製造方法 |
Applications Claiming Priority (5)
| Application Number | Priority Date | Filing Date | Title |
|---|---|---|---|
| JP2008115674 | 2008-04-25 | ||
| JP2008115674 | 2008-04-25 | ||
| JP2008169804 | 2008-06-30 | ||
| JP2008169804 | 2008-06-30 | ||
| JP2009106319A JP5396991B2 (ja) | 2008-04-25 | 2009-04-24 | 高亜鉛含有鉄鉱石を用いた粒鉄製造方法 |
Publications (2)
| Publication Number | Publication Date |
|---|---|
| JP2010031355A true JP2010031355A (ja) | 2010-02-12 |
| JP5396991B2 JP5396991B2 (ja) | 2014-01-22 |
Family
ID=41736173
Family Applications (1)
| Application Number | Title | Priority Date | Filing Date |
|---|---|---|---|
| JP2009106319A Expired - Fee Related JP5396991B2 (ja) | 2008-04-25 | 2009-04-24 | 高亜鉛含有鉄鉱石を用いた粒鉄製造方法 |
Country Status (1)
| Country | Link |
|---|---|
| JP (1) | JP5396991B2 (ja) |
Cited By (3)
| Publication number | Priority date | Publication date | Assignee | Title |
|---|---|---|---|---|
| JP2010031356A (ja) * | 2008-04-25 | 2010-02-12 | Jfe Steel Corp | 高亜鉛含有鉄鉱石を用いた還元鉄製造方法 |
| JP2020176302A (ja) * | 2019-04-18 | 2020-10-29 | 株式会社神戸製鋼所 | Znを含有した金属鉄を含んだ原料の使用方法 |
| JP2025505070A (ja) * | 2023-01-09 | 2025-02-21 | 高麗亞鉛株式会社 | 製鋼粉塵から鉄及び有価金属を回収する方法 |
Citations (8)
| Publication number | Priority date | Publication date | Assignee | Title |
|---|---|---|---|---|
| JPH11172312A (ja) * | 1997-09-30 | 1999-06-29 | Kawasaki Steel Corp | 移動型炉床炉の操業方法および移動型炉床炉 |
| JPH11335712A (ja) * | 1998-05-27 | 1999-12-07 | Kawasaki Steel Corp | 還元鉄の製造方法 |
| JP2000169906A (ja) * | 1998-12-04 | 2000-06-20 | Nippon Steel Corp | 回転炉床式還元炉の排ガス処理方法及び装置 |
| JP2001033173A (ja) * | 1999-07-21 | 2001-02-09 | Nippon Steel Corp | 回転炉床法の排ガス処理設備、および、その操業方法 |
| JP2005220398A (ja) * | 2004-02-05 | 2005-08-18 | Mitsubishi-Hitachi Metals Machinery Inc | 還元金属成型体及びその製造装置、製造方法 |
| JP2005299979A (ja) * | 2004-04-08 | 2005-10-27 | Nippon Steel Corp | 回転炉床式還元炉の排ガス処理装置および排ガス処理方法 |
| WO2009131242A1 (ja) * | 2008-04-25 | 2009-10-29 | Jfeスチール株式会社 | 還元鉄の製造方法 |
| JP2010031356A (ja) * | 2008-04-25 | 2010-02-12 | Jfe Steel Corp | 高亜鉛含有鉄鉱石を用いた還元鉄製造方法 |
-
2009
- 2009-04-24 JP JP2009106319A patent/JP5396991B2/ja not_active Expired - Fee Related
Patent Citations (8)
| Publication number | Priority date | Publication date | Assignee | Title |
|---|---|---|---|---|
| JPH11172312A (ja) * | 1997-09-30 | 1999-06-29 | Kawasaki Steel Corp | 移動型炉床炉の操業方法および移動型炉床炉 |
| JPH11335712A (ja) * | 1998-05-27 | 1999-12-07 | Kawasaki Steel Corp | 還元鉄の製造方法 |
| JP2000169906A (ja) * | 1998-12-04 | 2000-06-20 | Nippon Steel Corp | 回転炉床式還元炉の排ガス処理方法及び装置 |
| JP2001033173A (ja) * | 1999-07-21 | 2001-02-09 | Nippon Steel Corp | 回転炉床法の排ガス処理設備、および、その操業方法 |
| JP2005220398A (ja) * | 2004-02-05 | 2005-08-18 | Mitsubishi-Hitachi Metals Machinery Inc | 還元金属成型体及びその製造装置、製造方法 |
| JP2005299979A (ja) * | 2004-04-08 | 2005-10-27 | Nippon Steel Corp | 回転炉床式還元炉の排ガス処理装置および排ガス処理方法 |
| WO2009131242A1 (ja) * | 2008-04-25 | 2009-10-29 | Jfeスチール株式会社 | 還元鉄の製造方法 |
| JP2010031356A (ja) * | 2008-04-25 | 2010-02-12 | Jfe Steel Corp | 高亜鉛含有鉄鉱石を用いた還元鉄製造方法 |
Cited By (4)
| Publication number | Priority date | Publication date | Assignee | Title |
|---|---|---|---|---|
| JP2010031356A (ja) * | 2008-04-25 | 2010-02-12 | Jfe Steel Corp | 高亜鉛含有鉄鉱石を用いた還元鉄製造方法 |
| JP2020176302A (ja) * | 2019-04-18 | 2020-10-29 | 株式会社神戸製鋼所 | Znを含有した金属鉄を含んだ原料の使用方法 |
| JP7180045B2 (ja) | 2019-04-18 | 2022-11-30 | 株式会社神戸製鋼所 | Znを含有した金属鉄を含んだ原料の使用方法 |
| JP2025505070A (ja) * | 2023-01-09 | 2025-02-21 | 高麗亞鉛株式会社 | 製鋼粉塵から鉄及び有価金属を回収する方法 |
Also Published As
| Publication number | Publication date |
|---|---|
| JP5396991B2 (ja) | 2014-01-22 |
Similar Documents
| Publication | Publication Date | Title |
|---|---|---|
| JP5397021B2 (ja) | 還元鉄製造方法 | |
| CN103468961B (zh) | 一种密闭冲天炉处理钢铁厂含锌、铅粉尘工艺方法 | |
| CN101481753B (zh) | 一种从红土氧化镍矿冶炼镍铁合金的方法 | |
| CN108796217B (zh) | 一种含锌含铁尘泥资源化利用的装置及方法 | |
| KR101234388B1 (ko) | 환원철의 제조 방법 | |
| EP1408124A1 (en) | Method for producing feed material for molten metal production and method for producing molten metal | |
| KR100210649B1 (ko) | 더스트로부터 산화아연을 회수하는 방법 및 그 장치 | |
| JP5334240B2 (ja) | 製鋼用還元鉄塊成鉱の製造方法 | |
| JP4499306B2 (ja) | ロータリーキルンを用いた亜鉛含有酸化鉄の脱亜鉛方法 | |
| JP5428534B2 (ja) | 高亜鉛含有鉄鉱石を用いた銑鉄製造方法 | |
| JP5396991B2 (ja) | 高亜鉛含有鉄鉱石を用いた粒鉄製造方法 | |
| CA2831461C (en) | Use of bimodal carbon distribution in compacts for producing metallic iron nodules | |
| JP2002517607A (ja) | 酸化鉄の強化された直接還元による持続的製鉄及び固体廃棄物の最小化 | |
| JP3035285B1 (ja) | 電気炉ダスト含有製鋼用加炭材の製造方法及びそれにより得られる製鋼用加炭材並びに電気炉ダストのリサイクル方法 | |
| JP2011246760A (ja) | フェロモリブデンの製造方法およびフェロモリブデン | |
| JP4120230B2 (ja) | 移動型炉床炉の操業方法 | |
| JP5428495B2 (ja) | 高亜鉛含有鉄鉱石を用いた還元鉄製造方法 | |
| JPH06330198A (ja) | ダスト中の亜鉛の回収方法 | |
| JP5397020B2 (ja) | 還元鉄製造方法 | |
| JP2011179090A (ja) | 粒鉄製造方法 | |
| JP2001521583A (ja) | 真鍮鋳造工場廃棄物の再利用法 | |
| WO1998059079A1 (en) | Low sulfur iron reduction process using a rotary hearth furnace | |
| JP5119815B2 (ja) | 移動型炉床炉の操業方法 | |
| JP2011132578A (ja) | 鉱石を用いた粒鉄製造方法 | |
| JPH1129807A (ja) | 溶銑製造方法 |
Legal Events
| Date | Code | Title | Description |
|---|---|---|---|
| RD03 | Notification of appointment of power of attorney |
Free format text: JAPANESE INTERMEDIATE CODE: A7423 Effective date: 20120321 |
|
| RD04 | Notification of resignation of power of attorney |
Free format text: JAPANESE INTERMEDIATE CODE: A7424 Effective date: 20120327 |
|
| A621 | Written request for application examination |
Free format text: JAPANESE INTERMEDIATE CODE: A621 Effective date: 20120402 |
|
| A131 | Notification of reasons for refusal |
Free format text: JAPANESE INTERMEDIATE CODE: A131 Effective date: 20130702 |
|
| A521 | Request for written amendment filed |
Free format text: JAPANESE INTERMEDIATE CODE: A523 Effective date: 20130830 |
|
| TRDD | Decision of grant or rejection written | ||
| A01 | Written decision to grant a patent or to grant a registration (utility model) |
Free format text: JAPANESE INTERMEDIATE CODE: A01 Effective date: 20130924 |
|
| A61 | First payment of annual fees (during grant procedure) |
Free format text: JAPANESE INTERMEDIATE CODE: A61 Effective date: 20131007 |
|
| R150 | Certificate of patent or registration of utility model |
Ref document number: 5396991 Country of ref document: JP Free format text: JAPANESE INTERMEDIATE CODE: R150 |
|
| R250 | Receipt of annual fees |
Free format text: JAPANESE INTERMEDIATE CODE: R250 |
|
| R250 | Receipt of annual fees |
Free format text: JAPANESE INTERMEDIATE CODE: R250 |
|
| LAPS | Cancellation because of no payment of annual fees |
