JP2005299979A - 回転炉床式還元炉の排ガス処理装置および排ガス処理方法 - Google Patents
回転炉床式還元炉の排ガス処理装置および排ガス処理方法 Download PDFInfo
- Publication number
- JP2005299979A JP2005299979A JP2004114331A JP2004114331A JP2005299979A JP 2005299979 A JP2005299979 A JP 2005299979A JP 2004114331 A JP2004114331 A JP 2004114331A JP 2004114331 A JP2004114331 A JP 2004114331A JP 2005299979 A JP2005299979 A JP 2005299979A
- Authority
- JP
- Japan
- Prior art keywords
- exhaust gas
- gas treatment
- rotary hearth
- reduction furnace
- zinc
- Prior art date
- Legal status (The legal status is an assumption and is not a legal conclusion. Google has not performed a legal analysis and makes no representation as to the accuracy of the status listed.)
- Granted
Links
Images
Classifications
-
- Y—GENERAL TAGGING OF NEW TECHNOLOGICAL DEVELOPMENTS; GENERAL TAGGING OF CROSS-SECTIONAL TECHNOLOGIES SPANNING OVER SEVERAL SECTIONS OF THE IPC; TECHNICAL SUBJECTS COVERED BY FORMER USPC CROSS-REFERENCE ART COLLECTIONS [XRACs] AND DIGESTS
- Y02—TECHNOLOGIES OR APPLICATIONS FOR MITIGATION OR ADAPTATION AGAINST CLIMATE CHANGE
- Y02P—CLIMATE CHANGE MITIGATION TECHNOLOGIES IN THE PRODUCTION OR PROCESSING OF GOODS
- Y02P10/00—Technologies related to metal processing
- Y02P10/20—Recycling
-
- Y—GENERAL TAGGING OF NEW TECHNOLOGICAL DEVELOPMENTS; GENERAL TAGGING OF CROSS-SECTIONAL TECHNOLOGIES SPANNING OVER SEVERAL SECTIONS OF THE IPC; TECHNICAL SUBJECTS COVERED BY FORMER USPC CROSS-REFERENCE ART COLLECTIONS [XRACs] AND DIGESTS
- Y02—TECHNOLOGIES OR APPLICATIONS FOR MITIGATION OR ADAPTATION AGAINST CLIMATE CHANGE
- Y02P—CLIMATE CHANGE MITIGATION TECHNOLOGIES IN THE PRODUCTION OR PROCESSING OF GOODS
- Y02P10/00—Technologies related to metal processing
- Y02P10/25—Process efficiency
Landscapes
- Manufacture Of Iron (AREA)
- Tunnel Furnaces (AREA)
- Waste-Gas Treatment And Other Accessory Devices For Furnaces (AREA)
- Manufacture And Refinement Of Metals (AREA)
Abstract
【解決手段】 亜鉛を含む酸化金属と炭素を含む粒子の混合物を還元する回転炉床式還元炉2の排ガス処理において、排ガス処理装置を、排ガス煙道水平部10、廃熱ボイラー12、熱交換機13、バグフィルター式集塵機14の構成とする。排ガス煙道水平部10を通過する際の排ガス流速が1.7〜8m/秒、廃熱ボイラー12を通過する際の排ガス流速が2〜8m/秒、熱交換器13を通過する際の排ガス流速が2〜7m/秒であり、かつ、バグフィルター式集塵機14での排ガス水分比率を40容積%以下とする。
【選択図】 図1
Description
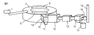
(1)加熱ゾーンおよび還元ゾーンを有する回転炉床式還元炉の排ガス処理装置において、該加熱ゾーンの炉側壁に設置された排ガスの排出口と、該排出口からつながる排ガス煙道水平部と、該煙道水平部からつながる排ガス冷却装置と、その後段の熱交換器と、更に後段のバグフィルター式集塵機を有することを特徴とする回転炉床式還元炉の排ガス処理装置。
(2)前記排ガス冷却装置が廃熱ボイラーであることを特徴とする(1)記載の回転炉床式還元炉の排ガス処理装置。
(3)前記排ガス冷却装置が排ガス中への水噴霧による冷却装置であることを特徴とする(1)記載の回転炉床式還元炉の排ガス処理装置。
(4)前記排ガス煙道水平部の通路断面積(単位:m2)が該煙道水平部を通過する排ガス流量(単位:Nm3/秒)の0.65倍以上2.4倍以下であることを特徴とする(1)〜(3)のいずれかに記載の回転炉床式還元炉の排ガス処理装置。
(5)(1)〜(4)のいずれかの装置を用いた排ガス処理方法であって、亜鉛および酸化金属を含む粒子並びに炭素を主体とする粒子の混合物である原料を、液体燃料または気体燃料を用いて加熱して、該原料中の該酸化金属を還元し、生じた排ガスを、前記排ガス冷却装置にて300℃以上500℃以下まで冷却し、更に前記熱交換器で130℃以上220℃以下とし、前記バグフィルター式集塵機で排ガス中の亜鉛を含むダストを集塵することを特徴とする回転炉床式還元炉の排ガス処理方法。
(6)前記排ガス煙道水平部での排ガス流速を1.7m/秒以上8m/秒以下とし、かつ、煙道内で沈降したダストを煙道下部から排出することを特徴とする(5)記載の回転炉床式還元炉の排ガス処理方法。
(7)前記廃熱ボイラーでの排ガス流速を2m/秒以上8m/秒以下とすることを特徴とする(5)または(6)記載の回転炉床式還元炉の排ガス処理方法。
(8)前記熱交換器での排ガス流速を2m/秒以上7m/秒以下とすることを特徴とする(5)〜(7)のいずれかに記載の回転炉床式還元炉の排ガス処理方法。
(9)アルカリ金属および/またはハロゲン元素を1.0〜8.0質量%含む前記原料に対し、前記バグフィルター式集塵機内部での排ガス水分比率を40容積%以下とすることを特徴とする(5)〜(8)のいずれかに記載の回転炉床式還元炉の排ガス処理方法。
〔実施例2〕
〔実施例3〕
操業条件は、実施例1〜3とほぼ同じであるが、排ガス処理装置内部での排ガス流速が遅い処理の例を比較例1として示す。処理条件と排ガスの状態は、表1に示すとおりである。ただし、排ガス発生量が16,000ノーマル立方メートル/時と少なかったことから、煙道水平部9で1.3m/秒、廃熱ボイラー12内で1.8m/秒、又、熱交換器13内部で1.3m/秒と本発明の範囲を外れていた。この結果、排ガス処理装置内の各々の部分でダスト沈降に関わる問題が起き、又、亜鉛含有ダスト回収率が85%と低位であった。このように、本発明の条件を満たす3例の実施例においては、熱交換器13等の内部でのダスト沈降などの操業上の問題が生じず、また、亜鉛含有ダスト回収率も高かったものの、比較例1では、種々の問題が起きた。
図1から図3に記載されるものと類似した回転炉床式還元炉であるが、排ガスの出口煙道が上方に設置されている排ガス処理装置を装備した還元炉での操業結果である。この排ガス処理装置では、当該煙道の流れ方向は水平面から60度の角度であり、当該煙道の頂部の高さは18mであった。本発明の装置では、廃熱ボイラー12を設置する場合は、廃熱ボイラー12の高さが12mとなり、設備設置費用が大幅に増加することが判明した。この理由で、廃熱ボイラー12の換わりに、水噴霧冷却装置を設置した。この還元炉を用いて、実施例1と同じ亜鉛を含む製鉄ダストを還元処理した実施例を示す。回転炉床式還元炉は炉床面積が200m2のものであった。この装置は、図1と図2に記載される装置よりも排ガス処理装置が大きくなる問題があった。また、排ガス冷却に水噴霧装置を用いた結果、排ガス中の水分が41容積%となり、集塵機14での亜鉛含有ダスト付着の問題が起きた。
2…回転炉床式還元炉
3…バーナー
4…火炎
5…車輪
6…炉床
7…成形体
8…加熱ゾーン
9…還元ゾーン
10…排ガス煙道水平部
11…沈降ダスト排出部
12…廃熱ボイラー(排ガス冷却装置)
13…熱交換器
14…バグフィルター式集塵機
15…誘引排風機
16…煙突
17…ダストビン
Claims (9)
- 加熱ゾーンおよび還元ゾーンを有する回転炉床式還元炉の排ガス処理装置において、該加熱ゾーンの炉側壁に設置された排ガスの排出口と、該排出口からつながる排ガス煙道水平部と、該煙道水平部からつながる排ガス冷却装置と、その後段の熱交換器と、更に後段のバグフィルター式集塵機を有することを特徴とする回転炉床式還元炉の排ガス処理装置。
- 前記排ガス冷却装置が廃熱ボイラーであることを特徴とする請求項1記載の回転炉床式還元炉の排ガス処理装置。
- 前記排ガス冷却装置が排ガス中への水噴霧による冷却装置であることを特徴とする請求項1記載の回転炉床式還元炉の排ガス処理装置。
- 前記排ガス煙道水平部の通路断面積(単位:m2)が該煙道水平部を通過する排ガス流量(単位:Nm3/秒)の0.65倍以上2.4倍以下であることを特徴とする請求項1〜3のいずれか1項に記載の回転炉床式還元炉の排ガス処理装置。
- 請求項1〜4のいずれかの装置を用いた排ガス処理方法であって、亜鉛および酸化金属を含む粒子並びに炭素を主体とする粒子の混合物である原料を、液体燃料または気体燃料を用いて加熱して、該原料中の該酸化金属を還元し、生じた排ガスを、前記排ガス冷却装置にて300℃以上500℃以下まで冷却し、更に前記熱交換器で130℃以上220℃以下とし、前記バグフィルター式集塵機で排ガス中の亜鉛を含むダストを集塵することを特徴とする回転炉床式還元炉の排ガス処理方法。
- 前記排ガス煙道水平部での排ガス流速を1.7m/秒以上8m/秒以下とし、かつ、煙道内で沈降したダストを煙道下部から排出することを特徴とする請求項5記載の回転炉床式還元炉の排ガス処理方法。
- 前記廃熱ボイラーでの排ガス流速を2m/秒以上8m/秒以下とすることを特徴とする請求項5または6記載の回転炉床式還元炉の排ガス処理方法。
- 前記熱交換器での排ガス流速を2m/秒以上7m/秒以下とすることを特徴とする請求項5〜7のいずれか1項に記載の回転炉床式還元炉の排ガス処理方法。
- アルカリ金属および/またはハロゲン元素を1.0〜8.0質量%含む前記原料に対し、前記バグフィルター式集塵機内部での排ガス水分比率を40容積%以下とすることを特徴とする請求項5〜8のいずれか1項に記載の回転炉床式還元炉の排ガス処理方法。
Priority Applications (1)
| Application Number | Priority Date | Filing Date | Title |
|---|---|---|---|
| JP2004114331A JP4328256B2 (ja) | 2004-04-08 | 2004-04-08 | 回転炉床式還元炉の排ガス処理装置および排ガス処理方法 |
Applications Claiming Priority (1)
| Application Number | Priority Date | Filing Date | Title |
|---|---|---|---|
| JP2004114331A JP4328256B2 (ja) | 2004-04-08 | 2004-04-08 | 回転炉床式還元炉の排ガス処理装置および排ガス処理方法 |
Publications (2)
| Publication Number | Publication Date |
|---|---|
| JP2005299979A true JP2005299979A (ja) | 2005-10-27 |
| JP4328256B2 JP4328256B2 (ja) | 2009-09-09 |
Family
ID=35331727
Family Applications (1)
| Application Number | Title | Priority Date | Filing Date |
|---|---|---|---|
| JP2004114331A Expired - Fee Related JP4328256B2 (ja) | 2004-04-08 | 2004-04-08 | 回転炉床式還元炉の排ガス処理装置および排ガス処理方法 |
Country Status (1)
| Country | Link |
|---|---|
| JP (1) | JP4328256B2 (ja) |
Cited By (17)
| Publication number | Priority date | Publication date | Assignee | Title |
|---|---|---|---|---|
| WO2009131242A1 (ja) * | 2008-04-25 | 2009-10-29 | Jfeスチール株式会社 | 還元鉄の製造方法 |
| JP2009281617A (ja) * | 2008-05-20 | 2009-12-03 | Nippon Steel Engineering Co Ltd | 回転炉床炉の排ガス処理方法 |
| JP2010007181A (ja) * | 2008-05-30 | 2010-01-14 | Jfe Steel Corp | 還元鉄製造方法 |
| JP2010007182A (ja) * | 2008-05-30 | 2010-01-14 | Jfe Steel Corp | 還元鉄製造方法 |
| JP2010007180A (ja) * | 2008-05-30 | 2010-01-14 | Jfe Steel Corp | 高亜鉛含有鉄鉱石を用いた銑鉄製造方法 |
| JP2010031355A (ja) * | 2008-04-25 | 2010-02-12 | Jfe Steel Corp | 高亜鉛含有鉄鉱石を用いた粒鉄製造方法 |
| JP2010031356A (ja) * | 2008-04-25 | 2010-02-12 | Jfe Steel Corp | 高亜鉛含有鉄鉱石を用いた還元鉄製造方法 |
| CN102062534A (zh) * | 2010-06-22 | 2011-05-18 | 四川龙蟒矿冶有限责任公司 | 一种转底炉供热的方法与装置 |
| JP2012500902A (ja) * | 2008-08-30 | 2012-01-12 | タータ スチール リミテッド | 高濃度亜鉛を含有する鉄鉱石から亜鉛を分離し、鉄、有価物を抽出する方法 |
| JP2012506308A (ja) * | 2008-10-23 | 2012-03-15 | シーメンス・ファオアーイー・メタルズ・テクノロジーズ・ゲーエムベーハー | ガスフローから粒子状固体を分離するための方法および装置 |
| JP2013515850A (ja) * | 2009-12-23 | 2013-05-09 | シーメンス・ファオアーイー・メタルズ・テクノロジーズ・ゲーエムベーハー | 発生器ガスからの還元ガスを供給する方法及び装置 |
| CN103836997A (zh) * | 2013-11-29 | 2014-06-04 | 偏关县晋电化工有限责任公司 | 一种回转窑烟气余热利用系统 |
| CN104215083A (zh) * | 2014-09-28 | 2014-12-17 | 朱宗林 | 一种移动式旋转隧道窑排烟除尘脱硫装置 |
| CN105004193A (zh) * | 2015-07-28 | 2015-10-28 | 中国恩菲工程技术有限公司 | 还原炉余热回收利用的换热系统 |
| JP2018104733A (ja) * | 2016-12-22 | 2018-07-05 | 住友金属鉱山株式会社 | 酸化亜鉛鉱の製造方法 |
| CN111607416A (zh) * | 2020-05-27 | 2020-09-01 | 国家电投集团黄河上游水电开发有限责任公司 | 一种石油焦煅烧回转窑连通烟道 |
| CN113739587A (zh) * | 2021-09-15 | 2021-12-03 | 熊骏 | 一种基于热交换原理的硅铁矿烟气余热处理装置 |
-
2004
- 2004-04-08 JP JP2004114331A patent/JP4328256B2/ja not_active Expired - Fee Related
Cited By (18)
| Publication number | Priority date | Publication date | Assignee | Title |
|---|---|---|---|---|
| WO2009131242A1 (ja) * | 2008-04-25 | 2009-10-29 | Jfeスチール株式会社 | 還元鉄の製造方法 |
| JP2010031355A (ja) * | 2008-04-25 | 2010-02-12 | Jfe Steel Corp | 高亜鉛含有鉄鉱石を用いた粒鉄製造方法 |
| JP2010031356A (ja) * | 2008-04-25 | 2010-02-12 | Jfe Steel Corp | 高亜鉛含有鉄鉱石を用いた還元鉄製造方法 |
| JP2009281617A (ja) * | 2008-05-20 | 2009-12-03 | Nippon Steel Engineering Co Ltd | 回転炉床炉の排ガス処理方法 |
| JP2010007181A (ja) * | 2008-05-30 | 2010-01-14 | Jfe Steel Corp | 還元鉄製造方法 |
| JP2010007182A (ja) * | 2008-05-30 | 2010-01-14 | Jfe Steel Corp | 還元鉄製造方法 |
| JP2010007180A (ja) * | 2008-05-30 | 2010-01-14 | Jfe Steel Corp | 高亜鉛含有鉄鉱石を用いた銑鉄製造方法 |
| JP2012500902A (ja) * | 2008-08-30 | 2012-01-12 | タータ スチール リミテッド | 高濃度亜鉛を含有する鉄鉱石から亜鉛を分離し、鉄、有価物を抽出する方法 |
| JP2012506308A (ja) * | 2008-10-23 | 2012-03-15 | シーメンス・ファオアーイー・メタルズ・テクノロジーズ・ゲーエムベーハー | ガスフローから粒子状固体を分離するための方法および装置 |
| JP2013515850A (ja) * | 2009-12-23 | 2013-05-09 | シーメンス・ファオアーイー・メタルズ・テクノロジーズ・ゲーエムベーハー | 発生器ガスからの還元ガスを供給する方法及び装置 |
| CN102062534A (zh) * | 2010-06-22 | 2011-05-18 | 四川龙蟒矿冶有限责任公司 | 一种转底炉供热的方法与装置 |
| CN103836997A (zh) * | 2013-11-29 | 2014-06-04 | 偏关县晋电化工有限责任公司 | 一种回转窑烟气余热利用系统 |
| CN104215083A (zh) * | 2014-09-28 | 2014-12-17 | 朱宗林 | 一种移动式旋转隧道窑排烟除尘脱硫装置 |
| CN105004193A (zh) * | 2015-07-28 | 2015-10-28 | 中国恩菲工程技术有限公司 | 还原炉余热回收利用的换热系统 |
| JP2018104733A (ja) * | 2016-12-22 | 2018-07-05 | 住友金属鉱山株式会社 | 酸化亜鉛鉱の製造方法 |
| CN111607416A (zh) * | 2020-05-27 | 2020-09-01 | 国家电投集团黄河上游水电开发有限责任公司 | 一种石油焦煅烧回转窑连通烟道 |
| CN113739587A (zh) * | 2021-09-15 | 2021-12-03 | 熊骏 | 一种基于热交换原理的硅铁矿烟气余热处理装置 |
| CN113739587B (zh) * | 2021-09-15 | 2023-12-08 | 重庆福锅节能科技有限公司 | 一种基于热交换原理的硅铁矿烟气余热处理装置 |
Also Published As
| Publication number | Publication date |
|---|---|
| JP4328256B2 (ja) | 2009-09-09 |
Similar Documents
| Publication | Publication Date | Title |
|---|---|---|
| JP4328256B2 (ja) | 回転炉床式還元炉の排ガス処理装置および排ガス処理方法 | |
| CN100469907C (zh) | 含锌电炉粉尘的处理方法 | |
| JP5541736B2 (ja) | 電炉ダストからの金属回収方法及び装置 | |
| CN108220610B (zh) | 一种含重金属除尘灰的处理方法 | |
| CN105506306B (zh) | 一种利用钢铁厂含锌粉尘回收锌装置及其回收方法 | |
| CN108793237B (zh) | 一种高温四氯化钛含尘气体的处理系统及方法 | |
| KR100596103B1 (ko) | 회전로상식 환원로의 조업 방법 및 회전로상식 환원로 설비 | |
| CN111457735A (zh) | 一体化火法冶炼炉和处理锌浸出渣的方法 | |
| WO2010007875A1 (ja) | 排ガス処理設備、および排ガス処理設備によるダスト回収方法 | |
| CN113441536B (zh) | 一种飞灰处理系统和飞灰处理方法 | |
| CN107555478B (zh) | 一种氯化法制备高纯五氧化二钒粉体的系统及方法 | |
| JP5390791B2 (ja) | 回転炉床炉の排ガス処理方法 | |
| CN111410229A (zh) | 一种高纯氧化钼的制备方法及装备 | |
| CN108630973B (zh) | 一种高效清洁氯化法制备高纯度钒电解液的系统及方法 | |
| CN114317965A (zh) | 一种铝热法熔融还原含锌物料的工艺及装置 | |
| CN104911334A (zh) | 一种高品位二氧化锰矿流态化还原的系统及方法 | |
| CA2809121A1 (en) | Rotary hearth furnace exhaust gas duct apparatus and method for operating same | |
| CN107555479B (zh) | 一种氯化法制备高纯低价钒氧化物的系统及方法 | |
| CN205760406U (zh) | 一种电石炉的尾气回收利用装置 | |
| CN112391535A (zh) | 一种冶金含锌灰悬态熔融还原回收氧化锌的治理及利用装置和方法 | |
| JP4711350B2 (ja) | 製鋼ダストを用いた電気炉操業方法 | |
| CN106544460A (zh) | 处理铁矾渣的方法和系统 | |
| JP3996724B2 (ja) | 還元用回転炉床法の操業方法 | |
| BR112012021585B1 (pt) | Método de tratamento de gás de exaustão | |
| CN107267773A (zh) | 一种提高焙烧渣金回收率的改进方法 |
Legal Events
| Date | Code | Title | Description |
|---|---|---|---|
| A621 | Written request for application examination |
Free format text: JAPANESE INTERMEDIATE CODE: A621 Effective date: 20060905 |
|
| A977 | Report on retrieval |
Free format text: JAPANESE INTERMEDIATE CODE: A971007 Effective date: 20080930 |
|
| TRDD | Decision of grant or rejection written | ||
| A01 | Written decision to grant a patent or to grant a registration (utility model) |
Free format text: JAPANESE INTERMEDIATE CODE: A01 Effective date: 20090602 |
|
| A01 | Written decision to grant a patent or to grant a registration (utility model) |
Free format text: JAPANESE INTERMEDIATE CODE: A01 |
|
| A61 | First payment of annual fees (during grant procedure) |
Free format text: JAPANESE INTERMEDIATE CODE: A61 Effective date: 20090612 |
|
| FPAY | Renewal fee payment (event date is renewal date of database) |
Free format text: PAYMENT UNTIL: 20120619 Year of fee payment: 3 |
|
| R151 | Written notification of patent or utility model registration |
Ref document number: 4328256 Country of ref document: JP Free format text: JAPANESE INTERMEDIATE CODE: R151 |
|
| FPAY | Renewal fee payment (event date is renewal date of database) |
Free format text: PAYMENT UNTIL: 20120619 Year of fee payment: 3 |
|
| FPAY | Renewal fee payment (event date is renewal date of database) |
Free format text: PAYMENT UNTIL: 20130619 Year of fee payment: 4 |
|
| FPAY | Renewal fee payment (event date is renewal date of database) |
Free format text: PAYMENT UNTIL: 20130619 Year of fee payment: 4 |
|
| S531 | Written request for registration of change of domicile |
Free format text: JAPANESE INTERMEDIATE CODE: R313531 |
|
| FPAY | Renewal fee payment (event date is renewal date of database) |
Free format text: PAYMENT UNTIL: 20130619 Year of fee payment: 4 |
|
| R350 | Written notification of registration of transfer |
Free format text: JAPANESE INTERMEDIATE CODE: R350 |
|
| FPAY | Renewal fee payment (event date is renewal date of database) |
Free format text: PAYMENT UNTIL: 20130619 Year of fee payment: 4 |
|
| S533 | Written request for registration of change of name |
Free format text: JAPANESE INTERMEDIATE CODE: R313533 |
|
| FPAY | Renewal fee payment (event date is renewal date of database) |
Free format text: PAYMENT UNTIL: 20130619 Year of fee payment: 4 |
|
| R350 | Written notification of registration of transfer |
Free format text: JAPANESE INTERMEDIATE CODE: R350 |
|
| S533 | Written request for registration of change of name |
Free format text: JAPANESE INTERMEDIATE CODE: R313533 |
|
| R350 | Written notification of registration of transfer |
Free format text: JAPANESE INTERMEDIATE CODE: R350 |
|
| LAPS | Cancellation because of no payment of annual fees |
