JP2010029455A - パチンコ機の遊技盤 - Google Patents

パチンコ機の遊技盤 Download PDF

Info

Publication number
JP2010029455A
JP2010029455A JP2008194988A JP2008194988A JP2010029455A JP 2010029455 A JP2010029455 A JP 2010029455A JP 2008194988 A JP2008194988 A JP 2008194988A JP 2008194988 A JP2008194988 A JP 2008194988A JP 2010029455 A JP2010029455 A JP 2010029455A
Authority
JP
Japan
Prior art keywords
nail
game board
game
nails
recess
Prior art date
Legal status (The legal status is an assumption and is not a legal conclusion. Google has not performed a legal analysis and makes no representation as to the accuracy of the status listed.)
Granted
Application number
JP2008194988A
Other languages
English (en)
Other versions
JP5035167B2 (ja
Inventor
Masaya Sato
雅哉 佐藤
Current Assignee (The listed assignees may be inaccurate. Google has not performed a legal analysis and makes no representation or warranty as to the accuracy of the list.)
Okumura Yu Ki Co Ltd
Original Assignee
Okumura Yu Ki Co Ltd
Priority date (The priority date is an assumption and is not a legal conclusion. Google has not performed a legal analysis and makes no representation as to the accuracy of the date listed.)
Filing date
Publication date
Application filed by Okumura Yu Ki Co Ltd filed Critical Okumura Yu Ki Co Ltd
Priority to JP2008194988A priority Critical patent/JP5035167B2/ja
Publication of JP2010029455A publication Critical patent/JP2010029455A/ja
Application granted granted Critical
Publication of JP5035167B2 publication Critical patent/JP5035167B2/ja
Expired - Fee Related legal-status Critical Current
Anticipated expiration legal-status Critical

Links

Images

Landscapes

  • Pinball Game Machines (AREA)

Abstract

【課題】釘の疲労破壊を抑制することができるようにした耐久性に優れたパチンコ機の遊技盤を提供することである。
【解決手段】合成樹脂からなる遊技板12の前面にガイドレール13を取付け、そのガイドレール13に囲まれた内側の遊技領域11に打ち付けられた多数の釘14のうち、遊技球Bとの衝突によって疲労破壊し易い釘14の周囲に半円弧状の溝からなる凹部21を対称位置に形成して、凹部21と釘14との間に薄肉厚の柱部22を形成する。遊技球Bが釘14に衝突した際の衝撃力により柱部22を弾性変形させ、その変形により衝撃力を吸収して釘14が疲労により破損するのを防止する。
【選択図】図3

Description

この発明は、パチンコ機の遊技盤に関し、特に合成樹脂により成形された遊技盤に関する。
一般に、パチンコ機においては、外枠の一側部により中枠の一側部を軸支して開閉可能に支持し、その中枠の前面を覆うガラス枠等の前面枠の一側部を上記中枠で軸支して開閉可能とし、上記中枠に遊技盤を取付けるようにしている。
遊技盤は、遊技板を有し、その遊技板の前面にガイドレールを取付け、そのガイドレールの内側に形成された遊技領域に、遊技球の落下方向を分散、調整するための多数の釘や風車、液晶表示器、始動入賞装置、特別可変入賞装置等の各種の遊技部品を取付けている。
ここで、遊技盤における遊技板として、特許文献1あるいは特許文献2に記載されているように、ポリメチルメタクリレート(PMMA)等のアクリル樹脂やABS樹脂等の合成樹脂からなるものが知られている。この合成樹脂製の遊技板においては、強度を得るために厚さを厚くすると、成形の際に多量の樹脂を必要とし、また、遊技板が重くなって取り扱いが困難となる。
そのため、合成樹脂製の遊技板においては、可及的に厚さを薄くし、あるいは、内部に発泡部を形成して軽量化を図り、後面にはボス部を成形し、そのボス部に遊技板の前面で開口する下孔を形成し、その下孔に釘を打ち付けて釘の支持の安定化を図るようにしている。
特開平11−99244号公報 特開平11−151350号公報
ところで、合成樹脂製の遊技板においては、ベニヤ合板からなる木製の遊技板に比較して硬度が高く、遊技球が釘に衝突した際の衝撃吸収性が低いため、釘が疲労破壊し易い。特に、盤面の中央上部に打ち付けられた天釘と称される複数の釘や球止めゴムの周囲に打ち付けられた釘、始動入賞装置の上部に打ち付けられた命釘と称される2本の釘、その命釘の両サイドに位置するジャンプ釘と称される釘には遊技球が繰り返し衝突するため、疲労が蓄積されて疲労破壊し易い。
この発明の課題は、釘の疲労破壊を抑制することができるようにした耐久性に優れたパチンコ機の遊技盤を提供することである。
上記の課題を解決するために、この発明においては、合成樹脂からなる遊技板の前面にガイドレールを取付け、そのガイドレールに囲まれた内側の遊技領域に発射装置から発射された遊技球の落下方向を分散、調整する多数の釘を植設したパチンコ機の遊技盤において、前記遊技板の前面に植設された釘の周囲に、遊技板の前面または後面で開口してその釘との間に弾性変形可能な薄肉厚部を形成する凹部を設けた構成を採用したのである。
ここで、凹部は多数の釘の全てを対象に形成してもよく、あるいは、遊技球が頻繁に衝突して疲労破壊し易い釘、例えば、盤面の中央上部に打込まれた天釘と称される複数の釘(以下、天釘という)や、その天釘の周囲の釘、ガイドレールによって案内される遊技球を衝突させて減勢する球止めゴムの周囲の釘、始動入賞装置の上部に打ち込まれた命釘と称される2本の釘(以下、命釘という)、その命釘の両サイドに位置するジャンプ釘と称される釘(以下、ジャンプ釘という)等を対象に形成してもよい。
上記のように、釘の周囲に、その釘との間に薄肉厚部を形成する凹部を設けると、釘に対する遊技球の衝突時、上記薄肉厚部が弾性変形する。その弾性変形によって衝突時の衝撃力が吸収され、釘が疲労破壊するのを抑制することができる。
ここで、凹部の形状は任意である。釘を中心とする半円弧状の溝を凹部とし、その凹部を釘を対称点とする対称位置に設けると、凹部間に釘を保持する両持ち支持の弾性変形が容易な薄肉厚部としての柱部が形成されるため、遊技球が釘に衝突した際の衝撃力をより効果的に吸収することができる。
また、釘を中心とするC字状の溝を凹部とすると、その凹部の内側に釘を保持する片持ち支持の弾性変形が容易な薄肉厚部としての柱部が形成される。この片持ち支持の柱部は両持ち支持の柱部より弾性変形し易いため、遊技球が釘に衝突した際の衝撃力をより効果的に吸収することができる。
ここで、合成樹脂からなる遊技板の場合、その遊技板の中央部分に透明部分を予め形成しておき、その透明部分の後面側に液晶表示器を配置し、その液晶表示器の画面に表示される映像を上記透明部分を介して遊技者に視認させるようにしている。このとき、液晶表示器が遊技板に密着する取り付けであると、放熱効果が悪く、熱の影響により液晶表示器が故障し易いため、遊技板との間にクリアランスを設ける取付けが採用されている。
一方、遊技球は人手に触れられるため、異物が付着している場合があり、その異物が釘等の遊技部品に対する衝突により遊技球から剥離して遊技領域に落下する場合がある。このとき、釘との間に薄肉厚部を形成する凹部が遊技板の前面に形成されているとしても、その凹部は閉塞端を有しているため、遊技領域に落下する異物は凹部の内周面に付着することはあっても遊技板の後面側に侵入するというようなことはない。このため、液晶表示器の画面が異物の付着によって視認性が低下し、あるいは、異物との接触により傷が生じる等のトラブルを発生させるようなことはない。
上記のように、この発明に係るパチンコ機の遊技盤においては、釘の周囲に、その釘との間で薄肉厚部を形成する凹部を設けたことにより、遊技球が釘に衝突した際の衝撃力を上記薄肉厚部の弾性変形により吸収することができ、釘の疲労破壊を抑制し、耐久性の向上を図ることができる。
また、釘との間に薄肉厚部を形成する凹部は閉塞端を有するため、遊技領域に落下した異物が遊技板の後面側に侵入するのを防止することができる。このため、遊技板の後面側に設けられる液晶表示器の画面に異物が付着して視認性を低下させ、あるいは、異物との接触により傷を生じさせる等のトラブルの発生を皆無とすることができる。
以下、この発明の実施の形態を図面に基づいて説明する。図1に示すように、パチンコ機は、縦長な矩形状に枠組みされた外枠1を有し、その外枠1の一側部に上下で対向するヒンジ片2が固定され、そのヒンジ片2によりパチンコ機の主要構成部を支持する板状の中枠3の一側部が軸支されて開閉可能に支持されている。
中枠3の表側には、上皿5を有する前面枠4が設けられている。前面枠4は、その一側部が中枠3に軸支されて開閉自在とされ、閉鎖状態において中枠3の前面を覆うようになっており、その前面枠4の下側に下皿7を有する皿板6が設けられている。ここで、前面枠4は、ガラス板の周囲に縁枠を設けたものであってもよく、あるいは、アクリル樹脂板の周囲に縁枠を設けたものであってもよい。
皿板6の右側には発射ハンドル8が取付けられ、その発射ハンドル8に設けられた発射レバー9を回動操作することにより、上皿5に貯留された遊技球が図示省略した球送り機構を介して発射装置に送り込まれた後、中枠3に支持された図2に示す遊技盤10の遊技領域11に発射されるようになっている。
遊技盤10は、アクリル樹脂やABS樹脂等の合成樹脂からなる遊技板12を有し、その遊技板12の前面に取付けられたガイドレール13の内側が遊技領域11とされている。遊技領域11には、遊技球の落下方向を分散、調整するための多数の釘14や風車15、液晶表示器16、始動入賞装置17、特別可変入賞装置18等の遊技部品が取付けられている。また、上記液晶表示器16を囲むようにしてセンタ飾り19が設けられている。
ここで、遊技領域11に発射された遊技球が、その遊技領域11に落下して始動入賞装置17に入賞すると、液晶表示器16の表示画面に特別図柄の変動表示が所定時間行われ、複数の特別図柄が特定の停止表示態様で停止表示されると、大当たり遊技状態が発生し、特別可変入賞装置18の入口を塞いでいた扉18aが予め定められた作動条件に従って開閉するようになっている。
センタ飾り19として、ここでは、ガイドレール13との間に通路20を形成する左右非対象のものが示されている。このようなパチンコ機での遊技に際して、通路20に遊技球が打ち込まれると、始動入賞装置17に入賞する確率が低いため、遊技者は、普通、図3の矢印で示すように、通路20の入口に設けられた釘14aやセンタ飾り19の中央上部に設けられた2本の天釘14bに遊技球Bが衝突するようハンドル調整し、センタ飾り19の左側の遊技領域11に遊技球Bを落下させて始動入賞装置17に入賞させる打ち込み方法を採用するのが一般的である。
このため、通路20の入口に設けられた釘14aや2本の天釘14b、あるいは、その周辺の釘14は遊技球Bとの衝突によって疲労が蓄積し、破損し易い。
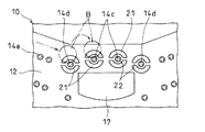
また、始動入賞装置17の上方には、図4に示すように、2本の命釘14cが設けられ、その命釘14cの両サイドにジャンプ釘14dが設けられ、これらの各釘14c、14dは、風車15の右下から上記ジャンプ釘14dまで連続して並ぶ道釘14eと異なって遊技球Bが衝突した際の衝撃力を単独で受けるため、疲労によって破損し易い。
上記のような疲労破壊し易い釘14a乃至dを対象にして、図3乃至図5に示すように、遊技板12には上記各種の釘14a乃至dの周囲に、遊技板12の前面で開口する衝撃吸収用の凹部21が形成されている。
凹部21は、各種釘14a乃至dのそれぞれを中心とする円弧状の溝からなっている。この円弧状の溝からなる凹部21は、各種の釘14a乃至dのそれぞれを対称点として対称位置に設けられ、その対称配置の一対の凹部21間に釘14a乃至dを保持する両持ち支持の弾性変形が容易な薄肉厚部としての柱部22が形成される。
上記のように、凹部21の形成によって薄肉厚部としての柱部22を設けることによって、各種の釘14a乃至dに遊技球Bが衝突すると、その衝突時の衝撃力によって柱部22が弾性変形し、その変形により衝撃力が吸収される。
このため、各種の釘14a乃至dは疲労破壊することは少なく、耐久性の低下を抑制することができる。
ここで、各種の釘14a乃至dに対する遊技球Bの衝突方向は予め想定されるため、対称配置の凹部21は、遊技球Bの衝突方向に並んで設けるのが好ましい。
図3乃至図5では、一対の凹部21を対称位置に設けるようにしたが、図7に示すように、釘14bの片側周囲に一つの凹部21を形成し、その凹部21と釘14bとの間に薄肉厚部23を形成し、その薄肉厚部23の弾性変形により遊技球Bが釘14bに衝突した際の衝撃力を緩衝するようにしてもよい。
図8に示すように、釘14bを中心とするC字状の溝を凹部21とすると、その凹部21の内側に釘14bを保持する片持ち支持の弾性変形が容易な薄肉厚部としての柱部24が形成される。この片持ち支持の柱部24は図3および図4に示す両持ち支持の柱部22より弾性変形し易いため、遊技球が釘14bに衝突した際の衝撃力をより効果的に吸収することができる。
図3乃至図5では、遊技板12の前面に凹部21を形成したが、図6に示すように、遊技板12の後面に凹部21を設けるようにしてもよい。釘14bとの間に薄肉厚部を形成する凹部21は閉塞端を有するため、遊技球に付着した異物が遊技領域11に落下したとしても、その異物は凹部21の内周面に付着することはあっても遊技板12の後面側に侵入することはない。
このため、遊技板の後面側に設けられる液晶表示器16の画面が異物の付着により視認性が低下し、あるいは、異物との接触により画面に傷がつく等のトラブルを生じさせるという不都合の発生はない。
図5に示すように、遊技板12の前面に円弧状の溝あるいはC字状の溝からなる凹部21を設ける場合は、凹部21の外壁面の半径rが遊技球Bの半径rと釘14bの半径dを加えた値以下(r≦r+d)となるようにしておく。
凹部21と遊技球Bおよび釘14bの相互間に上記のような寸法関係を満足させることにより、遊技板12上を転動する遊技球Bが凹部21に引っ掛かりが生じて転動が阻害されるのを防止することができる。したがって、遊技店においては、従来の遊技盤と同程度に釘調整を行なうことができるので、扱い易く好都合である。
ここで、パチンコ機の釘調整に際して、柱部22、24の長さ方向と直交する方向に釘14a乃至dの頭部を叩打する必要が有る場合、柱部22、24が変形して、調整が困難となり、また、柱部22、24が破損する可能性がある。
その場合、図9あるいは図10(I)、(II)に示す調整冶具30を用いて釘調整する。ここで、図9に示す調整冶具30においては、棒状の冶具本体31の先端部に凹部21に略ぴったりと嵌り合う円弧状の突出部32を設けた構成としている。この調整冶具30を用いる釘調整に際しては、突出部32を凹部21に挿入し、柱部22、24の変形を抑制する状態において、金槌により釘14bの頭部を突出部32に向けて叩打して釘調整する。
また、図10(I)、(II)に示す調整冶具30においては、握り部33を端部に有する軸体34の先端部に円弧状の支持板35を設け、その支持板35の両端部に凹部21の外壁面21aおよび内壁面21bに沿う円弧状面36a、36bが内外に形成された一対の突出部36を設けた構成としている。この調整冶具30を用いる釘調整に際しては、突出部36を凹部21に挿入し、柱部22、24の変形を抑制する状態において、金槌により釘14bの頭部を突出部36に向けて叩打して釘調整する。
実施の形態においては、通路20の入口に設けられた釘14aや2本の天釘14b、始動入賞装置17の上方に設けられた2本の命釘14c、その命釘14cの両サイドに位置するジャンプ釘14dの周囲それぞれに凹部21を形成するようにしたが、上記各種の釘の少なくとも1本を対象にして凹部21を設けるようにしてもよい。また、凹部21を形成する対象の釘は上記のものに限定されるものではなく、パチンコ機の機種に応じて疲労破壊し易い釘を対象にして凹部を設けるようにする。
この発明に係る遊技盤をセットしたパチンコ機の正面図 遊技板を示す正面図 図2の遊技板の上側一部を拡大して示す正面図 図2の遊技板の始動入賞装置部分を拡大して示す正面図 図3のV−V線に沿った断面図 遊技板の後面に凹部を形成した状態の断面図 凹部の他の例を示す正面図 凹部のさらに他の例を示す正面図 釘調整時に使用する調整冶具を示す斜視図 釘調整時に使用する調整冶具の他の例を示し、(I)は分解斜視図、(II)は使用状態の断面図
符号の説明
10・・・遊技盤、11・・・遊技領域、12・・・遊技板、13・・・ガイドレール、14・・・釘、21・・・凹部、22・・・柱部、23・・・薄肉厚部、24・・・柱部

Claims (4)

  1. 合成樹脂からなる遊技板の前面にガイドレールを取付け、そのガイドレールに囲まれた内側が遊技領域とされ、その遊技領域に発射装置から発射された遊技球の落下方向を分散、調整する多数の釘を植設したパチンコ機の遊技盤において、
    前記遊技板の前面に植設された釘の周囲に、遊技板の前面または後面で開口してその釘との間に弾性変形可能な薄肉厚部を形成する凹部を設けたことを特徴とするパチンコ機の遊技盤。
  2. 前記凹部が、釘を中心とする半円弧状の溝からなる請求項1に記載のパチンコ機の遊技盤。
  3. 前記凹部が二つとされ、その二つの凹部が釘を対称点として対称位置に形成された請求項1又は2記載のパチンコ機の遊技盤。
  4. 前記凹部が、釘を中心とするC字状の溝からなる請求項1に記載のパチンコ機の遊技盤。
JP2008194988A 2008-07-29 2008-07-29 パチンコ機の遊技盤 Expired - Fee Related JP5035167B2 (ja)

Priority Applications (1)

Application Number Priority Date Filing Date Title
JP2008194988A JP5035167B2 (ja) 2008-07-29 2008-07-29 パチンコ機の遊技盤

Applications Claiming Priority (1)

Application Number Priority Date Filing Date Title
JP2008194988A JP5035167B2 (ja) 2008-07-29 2008-07-29 パチンコ機の遊技盤

Publications (2)

Publication Number Publication Date
JP2010029455A true JP2010029455A (ja) 2010-02-12
JP5035167B2 JP5035167B2 (ja) 2012-09-26

Family

ID=41734657

Family Applications (1)

Application Number Title Priority Date Filing Date
JP2008194988A Expired - Fee Related JP5035167B2 (ja) 2008-07-29 2008-07-29 パチンコ機の遊技盤

Country Status (1)

Country Link
JP (1) JP5035167B2 (ja)

Cited By (1)

* Cited by examiner, † Cited by third party
Publication number Priority date Publication date Assignee Title
JP2014226252A (ja) * 2013-05-21 2014-12-08 株式会社平和 遊技機

Citations (3)

* Cited by examiner, † Cited by third party
Publication number Priority date Publication date Assignee Title
JP2007105306A (ja) * 2005-10-14 2007-04-26 Okumura Yu-Ki Co Ltd パチンコ機
JP2008161638A (ja) * 2007-01-04 2008-07-17 Daiichi Shokai Co Ltd 遊技機
JP2008228947A (ja) * 2007-03-20 2008-10-02 Samii Kk 弾球遊技機用の遊技盤の板構造

Patent Citations (3)

* Cited by examiner, † Cited by third party
Publication number Priority date Publication date Assignee Title
JP2007105306A (ja) * 2005-10-14 2007-04-26 Okumura Yu-Ki Co Ltd パチンコ機
JP2008161638A (ja) * 2007-01-04 2008-07-17 Daiichi Shokai Co Ltd 遊技機
JP2008228947A (ja) * 2007-03-20 2008-10-02 Samii Kk 弾球遊技機用の遊技盤の板構造

Cited By (1)

* Cited by examiner, † Cited by third party
Publication number Priority date Publication date Assignee Title
JP2014226252A (ja) * 2013-05-21 2014-12-08 株式会社平和 遊技機

Also Published As

Publication number Publication date
JP5035167B2 (ja) 2012-09-26

Similar Documents

Publication Publication Date Title
JP2006288651A (ja) パチンコ遊技機
JP2002102498A (ja) パチンコ機
JP5788769B2 (ja) 遊技機
JP5035167B2 (ja) パチンコ機の遊技盤
JPH08243219A (ja) パチンコ遊技機
JP2003093695A (ja) パチンコ遊技機
JP5331832B2 (ja) 遊技機
JP5056652B2 (ja) パチンコ機の遊技盤
JP2016041194A (ja) 遊技機
JP2008161638A (ja) 遊技機
JP2012161477A (ja) 遊技機
JP4166059B2 (ja) 弾球遊技機
JP2006239411A5 (ja)
JP5035206B2 (ja) パチンコ機の遊技盤
JP3195460B2 (ja) 弾球遊技装置
JPH119775A (ja) 球発射装置
JP2011110179A (ja) 遊技機の盤面構造
JP2008188306A (ja) 遊技機
JP5091207B2 (ja) 弾球遊技機
JP5581496B2 (ja) 遊技機
JP2009131497A (ja) パチンコ機
JP6126650B2 (ja) 遊技機
JP4705968B2 (ja) 遊技機
JP5199546B2 (ja) 遊技機の球受皿
JP2011045599A (ja) 遊技機の盤面構造

Legal Events

Date Code Title Description
A621 Written request for application examination

Free format text: JAPANESE INTERMEDIATE CODE: A621

Effective date: 20100922

TRDD Decision of grant or rejection written
A01 Written decision to grant a patent or to grant a registration (utility model)

Free format text: JAPANESE INTERMEDIATE CODE: A01

Effective date: 20120605

A01 Written decision to grant a patent or to grant a registration (utility model)

Free format text: JAPANESE INTERMEDIATE CODE: A01

A61 First payment of annual fees (during grant procedure)

Free format text: JAPANESE INTERMEDIATE CODE: A61

Effective date: 20120618

FPAY Renewal fee payment (event date is renewal date of database)

Free format text: PAYMENT UNTIL: 20150713

Year of fee payment: 3

R150 Certificate of patent or registration of utility model

Free format text: JAPANESE INTERMEDIATE CODE: R150

FPAY Renewal fee payment (event date is renewal date of database)

Free format text: PAYMENT UNTIL: 20150713

Year of fee payment: 3

R255 Notification that request for automated payment was rejected

Free format text: JAPANESE INTERMEDIATE CODE: R2525

R250 Receipt of annual fees

Free format text: JAPANESE INTERMEDIATE CODE: R250

LAPS Cancellation because of no payment of annual fees