JP2010029033A - ワイヤハーネス用のプロテクタ - Google Patents

ワイヤハーネス用のプロテクタ Download PDF

Info

Publication number
JP2010029033A
JP2010029033A JP2008190278A JP2008190278A JP2010029033A JP 2010029033 A JP2010029033 A JP 2010029033A JP 2008190278 A JP2008190278 A JP 2008190278A JP 2008190278 A JP2008190278 A JP 2008190278A JP 2010029033 A JP2010029033 A JP 2010029033A
Authority
JP
Japan
Prior art keywords
wire
shield
protector
insertion portion
shield layer
Prior art date
Legal status (The legal status is an assumption and is not a legal conclusion. Google has not performed a legal analysis and makes no representation as to the accuracy of the status listed.)
Granted
Application number
JP2008190278A
Other languages
English (en)
Other versions
JP5136259B2 (ja
Inventor
Kazuhiro Hoshino
和弘 星野
Current Assignee (The listed assignees may be inaccurate. Google has not performed a legal analysis and makes no representation or warranty as to the accuracy of the list.)
Sumitomo Wiring Systems Ltd
Original Assignee
Sumitomo Wiring Systems Ltd
Priority date (The priority date is an assumption and is not a legal conclusion. Google has not performed a legal analysis and makes no representation as to the accuracy of the date listed.)
Filing date
Publication date
Application filed by Sumitomo Wiring Systems Ltd filed Critical Sumitomo Wiring Systems Ltd
Priority to JP2008190278A priority Critical patent/JP5136259B2/ja
Publication of JP2010029033A publication Critical patent/JP2010029033A/ja
Application granted granted Critical
Publication of JP5136259B2 publication Critical patent/JP5136259B2/ja
Expired - Fee Related legal-status Critical Current
Anticipated expiration legal-status Critical

Links

Images

Landscapes

  • Details Of Indoor Wiring (AREA)

Abstract

【課題】ワイヤハーネスに含まれるシールド線のアース接続を、挿通するプロテクタを利用してシンプルな構造で容易に行えるようにする。
【解決手段】樋形状としたプロテクタ本体の一側壁の上部外面から、バスバーを内周面に露出させて固定しボルト穴を設けたフランジ部を突設し、バスバーの一部を本体の一側壁を貫通させてワイヤハーネス収容部に突出させ、突出部分を屈曲させて凹部を有するシールド線挿入部を設けている一方、シールド線はコア線の外周面にシールド層を備え、かつ、絶縁被覆部のシースで外周面を被覆しており、プロテクタ本体に挿通するシールド線の途中部分にシールド層を露出させた部分を設け、露出させたシールド層をシールド線挿入部に押し込んで、シールド線のシールド層をバスバーを介して車体へアース接続する。
【選択図】図2

Description

本発明はワイヤハーネス用のプロテクタに関し、詳しくは、ワイヤハーネスを構成する電線群に含まれるシールド線のアース接続を、挿通するプロテクタを利用して容易に行えるようにするものである。
本出願人は、実開平4−10964号公報において、車体にボルト固定されるプロテクタを利用したワイヤハーネスのアース構造を提案している。具体的には、図7(A)に示すように、プロテクタ1は樋形状のプロテクタ本体2の一側壁の上端よりフランジ部3を突設させており、フランジ部3の内面にはバスバー4を露出状態で固定している。フランジ部3に固定されたバスバー4からプロテクタ本体2の内部にタブ状の接続片4bを突出させていると共に、フランジ部3のボルト穴3aとバスバー4のボルト穴4aを同心円状に重ねて連通させており、ボルト穴3a、4aに車体固定用のボルト5を通して締結することにより、バスバー4と車体パネル6との導通を図りながらプロテクタ1を車体パネル6に固定できる構造となっている。
よって、プロテクタ1に挿通するワイヤハーネスW/Hのアース線7の端末に、例えば図7(B)のようにメス端子8を取り付けてタブ状の接続片4bに嵌合させることにより、バスバー4を介してアース線7を車体パネル6にアース接続することが可能となる。
一方、ワイヤハーネスを構成する電線群にはシールド線が含まれる場合が多く、シールド線のアース接続も重要である。しかし、前記プロテクタ1の構造ではシールド線のシールド層を外面から接地させることができないため、挿通するワイヤハーネスW/Hに含まれるシールド線10をアース接続するためには、図8に示すように、シールド線10の先端のシース14およびシールド層13を所定長さ剥離してコア線11とドレン線12を露出させ、ドレン線12に所定長さの電線(延長線)15を接続したうえで、該延長線15の先端に圧着接続したアース端子16を車体パネル6の所定位置にボルト締結しなければならない。即ち、シールド線10のアース接続のためには、シールド線10にドレン線12が必須となるうえ、ドレン線12に接続する延長線15や接続端子17、該延長線15先端に取り付けるアース端子16も必要となり、さらに前記端子16、17を圧着接続する工程も必要となるため、コストや作業性の点で改良の余地がある。
実開平4−10964号公報
本発明は前記問題に鑑みてなされたものであり、ワイヤハーネスを構成する電線群に含まれるシールド線のアース接続を、挿通するプロテクタを利用してシンプルな構造で容易に行えるようにすることを課題としている。
前記課題を解決するため、本発明は、シールド線を含む電線群からなるワイヤハーネスを挿通して、車体パネルにボルト固定するプロテクタであって、
樋形状としたプロテクタ本体の周壁にフランジ部を突設し、該フランジ部にバスバーを固定すると共に該バスバーとフランジ部に連通した車体固定用のボルト穴を設け、かつ、前記バスバーの一部をプロテクタ本体内のワイヤハーネス収容部に突出させ、該突出させた部分を屈曲させてシールド線挿入部を設けている一方、
前記シールド線は、コア線の外周面に金属箔または金属編組チューブを取り付けたシールド層を備え、かつ、絶縁被覆部のシースで外周面を被覆しており、
前記プロテクタ本体に挿通するシールド線の途中部分に、前記シールド層を露出させた部分を設け、該露出させたシールド層を前記シールド線挿入部に挿入接触させ、
あるいは、前記シールド線は前記シールド層に接触させてベア線からなるドレン線を縦沿えで配置しており、該ドレン線の途中部分を引き出して前記シールド線挿入部に挿入接触させ、
前記シールド線のシールド層を前記バスバーを介して車体へアース接続する構成としていることを特徴とするワイヤハーネス用のプロテクタを提供している。
前記のように、プロテクタのフランジ部に固定されボルト締結により車体パネルに導通するバスバーの一部をワイヤハーネス収容部に突出させて凹形状のシールド線挿入部を形成しているため、挿通されるシールド線の途中部分に設けたシールド層の露出部分を前記シールド線挿入部に押し込むだけで、シールド線のアース接続を容易に行うことができる。特に、車体パネルと導通する前記凹形状のシールド線挿入部に、押し込まれたシールド層またはドレン線を直線的に接触させることができるため、高い接触信頼性のもとでシールド層に載ったノイズを効率的に車体パネルへ落とすことができる。
シールド線の途中部分でシールド層を露出させてシールド線挿入部に挿入する場合には、従来、シールド線のアース接続に必要とされたドレン線を設けなくてもよく、ドレン線に接続する延長線や接続端子、アース端子も不要となる。
また、バスバーから前記シールド線挿入部を突出させるだけで前記シールド線のアース接続ができるため、突出させるバスバーとして、他のジョイントコネクタやアースの接地に用いるバスバーを共用することができる。即ち、前記構成によれば、部品点数、作業工数を大幅に削減して、低コストで確実なアース接続が可能となる。
前記シールド線は、コア線の外周面に、粘着層を有したアルミテープ等の金属箔テープを巻き付けてシールド層を形成すると共に、その外周面を被覆するシースとして、塩化ビニルテープ等の絶縁粘着テープを巻き付けている場合がある。該シールド線では、前記シールド線挿入部に押し込まれる露出されたシールド層は、金属箔テープを巻き付けて形成したシールド層の外周面に、絶縁粘着テープを巻き付けない部分を途中に設けることで容易に形成することができる。
一方、絶縁被覆樹脂を押出成形することによりシースを形成している場合には、押出成形されたシースの一部を切開剥離して金属箔テープ巻きのシールド層を部分的に露出させ、この露出部分を前記シールド線挿入部に押し込まれるシールド層としている。
一方、前記シールド線のシールド層に接触させて、ベア線からなるドレン線を縦沿えで配置し、かつ、絶縁被覆部のシースで外周面を被覆したしシールド線では、前記のように、プロテクタ本体に挿通するシールド線からドレン線の途中部分を引き出し、該ドレン線を前記シールド線挿入部に押し込み、前記シールド線のドレン線を前記バスバーを介して車体へアース接続する構成としている。
前記シールド線は、1本または複数本のコア線および1本のドレン線の外周面に、粘着層を有したアルミテープ等の金属箔テープを巻き付けてシールド層を形成すると共に、その外周面を被覆するシースとして、塩化ビニルテープ等の絶縁粘着テープを巻き付けることが好ましい。
前記シールド線挿入部に押し込むドレン線は、コア線とドレン線に巻き付けるシールド層の金属箔テープおよびその外周面に巻き付けるシースの絶縁粘着テープの隙間からドレン線を部分的に引き出すことにより容易に形成することができる。
一方、絶縁被覆樹脂を押出成形することによりシースを形成してもよく、その際には、押出成形されたシースおよびシールド層の金属箔テープの一部を切開剥離してドレン線を部分的に引き出し、引き出したドレン線を前記シールド線挿入部に押し込むようにしてもよい。
前記シールド層に接触させて縦沿えで配置したドレン線を備えたシールド線では、シールド線から引き出したドレン線の途中部分を前記シールド線挿入部に押し込むことによって、シールド線のアース接続を簡単に行うことができる。このドレン線をシールド線挿入部に直接に挿入する場合においても、ドレン線に接続する延長線や接続端子、アース端子が不要となり、部品点数、作業工数を削減して、低コストで確実なアース接続が可能となる。
前記プロテクタ本体から周壁から突設するフランジ部は、プロテクタ本体の一側壁の上部外面から突設することが好ましい。
また、前記バスバーを折り曲げて形成するシールド線挿入部は凹部の外側部の上端を凹部内に折り曲げてバネ部を設け、前記シールド線挿入部に押し込む前記シールド線のシールド層またはドレン線に前記バネ部を圧接していることが好ましい。
前記のように、シールド線挿入部に、凹部の外側部上端を凹部内に折り曲げたバネ部を設け、シールド線挿入部に押し込まれるシールド層またはドレン線に前記バネ部を側方から圧接させる構造とすることにより、シールド層またはドレン線とバスバーとの接触信頼性を一層高めて、より確実なアース接続が可能となる。
さらに、前記シールド線挿入部は前記ワイヤハーネス収容部内の上側部に設け、前記シールド線挿入部を挟むシールド線の両側部は下方へと延在し、該シールド線挿入部への押し込み部分には下向き荷重を負荷して、前記シールド層またはドレン線は凹部の底面に圧接していることが好ましい。
前記のように、シールド線挿入部をワイヤハーネス収容部内の上側部に設けることで、該シールド線挿入部への押し込み部分が両側下方に延在するワイヤハーネスの自重により下方へ引っ張られ、該押し込み部分はシールド線挿入部の凹部底面に圧接した状態となる。したがって、シールド層またはドレン線とバスバーとの接触信頼性が一層高まり、より確実なアース接続が可能となる。
また、複数個のシールド線挿入部をワイヤハーネス収容部に間隔をあけて直列に設け、各シールド線挿入部に露出されたシールド層またはドレン線を押し込むようにしてもよい。これにより、シールド層またはドレン線とバスバーとの接触長を伸ばし、接触信頼性を高めることができる。
前述したように、本発明によれば、プロテクタのフランジ部に固定されボルト締結により車体パネルに導通するバスバーの一部をワイヤハーネス収容部に突出させて、凹形状のシールド線挿入部を形成しているため、挿通されるシールド線の途中部分に設けたシールド層の露出部分またはドレン線を前記シールド線挿入部に押し込むだけで、シールド線のアース接続を容易に行うことができる。特に、車体パネルと導通する前記凹形状のシールド線挿入部に、押し込まれたシールド層またはドレン線を直線的に接触させることができるため、高い接触信頼性のもとでシールド層に載ったノイズを効率的に車体パネルへ落とすことができる。
よって、シールド線のアース接続に必要とされていたドレン線に接続する延長線や接続端子、アース端子も不要となり、前記シールド線挿入部を突出させるバスバーも、他のジョイントコネクタやアースの接地に用いるバスバーを共用することができるため、部品点数、作業工数を大幅に削減して、低コストで信頼性の高いアース接続が可能となる。
特に、前記シールド線挿入部にシールド層を押し込んで接地させることにより、ドレン線自体をシールド線に設ける必要がなくなり、コストをさらに削減することができる。
以下、本発明の実施形態を図面を参照して説明する。
図1乃至図4に本発明の第1実施形態を示す。
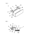
図1は、車体パネル30にボルト固定されるワイヤハーネス用のプロテクタ20を示しており、樋形状のプロテクタ本体21と、該プロテクタ本体21の上部外面から側方に突設したフランジ部23とからプロテクタ20を構成している。
プロテクタ本体21の内部には、ワイヤハーネスW/Hを挿通するワイヤハーネス収容部22を設けている一方、フランジ部23には、バスバー24をインサート成形によって埋め込んで、フランジ部23の内面にバスバー24を露出させている。また、フランジ部23およびバスバー24には、連通した車体固定用のボルト穴23a、24aを同心円状に設けており、フランジ部23のボルト穴23aをバスバー24のボルト穴24aより大として、車体固定用のボルト31を締結したときにボルト31の頭部がバスバー24の上面に当接するようにしている。このように、プロテクタ20を車体パネル30にボルト固定することにより、車体パネル30とバスバー24が導通する。
また、バスバー24の一部をプロテクタ本体21のワイヤハーネス収容部22に突出させ、突出させた部分を屈曲させて凹部を有するシールド線挿入部25を形成している。前記シールド線挿入部25をワイヤハーネス収容部22の上側部に設け、該シールド線挿入部25には、凹部の外側部上端を凹部内に折り曲げたバネ部25aを設けている。
図2は、車体パネル30にボルト固定されたプロテクタ20にワイヤハーネスW/Hが挿通されている状態を示している。
ワイヤハーネスW/Hを形成する電線群には一般電線40の他に、シールド線41を含んでおり、シールド線41は、複数本(本実施形態では2本)の絶縁被覆電線からなるコア線42の外周に、粘着層を有するアルミテープを巻き付けてシールド層43を形成し、その外周面を被覆するシースとして塩化ビニルテープ44を巻き付けた構造としている(図3参照)。
シールド線41の途中部分には、塩化ビニルテープ44を巻き付けずに、アルミテープ巻きのシールド層43を露出させた部分を設けており、図2、図4に示すように、ワイヤハーネスW/Hをプロテクタ20のワイヤハーネス収容部22に挿通する際に、前記露出させたシールド層43をシールド線挿入部25に押し込んでいる。
前記のように、プロテクタ20のフランジ部23に固定されボルト締結により車体パネル30に導通するバスバー24の一部をワイヤハーネス収容部22に突出させて凹形状のシールド線挿入部25を形成しているため、挿通されるシールド線41の途中部分に設けたシールド層43の露出部分をシールド線挿入部25に押し込むだけで、シールド線41のアース接続を容易に行うことができる。特に、車体パネル30と導通する凹形状のシールド線挿入部25に、押し込まれたシールド層43を直線的に接触させることができるため、高い接触信頼性のもとでシールド層43に載ったノイズを効率的に車体パネル30へ落とすことができる。
したがって、従来、シールド線のアース接続に必要とされていたドレン線や、ドレン線に接続する延長線や接続端子、アース端子も不要となり、前記シールド線挿入部25を突出させるバスバー24も、他のジョイントコネクタやアースの接地に用いるバスバーを共用することができるため、部品点数、作業工数を大幅に削減して、低コストで信頼性の高いアース接続が可能となる。
また、前記のように、シールド線挿入部25に、凹部の外側部の上端を凹部内に折り曲げたバネ部25aを設け、シールド線挿入部25に押し込まれるシールド層43にバネ部25aを側方から圧接させているため、シールド層43とバスバー24、25との接触信頼性を一層高めて、より確実なアース接続が可能となる。
さらに、前記のように、シールド線挿入部25をワイヤハーネス収容部22内の上側部に設けることで、シールド線挿入部25への押し込み部分が両側下方に延在するワイヤハーネスW/Hの自重により下方へ引っ張られ、該押し込み部分はシールド線挿入部25の凹部底面に圧接した状態となる。したがって、シールド層43とバスバー24、25との接触信頼性を一層高めて、より確実なアース接続が可能となる。
図5および図6に第2実施形態を示す。
第2実施形態では、挿通するワイヤハーネスW/Hのシールド線51を、複数本(本実施形態では2本)の絶縁被覆電線からなるコア線52および縦沿えで配置したドレン線53の外周に、粘着層を有するアルミテープを巻き付けてシールド層54を形成し、その外周面を被覆するシースとして塩化ビニルテープ55を巻き付けた構造を有している(図5参照)。そして、シールド線挿入部25にはドレン線53の途中部分を押し込むこととし、コア線52とドレン線53に巻き付けるシールド層54のアルミテープおよびその外周面に巻き付けるシースの塩化ビニルテープ55の隙間からドレン線53を部分的に引き出して、シールド線挿入部25に押し込んでいる点以外は第1実施形態と同様としている。
前記のように、シールド線51から引き出したドレン線53の途中部分を前記シールド線挿入部25に押し込むことによっても、シールド線51のアース接続を行うことができる。即ち、前記構成によれば、車体パネル30と導通される前記凹形状のシールド線挿入部25に、ドレン線53を直線的に接触させることができるため、高い接触信頼性のもとでシールド層54に載ったノイズを車体パネルへ落とすことができる。
よって、第2実施形態においても、ドレン線53に接続する延長線や接続端子、アース端子が不要となり、部品点数、作業工数を削減して、低コストで確実なアース接続が可能となる。
なお、前記第1、第2実施形態では、シールド線挿入部25にシールド層43またはドレン線53を1本押し込んでいるが、ワイヤハーネスW/Hにシールド線41、51が複数本含まれている場合には、シールド線挿入部25にシールド層43またはドレン線53を複数本重ねて押し込んでもよい。
また、複数個のシールド線挿入部25をワイヤハーネス収容部22に間隔をあけて直列に設け、各シールド線挿入部25にシールド層43またはドレン線53を押し込むようにしてもよい。
第1実施形態のワイヤハーネス用のプロテクタの概略斜視図である。 ワイヤハーネス用のプロテクタにワイヤハーネスを挿通した状態を示す概略斜視図である。 シールド線を示す概略斜視図である。 図2の要部拡大図である。 第2実施形態のシールド線を示す概略斜視図である。 ドレン線を押し込んだシールド線挿入部付近の要部拡大図である。 従来例を示す図である。 従来例を示す図である。
符号の説明
20 ワイヤハーネス用のプロテクタ
21 プロテクタ本体
22 ワイヤハーネス収容部
23 フランジ部
23a ボルト穴
24 バスバー
24a ボルト穴
25 シールド線挿入部
25a バネ部
30 車体パネル
31 ボルト
40 一般電線
41、51 シールド線
42、52 コア線
53 ドレン線
43、54 シールド層
44、55 シース

Claims (3)

  1. シールド線を含む電線群からなるワイヤハーネスを挿通して、車体パネルにボルト固定するプロテクタであって、
    樋形状としたプロテクタ本体の周壁からフランジ部を突設し、該フランジ部にバスバーを固定すると共に該バスバーとフランジ部に連通した車体固定用のボルト穴を設け、かつ、前記バスバーの一部をプロテクタ本体内のワイヤハーネス収容部に突出させ、該突出させた部分を屈曲させてシールド線挿入部を設けている一方、
    前記シールド線は、コア線の外周面に金属箔または金属編組チューブを取り付けたシールド層を備え、かつ、絶縁被覆部のシースで外周面を被覆しており、
    前記プロテクタ本体に挿通するシールド線の途中部分に、前記シールド層を露出させた部分を設け、該露出させたシールド層を前記シールド線挿入部に挿入接触させ、
    あるいは、前記シールド線は前記シールド層に接触させてベア線からなるドレン線を縦沿えで配置しており、該ドレン線の途中部分を引き出して前記シールド線挿入部に挿入接触させ、
    前記シールド線のシールド層を前記バスバーを介して車体へアース接続する構成としていることを特徴とするワイヤハーネス用のプロテクタ。
  2. 前記バスバーを折り曲げて形成するシールド線挿入部は凹部の外側部の上端を凹部内に折り曲げてバネ部を設け、前記シールド線挿入部に押し込む前記シールド線のシールド層またはドレン線に前記バネ部を圧接している請求項1に記載のワイヤハーネス用のプロテクタ。
  3. 前記シールド線挿入部は前記ワイヤハーネス収容部内の上側部に設け、前記シールド線挿入部を挟むシールド線の両側部は下方へと延在し、該シールド線挿入部への押し込み部分には下向き荷重を負荷して、前記シールド層またはドレン線は凹部の底面に圧接している請求項1または請求項2に記載のワイヤハーネス用のプロテクタ。
JP2008190278A 2008-07-23 2008-07-23 ワイヤハーネス用のプロテクタ Expired - Fee Related JP5136259B2 (ja)

Priority Applications (1)

Application Number Priority Date Filing Date Title
JP2008190278A JP5136259B2 (ja) 2008-07-23 2008-07-23 ワイヤハーネス用のプロテクタ

Applications Claiming Priority (1)

Application Number Priority Date Filing Date Title
JP2008190278A JP5136259B2 (ja) 2008-07-23 2008-07-23 ワイヤハーネス用のプロテクタ

Publications (2)

Publication Number Publication Date
JP2010029033A true JP2010029033A (ja) 2010-02-04
JP5136259B2 JP5136259B2 (ja) 2013-02-06

Family

ID=41734300

Family Applications (1)

Application Number Title Priority Date Filing Date
JP2008190278A Expired - Fee Related JP5136259B2 (ja) 2008-07-23 2008-07-23 ワイヤハーネス用のプロテクタ

Country Status (1)

Country Link
JP (1) JP5136259B2 (ja)

Cited By (7)

* Cited by examiner, † Cited by third party
Publication number Priority date Publication date Assignee Title
JP2012115019A (ja) * 2010-11-24 2012-06-14 Sumitomo Wiring Syst Ltd ワイヤハーネス
JP2012170219A (ja) * 2011-02-14 2012-09-06 Yazaki Corp ブラケット
CN105514892A (zh) * 2016-01-27 2016-04-20 云南电网有限责任公司电力科学研究院 一种具有屏蔽结构的穿墙套管
JP2019133974A (ja) * 2018-01-29 2019-08-08 矢崎総業株式会社 回路体および回路体の製造方法
JP2020108185A (ja) * 2018-12-26 2020-07-09 矢崎総業株式会社 外装部材及びワイヤハーネス
JP2021158866A (ja) * 2020-03-30 2021-10-07 古河電気工業株式会社 プロテクタ及びプロテクタを備えた外装付ハーネス
WO2024109800A1 (zh) * 2022-11-22 2024-05-30 长春捷翼汽车科技股份有限公司 自带安装定位的线束及车体结构

Citations (3)

* Cited by examiner, † Cited by third party
Publication number Priority date Publication date Assignee Title
JPH0773948A (ja) * 1993-09-01 1995-03-17 Sumitomo Wiring Syst Ltd シールド電線のアース方法と、それに用いるアース用接続子
JP2000092649A (ja) * 1998-09-17 2000-03-31 Sumitomo Wiring Syst Ltd プロテクタ
JP2005137145A (ja) * 2003-10-31 2005-05-26 Calsonic Kansei Corp ハーネスプロテクタ構造

Patent Citations (3)

* Cited by examiner, † Cited by third party
Publication number Priority date Publication date Assignee Title
JPH0773948A (ja) * 1993-09-01 1995-03-17 Sumitomo Wiring Syst Ltd シールド電線のアース方法と、それに用いるアース用接続子
JP2000092649A (ja) * 1998-09-17 2000-03-31 Sumitomo Wiring Syst Ltd プロテクタ
JP2005137145A (ja) * 2003-10-31 2005-05-26 Calsonic Kansei Corp ハーネスプロテクタ構造

Cited By (9)

* Cited by examiner, † Cited by third party
Publication number Priority date Publication date Assignee Title
JP2012115019A (ja) * 2010-11-24 2012-06-14 Sumitomo Wiring Syst Ltd ワイヤハーネス
JP2012170219A (ja) * 2011-02-14 2012-09-06 Yazaki Corp ブラケット
CN105514892A (zh) * 2016-01-27 2016-04-20 云南电网有限责任公司电力科学研究院 一种具有屏蔽结构的穿墙套管
JP2019133974A (ja) * 2018-01-29 2019-08-08 矢崎総業株式会社 回路体および回路体の製造方法
JP2020108185A (ja) * 2018-12-26 2020-07-09 矢崎総業株式会社 外装部材及びワイヤハーネス
JP7207995B2 (ja) 2018-12-26 2023-01-18 矢崎総業株式会社 外装部材及びワイヤハーネス
JP2021158866A (ja) * 2020-03-30 2021-10-07 古河電気工業株式会社 プロテクタ及びプロテクタを備えた外装付ハーネス
JP7348872B2 (ja) 2020-03-30 2023-09-21 古河電気工業株式会社 プロテクタ及びプロテクタを備えた外装付ハーネス
WO2024109800A1 (zh) * 2022-11-22 2024-05-30 长春捷翼汽车科技股份有限公司 自带安装定位的线束及车体结构

Also Published As

Publication number Publication date
JP5136259B2 (ja) 2013-02-06

Similar Documents

Publication Publication Date Title
US8258402B2 (en) Shielded wire-grounding construction
US6781059B2 (en) Shielded wire
US9991026B2 (en) Conductive cable, method for producing the same, and wiring structure for the same
JP5136259B2 (ja) ワイヤハーネス用のプロテクタ
JP6188504B2 (ja) 多芯ケーブルおよび多芯ケーブルの製造方法
US9376070B2 (en) Wire harness combination structure
US6246001B1 (en) Method for manufacturing a grounding construction for a plurality of shielded cables and a grounding construction
JP5990846B2 (ja) シールド構造の製造方法及びワイヤハーネスの製造方法
KR101022874B1 (ko) 다중 요철 구조의 연결부를 구비한 커넥터 및, 커넥터와 일괄형 편조차폐선의 결합방법
EP2809551B1 (en) Protector and wire harness
JP5216095B2 (ja) 短絡回路を含むワイヤハーネス及びその製造方法
JP2005093198A (ja) シールド電線のアース処理構造
JP2014183234A (ja) 電線のシールド構造
JP2009187839A (ja) 端末ジョイント部の保護キャップ
JP6628098B2 (ja) シールド電線のアース処理構造
JPH0773948A (ja) シールド電線のアース方法と、それに用いるアース用接続子
JP2007184172A (ja) シールド線のアース接続構造
JP5365099B2 (ja) 短絡回路を含むワイヤハーネス
JP2012038673A (ja) ワイヤハーネス
JPH06176803A (ja) ワイヤーハーネス
JP5365100B2 (ja) 短絡回路を含むワイヤハーネス及びその製造方法
JP2012014982A (ja) シールドコネクタ
JP3346313B2 (ja) シールド用編み線のアース接続構造
US20160163423A1 (en) Shielded wire and wire harness
JP2000323201A (ja) シールド線端末部の防水構造

Legal Events

Date Code Title Description
A621 Written request for application examination

Free format text: JAPANESE INTERMEDIATE CODE: A621

Effective date: 20101117

A977 Report on retrieval

Free format text: JAPANESE INTERMEDIATE CODE: A971007

Effective date: 20111228

A131 Notification of reasons for refusal

Free format text: JAPANESE INTERMEDIATE CODE: A131

Effective date: 20120724

A521 Written amendment

Free format text: JAPANESE INTERMEDIATE CODE: A523

Effective date: 20120920

TRDD Decision of grant or rejection written
A01 Written decision to grant a patent or to grant a registration (utility model)

Free format text: JAPANESE INTERMEDIATE CODE: A01

Effective date: 20121016

A01 Written decision to grant a patent or to grant a registration (utility model)

Free format text: JAPANESE INTERMEDIATE CODE: A01

A61 First payment of annual fees (during grant procedure)

Free format text: JAPANESE INTERMEDIATE CODE: A61

Effective date: 20121029

R150 Certificate of patent or registration of utility model

Free format text: JAPANESE INTERMEDIATE CODE: R150

FPAY Renewal fee payment (event date is renewal date of database)

Free format text: PAYMENT UNTIL: 20151122

Year of fee payment: 3

LAPS Cancellation because of no payment of annual fees