JP2010026872A - 電算機室用空調システム - Google Patents

電算機室用空調システム Download PDF

Info

Publication number
JP2010026872A
JP2010026872A JP2008188930A JP2008188930A JP2010026872A JP 2010026872 A JP2010026872 A JP 2010026872A JP 2008188930 A JP2008188930 A JP 2008188930A JP 2008188930 A JP2008188930 A JP 2008188930A JP 2010026872 A JP2010026872 A JP 2010026872A
Authority
JP
Japan
Prior art keywords
passage
computer room
conditioning system
gas introduction
air conditioning
Prior art date
Legal status (The legal status is an assumption and is not a legal conclusion. Google has not performed a legal analysis and makes no representation as to the accuracy of the status listed.)
Granted
Application number
JP2008188930A
Other languages
English (en)
Other versions
JP5346514B2 (ja
Inventor
Makoto Takahashi
誠 高橋
Manabu Kinoshita
学 木下
Hiroshi Doi
博 土肥
Naoki Ishitani
直樹 石谷
Jun Kondo
潤 近藤
Current Assignee (The listed assignees may be inaccurate. Google has not performed a legal analysis and makes no representation or warranty as to the accuracy of the list.)
NTT Facilities Inc
Original Assignee
NTT Facilities Inc
Priority date (The priority date is an assumption and is not a legal conclusion. Google has not performed a legal analysis and makes no representation as to the accuracy of the date listed.)
Filing date
Publication date
Application filed by NTT Facilities Inc filed Critical NTT Facilities Inc
Priority to JP2008188930A priority Critical patent/JP5346514B2/ja
Publication of JP2010026872A publication Critical patent/JP2010026872A/ja
Application granted granted Critical
Publication of JP5346514B2 publication Critical patent/JP5346514B2/ja
Expired - Fee Related legal-status Critical Current
Anticipated expiration legal-status Critical

Links

Images

Landscapes

  • Air-Flow Control Members (AREA)

Abstract

【課題】機器収容用ラックに収容された機器を冷却することにより暖められた空気が機器収容用ラック間の通路空間内に混入することを防止して冷却効率の向上を図ることができるとともに、必要に応じて通路の外部のガス(前述の空気や不活性ガス)を通路空間内に導入することができる電算機室用空調システムを提供する。
【解決手段】電算機室用空調システムであって、通路を挟んで両側のラックの上面間に配置された上部遮蔽体10と、前記通路の端部に設けられた端部遮蔽体と、を有し、これら上部遮蔽体10及び端部遮蔽体によって通路空間が画成されており、これら上部遮蔽体10及び端部遮蔽体の少なくとも一部には、開閉自在なガス導入部11,12が設けられており、ガス導入部11、12から前記通路空間内に外部ガスを導入する構成とされていることを特徴とする。
【選択図】図2

Description

本発明は、電算機室用空調システムに関する。
従来、ある空間の空気の流れや温度を調整するための種々の空調システムが提案されている。
これら空調システムの中には、高集約化・高発熱化の傾向にあるOA機器や通信装置等が設置される電算機室内において、機器周辺の空気の流れや温度を調整する電算機室用空調システムが知られている。
電算機室用空調システムとしては、通路を挟んで対向配置された複数の機器収容用ラックと、機器収容用ラックの側方であって、通路に対向配置された空気調和装置とを備えたものがある。
このような構成のもと、空気調和装置が、冷却用空気を下方に排出すると、その冷却用空気が通路に送られて、機器収容用ラックに吸い込まれる。そして、その冷却用空気は、機器収容用ラックに収容された機器を冷却することにより暖められた後、機器収容用ラックから吹き出される。そして、その暖められて吹き出された空気は、電算機室の上方空間を流動して、空気調和装置に吸い込まれて、再び冷却され排出される。
これにより、電算機室内の空気の流れや温度がコントロールされる。
ところが、暖められて機器収容用ラックから吹き出された空気の一部は、空気調和装置に送られることなく、上方空間からダイレクトに通路に還流されてしまう場合がある。その場合、通路に還流された空気は、暖められた状態のまま、再び機器収容用ラックに吸い込まれてしまうことにより、機器の冷却効率を低下させてしまう。
そこで、対向する機器収容用ラックの間の通路の上面にわたって遮蔽板を設けるとともに通路の端部に壁部を設けて通路空間内を密閉し、通路空間内に温められた空気が混入しないように構成したものが提案されている(例えば、特許文献1の第9図参照。)。
特許第3835615号公報
ところで、前述のようにOA機器や通信装置等が設置される電算機室においては、消火設備として、例えば窒素ガスといった不活性ガスを高圧で吹き付ける不活性ガス供給装置が備えられている。しかしながら、前述のように、機器収容用ラック間の通路空間を密閉するように構成した場合には、不活性ガス供給装置によって通路の外部から不活性ガスを吹き出しても、通路空間内に不活性ガスを導入しにくくなるといった問題があった。
また、機器収容用ラック間の通路空間を密閉するように構成した場合において、空気調和装置等の不調によって冷却用空気が通路空間に吹き出されなくなると、外部からの空気の流れ込みもなく、通路空間内部が負圧状態となる。すると、通路空間を形成している遮蔽板、壁部、機器収容用ラック等のうち強度の低い部分が破損してしまうおそれがあった。
一方、通路の外部に吹き出される不活性ガスや外部の空気が通路空間内に導入されるように空隙等を形成した場合には、この空隙から温められた空気が通路空間内に混入することになり、折角、遮蔽板や壁部を設けたにもかかわらず冷却効率が低下してしまうことになる。このように、従来は、冷却効率の向上と外部からのガスの導入とを両立させた電算機室用空調システムは提供されていなかった。
本発明は、このような事情に鑑みてなされたものであって、機器収容用ラックに収容された機器を冷却することにより暖められた空気が機器収容用ラック間の通路空間内に混入することを防止して冷却効率の向上を図ることができるとともに、必要に応じて通路の外部のガス(前述の空気や不活性ガス等)を通路空間内に導入することができる電算機室用空調システムを提供することを目的とする。
上記課題を解決するために、本発明は以下の手段を提供する。
本発明は、電算機室内において床下に内部空間を有する通路を挟んで両側に設置され、前面から給気して上面又は背面から熱を帯びた空気を吹き出す機器収容用ラックと、空気調和装置とを備え、前記空気調和装置から吹き出された冷却用空気が、前記内部空間を流動して、前記通路に設けられた孔からさらに前記通路の床上に流動し、この冷却用空気が前記ラックに収容された機器を冷却した後、前記ラックの上方の空間を流動して前記空気調和装置に再び吸引される電算機室用空調システムであって、前記通路を挟んで両側のラックの上面間に配置された上部遮蔽体と、前記通路の端部に設けられた端部遮蔽体と、を有し、これら上部遮蔽体及び端部遮蔽体によって通路空間が画成されており、これら上部遮蔽体及び端部遮蔽体の少なくとも一部には、開閉自在なガス導入部が設けられており、このガス導入部から前記通路空間内に外部ガスを導入する構成とされていることを特徴とする。
また、本発明は、前記上部遮蔽体が、前記ラックの上面から上方に向けて延設された側壁部と、この側壁部の上部に渡された天板部と、を備えていることを特徴とする。
また、本発明は、前記ガス導入部が、前記側壁部の一部に設けられていることを特徴とする。
また、本発明は、前記ガス導入部が、前記端部遮蔽体の一部に設けられていることを特徴とする。
また、本発明は、前記外部ガスの吹き出し圧力及び前記通路空間内部の圧力を感知して前記ガス導入部を開放する制御部を備えていることを特徴とする。
また、本発明は、前記ガス導入部には、複数の帯状の羽根板がそれぞれ揺動自在に並列されており、前記ガス導入部は、複数の前記羽根板によって開閉される構成とされていることを特徴とする
また、本発明は、前記羽根板は、前記通路空間の内側に向けて揺動した際に前記ガス導入部を開放し、前記通路空間の外側に向けて揺動した際に前記ガス導入部を閉止する構成とされていることを特徴とする。
また、本発明は、前記羽根板は、前記外部ガスの吹き出し圧力によって揺動する構成とされていることを特徴とする。
また、本発明は、前記ガス導入部は、収容部の内部に巻回されて前記収容部から出没可能に配置されたロールスクリーン部によって開閉される構成とされていることを特徴とする。
本発明によれば、前記通路を挟んで両側のラックの上面間に配置された上部遮蔽体と、前記通路の端部に設けられた端部遮蔽体と、によって通路空間が密閉されているので、機器収容用ラックに収容された機器を冷却することにより暖められた空気が機器収容用ラック間の通路空間内に混入することを防止して冷却効率の向上を図ることができる。
さらに、上部遮蔽体及び端部遮蔽体の少なくとも一部には、開閉自在なガス導入部が設けられており、このガス導入部が、通路空間の外部と内部との圧力差によって開放されて通路内に外部ガスを導入する構成とされているので、必要に応じて通路空間の外部ガスを通路空間内に導入することが可能となる。
(実施形態1)
以下、本発明の第1の実施形態における電算機室用空調システムについて、図面を参照して説明する。
図1に示す電算機室用空調システム100は、箱状に形成された電算機室101において利用されるものである。
まず、電算機室101について説明する。
電算機室101には、床下に内部空間5を有する二重床2を備えている。二重床2には、長手方向に延びる通路4が形成されている。二重床2には、その厚さ方向に貫通する矩形状の長孔8が形成されている。そして、長孔8の縁部の全周には、この長孔8を覆う矩形板状の孔あきパネル7が嵌め込まれている。孔あきパネル7には、厚さ方向に貫通する複数の孔が形成されている。これにより、床下の内部空間5と通路4とが、それら複数の孔を介して連通している。
次いで、電算機室101において利用される電算機室用空調システム100について説明する。
電算機室用空調システム100は、通路4を挟んで両側に対向配置されたラック(機器収容用ラック)3と、空気調和装置6と、通路4を挟んで両側のラック3の上面間に配置された上部遮蔽体10と、通路4の端部に設けられた端部遮蔽体40と、を備えており、ラック3と上部遮蔽体10と端部遮蔽体40とによって通路空間Sが画成されている。
ラック3は、箱状に形成されており、通信装置等の各種機器を収容するものである。これらラック3は、通路4の長手方向に沿って複数配列されている。ラック3は、互いに対向する対向面に形成された給気口(不図示)から、通路空間Sの空気を給気し、給気した空気を上面3a又は背面の吹出口から上方又は後方に向けて吹き出すようになっている。
空気調和装置6は、箱状に形成されている。この空気調和装置6は、ラック3の側方であって、通路4の長手方向の一端に対向して通路空間Sの外部に配置されている。そして、空気調和装置6は、下面6bの吹出口から冷却用空気を吹き出し、電算機室101の上方空間を流動する空気を、その上面6aの吸引口から吸引し、冷却した後、再び吹出口から吹き出すようになっている。
上部遮蔽体10は、図1及び図2に示すように、ラック3の上面から上方に向けて延設される側壁部30と、この側壁部30の上部に渡された天板部20と、を備えている。
天板部20は、枠体21と、この枠体21に取り付けられたロールスクリーン22と、を備えており、ロールスクリーン22によって開閉される開口部が、本実施形態における第1ガス導入部(ガス導入部)11とされている。
このロールスクリーン22は、図3に示すように、矩形状のシート部23と、このシート部23を収容する収容部24と、シート部23の先端辺の全長にわたって設けられた棒状のエンドレール25とを備えている。シート部23は、例えばガラスクロスなどの不燃性部材からなるものである。このシート部23は、収容部24内において巻回部(図示なし)に巻回されている。巻回部は、付勢部材などにより、シート部23を巻回する方向に付勢されている。
収容部24は、箱状に延ばされて形成されており、長手方向にわたって延びるスリットが形成されている。エンドレール25は、前記スリットの幅寸法よりも大径に形成されており、シート部23が全て収容部24内に入りこまないように構成されている。
また、シート部23には、幅方向に隣り合う他のシート部23との隙間を覆う矩形状の遮蔽シート26が取り付けられるようになっている。遮蔽シート26は、例えばガラスクロスなどの不燃性部材からなっている。さらに、遮蔽シート26の短手方向の両端には、面ファスナー部(図示なし)が設けられており、この面ファスナー部により、シート部23に着脱可能に取り付けられるようになっている。
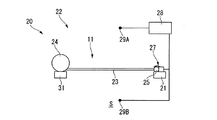
このような構成のロールスクリーン22は、天板部20の枠体21の一辺に収容部24が固定され、この収容部24が固定された一辺に対向する側の辺に設けられた掛止フック27にエンドレール25が掛止されることによって、天板部20の開口部、つまり、第1ガス導入部11を閉止する構成とされている。
掛止フック27は、揺動可能とされ、エンドレール25の掛止を解除することができる構成とされている。この掛止フック27の揺動動作は、通路空間Sの外部の圧力Poを検知する圧力センサ29A及び通路空間Sの内部の圧力Piを検知する圧力センサ29Bが接続された制御部28によって制御されている。制御部28は、図4に示すように、通路空間Sの外部の圧力Poが通路空間の内部の圧力Piよりも所定値Ps以上高くなった場合に、掛止フック27を揺動させてエンドレール25の掛止を解除し、第1ガス導入部11を開放する構成とされている。
側壁部30は、図2に示すように、枠体31と、この枠体31に取り付けられたブラインド部32と、を備えており、ブラインド部32によって開閉される開口部が、本実施形態における第2ガス導入部12(ガス導入部)とされている。
このブラインド部32は、図5に示すように、複数の帯状の羽根板33と、この羽根板33を揺動自在に支持する支持部34と、複数の支持部34を固定する固定部35と、を備えている。本実施形態では、羽根板33が横方向に延びるようにして配置され、複数の羽根板33が縦方向に並列されている。
また、羽根板33の長さは支持部34同士の間隔と略同一となるように設定されており、通常、固定部35によって揺動しないように構成されている。
固定部35は、通路空間Sの外部の圧力Poを検知する圧力センサ39A及び通路空間Sの内部の圧力Piを検知する圧力センサ39Bが接続された制御部38によって制御されている。制御部38は、図6に示すように、通路空間Sの外部の圧力Poが通路空間の内部の圧力Piよりも所定値Ps以上高くなった場合に、固定部35が解除されて羽根板33が揺動可能となり、この羽根板33が通路空間Sの内部と外部との圧力差によって通路空間S内部側に向けて揺動されることにより、第2ガス導入部12が開放されることになる。
端部遮蔽体40は、図7に示すように、通路4の端部を塞ぐように配置されており、枠体41と、枠体41の開口部を塞ぐパネル部42と、枠体41の下部に設けられたブラインド部43と、を備えている。ブラインド部43によって開閉される開口部が、本実施形態における第3ガス導入部13(ガス導入部)とされている。
このブラインド部43は、図8に示すように、複数の帯状の羽根板44と、この羽根板44を揺動自在に支持する支持部45と、を備えている。本実施形態では、羽根板44が横方向に延びるようにして配置され、複数の羽根板44が縦方向に並列されている。
ここで、羽根板44の縦方向(図8において上下方向)長さは、並列された支持部45の間隔よりも長く設定されており、羽根板44の下端が、下側に隣接する支持部45の通路空間S側に接触することで、第3ガス導入部13を閉止するように構成されている。
このブラインド部43は、駆動部を備えておらず、通路空間Sの内部と外部との圧力差によって開閉する構成とされている。一方、外部ガスが吹き出される場合、通路空間Sの内部の圧力Piが外部の圧力Poよりも低いため、図8(b)に示すように、羽根板44が通路空間Sの内方へと揺動し、第3ガス導入部13がスリット状に開放される。
次に、このように構成された本実施形態における電算機室用空調システム100の作用について説明する。
電算機室101において、ラック3に収容された通信装置などが動作することにより発熱し、それら各機器が熱を帯びてしまう。そのため、動作している各機器を冷却する必要がある。
そこで、空気調和装置6の下面6bの吹出口から、内部空間5に冷却用空気を吹き出す。この冷却用空気は、内部空間5を通って、孔あきパネル7の複数の孔から上方(通路4)に吹き出される。そして、通路4に送られた冷却用空気は、ラック3の前面の給気口から給気され、熱交換作用により、各機器を冷却する。これにより、給気された空気は、暖められて温熱空気となる。その温熱空気は、ラック3の上面3a又は背面の吹出口から上方に吹き出される。さらに、吹き出された温熱空気は、電算機室101の上方空間を流動し、空気調和装置6の上面6aの吸引口から吸引され、冷却された後、再び下面6bの吹出口から吹き出される。
これにより、電算機室101内の空気の流れや温度がコントロールされ、各機器の良好な動作状態が維持される。
ところで、ラック3の上面3a又は背面から吹き出された温熱空気は、空気調和装置6に給気される前に、通路4に還流されて、ラック3の前面から給気されてしまう場合がある。
しかし、本実施形態においては、通路4を挟んで両側のラック3の上面間に配置された上部遮蔽体10と、通路4の端部に設けられた端部遮蔽体40と、を備え、ラック3、上部遮蔽体10及び端部遮蔽体40によって通路空間Sが画成されているので、ラック3の上面の温熱空気が通路空間Sに流入することが規制される。すなわち、通路空間Sには、二重床2の床上から上部遮蔽体10の天板部20にわたって、冷却用空気で常に満たされることになる。
さらに、通路4の冷却用空気が、ラック3に給気されることなく、ダイレクトに空気調和装置6に吸引されてしまう場合がある。
しかし、本実施形態においては、通路4の端部を塞ぐようにして、端部遮蔽体40が配置され、通路空間Sの外部に空気調和装置6が設置されているので、通路4に向けて吹き出された冷却用空気が空気調和装置6の設置空間に流動することが規制される。
また、電算機室101においては、消火設備として、例えば窒素ガスといった不活性ガスを高圧で吹き出す不活性ガス供給装置(図示なし)が備えられている。この不活性ガス供給装置が作動した場合、通路空間Sの外部の圧力Poが上昇することになる。
ここで、本実施形態においては、上部遮蔽体10の天板部20に設けられた第1ガス導入部11が、ロールスクリーン22の収容部24から巻き出されたシート部23によって閉止されている。そして、シート部23の先端辺に設けられたエンドレール25を掛止する掛止フック27の揺動動作が、通路空間Sの外部の圧力Poを検知する圧力センサ29A及び通路空間Sの内部の圧力Piを検知する圧力センサ29Bが接続された制御部28によって制御される構成とされているので、通路空間Sの外部の圧力Poが通路空間の内部の圧力Piよりも所定値Ps以上高くなった場合に、掛止フック27が揺動してエンドロール25の掛止が解除され、第1ガス導入部11が開放され、不活性ガスが通路空間S内に導入されることになる。
また、本実施形態においては、上部遮蔽体10の側壁部30に設けられた第2ガス導入部12が、複数の帯状の羽根板33と、この羽根板33を揺動自在に支持する支持部34と、複数の支持部34を固定する固定部35と、を備えたブラインド部32で閉止されており、これら複数の羽根板33の揺動が、通路空間Sの外部の圧力Poを検知する圧力センサ39A及び通路空間Sの内部の圧力Piを検知する圧力センサ39Bが接続された制御部38によって制御される構成とされているので、通路空間Sの外部の圧力Poが通路空間の内部の圧力Piよりも所定値Ps以上高くなった場合に、羽根板33が揺動して第2ガス導入部12が開放され、不活性ガスが通路空間S内に導入されることになる。
さらに、本実施形態においては、端部遮蔽体40に設けられた第3ガス導入部13が、複数の帯状の羽根板44と、この羽根板44を揺動自在に支持する支持部45と、を備えたブラインド部43によって閉止されており、これらの羽根板44が通路空間Sの内部と外部の圧力差によって揺動するように構成されているので、不活性ガスの吹き出しによって通路空間Sの外部の圧力が通路空間S内部の圧力よりもある程度高くなった時点で、羽根板44が通路空間Sの内側に向けて揺動して第3ガス導入部13が開放され、不活性ガスが通路空間S内に導入されることになる。
また、空気調和装置6等が故障し、通路空間Sへの冷却用空気の吹き出しが停止した場合には、通路空間S内部が負圧となって、通路空間Sを形成している上部遮蔽板10、端部遮蔽体40、ラック3等のうち強度の低い部分が破損してしまうおそれがある。
このような場合であっても、本実施形態によれば、端部遮蔽体40に設けられた第3ガス導入部13が、通路空間Sの内部と外部の圧力差によって揺動する羽根板44を備えたブラインド部43によって構成されているので、羽根板44が通路空間S内部に向けて揺動して第3ガス導入部13が開放され、通路空間Sの外部の空気が通路空間S内に導入され、負圧状態を解消することができる。
以上より、本実施形態における電算機室用空調システム100によれば、ラック3に収容された機器を冷却することにより暖められた空気がラック3間の通路4に混入することが防止されるので、冷却効率の向上を図ることができる。
さらに、上部遮蔽体10及び端部遮蔽体40に、開閉自在な第1、第2、第3ガス導入部11、12,13が設けられており、これら第1、第2、第3ガス導入部11、12,13が、通路空間Sの外部の圧力Po及び通路空間Sの内部の圧力Piに応じて開放される構成とされているので、必要に応じて通路空間Sの外部からガスを通路空間S内に導入することが可能となる。
特に、本実施形態では、側壁部30に第2ガス導入部12が設けられているので、電算機室101の天井部分に不活性ガス供給装置が設けられていた場合に、効率的に不活性ガスを通路空間S内に導入することができる。
(実施形態2)
次に、本発明の第2の実施形態について説明する。
図9は、本発明の第2の実施形態を示したものである。
図9において、図1から図8に記載の構成要素と同一部分については同一符号を付し、その説明を省略する。
この実施形態と上記第1の実施形態とは基本的構成は同一であり、ここでは主として異なる点について説明する。
本実施形態における上部遮蔽体の側壁部230に設けられた第2ガス導入部212は、ロールスクリーン232によって閉止される構成とされている。
ここで、ロールスクリーン232は、矩形状のシート部233と、このシート部233を収容する収容部234と、シート部233の先端辺の全長にわたって設けられた棒状のエンドレール235とを備えている。
このロールスクリーン232は、ラック3ごとに分割して設けられており、シート部233には、幅方向に隣り合う他のシート部233との隙間を覆う矩形状の遮蔽シート236が取り付けられるようになっている。さらに、遮蔽シート236の短手方向の両端には、面ファスナー部が設けられており、この面ファスナー部により、シート部233に着脱可能に取り付けられるようになっている。
このような構成のロールスクリーン232は、側壁部230の枠体の一辺に収容部234が固定され、ラック3の上面に設置された掛止フック(図示なし)にエンドレール235が掛止されることによって、側壁部230の開口部、つまり、第2ガス導入部212を閉止する構成とされている。
掛止フックは、揺動可能とされており、掛止されたエンドレール235を解放することができるように構成とされている。この掛止フックの揺動動作は、通路空間Sの外部の圧力Poを検知する圧力センサ及び通路空間Sの内部の圧力Piを検知する圧力センサが接続された制御部によって制御されている。制御部は、図4に示すように、通路空間Sの外部の圧力Poが通路空間の内部の圧力Piよりも所定値Ps以上高くなった場合に、掛止フックを揺動させてエンドレール235の掛止を解除し、第2ガス導入部212を開放するように構成されている。
以上より、本実施形態における電算機室用空調システム200によれば、前述の第1の実施形態と同様の効果を奏することができる。
また、図9に示すように、高さ寸法の異なるラック3が隣接するように設置されても、ラック3の上方空間と通路4の空間とが隙間なく仕切ることができる。したがって、上部遮蔽体10を簡易に設置することができる。
(実施形態3)
次に、本発明の第3の実施形態について説明する。
図10は、本発明の第3の実施形態を示したものである。
図10において、図1から図8に記載の構成要素と同一部分については同一符号を付し、その説明を省略する。
この実施形態と上記第1の実施形態とは基本的構成は同一であり、ここでは主として異なる点について説明する。
本実施形態における上部遮蔽体310は、側壁部を有しておらず、ラック3の上部に天板部320が渡された構成とされている。この天板部320には、第1の実施形態と同様にロールスクリーンによって閉止された第1ガス導入部が設けられている。
また、端部遮蔽体340には、扉347が設けられており、通路空間S内への出入りが可能な構成とされている。
以上より、本実施形態における電算機室用空調システム300によれば、上記第1実施形態と同様の効果を奏することができる。
また、側壁部を有していないため、上部遮蔽体310が簡易な構成となり、上部遮蔽体310を容易に設置することができる。
以上、本発明の一実施形態である電算機室用空調システムについて説明したが、本発明の技術的範囲はこれに限定されることはなく、本発明の技術的思想を逸脱しない範囲で適宜変更可能である。
例えば、上部遮蔽体の天板部に第1ガス導入部を設け、側壁部に第2ガス導入部を設け、端部遮蔽体に第3ガス導入部を設けたものとして説明したが、これに限定されることはなく、上部遮蔽体及び端部遮蔽体の一部にガス導入部が設けられていればよい。
また、端部遮蔽体の下部に第3ガス導入部を設けたものとして説明したが、これに限定されることはなく、例えば図11に示すように、ロールスクリーンによって端部遮蔽体440を構成してもよいし、図12に示すように、ブラインド部によって端部遮蔽体540を構成してもよい。
さらに、ブラインド部として羽根板を通路空間Sの内部と外部の圧力差によって揺動させるものとして説明したが、これに限定されることはなく、羽根板の揺動を駆動機構によって直接制御してもよい。また、ブラインド部732として、図13に示すように、羽根板733の長さ方向中央部に揺動支持部734を設けた構成のものを採用してもよい。
さらに、制御部が通路空間の外部の圧力及び内部の圧力を検知してガス導入部を開放する構成として説明したが、これに限定されることはなく、例えば通路空間の内部の温度や温度上昇率、又は、空気調和装置の故障信号等を感知してガス導入部の必要箇所を開放する構成としてもよい。
本発明に係る電算機室用空調システムの第1の実施形態を示す全体構成図である。 図1に示す電算機室用空調システムに備えられた上部遮蔽体を示す斜視図である。 図2に示す上部遮蔽体に備えられたロールスクリーンの構成を示す説明図である。 図3に示すロールスクリーンの制御フロー図である。 図2に示す上部遮蔽体に備えられたブラインド部の構成を示す説明図である。 図5に示すブラインド部の制御フロー図である。 図1に示す電算機室用空調システムに備えられた端部遮蔽体を示す斜視図である。 図7に示す端部遮蔽体に備えられたブラインド部の構成を示す説明図である。 本発明に係る電算機室用空調システムの第1の実施形態における側壁部の構成を示す斜視図である。 本発明に係る電算機室用空調システムの第3の実施形態を示す全体構成図である。 本発明に係る電算機室用空調システムの端部遮蔽体の他の構成を示す斜視図である。 本発明に係る電算機室用空調システムの端部遮蔽体の他の構成を示す斜視図である。 本発明に係る電算機室用空調システムに適用されるブラインド部の他の構成を示す説明図である。
符号の説明
100、200、300 電算機室用空調システム
101 電算機室
10、310 上部遮蔽体
11 第1ガス導入部(ガス導入部)
12 第2ガス導入部(ガス導入部)
13 第3ガス導入部(ガス導入部)
20,320 天板部
22、232,322 ロールスクリーン
28、38 制御部
29、39 圧力センサ
30、230 側壁部
32、43、732 ブラインド部
33、44、733 羽根板
40、440、540 端部遮蔽体

Claims (9)

  1. 電算機室内において床下に内部空間を有する通路を挟んで両側に設置され、前面から給気して上面又は背面から熱を帯びた空気を吹き出す機器収容用ラックと、空気調和装置とを備え、前記空気調和装置から吹き出された冷却用空気が、前記内部空間を流動して、前記通路に設けられた孔からさらに前記通路の床上に流動し、この冷却用空気が前記ラックに収容された機器を冷却した後、前記ラックの上方の空間を流動して前記空気調和装置に再び吸引される電算機室用空調システムであって、
    前記通路を挟んで両側のラックの上面間に配置された上部遮蔽体と、前記通路の端部に設けられた端部遮蔽体と、を有し、これら上部遮蔽体及び端部遮蔽体によって通路空間が画成されており、
    これら上部遮蔽体及び端部遮蔽体の少なくとも一部には、開閉自在なガス導入部が設けられており、このガス導入部から前記通路空間内に外部ガスを導入する構成とされていることを特徴とする電算機室用空調システム。
  2. 前記上部遮蔽体が、前記ラックの上面から上方に向けて延設された側壁部と、この側壁部の上部に渡された天板部と、を備えていることを特徴とする請求項1に記載の電算機室内空調システム。
  3. 前記ガス導入部が、前記側壁部の一部に設けられていることを特徴とする請求項2に記載の電算機室用空調システム。
  4. 前記ガス導入部が、前記端部遮蔽体の一部に設けられていることを特徴とする請求項1から請求項3のいずれか一項に記載の電算機室用空調システム。
  5. 前記外部ガスの吹き出し圧力及び前記通路空間内部の圧力を感知して前記ガス導入部を開放する制御部を備えていることを特徴とする請求項1から請求項4のいずれか一項に記載の電算機室用空調システム。
  6. 前記ガス導入部には、複数の帯状の羽根板がそれぞれ揺動自在に並列されており、前記ガス導入部は、複数の前記羽根板によって開閉される構成とされていることを特徴とする請求項1から請求項5のいずれか一項に記載の電算機室用空調システム。
  7. 前記羽根板は、前記通路空間の内側に向けて揺動した際に前記ガス導入部を開放し、前記通路空間の外側に向けて揺動した際に前記ガス導入部を閉止する構成とされていることを特徴とする請求項6に記載の電算機室用空調システム。
  8. 前記羽根板は、前記外部ガスの吹き出し圧力によって揺動する構成とされていることを特徴とする請求項6又は請求項7に記載の電算機室用空調システム。
  9. 前記ガス導入部は、収容部と、この収容部の内部に巻回されて前記収容部から出没可能に配置されたシート部と、を有するロールスクリーンによって開閉される構成とされていることを特徴とする請求項1から請求項5のいずれか一項に記載の電算機室用空調システム。
JP2008188930A 2008-07-22 2008-07-22 電算機室用空調システム Expired - Fee Related JP5346514B2 (ja)

Priority Applications (1)

Application Number Priority Date Filing Date Title
JP2008188930A JP5346514B2 (ja) 2008-07-22 2008-07-22 電算機室用空調システム

Applications Claiming Priority (1)

Application Number Priority Date Filing Date Title
JP2008188930A JP5346514B2 (ja) 2008-07-22 2008-07-22 電算機室用空調システム

Publications (2)

Publication Number Publication Date
JP2010026872A true JP2010026872A (ja) 2010-02-04
JP5346514B2 JP5346514B2 (ja) 2013-11-20

Family

ID=41732635

Family Applications (1)

Application Number Title Priority Date Filing Date
JP2008188930A Expired - Fee Related JP5346514B2 (ja) 2008-07-22 2008-07-22 電算機室用空調システム

Country Status (1)

Country Link
JP (1) JP5346514B2 (ja)

Cited By (7)

* Cited by examiner, † Cited by third party
Publication number Priority date Publication date Assignee Title
JP2010107188A (ja) * 2008-10-02 2010-05-13 Yahoo Japan Corp 空調システム
JP2012067928A (ja) * 2010-09-21 2012-04-05 Toshiba It Service Kk パネル装置及びパネル装置の使用方法
JP2014013099A (ja) * 2012-07-04 2014-01-23 Fujitsu Ltd 局所空調システム、その制御装置
JP2014092802A (ja) * 2012-10-31 2014-05-19 Ntt Facilities Inc 電算機室空調システム
JP2014157494A (ja) * 2013-02-15 2014-08-28 Panasonic Corp サーバー冷却システム
JP5796876B1 (ja) * 2014-12-09 2015-10-21 ソフトバンク株式会社 係合用治具、係合構造及びサーバールームの天井構造
JP2018109939A (ja) * 2017-01-03 2018-07-12 廣達電腦股▲ふん▼有限公司 計算システム

Families Citing this family (1)

* Cited by examiner, † Cited by third party
Publication number Priority date Publication date Assignee Title
WO2025235270A1 (en) * 2024-05-08 2025-11-13 Massachusetts Institute Of Technology Capillary-film-evaporative-cooling heat exchanger and its associated thermodynamic processes

Citations (8)

* Cited by examiner, † Cited by third party
Publication number Priority date Publication date Assignee Title
JPS5768100A (en) * 1980-10-15 1982-04-26 Nippon Telegraph & Telephone Electronic device cooling system
JPH0328642A (ja) * 1989-06-26 1991-02-06 Daikin Plant Kk 気密室の内圧調整装置
JPH06174281A (ja) * 1992-12-03 1994-06-24 Nippon Steel Corp クリーンルームの圧力破壊防止装置
JP2004184070A (ja) * 2002-11-21 2004-07-02 Ntt Power & Building Facilities Inc 機器収容用ラック、電算機室用空気調和装置および電算機室用空調システム
JP2006064303A (ja) * 2004-08-27 2006-03-09 Ntt Power & Building Facilities Inc 電算機室用空調及びシステム排気誘導装置
JP2007316989A (ja) * 2006-05-26 2007-12-06 Softbank Idc Corp 機器収容ラックおよび機器収容室用空調システム
JP2008502082A (ja) * 2004-06-07 2008-01-24 アメリカン パワー コンバージョン コーポレイション データセンタの冷却
JP2009036490A (ja) * 2007-08-03 2009-02-19 Kajima Corp 空調システム

Patent Citations (8)

* Cited by examiner, † Cited by third party
Publication number Priority date Publication date Assignee Title
JPS5768100A (en) * 1980-10-15 1982-04-26 Nippon Telegraph & Telephone Electronic device cooling system
JPH0328642A (ja) * 1989-06-26 1991-02-06 Daikin Plant Kk 気密室の内圧調整装置
JPH06174281A (ja) * 1992-12-03 1994-06-24 Nippon Steel Corp クリーンルームの圧力破壊防止装置
JP2004184070A (ja) * 2002-11-21 2004-07-02 Ntt Power & Building Facilities Inc 機器収容用ラック、電算機室用空気調和装置および電算機室用空調システム
JP2008502082A (ja) * 2004-06-07 2008-01-24 アメリカン パワー コンバージョン コーポレイション データセンタの冷却
JP2006064303A (ja) * 2004-08-27 2006-03-09 Ntt Power & Building Facilities Inc 電算機室用空調及びシステム排気誘導装置
JP2007316989A (ja) * 2006-05-26 2007-12-06 Softbank Idc Corp 機器収容ラックおよび機器収容室用空調システム
JP2009036490A (ja) * 2007-08-03 2009-02-19 Kajima Corp 空調システム

Cited By (7)

* Cited by examiner, † Cited by third party
Publication number Priority date Publication date Assignee Title
JP2010107188A (ja) * 2008-10-02 2010-05-13 Yahoo Japan Corp 空調システム
JP2012067928A (ja) * 2010-09-21 2012-04-05 Toshiba It Service Kk パネル装置及びパネル装置の使用方法
JP2014013099A (ja) * 2012-07-04 2014-01-23 Fujitsu Ltd 局所空調システム、その制御装置
JP2014092802A (ja) * 2012-10-31 2014-05-19 Ntt Facilities Inc 電算機室空調システム
JP2014157494A (ja) * 2013-02-15 2014-08-28 Panasonic Corp サーバー冷却システム
JP5796876B1 (ja) * 2014-12-09 2015-10-21 ソフトバンク株式会社 係合用治具、係合構造及びサーバールームの天井構造
JP2018109939A (ja) * 2017-01-03 2018-07-12 廣達電腦股▲ふん▼有限公司 計算システム

Also Published As

Publication number Publication date
JP5346514B2 (ja) 2013-11-20

Similar Documents

Publication Publication Date Title
JP5346514B2 (ja) 電算機室用空調システム
JP3835615B2 (ja) 電算機室用空調システム
JP4873997B2 (ja) 機器収容ラックおよび機器収容室用空調システム
EP1983814B1 (en) Storage box for electronic apparatus
JP2009079890A (ja) 空調システム
JP4808178B2 (ja) 電子機器収納箱
JP5182698B2 (ja) ラックキャビネット及びラックキャビネットに搭載された電子機器の冷却方法
JP2017215055A (ja) サーバーシステムの空気調和装置
JP5264587B2 (ja) ロールスクリーンを用いた電算機室用空調システム
JP4808179B2 (ja) 電子機器収納箱
JP5518423B2 (ja) 電算機室用空調システム
CN104602767A (zh) 支架列通路遮挡结构
JP4957348B2 (ja) 電子機器収納箱
JP4510503B2 (ja) 機器収容用ラックおよび電算機室用空調システム
JP6081730B2 (ja) 情報処理機器室の空調システム
JP2008269111A (ja) 電子機器収納箱
JP2014092802A (ja) 電算機室空調システム
JP6081731B2 (ja) 情報処理機器室の空調システム
JP2019190702A (ja) エアーカーテン装置
KR101129751B1 (ko) 환기시스템
JP2014052820A (ja) 電算機室空調システム
JP2014052819A (ja) 電算機室空調システム
JP2014052129A (ja) 温調システム
KR20240084866A (ko) 전자장비 냉각 시스템
JPH0938224A (ja) 防火防煙設備

Legal Events

Date Code Title Description
A621 Written request for application examination

Free format text: JAPANESE INTERMEDIATE CODE: A621

Effective date: 20110601

A977 Report on retrieval

Free format text: JAPANESE INTERMEDIATE CODE: A971007

Effective date: 20121116

A131 Notification of reasons for refusal

Free format text: JAPANESE INTERMEDIATE CODE: A131

Effective date: 20121127

A521 Written amendment

Free format text: JAPANESE INTERMEDIATE CODE: A523

Effective date: 20130124

RD02 Notification of acceptance of power of attorney

Free format text: JAPANESE INTERMEDIATE CODE: A7422

Effective date: 20130612

TRDD Decision of grant or rejection written
A01 Written decision to grant a patent or to grant a registration (utility model)

Free format text: JAPANESE INTERMEDIATE CODE: A01

Effective date: 20130723

A61 First payment of annual fees (during grant procedure)

Free format text: JAPANESE INTERMEDIATE CODE: A61

Effective date: 20130819

R150 Certificate of patent or registration of utility model

Ref document number: 5346514

Country of ref document: JP

Free format text: JAPANESE INTERMEDIATE CODE: R150

Free format text: JAPANESE INTERMEDIATE CODE: R150

R250 Receipt of annual fees

Free format text: JAPANESE INTERMEDIATE CODE: R250

R250 Receipt of annual fees

Free format text: JAPANESE INTERMEDIATE CODE: R250

R250 Receipt of annual fees

Free format text: JAPANESE INTERMEDIATE CODE: R250

LAPS Cancellation because of no payment of annual fees