JP2010025216A - 駆動輪支持装置 - Google Patents

駆動輪支持装置 Download PDF

Info

Publication number
JP2010025216A
JP2010025216A JP2008186758A JP2008186758A JP2010025216A JP 2010025216 A JP2010025216 A JP 2010025216A JP 2008186758 A JP2008186758 A JP 2008186758A JP 2008186758 A JP2008186758 A JP 2008186758A JP 2010025216 A JP2010025216 A JP 2010025216A
Authority
JP
Japan
Prior art keywords
annular
ring
seal ring
drive wheel
support device
Prior art date
Legal status (The legal status is an assumption and is not a legal conclusion. Google has not performed a legal analysis and makes no representation as to the accuracy of the status listed.)
Granted
Application number
JP2008186758A
Other languages
English (en)
Other versions
JP5252489B2 (ja
Inventor
Kazunari Yamamoto
一成 山本
Nobukatsu Uchiyama
暢克 内山
Current Assignee (The listed assignees may be inaccurate. Google has not performed a legal analysis and makes no representation or warranty as to the accuracy of the list.)
NTN Corp
Original Assignee
NTN Corp
NTN Toyo Bearing Co Ltd
Priority date (The priority date is an assumption and is not a legal conclusion. Google has not performed a legal analysis and makes no representation as to the accuracy of the date listed.)
Filing date
Publication date
Application filed by NTN Corp, NTN Toyo Bearing Co Ltd filed Critical NTN Corp
Priority to JP2008186758A priority Critical patent/JP5252489B2/ja
Publication of JP2010025216A publication Critical patent/JP2010025216A/ja
Application granted granted Critical
Publication of JP5252489B2 publication Critical patent/JP5252489B2/ja
Active legal-status Critical Current
Anticipated expiration legal-status Critical

Links

Images

Classifications

    • FMECHANICAL ENGINEERING; LIGHTING; HEATING; WEAPONS; BLASTING
    • F16ENGINEERING ELEMENTS AND UNITS; GENERAL MEASURES FOR PRODUCING AND MAINTAINING EFFECTIVE FUNCTIONING OF MACHINES OR INSTALLATIONS; THERMAL INSULATION IN GENERAL
    • F16CSHAFTS; FLEXIBLE SHAFTS; ELEMENTS OR CRANKSHAFT MECHANISMS; ROTARY BODIES OTHER THAN GEARING ELEMENTS; BEARINGS
    • F16C33/00Parts of bearings; Special methods for making bearings or parts thereof
    • F16C33/30Parts of ball or roller bearings
    • F16C33/58Raceways; Race rings
    • F16C33/60Raceways; Race rings divided or split, e.g. comprising two juxtaposed rings
    • FMECHANICAL ENGINEERING; LIGHTING; HEATING; WEAPONS; BLASTING
    • F16ENGINEERING ELEMENTS AND UNITS; GENERAL MEASURES FOR PRODUCING AND MAINTAINING EFFECTIVE FUNCTIONING OF MACHINES OR INSTALLATIONS; THERMAL INSULATION IN GENERAL
    • F16CSHAFTS; FLEXIBLE SHAFTS; ELEMENTS OR CRANKSHAFT MECHANISMS; ROTARY BODIES OTHER THAN GEARING ELEMENTS; BEARINGS
    • F16C19/00Bearings with rolling contact, for exclusively rotary movement
    • F16C19/22Bearings with rolling contact, for exclusively rotary movement with bearing rollers essentially of the same size in one or more circular rows, e.g. needle bearings
    • F16C19/34Bearings with rolling contact, for exclusively rotary movement with bearing rollers essentially of the same size in one or more circular rows, e.g. needle bearings for both radial and axial load
    • F16C19/38Bearings with rolling contact, for exclusively rotary movement with bearing rollers essentially of the same size in one or more circular rows, e.g. needle bearings for both radial and axial load with two or more rows of rollers
    • F16C19/383Bearings with rolling contact, for exclusively rotary movement with bearing rollers essentially of the same size in one or more circular rows, e.g. needle bearings for both radial and axial load with two or more rows of rollers with tapered rollers, i.e. rollers having essentially the shape of a truncated cone
    • F16C19/385Bearings with rolling contact, for exclusively rotary movement with bearing rollers essentially of the same size in one or more circular rows, e.g. needle bearings for both radial and axial load with two or more rows of rollers with tapered rollers, i.e. rollers having essentially the shape of a truncated cone with two rows, i.e. double-row tapered roller bearings
    • F16C19/386Bearings with rolling contact, for exclusively rotary movement with bearing rollers essentially of the same size in one or more circular rows, e.g. needle bearings for both radial and axial load with two or more rows of rollers with tapered rollers, i.e. rollers having essentially the shape of a truncated cone with two rows, i.e. double-row tapered roller bearings in O-arrangement
    • FMECHANICAL ENGINEERING; LIGHTING; HEATING; WEAPONS; BLASTING
    • F16ENGINEERING ELEMENTS AND UNITS; GENERAL MEASURES FOR PRODUCING AND MAINTAINING EFFECTIVE FUNCTIONING OF MACHINES OR INSTALLATIONS; THERMAL INSULATION IN GENERAL
    • F16CSHAFTS; FLEXIBLE SHAFTS; ELEMENTS OR CRANKSHAFT MECHANISMS; ROTARY BODIES OTHER THAN GEARING ELEMENTS; BEARINGS
    • F16C33/00Parts of bearings; Special methods for making bearings or parts thereof
    • F16C33/72Sealings
    • F16C33/76Sealings of ball or roller bearings
    • F16C33/768Sealings of ball or roller bearings between relatively stationary parts, i.e. static seals
    • FMECHANICAL ENGINEERING; LIGHTING; HEATING; WEAPONS; BLASTING
    • F16ENGINEERING ELEMENTS AND UNITS; GENERAL MEASURES FOR PRODUCING AND MAINTAINING EFFECTIVE FUNCTIONING OF MACHINES OR INSTALLATIONS; THERMAL INSULATION IN GENERAL
    • F16CSHAFTS; FLEXIBLE SHAFTS; ELEMENTS OR CRANKSHAFT MECHANISMS; ROTARY BODIES OTHER THAN GEARING ELEMENTS; BEARINGS
    • F16C2326/00Articles relating to transporting
    • F16C2326/01Parts of vehicles in general
    • F16C2326/02Wheel hubs or castors

Landscapes

  • Engineering & Computer Science (AREA)
  • General Engineering & Computer Science (AREA)
  • Mechanical Engineering (AREA)
  • Sealing Of Bearings (AREA)
  • Rolling Contact Bearings (AREA)

Abstract

【課題】泥水の浸入とデフオイルの漏れを防止することができ、かつ、軸受内部へのデフオイルの浸入を防止できる駆動輪支持装置を提供する。
【解決手段】一対の内輪10、11に環状凹部24が形成され、これに第1のシールリング25が装着されると共に、インナー側の内輪11の端部内周に環状段部26が形成され、これに第2のシールリング27が装着された駆動輪支持装置において、第1のシールリング25が、断面が略L字状に形成され、円筒部28aおよび径方向外方に延びる鍔部28bを有する芯金28と、この芯金28に接合された弾性部材29とで構成されると共に、弾性部材29の内周に、一対の内輪10、11の突き合わせ部の両側に跨架して当接される2条の環状凸条29a、29bがそれぞれ形成され、一方の環状凸条29aの幅寸法aが他方の環状凸条29bの幅寸法bよりも大きく設定されている。
【選択図】図3

Description

本発明は、トラック等の車両の駆動輪を複列の転がり軸受で回転自在に支承する駆動輪支持装置に関するものである。
トラック等のようにフレーム構造の車体を有する自動車では、駆動輪のアクスル構造として、従来フルフローティングタイプを採用するものが多い。また、最近の駆動輪の支持構造には、組立性の向上、軽量・コンパクト化等を狙って、複列の転がり軸受をユニット化した構造が多く採用されるようになっている。その従来構造の一例として、図13に示すような車輪用軸受装置が知られている。
この車輪用軸受装置は、車軸管51の中にデファレンシャル(図示せず)と連結された駆動軸52が挿通され、車軸管51の外径面に複列の円錐ころ軸受53が装着されている。この複列の円錐ころ軸受53により回転自在に支承されたハブ輪54が、ハブボルト55を介して駆動軸52のフランジ56に連結されている。複列の円錐ころ軸受53の内輪57は、左右一対のものが連結環58で結合され、車軸管51の端部に外嵌されると共に、固定ナット59で締付固定されている。複列の円錐ころ軸受53の外輪60は、ハブ輪54に内嵌され、その両端をフランジ56とブレーキロータ61により挟持された状態で軸方向に固定されている。これら内外輪57、60間の環状空間には、複列の円錐ころ62が保持器63により回転自在に収容され、両端部にはシール64、64’が装着されて軸受内部が密封されている。
図14に示すように、内輪57の内方端部には環状段部65が形成され、第2の密封リングとしてのOリングからなるシールリング66が装着されている。そして、車軸管51の外径段差部の肩67の角半径に当接されて、内輪57と車軸管51の間の僅かな隙間が遮断されている。これにより、この僅かな隙間から泥水の浸入やデフオイルの外部への漏れを防止している。また、図15に示すように、一対の内輪57、57の突合せ部外周面には環状凹部68が形成され、この環状凹部68に第1の密封リングとしてのシールリング69が装着されている。このシールリング69は、芯金69aと弾性部材69bとで形成され、弾性部材69bの内周には、突き合わせ部の両側に跨架して当接される2条の環状凸条70が形成されている。これにより、軸受内部へのデフオイルの浸入を防止している。
特開2001−99172号公報
然しながら、このような従来の車輪用軸受装置において、第2の密封リングとしてシールリング66は、内輪57の環状段部65に装着されているものの位置決めが完全ではなく、軸受搬送時に脱落する恐れがあった。一方、第1の密封リングとしてのシールリング69は、一対の内輪57、57の突合せ部外周面に形成された環状凹部68に装着されているが、シールリング69を一方の内輪57に圧入した後、他方の内輪57がこのシールリング69の内径に圧入されるため、シールリング69と他方の内輪57との軸芯が一致していない場合、内輪57の端面でシールリング69を押すことになり、シールリング69の位置がずれる恐れがある。特に、このシールリング69は、組立後に正規の位置に装着されているかどうかの確認が困難なため、信頼性の面で課題があった。
本発明は、このような従来の問題に鑑みてなされたもので、泥水の浸入とデフオイルの漏れを防止することができ、かつ、軸受内部へのデフオイルの浸入を防止できる駆動輪支持装置を提供することを目的とする。
係る目的を達成すべく、本発明のうち請求項1に記載の発明は、車輪を取り付けるための車輪取付フランジを一体に有するハブ輪と、駆動軸に外嵌された車軸管と、この車軸管の外径段差部に嵌挿され、前記ハブ輪を回転自在に支持する複列の転がり軸受からなる車輪用軸受とを備えると共に、この車輪用軸受が、内周に複列の外側転走面が一体に形成された外輪と、外周に前記複列の外側転走面に対向する内側転走面が形成された一対の内輪と、これら内輪と前記外輪の各転走面間に保持器を介して転動自在に収容された複列の転動体と、前記外輪と内輪との間に形成される環状空間の開口部に装着されたシールとを備え、前記一対の内輪の突合せ部外周面に環状凹部が形成され、この環状凹部に第1のシールリングが装着されると共に、前記一対の内輪のうちインナー側の内輪の端部内周に環状段部が形成され、この環状段部に第2のシールリングが装着された駆動輪支持装置において、前記第1のシールリングが、鋼鈑からプレス加工にて断面が略L字状に形成され、円筒部およびこの円筒部から径方向外方に延びる鍔部を有する芯金と、この芯金に加硫接着により一体に接合された合成ゴムからなる弾性部材とで構成されている。
このように、一対の内輪の突合せ部外周面に環状凹部が形成され、この環状凹部に第1のシールリングが装着されると共に、一対の内輪のうちインナー側の内輪の端部内周に環状段部が形成され、この環状段部に第2のシールリングが装着された駆動輪支持装置において、第1のシールリングが、鋼鈑からプレス加工にて断面が略L字状に形成され、円筒部およびこの円筒部から径方向外方に延びる鍔部を有する芯金と、この芯金に加硫接着により一体に接合された合成ゴムからなる弾性部材とで構成されているので、芯金の剛性を高めて圧入時の変形を抑制し、位置決め精度を確保することによって信頼性を向上させ、軸受内部へのデフオイルの浸入を確実に防止することができる。
好ましくは、請求項2に記載の発明は、前記弾性部材の内周に、前記一対の内輪の突き合わせ部の両側に跨架して当接される環状凸条がそれぞれ形成されていれば、第1のシールリングの気密性を高めることができる。
また、請求項3に記載の発明のように、前記環状凸条の間に嵌合力の差が生じる手段が施されていれば、予め第1のシールリングを一方の内輪の環状凹部に圧入した後、第1のシールリングの内径に他方の内輪を圧入する時、この嵌合力の差によって第1のシールリングが位置ずれを起すことはなく、位置決め精度を確保することができる。
また、請求項4に記載の発明のように、前記環状凸条のうち一方の環状凸条の幅寸法が他方の環状凸条の幅寸法よりも大きく設定されていても良い。
また、請求項5に記載の発明のように、前記環状凸条のうち一方の環状凸条の突出量が他方の環状凸条の突出量よりも大きく設定されていても良い。
また、請求項6に記載の発明のように、前記一対の内輪のうち一方の内輪における環状凹部の外径が他方の内輪における環状凹部の外径よりも大径に設定されていても良い。
また、請求項7に記載の発明のように、前記芯金が、前記内輪の環状凹部に圧入される第1の円筒部と、この第1の円筒部から僅かに大径に形成された第2の円筒部とを備えていれば、芯金の剛性を確保して圧入時の変形を抑制すると共に、予め第1のシールリングを一方の内輪の環状凹部に圧入した後、第1のシールリングの内径に他方の内輪を圧入する時、この嵌合力の差によって第1のシールリングが位置ずれを起すことはない。
また、請求項8に記載の発明のように、前記環状凸条に、さらにこれら環状凸条よりも小さな環状凸条がそれぞれ形成されていれば、第1のシールリングの密封性が向上し、一対の内輪の突合せ部から軸受内部へデフオイルが浸入するのを確実に防止することができる。
また、請求項9に記載の発明のように、前記第1のシールリングにおける弾性部材の内径側の厚さが、前記環状凹部の段差よりも小さく設定されていれば、第1のシールリングの内径に他方の内輪を圧入する時、第1のシールリングとこの内輪との間に芯違いがあって内輪の端面によって第1のシールリングを押すようなことがあっても、芯金が内輪の環状凹部に確実に衝合するため大きな位置ずれを起すことなく精度良く位置決め固定することができる。
また、請求項10に記載の発明のように、前記芯金が、前記円筒部から径方向内方に延びる鍔部を備え、この鍔部の内径が、前記環状凹部が形成された当該内輪の小径側の外径よりも小径に設定されていれば、芯金の剛性がさらに高くなり、圧入時の変形を抑制できると共に、第1のシールリングの内径に他方の内輪を圧入する時、第1のシールリングとこの内輪との間に芯違いがあって内輪の端面によって第1のシールリングを押すようなことがあっても、芯金の鍔部が内輪の環状凹部に確実に衝合するため大きな位置ずれを起すことなく精度良く位置決め固定することができる。
また、請求項11に記載の発明のように、前記第2のシールリングが、鋼鈑からプレス加工にて形成された芯金と、この芯金に加硫接着により一体に接合された合成ゴムからなる弾性部材とで形成され、この弾性部材が、前記車軸管の肩部に当接するリップと、外径部に径方向に突出した環状の突起と、端部に軸方向に突出した環状の突起がそれぞれ形成され、これらの突起が前記環状段部に弾性変形した状態で装着されていれば、正確に位置決め固定ができると共に、軸受搬送時や組立時等に、第2のシールリングがぐらつかず、信頼性を向上させることができる。
また、請求項12に記載の発明のように、前記内輪の環状段部が、第1の環状段部と、この第1の環状段部よりも小径の第2の環状段部で構成されると共に、前記第2のシールリングが、鋼鈑からプレス加工にて外径円筒部と、この外径円筒部から径方向内方に延びる鍔部と、この鍔部から軸受内方側に延びる内径円筒部とを有する断面略クランク形状に形成された芯金と、この芯金に加硫接着により一体に接合された合成ゴムからなり、前記車軸管の肩部に当接するリップを有する弾性部材とで構成され、前記第2の環状段部に当該第2のシールリングの内径円筒部が装着されていれば、気密性が向上すると共に、軸受搬送時や組立時等に、第2のシールリングがぐらつかず、信頼性を向上させることができる。
本発明に係る駆動輪支持装置は、車輪を取り付けるための車輪取付フランジを一体に有するハブ輪と、駆動軸に外嵌された車軸管と、この車軸管の外径段差部に嵌挿され、前記ハブ輪を回転自在に支持する複列の転がり軸受からなる車輪用軸受とを備えると共に、この車輪用軸受が、内周に複列の外側転走面が一体に形成された外輪と、外周に前記複列の外側転走面に対向する内側転走面が形成された一対の内輪と、これら内輪と前記外輪の各転走面間に保持器を介して転動自在に収容された複列の転動体と、前記外輪と内輪との間に形成される環状空間の開口部に装着されたシールとを備え、前記一対の内輪の突合せ部外周面に環状凹部が形成され、この環状凹部に第1のシールリングが装着されると共に、前記一対の内輪のうちインナー側の内輪の端部内周に環状段部が形成され、この環状段部に第2のシールリングが装着された駆動輪支持装置において、前記第1のシールリングが、鋼鈑からプレス加工にて断面が略L字状に形成され、円筒部およびこの円筒部から径方向外方に延びる鍔部を有する芯金と、この芯金に加硫接着により一体に接合された合成ゴムからなる弾性部材とで形成されているので、芯金の剛性を高めて圧入時の変形を抑制し、位置決め精度を確保することによって信頼性を向上させ、軸受内部へのデフオイルの浸入を確実に防止することができる。
車輪を取り付けるための車輪取付フランジを一体に有するハブ輪と、駆動軸に外嵌された車軸管と、この車軸管の外径段差部に嵌挿され、前記ハブ輪を回転自在に支持する複列の転がり軸受からなる車輪用軸受とを備えると共に、この車輪用軸受が、内周に複列の外側転走面が一体に形成された外輪と、外周に前記複列の外側転走面に対向する内側転走面が形成された一対の内輪と、これら内輪と前記外輪の各転走面間に保持器を介して転動自在に収容された複列の転動体と、前記外輪と内輪との間に形成される環状空間の開口部に装着されたシールとを備え、前記一対の内輪の突合せ部外周面に環状凹部が形成され、この環状凹部に第1のシールリングが装着されると共に、前記一対の内輪のうちインナー側の内輪の端部内周に環状段部が形成され、この環状段部に第2のシールリングが装着された駆動輪支持装置において、前記第1のシールリングが、鋼鈑からプレス加工にて断面が略L字状に形成され、円筒部およびこの円筒部から径方向外方に延びる鍔部を有する芯金と、この芯金に加硫接着により一体に接合された合成ゴムからなる弾性部材とで構成されると共に、前記弾性部材の内周に、前記一対の内輪の突き合わせ部の両側に跨架して当接される2条の環状凸条がそれぞれ形成され、これら環状凸条のうち一方の環状凸条の幅寸法が他方の環状凸条の幅寸法よりも大きく設定されている。
以下、本発明の実施の形態を図面に基いて詳細に説明する。
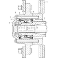
図1は、本発明に係る駆動輪支持装置の一実施形態を示す縦断面図、図2は、その車輪用軸受を示す縦断面図、図3は、図2のA部を示す要部拡大図、図4は、図3の第1のシールリングの変形例を示す要部拡大図、図5は、図3の他の変形例を示す要部拡大図、図6は、同上、他の変形例を示す要部拡大図、図7は、図3に示す第1のシールリングの他の変形例を示す要部拡大図、図8は、図7に示す第1のシールリングの他の変形例を示す要部拡大図、図9は、図2のB部を示す要部拡大図、図10は、図9の第2のシールリングの変形例を示す要部拡大図、図11および図12は、図9の第2のシールリングの他の変形例を示す要部拡大図である。なお、以下の説明では、車両に組み付けた状態で車両の外側寄りとなる側をアウター側(図1の左側)、中央寄り側をインナー側(図1の右側)という。
この駆動輪支持装置は、車軸管1の中にデファレンシャル(図示せず)と連結された駆動軸2が挿通され、車軸管1の外径面に複列の円錐ころ軸受3が装着されている。この複列の円錐ころ軸受3により回転自在に支承されたハブ輪4が、ハブボルト5を介して駆動軸2のフランジ6に連結されている。複列の円錐ころ軸受3はハブ輪4に内嵌されると共に、車軸管1のアウター側の端部に外嵌され、その両端をフランジ6とブレーキロータ7により挟持された状態で固定ナット8によって締付固定されている。
複列の円錐ころ軸受3は、図2に示すように、内周にそれぞれ外向きに開いたテーパ状の複列の外側転走面9a、9aが一体に形成された外輪9と、外周にこれら複列の外側転走面9a、9aに対向するテーパ状の内側転走面10aが形成された一対の内輪10、11と、両転走面間に保持器12を介して転動自在に収容された複列の円錐ころ13、13とを備えている。内輪10、11の内側転走面10aの大径側には円錐ころ13を案内するための大鍔部10bが形成されると共に、小径側には円錐ころ13の脱落を防止するための小鍔部10cが形成されている。そして、一対の内輪10、11の小径側端面が突き合された状態でセットされ、所謂背面合せタイプの複列の円錐ころ軸受を構成している。一対の内輪10、11は基本的に同一仕様であるが、内輪10、11の大径側の構成が異なる。
外輪9と一対の内輪10、11との間に形成される環状空間の開口部にはシール14、15が装着され、シール14はデフオイルが軸受内部に侵入するのを防止し、シール15は、軸受内部に封入された潤滑グリースの外部への漏洩と、外部から雨水やダスト等が軸受内部に侵入するのを防止している。
アウター側のシール14は、外輪9の端部内周に圧入された芯金16と、この芯金16に加硫接着によって一体に接合されたシール部材17とからなる一体型シールで構成されている。シール部材17はACM(ポリアクリルゴム)やNBR(アクリロニトリル−ブタジエンゴム)等の合成ゴムからなり、内輪10の外径に摺接する二股状のラジアルリップ17a、17bを有している。芯金16は、オーステナイト系ステンレス鋼鈑(JIS規格のSUS304系等)、あるいは、防錆処理された冷間圧延鋼鈑(JIS規格のSPCC系等)からプレス加工にて断面が略L字状に形成されている。
インナー側のシール15は、断面が略L字状に形成されて互いに対向配置された環状のシール板18とスリンガ19とからなる、所謂パックシールを構成している。シール板18は、外輪9の端部内周に圧入される芯金20と、この芯金20に一体に加硫接着されたシール部材21とからなる。芯金20は、オーステナイト系ステンレス鋼鈑(JIS規格のSUS304系等)、あるいは、防錆処理された冷間圧延鋼鈑(JIS規格のSPCC系等)からプレス加工にて断面が略L字状に形成されている。
シール部材21はNBR等の合成ゴムからなり、径方向外方に傾斜して形成された一対のサイドリップ21a、21bと、このサイドリップ21bの内径側に軸受内方側に傾斜して形成されたグリースリップ21cとを有している。
スリンガ19は、オーステナイト系ステンレス鋼鈑(JIS規格のSUS304系等)、あるいは、防錆処理された冷間圧延鋼鈑(JIS規格のSPCC系等)からプレス加工にて断面が略L字状に形成され、内輪11の外径に圧入される円筒部19aと、この円筒部19aから径方向外方に延びる立板部19bとからなる。そして、シール部材21の一対のサイドリップ21a、21bが立板部19bに摺接されると共に、グリースリップ21cが円筒部19aに摺接されている。
外輪9と内輪10、11および円錐ころ13はSUJ2等の高炭素クロム鋼で形成され、ズブ焼入れによって芯部まで58〜64HRCの範囲に硬化処理されている。一対の内輪10、11の小径側端部には環状溝22、22が形成され、この環状溝22に連結環23が装着されている。この連結環23は、工具鋼やばね鋼等の鋼板をプレス加工により断面略コの字状に、全体として有端のリング状に形成され、表面に調質あるいは焼入れにより40〜55HRCの範囲に硬化処理が施されている。なお、ここでは、転動体として円錐ころを使用した複列円錐ころ軸受を例示したが、これに限らず転動体にボールを使用した複列アンギュラ玉軸受であっても良い。
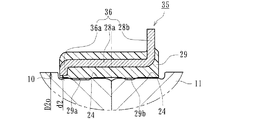
ここで、本実施形態では、一対の内輪10、11の突合せ部外周面に環状凹部24が形成され、この環状凹部24に第1のシールリング25が装着されている。また、インナー側の内輪11の大径側端部には環状段部26が形成され、第2のシールリング27が装着されている。
第1のシールリング25は、図3に拡大して示すように、芯金28と弾性部材29とで形成され、弾性部材29の内周には、突き合わせ部の両側に跨架して当接される2条の環状凸条29a、29bがそれぞれ形成されている。芯金28は、オーステナイト系ステンレス鋼鈑(JIS規格のSUS304系等)、あるいは、防錆処理された冷間圧延鋼鈑(JIS規格のSPCC系等)からプレス加工にて断面が略L字状に形成され、円筒部28aと、この円筒部28aから径方向外方に延びる鍔部28bとからなる。これにより、芯金28の剛性を確保して圧入時の変形を抑制すると共に、真円度等の所望の精度を確保することができる。なお、本実施例では、内径突起として2条の環状凸条を設けた例を示したが、2条の環状凸条に限られることはなく、複数の内径突起を設けても良い。
弾性部材29は、NBR等の合成ゴムからなり、加硫接着によって芯金28に一体に接合されている。環状凸条29a、29bのうちアウター側の環状凸条29aの幅寸法aは、インナー側の環状凸条29bの幅寸法bよりも大きく設定されている(a>b)。これにより、環状凸条29a、29bとの間に嵌合力の差が生じ位置決め精度を確保することができる。すなわち、予め第1のシールリング25をアウター側の内輪10の環状凹部24に圧入した後、第1のシールリング25の内径にインナー側の内輪11を圧入する時、嵌合力に差があるため、この圧入によって第1のシールリング25が位置ずれを起すことはない。つまり、嵌合力に差があることにより、組み付け時に内輪10の段付き部に、シールリング25の左端面が接触しない(図3)。シールリング25を内輪10に圧入する時に段付き部にシールリング25を突き当てて位置決めをするのではなく、内輪10の小径側端面とシールリング25右端面を位置決め治具で位置決めするため、シールリング25の損傷・変形を防止することができる。
また、第1のシールリング25における弾性部材29の内径側の厚さcが、一対の内輪10、11の環状凹部24の段差dよりも小さく設定されている(c<d)。これにより、第1のシールリング25の内径にインナー側の内輪11を圧入する時、第1のシールリング25と内輪11との間に芯違いがあって内輪11の端面によって第1のシールリング25を押すようなことがあっても、弾性部材29よりも剛性の高い芯金28部分が内輪10の環状凹部24に衝合するため大きな位置ずれを起すことはない。このような構成を採用することにより、一対の内輪10、11の突合せ部から軸受内部へデフオイルが浸入するのを確実に防止することができる。なお、弾性部材29の材質としては、NBR以外にも、例えば、耐熱性に優れたHNBR(水素化アクリロニトリル−ブタジエンゴム)、EPDM(エチレン・プロピレンゴム)等をはじめ、ACM、FKM(フッ素ゴム)、あるいはシリコンゴム等を例示することができる。特に、この種のデフオイルに触れる用途に対しては耐熱性、耐薬品性に優れたACM、FKM、EPM、シリコンゴムが好ましい。
図4に示す第1のシールリング30は、図3の変形例を示す。この第1のシールリング30は、前述した第1のシールリング25と基本的には弾性部材の環状凸条の構成が異なるのみで、前述した実施形態と同一部品同一部位あるいは同一機能を有する部品や部位には同じ符号を付してその詳細な説明を省略する。
この第1のシールリング30は、芯金28と弾性部材31とで形成され、弾性部材31の内周には、突き合わせ部の両側に跨架して当接される2条の環状凸条31a、31bがそれぞれ形成されている。弾性部材31は、ACM等の合成ゴムからなり、加硫接着によって芯金28に一体に接合されている。環状凸条31a、31bのうちアウター側の環状凸条31aの突出量eは、インナー側の環状凸条31bの突出量fよりも大きく設定されている(e>f)。これにより、環状凸条31a、31bとの間にさらに嵌合力の差が生じ位置決め精度を一層確保することができる。
図5に示す実施形態は、図3の他の変形例で、基本的には内輪の環状凹部の構成が異なるのみで、前述した実施形態と同一部品同一部位あるいは同一機能を有する部品や部位には同じ符号を付してその詳細な説明を省略する。
本実施形態では、一対の内輪10、11’の突合せ部外周面に環状凹部24、24’がそれぞれ形成され、この環状凹部24、24’に第1のシールリング25が装着されている。そして、環状凸条29a、29bの突出量は同じであるが、アウター側の内輪10における環状凹部24の外径D1oが、インナー側の内輪11’における環状凹部24’の外径D1iよりも径差g(半径)だけ大径に設定されている(D1o>D1i)。これにより、環状凸条29a、29bとの間にさらに嵌合力の差が生じ位置決め精度を一層確保することができる。
図6に示す実施形態は他の変形例である。一対の内輪10’、11の突合せ部外周面に環状凹部24a、24がそれぞれ形成され、この環状凹部24a、24に第1のシールリング32が装着されている。
第1のシールリング32は、芯金33と弾性部材34とで形成され、弾性部材34の内周には、突き合わせ部の両側に跨架して当接される2条の環状凸条34a、34bがそれぞれ形成されている。芯金33は、オーステナイト系ステンレス鋼鈑(JIS規格のSUS304系等)、あるいは、防錆処理された冷間圧延鋼鈑(JIS規格のSPCC系等)からプレス加工にて断面が略L字状に形成され、内輪10’の環状凹部24aに圧入される第1の円筒部33aと、この第1の円筒部33aから僅かに大径に形成された第2の円筒部33bと、この第2の円筒部33bから径方向外方に延びる鍔部28bとからなる。これにより、芯金33の剛性を確保して圧入時の変形を抑制すると共に、真円度等の所望の精度を確保することができる。
一方、弾性部材34は、ACM等の合成ゴムからなり、加硫接着によって芯金33の第2の円筒部33bから鍔部28bに亙って一体に接合されている。環状凸条34a、34b幅寸法と突出量は同じに設定されている。本実施形態では、アウター側の内輪10’の環状凹部24aに芯金33が金属嵌合されているため、予め第1のシールリング32をアウター側の内輪10’の環状凹部24aに圧入した後、第1のシールリング32の内径にインナー側の内輪11を圧入する時の嵌合力に差が生じるため、この圧入によって第1のシールリング32が位置ずれを起すのを防止することができる。
図7に示す第1のシールリング35は、図3の他の変形例を示す。この第1のシールリング35は、前述した第1のシールリング25と基本的には芯金の構成が異なるのみで、前述した実施形態と同一部品同一部位あるいは同一機能を有する部品や部位には同じ符号を付してその詳細な説明を省略する。
この第1のシールリング35は、芯金36と弾性部材29とで形成され、弾性部材29の内周には、突き合わせ部の両側に跨架して当接される2条の環状凸条29a、29bがそれぞれ形成されている。芯金36は、オーステナイト系ステンレス鋼鈑(JIS規格のSUS304系等)、あるいは、防錆処理された冷間圧延鋼鈑(JIS規格のSPCC系等)からプレス加工にて断面が略L字状に形成され、円筒部28aと、この円筒部28aから径方向外方に延びる鍔部28bと、円筒部28aから径方向内方に延びる鍔部36aからなる。そして、鍔部36aの内径d2が、内輪10の小端部側の外径D2oよりも小径に設定されている(d2<D2o)。
これにより、芯金36の剛性がさらに高くなり、圧入時の変形を抑制できることは無論のこと、第1のシールリング35の内径にインナー側の内輪11を圧入する時、第1のシールリング35と内輪11との間に芯違いがあって内輪11の端面によって第1のシールリング35を押すようなことがあっても、芯金36の鍔部36aが内輪10の環状凹部24に確実に衝合するため大きな位置ずれを起すことなく精度良く位置決め固定することができると共に、環状凹部24の段差を最小限に抑えることができる。なお、第1のシールリング35の内径にインナー側の内輪11を圧入する時、予め第1のシールリング35の内周にグリース、好ましくは軸受内部に充填されるグリースと同一のグリースを塗布することにより、挿入性を向上させることができると共に、圧入による位置ずれを防止することができる。
図8に示す第1のシールリング37は、図7の変形例を示す。この第1のシールリング37は、前述した第1のシールリング35と基本的には弾性部材の構成が異なるのみで、前述した実施形態と同一部品同一部位あるいは同一機能を有する部品や部位には同じ符号を付してその詳細な説明を省略する。
この第1のシールリング37の弾性部材38は芯金36に加硫接着により一体に接合され、弾性部材38の内周には、突き合わせ部の両側に跨架して当接される2条の環状凸条29a、29bと、これら環状凸条29a、29bにさらに環状凸条38a、38bがそれぞれ形成されている。これにより、第1のシールリング37の密封性が向上し、一対の内輪10、11の突合せ部から軸受内部へデフオイルが浸入するのを確実に防止することができる。
すなわち、この種の第1のシールリング37は、トラック等の軸重の大きい車両の車輪用軸受に使用されるため、通常の乗用車系のシールリングに比べて外径が大きい(φ70以上)。したがって、芯金36の形状を工夫して高剛性を図っても、圧入後の真円度等の精度を確保することは難しく、第1のシールリング37自体が楕円形状になる恐れがある。この場合、弾性部材38の環状凸条29a、29bで適正なシメシロを確保できなくなることが想定される。ここで、環状凸条29a、29bのシメシロを大きく設定することも考えられるが、これでは、シメシロが過多になる部分が発生し、圧入工程の作業性が悪くなるだけでなく、環状凸条29a、29bが損傷する恐れがある。本実施形態のように、環状凸条29a、29bにさらに小さな環状凸条38a、38bが形成されていることにより、こうした不具合を回避することができると共に、圧入後の第1のシールリング37の真円度が悪い場合であってもこれら小さな環状凸条38a、38bによって適正なシメシロを確保することができるため、所望の密封性を確保することができる。
次に、インナー側の内輪11の大径側端部に形成された環状段部26に装着された第2のシールリング27について説明する。この第2のシールリング27は、図9に拡大して示すように、芯金39と弾性部材40とで形成され、弾性部材40は車軸管1の肩部1aに当接されて、内輪11と車軸管1の間の僅かな隙間を遮断している。
芯金39は、オーステナイト系ステンレス鋼鈑(JIS規格のSUS304系等)、あるいは、防錆処理された冷間圧延鋼鈑(JIS規格のSPCC系等)からプレス加工にて断面が略L字状に形成されている。一方、弾性部材40はACM等の合成ゴムからなり、加硫接着によって芯金39の外径部分を覆うように一体に接合され、円弧状に形成された肩部1aに所定のシメシロを介して当接するリップ40aを有している。この弾性部材40の外径d3は、環状段部26の内径D3iよりも僅かに小径に設定され(d3<D3i)、端部に環状の突起40bが形成されている。そして、この突起40bを弾性変形させた状態で環状段部26に装着されている。これにより、第2のシールリング27を環状段部26に圧入する際、弾性部材40が損傷するのを防止し、安定した気密性を確保することができる。
図10に示す第2のシールリング41は、図9の変形例で、基本的には弾性部材の一部の形状が異なるのみで、その他同一部品同一部位あるいは同一機能を有する部品や部位には同じ符号を付してその詳細な説明を省略する。
この第2のシールリング41は、芯金39と弾性部材42とで形成され、弾性部材42は、車軸管1の肩部1aに当接するリップ40aと外径部に突起40bを一体に有している。さらに弾性部材42の端部に環状の突起42aが軸方向に突出して形成され、環状段部26の壁面に弾性変形した状態で装着されている。外径部の突起40bは、圧入時に損傷するのを防止するために、その突出量h1が0.5mm以下に設定されている。また、端部の突起42aの突出量h2は、環状段部26のヌスミ部26aの幅L1から外径部の突起40bの幅L2の差よりも大きくなるように設定されている(h2≧L1−L2)。これにより、正確に位置決め固定ができると共に、軸受搬送時や組立時等に、第2のシールリング41がぐらつかず、信頼性を向上させることができる。
図11に示す第2のシールリング43は、図9の他の変形例で、芯金44と弾性部材45とで形成されている。芯金44は、オーステナイト系ステンレス鋼鈑(JIS規格のSUS304系等)、あるいは、防錆処理された冷間圧延鋼鈑(JIS規格のSPCC系等)からプレス加工にて断面が略L字状に形成され、環状段部26に圧入される円筒部44aと、この円筒部44aから径方向内方に延びる内径部44bとを有している。
弾性部材45は、車軸管1の肩部1aに当接されるリップ45aを一体に有すると共に、芯金44の円筒部44aの端部は縮径され、弾性部材45の一部が回り込むように加硫接着され、嵌合部45bが形成されている。この嵌合部45bと芯金44の円筒部44aによって、第2のシールリング43は、環状段部26に対して正確に位置決め固定ができ、気密性が向上すると共に、軸受搬送時や組立時等に、第2のシールリング43がぐらつかず、信頼性を向上させることができる。
図12に示す第2のシールリング46は、図9の他の変形例で、芯金47と弾性部材48とで形成されている。内輪11”の大径側端部には第1の環状段部49と、この第1の環状段部49よりも小径の第2の環状段部50が形成され、この第2の環状段部50に第2のシールリング46が装着されている。なお、図12において第2のシールリング46の芯金は複数回折り曲げられた形状となっている。
第2のシールリング46の芯金47は、オーステナイト系ステンレス鋼鈑(JIS規格のSUS304系等)、あるいは、防錆処理された冷間圧延鋼鈑(JIS規格のSPCC系等)からプレス加工にて断面が略クランク形状に形成され、外径円筒部47aと、この外径円筒部47aから径方向内方に延びる鍔部47bと、この鍔部47bから軸受内方側に延びる内径円筒部47cを有している。
一方、弾性部材48はACM等の合成ゴムからなり、加硫接着によって芯金47の全面を覆うように一体に接合され、円弧状に形成された肩部1aに所定のシメシロを介して当接するリップ48aと、第2の環状段部50に圧入される嵌合部48bを一体に有している。こうした構成を採用することにより、一層気密性が向上すると共に、軸受搬送時や組立時等に、第2のシールリング46がぐらつかず、信頼性を向上させることができる。
以上、本発明の実施の形態について説明を行ったが、本発明はこうした実施の形態に何等限定されるものではなく、あくまで例示であって、本発明の要旨を逸脱しない範囲内において、さらに種々なる形態で実施し得ることは勿論のことであり、本発明の範囲は、特許請求の範囲の記載によって示され、さらに特許請求の範囲に記載の均等の意味、および範囲内のすべての変更を含む。
本発明に係る車輪用軸受装置は、駆動軸と車軸管の開口部に車輪用軸受が装着されたフルフローティングタイプの駆動輪側の車輪用軸受装置に適用できる。
本発明に係る駆動輪支持装置の一実施形態を示す縦断面図である。 図1の車輪用軸受を示す縦断面図である。 図2のA部を示す要部拡大図である。 図3に示す第1のシールリングの変形例を示す要部拡大図である。 同上、図3の他の変形例を示す要部拡大図である。 同上、他の変形例を示す要部拡大図である。 図3に示す第1のシールリングの他の変形例を示す要部拡大図である。 図7に示す第1のシールリングの他の変形例を示す要部拡大図である。 図2のB部を示す要部拡大図である。 図9の第2のシールリングの変形例を示す要部拡大図である。 図9の第2のシールリングの他の変形例を示す要部拡大図である。 同上、図9の第2のシールリングの他の変形例を示す要部拡大図である。 従来の駆動輪支持装置を示す縦断面図である。 図13の第2の密封リングを示す要部拡大図である。 同上、図13の第1の密封リングを示す要部拡大図である。
符号の説明
1・・・・・・・・・・・・・・・・・・・・・・・・・・・・・車軸管
1a・・・・・・・・・・・・・・・・・・・・・・・・・・・・肩部
2・・・・・・・・・・・・・・・・・・・・・・・・・・・・・駆動軸
3・・・・・・・・・・・・・・・・・・・・・・・・・・・・・複列の円錐ころ軸受
4・・・・・・・・・・・・・・・・・・・・・・・・・・・・・ハブ輪
5・・・・・・・・・・・・・・・・・・・・・・・・・・・・・ハブボルト
6・・・・・・・・・・・・・・・・・・・・・・・・・・・・・フランジ
7・・・・・・・・・・・・・・・・・・・・・・・・・・・・・ブレーキロータ
8・・・・・・・・・・・・・・・・・・・・・・・・・・・・・固定ナット
9・・・・・・・・・・・・・・・・・・・・・・・・・・・・・外輪
9a・・・・・・・・・・・・・・・・・・・・・・・・・・・・外側転走面
10、10’・・・・・・・・・・・・・・・・・・・・・・・・アウター側の内輪
11、11’、11”・・・・・・・・・・・・・・・・・・・・インナー側の内輪
10a・・・・・・・・・・・・・・・・・・・・・・・・・・・内側転走面
10b・・・・・・・・・・・・・・・・・・・・・・・・・・・大鍔部
10c・・・・・・・・・・・・・・・・・・・・・・・・・・・小鍔部
12・・・・・・・・・・・・・・・・・・・・・・・・・・・・保持器
13・・・・・・・・・・・・・・・・・・・・・・・・・・・・円錐ころ
14・・・・・・・・・・・・・・・・・・・・・・・・・・・・アウター側のシール
15・・・・・・・・・・・・・・・・・・・・・・・・・・・・インナー側のシール
16、20、28、33、36、39、44、47・・・・・・・芯金
17、21・・・・・・・・・・・・・・・・・・・・・・・・・シール部材
18・・・・・・・・・・・・・・・・・・・・・・・・・・・・シール板
19・・・・・・・・・・・・・・・・・・・・・・・・・・・・スリンガ
19a、28a、44a・・・・・・・・・・・・・・・・・・・円筒部
19b・・・・・・・・・・・・・・・・・・・・・・・・・・・立板部
21a、21b・・・・・・・・・・・・・・・・・・・・・・・サイドリップ
21c・・・・・・・・・・・・・・・・・・・・・・・・・・・グリースリップ
22・・・・・・・・・・・・・・・・・・・・・・・・・・・・環状溝
23・・・・・・・・・・・・・・・・・・・・・・・・・・・・連結環
24、24’、24a・・・・・・・・・・・・・・・・・・・・環状凹部
25、30、32、35、37・・・・・・・・・・・・・・・・第1のシールリング
26・・・・・・・・・・・・・・・・・・・・・・・・・・・・環状段部
26a・・・・・・・・・・・・・・・・・・・・・・・・・・・ヌスミ部
27、41、43、46・・・・・・・・・・・・・・・・・・・第2のシールリング
28b、36a、47b・・・・・・・・・・・・・・・・・・・鍔部
29、31、34、38、40、42、45、48・・・・・・・弾性部材
29a、29b、31a、31b、34a、34b、38a、38b・・環状凸条
33a・・・・・・・・・・・・・・・・・・・・・・・・・・・第1の円筒部
33b・・・・・・・・・・・・・・・・・・・・・・・・・・・第2の円筒部
40a、45a、48a・・・・・・・・・・・・・・・・・・・リップ
40b、42a・・・・・・・・・・・・・・・・・・・・・・・突起
44b・・・・・・・・・・・・・・・・・・・・・・・・・・・内径部
45b、48b・・・・・・・・・・・・・・・・・・・・・・・嵌合部
47a・・・・・・・・・・・・・・・・・・・・・・・・・・・外径円筒部
47c・・・・・・・・・・・・・・・・・・・・・・・・・・・内径円筒部
49・・・・・・・・・・・・・・・・・・・・・・・・・・・・第1の環状段部
50・・・・・・・・・・・・・・・・・・・・・・・・・・・・第2の環状段部
51・・・・・・・・・・・・・・・・・・・・・・・・・・・・車軸管
52・・・・・・・・・・・・・・・・・・・・・・・・・・・・駆動軸
53・・・・・・・・・・・・・・・・・・・・・・・・・・・・複列の円錐ころ軸受
54・・・・・・・・・・・・・・・・・・・・・・・・・・・・ハブ輪
55・・・・・・・・・・・・・・・・・・・・・・・・・・・・ハブボルト
56・・・・・・・・・・・・・・・・・・・・・・・・・・・・フランジ
57・・・・・・・・・・・・・・・・・・・・・・・・・・・・内輪
58・・・・・・・・・・・・・・・・・・・・・・・・・・・・連結環
59・・・・・・・・・・・・・・・・・・・・・・・・・・・・固定ナット
60・・・・・・・・・・・・・・・・・・・・・・・・・・・・外輪
61・・・・・・・・・・・・・・・・・・・・・・・・・・・・ブレーキロータ
62・・・・・・・・・・・・・・・・・・・・・・・・・・・・円錐ころ
63・・・・・・・・・・・・・・・・・・・・・・・・・・・・保持器
64、64’・・・・・・・・・・・・・・・・・・・・・・・・シール
65・・・・・・・・・・・・・・・・・・・・・・・・・・・・環状段部
66、69・・・・・・・・・・・・・・・・・・・・・・・・・シールリング
67・・・・・・・・・・・・・・・・・・・・・・・・・・・・肩
68・・・・・・・・・・・・・・・・・・・・・・・・・・・・環状凹部
69a・・・・・・・・・・・・・・・・・・・・・・・・・・・芯金
69b・・・・・・・・・・・・・・・・・・・・・・・・・・・弾性部材
70・・・・・・・・・・・・・・・・・・・・・・・・・・・・環状凸条
a、b・・・・・・・・・・・・・・・・・・・・・・・・・・・環状凸条の幅寸法
c・・・・・・・・・・・・・・・・・・・・・・・・・・・・・弾性部材の厚さ
d・・・・・・・・・・・・・・・・・・・・・・・・・・・・・環状凹部の段差
e、f・・・・・・・・・・・・・・・・・・・・・・・・・・・環状凸条の突出量
g・・・・・・・・・・・・・・・・・・・・・・・・・・・・・環状凹部の外径の径差
d2・・・・・・・・・・・・・・・・・・・・・・・・・・・・芯金の鍔部の内径
d3・・・・・・・・・・・・・・・・・・・・・・・・・・・・弾性部材の外径
D1i、D1o・・・・・・・・・・・・・・・・・・・・・・・環状凹部の外径
D2o・・・・・・・・・・・・・・・・・・・・・・・・・・・内輪の小端部側の外径
D3i・・・・・・・・・・・・・・・・・・・・・・・・・・・環状段部の内径
h1、h2・・・・・・・・・・・・・・・・・・・・・・・・・突起の突出量
L1・・・・・・・・・・・・・・・・・・・・・・・・・・・・ヌスミ部の幅
L2・・・・・・・・・・・・・・・・・・・・・・・・・・・・突起の幅

Claims (12)

  1. 車輪を取り付けるための車輪取付フランジを一体に有するハブ輪と、駆動軸に外嵌された車軸管と、
    この車軸管の外径段差部に嵌挿され、前記ハブ輪を回転自在に支持する複列の転がり軸受からなる車輪用軸受とを備えると共に、
    この車輪用軸受が、内周に複列の外側転走面が一体に形成された外輪と、
    外周に前記複列の外側転走面に対向する内側転走面が形成された一対の内輪と、
    これら内輪と前記外輪の各転走面間に保持器を介して転動自在に収容された複列の転動体と、
    前記外輪と内輪との間に形成される環状空間の開口部に装着されたシールとを備え、
    前記一対の内輪の突合せ部外周面に環状凹部が形成され、この環状凹部に第1のシールリングが装着されると共に、
    前記一対の内輪のうちインナー側の内輪の端部内周に環状段部が形成され、この環状段部に第2のシールリングが装着された駆動輪支持装置において、
    前記第1のシールリングが、鋼鈑からプレス加工にて断面が略L字状に形成され、円筒部およびこの円筒部から径方向外方に延びる鍔部を有する芯金と、この芯金に加硫接着により一体に接合された合成ゴムからなる弾性部材とで構成されていることを特徴とする駆動輪支持装置。
  2. 前記弾性部材の内周に、前記一対の内輪の突き合わせ部の両側に跨架して当接される環状凸条がそれぞれ形成されている請求項1に記載の駆動輪支持装置。
  3. 前記環状凸条の間に嵌合力の差が生じる手段が施されている請求項1または2に記載の駆動輪支持装置。
  4. 前記環状凸条のうち一方の環状凸条の幅寸法が他方の環状凸条の幅寸法よりも大きく設定されている請求項3に記載の駆動輪支持装置。
  5. 前記環状凸条のうち一方の環状凸条の突出量が他方の環状凸条の突出量よりも大きく設定されている請求項3に記載の駆動輪支持装置。
  6. 前記一対の内輪のうち一方の内輪における環状凹部の外径が他方の内輪における環状凹部の外径よりも大径に設定されている請求項3に記載の駆動輪支持装置。
  7. 前記芯金が、前記内輪の環状凹部に圧入される第1の円筒部と、この第1の円筒部から僅かに大径に形成された第2の円筒部とを備えている請求項3に記載の駆動輪支持装置。
  8. 前記環状凸条に、さらにこれら環状凸条よりも小さな環状凸条がそれぞれ形成されている請求項1乃至7いずれかに記載の駆動輪支持装置。
  9. 前記第1のシールリングにおける弾性部材の内径側の厚さが、前記環状凹部の段差よりも小さく設定されている請求項1乃至6および8いずれかに記載の駆動輪支持装置。
  10. 前記芯金が、前記円筒部から径方向内方に延びる鍔部を備え、この鍔部の内径が、前記環状凹部が形成された当該内輪の小径側の外径よりも小径に設定されている請求項1乃至6および8いずれかに記載の駆動輪支持装置。
  11. 前記第2のシールリングが、鋼鈑からプレス加工にて形成された芯金と、この芯金に加硫接着により一体に接合された合成ゴムからなる弾性部材とで形成され、この弾性部材が、前記車軸管の肩部に当接するリップと、外径部に径方向に突出した環状の突起と、端部に軸方向に突出した環状の突起がそれぞれ形成され、これらの突起が前記環状段部に弾性変形した状態で装着されている請求項1乃至10いずれかに記載の駆動輪支持装置。
  12. 前記内輪の環状段部が、第1の環状段部と、この第1の環状段部よりも小径の第2の環状段部で構成されると共に、前記第2のシールリングが、鋼鈑からプレス加工にて外径円筒部と、この外径円筒部から径方向内方に延びる鍔部と、この鍔部から軸受内方側に延びる内径円筒部とを有する断面略クランク形状に形成された芯金と、この芯金に加硫接着により一体に接合された合成ゴムからなり、前記車軸管の肩部に当接するリップを有する弾性部材とで構成され、前記第2の環状段部に当該第2のシールリングの内径円筒部が装着されている請求項1乃至10いずれかに記載の駆動輪支持装置。
JP2008186758A 2008-07-18 2008-07-18 駆動輪支持装置 Active JP5252489B2 (ja)

Priority Applications (1)

Application Number Priority Date Filing Date Title
JP2008186758A JP5252489B2 (ja) 2008-07-18 2008-07-18 駆動輪支持装置

Applications Claiming Priority (1)

Application Number Priority Date Filing Date Title
JP2008186758A JP5252489B2 (ja) 2008-07-18 2008-07-18 駆動輪支持装置

Publications (2)

Publication Number Publication Date
JP2010025216A true JP2010025216A (ja) 2010-02-04
JP5252489B2 JP5252489B2 (ja) 2013-07-31

Family

ID=41731246

Family Applications (1)

Application Number Title Priority Date Filing Date
JP2008186758A Active JP5252489B2 (ja) 2008-07-18 2008-07-18 駆動輪支持装置

Country Status (1)

Country Link
JP (1) JP5252489B2 (ja)

Cited By (10)

* Cited by examiner, † Cited by third party
Publication number Priority date Publication date Assignee Title
JP2011251649A (ja) * 2010-06-03 2011-12-15 Ntn Corp 車輪用軸受装置
JP2014178006A (ja) * 2013-03-15 2014-09-25 Ntn Corp 密封装置付き軸受装置
JP2015016778A (ja) * 2013-07-11 2015-01-29 Ntn株式会社 車輪用軸受装置
WO2015092099A1 (es) * 2013-12-19 2015-06-25 Fersa Innova, S.L.U. Junta de estanqueidad
JP2015212567A (ja) * 2014-05-07 2015-11-26 日本精工株式会社 転がり軸受
JP2017020610A (ja) * 2015-07-14 2017-01-26 株式会社ジェイテクト 車輪用軸受装置
DE102015220151A1 (de) * 2015-10-16 2017-04-20 Aktiebolaget Skf Lageranordnung und Dichtung
JP2018002148A (ja) * 2017-09-08 2018-01-11 Ntn株式会社 車輪用軸受装置
DE102016218134A1 (de) * 2016-09-21 2018-03-22 Schaeffler Technologies AG & Co. KG Lageranordnung mit einstellbarer Lagervorspannung
WO2021093914A1 (de) * 2019-11-11 2021-05-20 Schaeffler Technologies AG & Co. KG Radlagereinheit

Citations (4)

* Cited by examiner, † Cited by third party
Publication number Priority date Publication date Assignee Title
JP2000104747A (ja) * 1998-07-29 2000-04-11 Nsk Ltd 密封転がり軸受
JP2001099172A (ja) * 1999-09-27 2001-04-10 Ntn Corp 駆動輪支持装置
JP2007187218A (ja) * 2006-01-12 2007-07-26 Ntn Corp 車輪用軸受装置
JP2008075834A (ja) * 2006-09-25 2008-04-03 Jtekt Corp 転がり軸受装置

Patent Citations (4)

* Cited by examiner, † Cited by third party
Publication number Priority date Publication date Assignee Title
JP2000104747A (ja) * 1998-07-29 2000-04-11 Nsk Ltd 密封転がり軸受
JP2001099172A (ja) * 1999-09-27 2001-04-10 Ntn Corp 駆動輪支持装置
JP2007187218A (ja) * 2006-01-12 2007-07-26 Ntn Corp 車輪用軸受装置
JP2008075834A (ja) * 2006-09-25 2008-04-03 Jtekt Corp 転がり軸受装置

Cited By (13)

* Cited by examiner, † Cited by third party
Publication number Priority date Publication date Assignee Title
JP2011251649A (ja) * 2010-06-03 2011-12-15 Ntn Corp 車輪用軸受装置
JP2014178006A (ja) * 2013-03-15 2014-09-25 Ntn Corp 密封装置付き軸受装置
JP2015016778A (ja) * 2013-07-11 2015-01-29 Ntn株式会社 車輪用軸受装置
WO2015092099A1 (es) * 2013-12-19 2015-06-25 Fersa Innova, S.L.U. Junta de estanqueidad
JP2015212567A (ja) * 2014-05-07 2015-11-26 日本精工株式会社 転がり軸受
JP2017020610A (ja) * 2015-07-14 2017-01-26 株式会社ジェイテクト 車輪用軸受装置
DE102015220151A1 (de) * 2015-10-16 2017-04-20 Aktiebolaget Skf Lageranordnung und Dichtung
DE102016218134A1 (de) * 2016-09-21 2018-03-22 Schaeffler Technologies AG & Co. KG Lageranordnung mit einstellbarer Lagervorspannung
JP2018002148A (ja) * 2017-09-08 2018-01-11 Ntn株式会社 車輪用軸受装置
WO2021093914A1 (de) * 2019-11-11 2021-05-20 Schaeffler Technologies AG & Co. KG Radlagereinheit
CN114402144A (zh) * 2019-11-11 2022-04-26 舍弗勒技术股份两合公司 轮轴承单元
US11965554B2 (en) 2019-11-11 2024-04-23 Schaeffler Technologies AG & Co. KG Wheel bearing unit
CN114402144B (zh) * 2019-11-11 2025-02-14 舍弗勒技术股份两合公司 轮轴承单元

Also Published As

Publication number Publication date
JP5252489B2 (ja) 2013-07-31

Similar Documents

Publication Publication Date Title
JP5252489B2 (ja) 駆動輪支持装置
JP6275465B2 (ja) 密封装置およびこれを備えた車輪用軸受装置
JP5469497B2 (ja) 車輪用軸受装置
US8449197B2 (en) Bearing apparatus for a wheel of vehicle
JP5560090B2 (ja) 車輪用軸受装置
JP6730786B2 (ja) 車輪用軸受装置
JP2016186319A (ja) 密封装置およびこれを備えた車輪用軸受装置
JP2012056411A (ja) 車輪用軸受装置
CN101506536B (zh) 车轮用轴承装置
JP2011027130A (ja) 車輪用軸受装置
JP2011148409A (ja) 車輪用軸受装置
JP2011069458A (ja) 車輪用軸受装置
JP2016003709A (ja) 車輪用軸受装置
JP6235256B2 (ja) 車輪用軸受装置
CN101529106A (zh) 车轮用轴承装置
JP6534458B2 (ja) 密封装置およびこれを備えた車輪用軸受装置
JP2011251649A (ja) 車輪用軸受装置
JP2005226787A (ja) 軸受用密封装置
JP5414964B2 (ja) 車輪用軸受装置
JP2010001969A (ja) 車輪用軸受シールおよびこれを備えた車輪用軸受装置
JP6396681B2 (ja) 車輪用軸受装置
JP6629802B2 (ja) 車輪用軸受装置
JP6483460B2 (ja) 密封装置およびこれを備えた車輪用軸受装置
JP2013040664A (ja) 車輪用軸受装置
JP4854324B2 (ja) 車輪用軸受装置のシール圧入方法

Legal Events

Date Code Title Description
A621 Written request for application examination

Free format text: JAPANESE INTERMEDIATE CODE: A621

Effective date: 20110629

A131 Notification of reasons for refusal

Free format text: JAPANESE INTERMEDIATE CODE: A131

Effective date: 20120523

A977 Report on retrieval

Free format text: JAPANESE INTERMEDIATE CODE: A971007

Effective date: 20120524

A521 Request for written amendment filed

Free format text: JAPANESE INTERMEDIATE CODE: A523

Effective date: 20120717

A02 Decision of refusal

Free format text: JAPANESE INTERMEDIATE CODE: A02

Effective date: 20130111

A521 Request for written amendment filed

Free format text: JAPANESE INTERMEDIATE CODE: A523

Effective date: 20130313

A911 Transfer to examiner for re-examination before appeal (zenchi)

Free format text: JAPANESE INTERMEDIATE CODE: A911

Effective date: 20130321

TRDD Decision of grant or rejection written
A01 Written decision to grant a patent or to grant a registration (utility model)

Free format text: JAPANESE INTERMEDIATE CODE: A01

Effective date: 20130410

A61 First payment of annual fees (during grant procedure)

Free format text: JAPANESE INTERMEDIATE CODE: A61

Effective date: 20130410

R150 Certificate of patent or registration of utility model

Ref document number: 5252489

Country of ref document: JP

Free format text: JAPANESE INTERMEDIATE CODE: R150

Free format text: JAPANESE INTERMEDIATE CODE: R150

FPAY Renewal fee payment (event date is renewal date of database)

Free format text: PAYMENT UNTIL: 20160426

Year of fee payment: 3

R250 Receipt of annual fees

Free format text: JAPANESE INTERMEDIATE CODE: R250

R250 Receipt of annual fees

Free format text: JAPANESE INTERMEDIATE CODE: R250

R250 Receipt of annual fees

Free format text: JAPANESE INTERMEDIATE CODE: R250

R250 Receipt of annual fees

Free format text: JAPANESE INTERMEDIATE CODE: R250

R250 Receipt of annual fees

Free format text: JAPANESE INTERMEDIATE CODE: R250

R250 Receipt of annual fees

Free format text: JAPANESE INTERMEDIATE CODE: R250

R250 Receipt of annual fees

Free format text: JAPANESE INTERMEDIATE CODE: R250

R250 Receipt of annual fees

Free format text: JAPANESE INTERMEDIATE CODE: R250

R250 Receipt of annual fees

Free format text: JAPANESE INTERMEDIATE CODE: R250

R250 Receipt of annual fees

Free format text: JAPANESE INTERMEDIATE CODE: R250