JP2010024763A - 折り畳み式作業用ゴンドラ - Google Patents

折り畳み式作業用ゴンドラ Download PDF

Info

Publication number
JP2010024763A
JP2010024763A JP2008189609A JP2008189609A JP2010024763A JP 2010024763 A JP2010024763 A JP 2010024763A JP 2008189609 A JP2008189609 A JP 2008189609A JP 2008189609 A JP2008189609 A JP 2008189609A JP 2010024763 A JP2010024763 A JP 2010024763A
Authority
JP
Japan
Prior art keywords
work
folding
gondola
folded
work table
Prior art date
Legal status (The legal status is an assumption and is not a legal conclusion. Google has not performed a legal analysis and makes no representation as to the accuracy of the status listed.)
Granted
Application number
JP2008189609A
Other languages
English (en)
Other versions
JP5360645B2 (ja
Inventor
Hiroshi Fujita
宏 藤田
Current Assignee (The listed assignees may be inaccurate. Google has not performed a legal analysis and makes no representation or warranty as to the accuracy of the list.)
Nihon Bisoh Co Ltd
Original Assignee
Nihon Bisoh Co Ltd
Priority date (The priority date is an assumption and is not a legal conclusion. Google has not performed a legal analysis and makes no representation as to the accuracy of the date listed.)
Filing date
Publication date
Application filed by Nihon Bisoh Co Ltd filed Critical Nihon Bisoh Co Ltd
Priority to JP2008189609A priority Critical patent/JP5360645B2/ja
Publication of JP2010024763A publication Critical patent/JP2010024763A/ja
Application granted granted Critical
Publication of JP5360645B2 publication Critical patent/JP5360645B2/ja
Active legal-status Critical Current
Anticipated expiration legal-status Critical

Links

Images

Landscapes

  • Movable Scaffolding (AREA)

Abstract

【課題】1人の作業者で簡単に運搬することができるとともに、簡単に設置して立った状態で作業することができる折り畳み式作業用ゴンドラを提供する。
【解決手段】作業ケージ2を、作業者が搭乗する矩形の作業台21と、昇降用の巻上機3が搭載される矩形の上部手摺枠25と、上部リンク26aと下部リンク26bとが中間部で折り畳み可能とされる折り畳み支柱26と、2本の折り畳み支柱26同士の中間連結部を連結する中間手摺部材27と、作業台21の前後に配置されるガイド兼用中間手摺部材28とで構成し、作業台21の両側の2本の折り畳み支柱26を中間手摺部材27で連結した状態で前後のガイド兼用中間手摺部材28を内側に折り畳み、作業台21上に上部手摺枠25を重ねる。これにより、一人で立った状態で作業できる小型の作業用ゴンドラ1を折り畳み可能にでき、運搬も容易で簡単に設置できる。
【選択図】図5

Description

この発明は折り畳み式作業用ゴンドラに関し、建築物などの構造物の上部から垂下したワイヤロープなどの索条を介して作業ケージから作業を行うゴンドラで、折り畳んだ状態で簡単に運搬ができるとともに、簡単に組み立てて設置することができ、1人の作業者が搭乗して作業を行う場合に好適なものである。
従来から、ビル、船舶、発電所、タンク、煙突、そして橋梁などの構造物の壁面の構築や補修などの高所作業を安全かつ能率的に行うためワイヤロープなどの索条で吊り下げた、作業者が搭乗する作業ケージを備えた作業用ゴンドラを用いることも多く、作業ケージを昇降機構で上下に昇降可能としたり、さらに必要に応じて上下の昇降だけでなく左右の横行も可能とすることを組み合わせて作業ケージを移動させることで広範囲の作業を行うようにしている。
このような作業ケージを備える作業用ゴンドラで行う作業の中には、狭い場所での作業や部分補修などの比較的簡単な作業があり、1人の作業者で作業すれば良い場合には、作業ケージをチェアとして作業者が座った状態で作業することができるチェア式ゴンドラが使用されていた(特許文献1参照)。
実公昭51−5243号公報
ところが、チェア式ゴンドラでは、支持パイプを作業者が股の間に挟んだ状態でチェアに座ることでチェアから乗り出すようにしても落下することなく安全に作業できるものの、座った姿勢での作業となるため作業の内容によっては立って行う場合に比べて力が入らないなど作業がやり難いという問題がある。
また、チェア式ゴンドラの場合には、作業に必要な工具や資材の搭載場所がほとんどなく、作業者が持てる範囲に限られることで、作業内容が制約されたり、必要な工具や資材を取りに頻繁に移動を繰り返さなければならないなどの問題がある。
さらに、チェア式ゴンドラ自体は小型であっても作業者が座ると、作業者の膝の位置によってその分だけ前後長が大きくなってしまうという問題がある。
この発明は、上記従来技術の問題点に鑑みてなされたもので、狭い場所での作業や部分補修などの簡単な作業を、1人の作業者で作業する場合に簡単に運搬することができるとともに、簡単に設置して立った状態で作業することができる折り畳み式作業用ゴンドラを提供しようとするものである。
上記課題を解決するためこの発明の請求項1記載の折り畳み式作業用ゴンドラは、構造物から吊り下げられ構造物側面に沿って移動される作業ケージを備えた作業用ゴンドラであって、
前記作業ケージを、作業者が搭乗して作業を行う矩形の作業台と、この作業台と対向する上部に設置されるとともに昇降用の巻上機が搭載される矩形の枠状の上部手摺枠と、上部リンクと下部リンクとで構成され中間部が回動可能に連結されて折り畳み可能に構成され前記作業台と前記上部手摺枠との間の四隅にそれぞれ回動可能に連結される折り畳み支柱と、前記作業台の左右それぞれに配置される2本の前記折り畳み支柱同志の中間連結部を連結するとともに両端部に折り畳み用のガイドピン部を備えた中間手摺部材と、この中間手摺部材の両端部のガイドピン部がスライド可能に係合されるガイド溝を備え前記作業台の前後に配置されるガイド兼用中間手摺部材とで構成したことを特徴とするものである。
また、この発明の請求項2記載の折り畳み式作業用ゴンドラは、請求項1記載の構成に加え、前記作業台には、前記中間手摺部材で連結された左右それぞれの2本の折り畳み支柱を前記作業台の内側に折り畳んだ状態で当該作業台内に収納可能とする周囲側壁部を設けて構成したことを特徴とするものである。
さらに、この発明の請求項3記載の折り畳み式作業用ゴンドラは、請求項1または2記載の構成に加え、前記折り畳み支柱は、中間部で折り畳んだときに上部リンクと下部リンクが作業者の指が挟まれない間隔をあけて連結して構成してあることを特徴とするものである。
また、この発明の請求項4記載の折り畳み式作業用ゴンドラは、請求項1〜3のいずれかに記載の構成に加え、前記折り畳み支柱は、中間部で折り畳んだときに左右それぞれの前記折り畳み支柱を連結する中間手摺部材同志の間隔を作業者が立つことができる間隔をあけ折り畳んだ状態で乗降可能かつ搭乗状態で折り畳み及び組立を可能に構成してあることを特徴とするものである。
さらに、この発明の請求項5記載の折り畳み式作業用ゴンドラは、請求項1〜4のいずれかに記載の構成に加え、前記折り畳み支柱を構成する上部リンクと下部リンクとの間に伸長状態を保持するピン挿入孔を互いを貫通して形成するとともに、固定ピンで保持可能に構成したことを特徴とするものである。
また、この発明の請求項6記載の折り畳み式作業用ゴンドラは、請求項1〜5のいずれかに記載の構成に加え、前記作業用ゴンドラの運転を制御する制御装置が収納される収納ケースを前記一方の中間手摺部材の下方内側に係止して前記折り畳み支柱の折り畳み連動して前記作業台内に収納可能に構成してなることを特徴とするものである。
この発明の請求項1記載の折り畳み式作業用ゴンドラによれば、構造物から吊り下げられ構造物側面に沿って移動される作業ケージを備えた作業用ゴンドラであって、前記作業ケージを、作業者が搭乗して作業を行う矩形の作業台と、この作業台と対向する上部に設置されるとともに昇降用の巻上機が搭載される矩形の枠状の上部手摺枠と、上部リンクと下部リンクとで構成され中間部が回動可能に連結されて折り畳み可能に構成され前記作業台と前記上部手摺枠との間の四隅にそれぞれ回動可能に連結される折り畳み支柱と、前記作業台の左右それぞれに配置される2本の前記折り畳み支柱同志の中間連結部を連結するとともに両端部に折り畳み用のガイドピン部を備えた中間手摺部材と、この中間手摺部材の両端部のガイドピン部がスライド可能に係合されるガイド溝を備え前記作業台の前後に配置されるガイド兼用中間手摺部材とで構成したので、作業台の両側の2本の折り畳み支柱を中間手摺部材で連結した状態で前後のガイド兼用中間手摺部材のガイド溝に沿って内側に折り畳むことができ、作業台上に上部手摺枠を重ねるように作業ケージを折り畳むことができる。
これにより、一人で立った状態で作業できる小型の作業用ゴンドラとすることができ、運搬も容易であり、折り畳んだ状態から伸長するだけで簡単に設置することができる。
また、この発明の請求項2記載の折り畳み式作業用ゴンドラによれば、前記作業台には、前記中間手摺部材で連結された左右それぞれの2本の折り畳み支柱を前記作業台の内側に折り畳んだ状態で当該作業台内に収納可能とする周囲側壁部を設けて構成したので、左側の2本の折り畳み支柱と右側の2本の折り畳み支柱を内側に折り畳むことで、作業台の周囲側壁部の内側に収納することができ、一層コンパクトに折り畳むことができる。
さらに、この発明の請求項3記載の折り畳み式作業用ゴンドラによれば、前記折り畳み支柱は、中間部で折り畳んだときに上部リンクと下部リンクが作業者の指が挟まれない間隔をあけて連結して構成したので、折り畳み支柱を折り畳む際に、上部リンクと下部リンクの間に形成した間隔で、作業者が指を誤まって挟むことがなく、安全に折り畳むことができる。
また、この発明の請求項4記載の折り畳み式作業用ゴンドラによれば、前記折り畳み支柱は、中間部で折り畳んだときに左右それぞれの前記折り畳み支柱を連結する中間手摺部材同志の間隔を作業者が立つことができる間隔をあけ折り畳んだ状態で乗降可能かつ搭乗状態で折り畳み及び組立を可能に構成してあるので、作業ケージを折り畳んでも中間手摺部材同士の間に作業者が立つことができ、折り畳んだ状態で乗降することができ、しかも搭乗状態で折り畳んだり、組み立てることができ、特に狭い場所での作業に一層適したものとなる。
さらに、この発明の請求項5記載の折り畳み式作業用ゴンドラによれば、前記折り畳み支柱を構成する上部リンクと下部リンクとの間に伸長状態を保持するピン挿入孔を互いを貫通して形成するとともに、固定ピンで保持可能に構成したので、上部リンクと下部リンクの間のピン挿入孔を合せて固定ピンを挿入することで、折り畳み支柱の伸長状態を保持することができ、上部手摺枠に下方への力が加わっても折り畳まれることがなく、安全に作業することができる。
また、この発明の請求項6記載の折り畳み式作業用ゴンドラによれば、前記作業用ゴンドラの運転を制御する制御装置が収納される収納ケースを前記一方の中間手摺部材の下方内側に係止して前記折り畳み支柱の折り畳み連動して前記作業台内に収納可能に構成したので、作業用ゴンドラの運転を制御する制御装置を収納ケース内に収納した状態で折り畳み支柱を折り畳むことで、そのまま作業台内に収納することができ、一層簡単に折り畳んだり、伸長して使用することができる。
以下、この発明の折り畳み式作業用ゴンドラの一実施の形態について添付図面を参照して詳細に説明する。
図1〜図7はこの発明の折り畳み式作業用ゴンドラを1人乗り用の作業ケージに適用した一実施の形態にかかり、図1は作業状態の正面図、図2は作業状態の右側面図、図3は作業状態の平面図、図4は部分拡大斜視図、図5は折り畳み状態の正面図、図6は折り畳み状態の右側面図、図7は折り畳み状態の平面図である。
この折り畳み式作業用ゴンドラ1は、例えば構造物の屋上などに固定され側面に沿って吊り下げた2本のワイヤロープを作業ケージ2に設けた2台のワインダ3に巻き掛け、その摩擦駆動されるシーブによって巻き掛け位置を移動しながら作業ケージ2を昇降することで構造物側面への作業を行うためのものであり、ここでは、作業ケージ2が折り畳み式に構成されるとともに、1人の作業者が搭乗して作業を行うように構成してある。
この折り畳み式の作業ケージ2は、作業者が搭乗する矩形の作業台21を備え、前後幅が小さく左右に長い長方形状とされ、周囲には、上方に突き出す周囲側壁部22が形成されて上方が開口した箱状としてあり、周囲側壁部22の高さが作業ケージ2を折り畳んだ際に主要部分が作業台21の周囲側壁部22内に収納できるようにしてある。また、この作業台21の下面には、4隅にキャスタ23が取り付けられ、地上等での移動が容易にできるようにするとともに、周囲側壁部22の左右外面に外側に突き出して把持部24が取り付けられ、手を掛けることで持ち運びに利用できるようにしてある。
この折り畳み式作業用ゴンドラ1では、作業ケージ2には、安全に作業を行うための手摺が設けられ、作業台21と対向する上部に作業台21と略同一外形の矩形の枠状の上部手摺枠25が配置され、作業台21の4隅に配置された4本の折り畳み支柱26によって上部手摺枠25を所定高さに保持できるとともに、折り畳み支柱26を折り畳むことで作業台21に折り重ねて収納することができるようにしてある。
4本の折り畳み支柱26は、それぞれ上部リンク26aと下部リンク26bとが中間連結部26cで回動可能に連結され、これによって折り畳むことができるようにしてあり、上部リンク26aの上端部が上部手摺枠25に、下部リンク26bの下端部が作業台21の周囲側壁部22にそれぞれ回動可能に取り付けてある。そして、これら上部リンク26aと下部リンク26bの各中間連結部(回動軸)26cを作業ケージ2の前後方向と平行(図1では紙面に垂直、図2では紙面と平行)にしてあり、こうすることで左側の2本の折り畳み支柱26および右側の2本の折り畳み支柱26をそれぞれ中間連結部26cが作業台21の左右の中央側となるように折り畳んで、作業台21内に収納することができる。
この折り畳み式作業用ゴンドラ1では、手摺として上部手摺枠25とこれを支える4本の折り畳み支柱26に加え、折り畳み支柱26の上下中間部に中間手摺が矩形の前後・左右にそれぞれ2本ずつ設けられる。中間手摺は、左右の2本の中間手摺部材27と前後の2本のガイド兼用中間手摺部材28とで構成される。
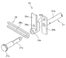
左右の2本の中間手摺部材27は、左側の2本の折り畳み支柱26の中間連結部26cを連結する1本の中間手摺部材27と、右側の2本の折り畳み支柱26の中間連結部26cを連結するもう1本の中間手摺部材27とで構成され、中間手摺パイプ27aの両端部にそれぞれ上部リンク26aと下部リンク26bとを重ねて外側から連結ねじ27bで連結してあり、連結ねじ27bの外端部に左側または右側の2本の折り畳み支柱26の折り畳みをガイドするガイドピン部27cが一体に設けてある。これにより、それぞれ中間部が中間手摺部材27で連結された2本の折り畳み支柱26によって左右側の手摺枠が構成される。
また、この折り畳み支柱26には、上部リンク26aの下端部の内側および外側にそれぞれ内側スペーサ26dおよび外側スペーサ26eが溶接等で一体に取り付けられるとともに、下部リンク26bの下端部外側に外側スペーサ26fが溶接等で一体に取り付けてあり、これらによって上下リンク26a、26bを折り畳んだ際に折り重なる上下リンク26a、26b同士の間および上部リンク26aとガイド兼用中間手摺部材28および周囲側壁部22との間に作業者の指が挟まれることのない空間を確保できるようにしてある。
また、折り畳み支柱26には、上部リンク26aと下部リンク26bとを伸長状態で保持するため上部リンク26aの下端上部と下部リンク26bの上端突出部とにそれぞれピン挿入孔26gが貫通して形成され、図示例では、内側スペーサ26dにもピン挿入孔26gが形成してあり、これらに固定ピン26hを挿入することで、伸長状態を保持でき、上部手摺枠25を押し下げるような力が加わっても折り畳み支柱26が折り畳まれることがないようにしてある。一方、折り畳む場合には、4箇所のピン挿入孔26gから固定ピン26hを抜くことで、4隅の折り畳み支柱26を折り畳むことが可能となる。
次ぎに前後の中間手摺を構成するガイド兼用中間手摺部材28は、金属板材の両端部から中央部にわたり2つのガイド溝28aが形成されて構成され、これら2つのガイド溝28aに沿って左右の中間手摺部材27のガイドピン部27cがスライド可能に係合されてガイドされるようになっており、ガイドピン部27cを介して左右側の手摺枠(2本の折り畳み支柱26および中間手摺部材26)と連結されている。
したがって、左右側の手摺枠はガイド兼用中間手摺部材28のガイド溝28aによって内側に折り畳むようにすることができるものの、外側に折り畳むことはできないにようになっている。そして、左右の手摺枠を内側に折り畳んで上部リンク26aと下部リンク26bを重ねるようにしたとき、2本の中間手摺部材27、27の間隔が、作業者が立つことができる間隔を確保してあり、例えば180mm程度の間隔があくようにしてある。
このような折り畳み式作業用ゴンドラ1では、作業ケージ2を昇降するための2台のワインダ3、3が上部手摺枠25の左右に配置され、上部手摺枠25に溶接等で取り付けた固定台31にそれぞれ連結ピン32を介して取り付けたり、取り外すことができるようにしてある。これにより、ワインダ3、3を固定台31に連結ピン32で取り付けた状態で作業ケージ2を折り畳んだ状態にしてそのまま移動したり、作業ケージ2を折り畳んだ状態とした後、連結ピン32を抜いてワインダ3、3を取り外し、作業台21内に収納して運搬することもできる。
また、建物の間などの狭い空間で作業する場合には、ワインダ3、3をそれぞれの固定台31に連結ピン32で取り付けた状態で作業ケージ2を折り畳んだまま2本の中間手摺部材27、27の間に作業者が搭乗し、ワインダ3、3で作業ケージ2を上昇するように操作して折り畳み支柱26を伸長させ、ピン挿入孔26gに固定ピン26hを挿入することで、作業ケージ2を伸長状態に保持して作業を行うようにすることができ、狭い場所でも折り畳んだ状態で容易に搭乗することができる。
なお、降りる場合には、逆に作業ケージ2を地上に接地させ、折り畳み支柱26のピン挿入孔26gから固定ピン26hを抜いた状態で、そのまま下降を続けて折り畳み支柱26を折り畳むようにすることで、中間手摺部材25、25の間に立つことができ、低くなった上部手摺枠25を跨いで容易に降りることができる。
また、この折り畳み式作業用ゴンドラ1では、作業に伴い建物の壁面との接触による壁面の損傷を防止するため上部手摺枠25の周囲および作業台21の周囲側壁部22の周囲に中空ゴム製の緩衝材33が取り付けてあり、上部手摺枠25の緩衝材33には、ワインダ3、3からのワイヤロープとの干渉を防止するため緩衝材33の一部を切り欠いてある。
さらに、この折り畳み式作業用ゴンドラ1では、ワインダ3、3による昇降などを制御する制御装置を収納する収納ケース40が一方の中間手摺部材26に略逆J字状の係止アーム41を介して上部が支持され、下部が作業台21の周囲側壁部22に回動可能に支持されて手摺枠の内側に位置するように取り付けてある。これにより、手摺枠の折り畳みに連動して下部リンク26bとともに、作業台21の周囲側壁部22内に収納され、手摺枠の伸長に伴って下部リンク26aに沿って立設状態にすることができる。
このように構成した折り畳み式作業用ゴンドラ1によれば、折り畳んで運搬した作業用ケージ2を引き伸ばすように伸張させることで簡単に組み立てることができ、建物の屋上などから吊下げたワイヤロープをワインダ3に挿通する等で設置して、狭い場所での作業や部分補修などの簡単な作業を、1人の作業者が立った状態で行うことができる。
これにより、チェア式ゴンドラのような座った姿勢での作業に比べ、作業の内容が広がるとともに、立って行うことで力を必要とする作業なども簡単にできる。
また、この折り畳み式作業用ゴンドラ1によれば、チェア式ゴンドラの場合に比べ、作業に必要な工具や資材の作業ケージ2への搭載が容易となり、作業内容の制約が緩和されるとともに、必要な工具や資材を取りに頻繁に移動を繰り返す必要もなく、効率的に作業することができる。
さらに、この折り畳み式作業用ゴンドラ1によれば、チェア式ゴンドラを使用する場合のように、座った作業者の膝が作業壁面などに接触することなく手摺の内側に作業者が位置して作業することができ、狭い場所での作業を一層安全に行なうことができる。
さらに、この折り畳み式作業用ゴンドラ1によれば、構造物から吊り下げられ構造物側面に沿って移動される作業ケージ2を備えた作業用ゴンドラであって、作業ケージ2を、作業者が搭乗して作業を行う矩形の作業台21と、この作業台21と対向する上部に設置されるとともに昇降用の巻上機3が搭載される矩形の枠状の上部手摺枠25と、上部リンク26aと下部リンク26bとで構成され中間部が回動可能に連結されて折り畳み可能に構成され作業台21と上部手摺枠25との間の四隅にそれぞれ回動可能に連結される折り畳み支柱26と、作業台21の左右それぞれに配置される2本の折り畳み支柱26同志の中間連結部を連結するとともに両端部に折り畳み用のガイドピン部27cを備えた中間手摺部材27と、この中間手摺部材27の両端部のガイドピン部27cがスライド可能に係合されるガイド溝28aを備え作業台21の前後に配置されるガイド兼用中間手摺部材28とで構成したので、作業台21の両側の2本の折り畳み支柱26を中間手摺部材27で連結した状態で前後のガイド兼用中間手摺部材28のガイド溝28aに沿って内側に折り畳むことができ、作業台21上に上部手摺枠25を重ねるように作業ケージ2を折り畳むことができる。
これにより、一人で立った状態で作業できる小型の作業用ゴンドラ1とすることができ、運搬も容易であり、折り畳んだ状態から伸長するだけで簡単に設置することができる。
また、この折り畳み式作業用ゴンドラ1によれば、作業台21には、中間手摺部材27で連結された左右それぞれの2本の折り畳み支柱26を作業台21の内側に折り畳んだ状態で作業台21内に収納可能とする周囲側壁部22を設けて構成したので、左側の2本の折り畳み支柱26と右側の2本の折り畳み支柱26を内側に折り畳むことで、作業台21の周囲側壁部22の内側に収納することができ、一層コンパクトに折り畳むことができる。
さらに、この折り畳み式作業用ゴンドラ1によれば、折り畳み支柱26は、中間部で折り畳んだときに上部リンク26aと下部リンク26bが作業者の指が挟まれない間隔を内側スペーサ26dおよび外側スペーサ26e,26fであけて連結して構成したので、折り畳み支柱26を折り畳む際に、上部リンク26aと下部リンク26bの間に形成した間隔で、作業者が指を誤まって挟むことがなく、安全に折り畳むことができる。
また、この折り畳み式作業用ゴンドラ1によれば、折り畳み支柱26は、中間部で折り畳んだときに左右それぞれの折り畳み支柱26を連結する中間手摺部材27同志の間隔が作業者が立つことができる間隔をあけ折り畳んだ状態で乗降可能かつ搭乗状態で折り畳み及び組立を可能に構成してあるので、作業ケージ2を折り畳んでも中間手摺部材27同士の間に作業者が立つことができ、折り畳んだ状態で乗降することができ、しかも搭乗状態で折り畳んだり、組み立てることができ、特に狭い場所での作業に一層適したものとなる。
さらに、この折り畳み式作業用ゴンドラ1によれば、折り畳み支柱26を構成する上部リンク26aと下部リンク26bとの間に伸長状態を保持するピン挿入孔26gを互いを貫通して形成するとともに、固定ピン26hで保持可能に構成したので、上部リンク26aと下部リンク26bの間のピン挿入孔26gを合せて固定ピン26hを挿入することで、折り畳み支柱26の伸長状態を保持することができ、上部手摺枠25に下方への力が加わっても折り畳まれることがなく、安全に作業することができる。
また、この折り畳み式作業用ゴンドラ1によれば、作業用ゴンドラ1の運転を制御する制御装置が収納される収納ケース40を一方の中間手摺部材27の下方内側に係止して折り畳み支柱26の折り畳み連動して作業台21内に収納可能に構成したので、作業用ゴンドラ1の運転を制御する制御装置を収納ケース40内に収納した状態で折り畳み支柱26を折り畳むことで、そのまま作業台21内に収納することができ、一層簡単に折り畳んだり、伸長して使用することができる。
なお、上記実施の形態では、1人乗りの作業ケージに適用した場合を例に説明したが、作業ケージの大きさについては、最小限としたものに限らず、大きくするようにしても良いものである。
この発明の折り畳み式作業用ゴンドラを1人乗り用の作業ケージに適用した一実施の形態にかかる作業状態の正面図である。 この発明の折り畳み式作業用ゴンドラを1人乗り用の作業ケージに適用した一実施の形態に作業状態の右側面図である。 この発明の折り畳み式作業用ゴンドラを1人乗り用の作業ケージに適用した一実施の形態に作業状態の平面図である。 この発明の折り畳み式作業用ゴンドラを1人乗り用の作業ケージに適用した一実施の形態にかかる部分拡大斜視図である。 この発明の折り畳み式作業用ゴンドラを1人乗り用の作業ケージに適用した一実施の形態に折り畳み状態の正面図である。 この発明の折り畳み式作業用ゴンドラを1人乗り用の作業ケージに適用した一実施の形態に折り畳み状態の右側面図である。 この発明の折り畳み式作業用ゴンドラを1人乗り用の作業ケージに適用した一実施の形態に折り畳み状態の平面図である。
符号の説明
1 折り畳み式作業用ゴンドラ
2 作業ケージ
3 ワインダ(巻上機)
21 作業台
22 周囲側壁部
23 キャスタ
24 把持部
25 上部手摺枠
26 折り畳み支柱
26a 上部リンク
26b 下部リンク
26c 中間連結部
26d 内側スペーサ
26e 外側スペーサ
26f 外側スペーサ
26g ピン挿入孔
26h 固定ピン
27 中間手摺部材
27a 中間手摺パイプ
27b 連結ねじ
27c ガイドピン部
28 ガイド兼用中間手摺部材
28a ガイド溝
31 固定台
32 連結ピン
33 緩衝材
40 収納ケース
41 係止アーム

Claims (6)

  1. 構造物から吊り下げられ構造物側面に沿って移動される作業ケージを備えた作業用ゴンドラであって、
    前記作業ケージを、
    作業者が搭乗して作業を行う矩形の作業台と、
    この作業台と対向する上部に設置されるとともに昇降用の巻上機が搭載される矩形の枠状の上部手摺枠と、
    上部リンクと下部リンクとで構成され中間部が回動可能に連結されて折り畳み可能に構成され前記作業台と前記上部手摺枠との間の四隅にそれぞれ回動可能に連結される折り畳み支柱と、
    前記作業台の左右それぞれに配置される2本の前記折り畳み支柱同志の中間連結部を連結するとともに両端部に折り畳み用のガイドピン部を備えた中間手摺部材と、
    この中間手摺部材の両端部のガイドピン部がスライド可能に係合されるガイド溝を備え前記作業台の前後に配置されるガイド兼用中間手摺部材とで構成したことを特徴とする折り畳み式作業用ゴンドラ。
  2. 前記作業台には、前記中間手摺部材で連結された左右それぞれの2本の折り畳み支柱を前記作業台の内側に折り畳んだ状態で当該作業台内に収納可能とする周囲側壁部を設けて構成したことを特徴とする請求項1記載の折り畳み式作業用ゴンドラ。
  3. 前記折り畳み支柱は、中間部で折り畳んだときに上部リンクと下部リンクが作業者の指が挟まれない間隔をあけて連結して構成してあることを特徴とする請求項1または2記載の折り畳み式作業用ゴンドラ。
  4. 前記折り畳み支柱は、中間部で折り畳んだときに左右それぞれの前記折り畳み支柱を連結する中間手摺部材同志の間隔を作業者が立つことができる間隔をあけ折り畳んだ状態で乗降可能かつ搭乗状態で折り畳み及び組立を可能に構成してあることを特徴とする請求項1〜3のいずれかに記載の折り畳み式作業用ゴンドラ。
  5. 前記折り畳み支柱を構成する上部リンクと下部リンクとの間に伸長状態を保持するピン挿入孔を互いを貫通して形成するとともに、固定ピンで保持可能に構成したことを特徴とする請求項1〜4のいずれかに記載の折り畳み式作業用ゴンドラ。
  6. 前記作業用ゴンドラの運転を制御する制御装置が収納される収納ケースを前記一方の中間手摺部材の下方内側に係止して前記折り畳み支柱の折り畳み連動して前記作業台内に収納可能に構成してなることを特徴とする請求項1〜5のいずれかに記載の折り畳み式作業用ゴンドラ。
JP2008189609A 2008-07-23 2008-07-23 折り畳み式作業用ゴンドラ Active JP5360645B2 (ja)

Priority Applications (1)

Application Number Priority Date Filing Date Title
JP2008189609A JP5360645B2 (ja) 2008-07-23 2008-07-23 折り畳み式作業用ゴンドラ

Applications Claiming Priority (1)

Application Number Priority Date Filing Date Title
JP2008189609A JP5360645B2 (ja) 2008-07-23 2008-07-23 折り畳み式作業用ゴンドラ

Publications (2)

Publication Number Publication Date
JP2010024763A true JP2010024763A (ja) 2010-02-04
JP5360645B2 JP5360645B2 (ja) 2013-12-04

Family

ID=41730844

Family Applications (1)

Application Number Title Priority Date Filing Date
JP2008189609A Active JP5360645B2 (ja) 2008-07-23 2008-07-23 折り畳み式作業用ゴンドラ

Country Status (1)

Country Link
JP (1) JP5360645B2 (ja)

Cited By (3)

* Cited by examiner, † Cited by third party
Publication number Priority date Publication date Assignee Title
CN111056421A (zh) * 2020-01-19 2020-04-24 广西建工集团建筑工程总承包有限公司 一种起重设备专用吊篮
CN111470438A (zh) * 2020-03-27 2020-07-31 中建八局第一建设有限公司 一种用于塔吊牛腿焊接的便携平台
WO2024124686A1 (zh) * 2022-12-12 2024-06-20 中铁一局集团有限公司 一种桥梁湿接缝施工平台及其使用方法

Citations (7)

* Cited by examiner, † Cited by third party
Publication number Priority date Publication date Assignee Title
JPS6137591A (ja) * 1984-07-31 1986-02-22 Nippon Kokan Kk <Nkk> ハツチカバ−裏面の保守方法
JPS62151344U (ja) * 1986-03-18 1987-09-25
JPH04203162A (ja) * 1990-11-30 1992-07-23 Nippon Kiden Kk 足場装置
JP2000143125A (ja) * 1998-09-03 2000-05-23 Toshiba Corp エレべーター
JP2002536982A (ja) * 1999-02-22 2002-11-05 ティーエフエイチ パブリケイションズ, インク. 折畳式・組立式構造体
JP2003193566A (ja) * 2001-12-27 2003-07-09 Atsushi Nakaya 折り畳みパネルハウス
WO2007063651A1 (ja) * 2005-12-02 2007-06-07 Kabushiki Kaisha Muneo Esu Esu Ekkusu 仮設ルーム

Patent Citations (7)

* Cited by examiner, † Cited by third party
Publication number Priority date Publication date Assignee Title
JPS6137591A (ja) * 1984-07-31 1986-02-22 Nippon Kokan Kk <Nkk> ハツチカバ−裏面の保守方法
JPS62151344U (ja) * 1986-03-18 1987-09-25
JPH04203162A (ja) * 1990-11-30 1992-07-23 Nippon Kiden Kk 足場装置
JP2000143125A (ja) * 1998-09-03 2000-05-23 Toshiba Corp エレべーター
JP2002536982A (ja) * 1999-02-22 2002-11-05 ティーエフエイチ パブリケイションズ, インク. 折畳式・組立式構造体
JP2003193566A (ja) * 2001-12-27 2003-07-09 Atsushi Nakaya 折り畳みパネルハウス
WO2007063651A1 (ja) * 2005-12-02 2007-06-07 Kabushiki Kaisha Muneo Esu Esu Ekkusu 仮設ルーム

Cited By (3)

* Cited by examiner, † Cited by third party
Publication number Priority date Publication date Assignee Title
CN111056421A (zh) * 2020-01-19 2020-04-24 广西建工集团建筑工程总承包有限公司 一种起重设备专用吊篮
CN111470438A (zh) * 2020-03-27 2020-07-31 中建八局第一建设有限公司 一种用于塔吊牛腿焊接的便携平台
WO2024124686A1 (zh) * 2022-12-12 2024-06-20 中铁一局集团有限公司 一种桥梁湿接缝施工平台及其使用方法

Also Published As

Publication number Publication date
JP5360645B2 (ja) 2013-12-04

Similar Documents

Publication Publication Date Title
JP5403358B2 (ja) 物品保管設備
JP2019001222A (ja) トラック用乗降ステップ
CN105084173B (zh) 电梯轿厢
JP5360645B2 (ja) 折り畳み式作業用ゴンドラ
JP2009155926A (ja) ゴンドラ装置
JP4355918B2 (ja) 橋桁仮支持架台装置及びそれを用いる架設ベント
JP2009215051A (ja) エレベーター
JP3662064B2 (ja) 手動式昇降床装置
JP5268995B2 (ja) エレベータ機器の点検作業台
KR101128282B1 (ko) 사다리
KR101820954B1 (ko) 현수 비계용 접이식 작업대 장치
JP2004307156A (ja) テーブルリフト
JPH0240076Y2 (ja)
CN110225875A (zh) 电梯装置
JPH07215699A (ja) 荷揚げリフト
JP2019156558A (ja) 搬器ユニット、及び、エレベータ
KR200452778Y1 (ko) 작업용 발판
JP4929656B2 (ja) マンコンベア用制御装置の持ち出し装置
JP2002327536A (ja) 荷上げ用架台
KR20140089750A (ko) 크레인타입 곤돌라
KR200281000Y1 (ko) 호이스트 크레인의 수리대
JP6019437B2 (ja) ゴンドラ用の収納式床装置
JP7172549B2 (ja) 天井クレーンの盛替え方法及び台車
KR200186535Y1 (ko) 비닐하우스의 작업바구니 보조 승강장치
JP3170289U (ja) 作業用昇降装置

Legal Events

Date Code Title Description
A621 Written request for application examination

Free format text: JAPANESE INTERMEDIATE CODE: A621

Effective date: 20110607

A977 Report on retrieval

Free format text: JAPANESE INTERMEDIATE CODE: A971007

Effective date: 20121031

A131 Notification of reasons for refusal

Free format text: JAPANESE INTERMEDIATE CODE: A131

Effective date: 20121106

A521 Request for written amendment filed

Free format text: JAPANESE INTERMEDIATE CODE: A523

Effective date: 20121226

RD04 Notification of resignation of power of attorney

Free format text: JAPANESE INTERMEDIATE CODE: A7424

Effective date: 20130204

TRDD Decision of grant or rejection written
A01 Written decision to grant a patent or to grant a registration (utility model)

Free format text: JAPANESE INTERMEDIATE CODE: A01

Effective date: 20130806

A61 First payment of annual fees (during grant procedure)

Free format text: JAPANESE INTERMEDIATE CODE: A61

Effective date: 20130823

R150 Certificate of patent or registration of utility model

Ref document number: 5360645

Country of ref document: JP

Free format text: JAPANESE INTERMEDIATE CODE: R150

Free format text: JAPANESE INTERMEDIATE CODE: R150

R250 Receipt of annual fees

Free format text: JAPANESE INTERMEDIATE CODE: R250

R250 Receipt of annual fees

Free format text: JAPANESE INTERMEDIATE CODE: R250

R250 Receipt of annual fees

Free format text: JAPANESE INTERMEDIATE CODE: R250

R250 Receipt of annual fees

Free format text: JAPANESE INTERMEDIATE CODE: R250

R250 Receipt of annual fees

Free format text: JAPANESE INTERMEDIATE CODE: R250

R250 Receipt of annual fees

Free format text: JAPANESE INTERMEDIATE CODE: R250

R250 Receipt of annual fees

Free format text: JAPANESE INTERMEDIATE CODE: R250

R250 Receipt of annual fees

Free format text: JAPANESE INTERMEDIATE CODE: R250

R250 Receipt of annual fees

Free format text: JAPANESE INTERMEDIATE CODE: R250

R250 Receipt of annual fees

Free format text: JAPANESE INTERMEDIATE CODE: R250