JP2010019475A - 熱交換器 - Google Patents

熱交換器 Download PDF

Info

Publication number
JP2010019475A
JP2010019475A JP2008179532A JP2008179532A JP2010019475A JP 2010019475 A JP2010019475 A JP 2010019475A JP 2008179532 A JP2008179532 A JP 2008179532A JP 2008179532 A JP2008179532 A JP 2008179532A JP 2010019475 A JP2010019475 A JP 2010019475A
Authority
JP
Japan
Prior art keywords
tank
heat exchanger
space
outflow
inflow
Prior art date
Legal status (The legal status is an assumption and is not a legal conclusion. Google has not performed a legal analysis and makes no representation as to the accuracy of the status listed.)
Granted
Application number
JP2008179532A
Other languages
English (en)
Other versions
JP5433178B2 (ja
Inventor
Koichiro Inohara
広一朗 猪原
Hiroshi Yamaguchi
博志 山口
Current Assignee (The listed assignees may be inaccurate. Google has not performed a legal analysis and makes no representation or warranty as to the accuracy of the list.)
Japan Climate Systems Corp
Original Assignee
Japan Climate Systems Corp
Priority date (The priority date is an assumption and is not a legal conclusion. Google has not performed a legal analysis and makes no representation as to the accuracy of the date listed.)
Filing date
Publication date
Application filed by Japan Climate Systems Corp filed Critical Japan Climate Systems Corp
Priority to JP2008179532A priority Critical patent/JP5433178B2/ja
Publication of JP2010019475A publication Critical patent/JP2010019475A/ja
Application granted granted Critical
Publication of JP5433178B2 publication Critical patent/JP5433178B2/ja
Expired - Fee Related legal-status Critical Current
Anticipated expiration legal-status Critical

Links

Images

Landscapes

  • Heat-Exchange Devices With Radiators And Conduit Assemblies (AREA)
  • Details Of Heat-Exchange And Heat-Transfer (AREA)

Abstract

【課題】流入管54及び流出管55の内径を大きくしながら、熱交換器1の薄型化を実現し、しかもタンク5内にエア溜まりを抑制し、さらにタンク5を小型化して熱交換器1をコンパクトにする。
【解決手段】熱交換器1におけるタンク5内を流入側空間S1と流出側空間S2に仕切る仕切部材52を設ける。そして、タンク5の長手方向一側が、他側よりも上方に位置するように熱交換器1を設置する。仕切部材52は、タンク5の長手方向他側における外部空気流れ方向中間部から長手方向一側の中途部まで延びる第1仕切部材52aと、第1仕切部材52aの長手方向一側からタンク5の外部空気流れ方向に延びる第2仕切部材52bとで形成される。流入管54は、流入側空間S1の上部に連通するように設けられ、流出管55は、流出側空間S2の上部に連通するように設けられる。流入管54と流出管55とはタンク5の長手方向にずれて配置される。
【選択図】図3

Description

本発明は、例えば、車両用空調装置に用いられる熱交換器に関する。
従来より、車両用空調装置のヒータコアに用いられる熱交換器としては、熱交換媒体が流通し外部空気の流れ方向に交差して並ぶ複数の扁平状チューブと伝熱用コルゲートフィンとを交互に並べて形成されるコアと、チューブの両端部にそれぞれ連通可能に配設された2つのタンクとを備えた熱交換器が知られている(例えば、特許文献1参照)。特許文献1の熱交換器は、チューブの延長方向が鉛直方向に沿うようにし、チューブの両端部に配設されたタンクが上下の位置関係となるように設置されるものである。
この熱交換器の上方に位置するタンクは、該内部空間がタンクの長手方向に延びる板状の仕切部材によって流入側空間と流出側空間とに仕切られており、上記タンクの上壁における流入側空間に対応する部分が、流出側空間に対応する部分に比べて上方へ膨出するように形成されている。上記タンクの膨出した部分における端壁の上部には、流入孔を有する流入管が設けられ、上記流入孔が流入側空間に連通しており、また、上記タンクの膨出していない部分における端壁の上部には、流出孔を有する流出管が設けられ、上記流出孔が流出側空間に連通しており、つまり、この流入管と流出管とが上下方向にずれる位置に配置されている。これにより、熱交換媒体が熱交換器内を循環する際に、タンク内上方に溜まり易いエアを熱交換媒体の流れにより排出することが可能となるので、タンク内のエア溜まりを抑制できるようになっている。
また、流入管と流出管とを上下方向にずらすことで、これらの管の内径を大きくし、熱交換媒体の流量を十分に確保可能としながらも、タンクにおける外部空気の流れ方向の寸法を短くして熱交換器の薄型化を図っている。
特開2003−106788号公報
ところで、特許文献1の構造では、流入管と流出管の内径を大きくしながら、タンクにおける外部空気の流れ方向の寸法を短くするにあたり、流入管と流出管とを上下にずらし、これに対応するように、タンクの上壁において流入側空間に対応する部分を上方へ膨出させている。しかし、タンクの容量は熱交換器の熱交換率向上に殆ど寄与する部分でない為、特許文献1の熱交換器は、タンクの上下方向が無用に大型化されたものと言える。
本発明は斯かる点に鑑みてなされたものであり、その目的とするところは、流入孔形成部及び流出孔形成部における流出孔と流入孔との径を大きくしながら、タンクにおける外部空気の流れ方向の寸法を短くして熱交換器の薄型化を実現し、しかもタンク内にエア溜まりが発生するのを抑制できるようにする場合に、タンクを小型化して熱交換器をコンパクトにすることにある。
上記目的を達成するために、第1の発明では、熱交換媒体が流通し、外部空気の流れ方向と交差する方向に並ぶ複数のチューブで構成された第1チューブ群及び第2チューブ群を有するコアと、上記コアにおけるチューブの端部に連通可能に配設されるとともに該チューブの並ぶ方向に延びるタンクとを備え、該タンクの内部空間には、上記第1チューブ群が連通する第1空間と、上記第2チューブ群が連通する第2空間とに仕切る仕切部材が配設され、上記タンクの周壁部には、上記第1空間に連通する流入孔を有する流入孔形成部と、上記第2空間に連通する流出孔を有する流入孔形成部とが設けられ、上記タンクの長手方向一側が、他側よりも上方に位置するように傾けて設置される熱交換器であって、上記仕切部材は、該タンクの長手方向他側における外部空気流れ方向中間部から長手方向一側の中途部まで延びる第1仕切部と、第1仕切部の長手方向一側からタンクの外部空気流れ方向に延びる第2仕切部とで形成され、上記流入孔形成部が、上記タンクの周壁の長手方向一側において、第1空間の上部に連通するように設けられ、上記流出孔形成部が、上記タンクの周壁の長手方向一側において、第2空間の上部に連通するように設けられ、上記流入孔形成部と上記流出孔形成部とが上記タンクの長手方向にずれて配置される構成とする。
この構成によれば、タンクの周壁の長手方向一側において、流入孔形成部が第1空間の上部に連通し、流出孔形成部が第2空間の上部に連通しているので、第1空間及び第2空間の上部に溜まるエアが、流入孔形成部から流入する熱交換媒体の流れによって、流出孔形成部より排出されるようになる。また、流入孔形成部と流出孔形成部とをタンクの長手方向にずらして配置しているので、孔の径を大きくしてもタンクの外部空気流れ方向の寸法を短くすることが可能となる。さらに、タンクの周壁部に流入孔形成部と流出孔形成部とが設けられることで、流入孔形成部と流出孔形成部とをチューブの延長方向にずらして配置する必要がないので、タンクにおけるチューブ延長方向の寸法を短くすることが可能となる。
第2の発明では、請求項1に記載の熱交換器において、第1仕切部と第2仕切部とが別部品である構成とする。
この構成によれば、仕切部材の成形が容易な構成とすることが可能となる。
第3の発明では、請求項1に記載の熱交換器において、第1仕切部と第2仕切部とが一体成形品である構成とする。
第4の発明では、請求項1乃至3いずれか1つに記載の熱交換器において、流入孔形成部と流出孔形成部とが、タンクの周壁部における上端に取り付けられる構成とする。
この構成によれば、流入孔形成部及び流出孔形成部における流入孔と流出孔とが、タンクの周壁部における上端に連通しているので、仮にタンクの上部に少量のエアが溜まったとしても、流入孔形成部から流入する熱交換媒体の流れによって、流出孔形成部より排出されるようになる。
第5の発明では、請求項1乃至4いずれか1つに記載の熱交換器において、第1空間が外部空気の流れ方向上流側に配置され、第2空間が外部空気の流れ方向下流側に配置され、流入孔形成部が、上記第2空間に連通するように設けられ、流出孔形成部が、上記第1空間に連通するように設けられる構成とする。
この構成によれば、外部空気が熱交換器を通過する際に最も熱交換率の良い構成となる。
第1の発明では、タンクの長手方向一側が、他側よりも上方に位置するように傾けて設置される熱交換器であって、タンクの周壁の長手方向一側において、流入孔形成部が第1空間の上部に連通し、流出孔形成部が第2空間の上部に連通しているので、第1空間及び第2空間の上部に溜まるエアを、熱交換媒体の流れによって、タンク外へ排出できる。これによりエア溜まりを抑制でき、また、流入孔形成部と流出孔形成部とを長手方向にずらしているので、孔の径を大きくしながらもタンクの外部空気流れ方向の寸法を短くすることができ、熱交換器を薄型化できる。さらに、タンクの周壁部に流入孔形成部と流出孔形成部とが設けられることで、流入孔形成部と流出孔形成部とをチューブの延長方向にずらして配置する必要がないので、タンクにおけるチューブ延長方向の寸法を短くすることが可能となり、タンクを小型化して熱交換器をコンパクトにできる。
第2の発明では、第1仕切部と第2仕切部とを別部品で構成しているので、成形が容易な部品でタンク内部を構成することができ、簡単に製作することができる。
第3の発明では、仕切部材を一体成形品としているので、部品点数を増やさず、そして、組み立て工数の増加を防ぐことができる。
第4の発明では、流入孔形成部及び流出孔形成部における流入孔と流出孔とが、タンクの周壁部における上端に連通しているので、仮にタンクの上部に少量のエアが溜まったとしても、流入孔形成部から流入する熱交換媒体の流れによって、流出孔形成部より排出されるようになり、エア溜まりが発生しにくい熱交換器とすることができる。
第5の発明では、タンク内の2つに区切られた空間について、熱交換器を通過する外部空気の流れ方向上流側に位置する空間を流出側空間とし、下流側に位置する空間を流入側空間としているので、熱交換率の高い構成の熱交換器とすることができる。
以下、本発明の実施形態を図面に基づいて詳細に説明する。尚、以下の好ましい実施形態の説明は、本質的に例示に過ぎず、本発明、その適用物或いはその用途を制限することを意図するものではない。
《発明の実施形態1》
図1及び図2は、本発明の実施形態1に係る熱交換器1を示すものであり、この実施形態1では、熱交換器1が車両用空調装置(図示せず)の加熱用熱交換器である場合について説明する。尚、車両用空調装置は、図示しないが、車室のインストルメントパネルの内部に配置され、上記加熱用熱交換器や冷却用熱交換器、各種ダンパ等を収容する樹脂製のケーシングを備えている。
上記加熱用熱交換器1は、熱交換媒体としてエンジン用冷却水が循環するように構成された、いわゆるヒータコアであり、図2に示すように、チューブ2及びフィン3を交互に並べてなるコア4と、コア4のチューブ2両端部に設けられたコネクタタンク5及びリターンタンク6とを備えている。コア4のチューブ2は、外部空気の流れ方向(図1に矢印Wで示す)に長い断面形状を有する扁平状のチューブであり、アルミニウム合金を成形してなる。これらチューブ2は、外部空気の流れ方向に二列配置されている。上記フィン3は、外部空気の流れ方向に見て、波状をなすコルゲートフィンであり、アルミニウム合金製の薄板材を成形してなる。上記チューブ2及びフィン3を構成する部材の少なくとも一方の表面には、ろう材が層状に設けられている。上記コア4の外端部には、フィン3を保護するエンドプレート7が設けられている。上記チューブ2、フィン3及びエンドプレート7は、ろう材により接合されて一体化されている。
上記コネクタタンク5は、チューブ2を外部空気流れ方向上流側の上流側チューブ群と下流側の下流側チューブ群とに分けるためのものであり、このコネクタタンク5には、エンジン冷却水が流入する流入孔54aを有する流入管54と、エンジン冷却水が流出する流出孔55aを有する流出管55とが接続されている。一方、リターンタンク6は、上流側チューブ群と下流側チューブ群とを連通させるためのものである。
上記コネクタタンク5は、チューブ2及びフィン3の並ぶ方向に長く延びる略矩形箱状をなしており、図3に示すように、ヘッダプレート51と、仕切部材52と、タンク部材53とから構成されている。上記ヘッダプレート51は、アルミニウム合金で形成されており、コネクタタンク5の長手方向に延びる略矩形のプレート部51aと、プレート部51aの周縁部において、外部空気の流れ方向に位置する部分からコア4側とは反対方向に延びる一対のプレート側壁部51bとから構成される。このプレート部51aには、チューブ2の端部が挿入されるチューブ挿入孔51cがチューブ2の間隔に対応して多数形成されている。チューブ2の端部は、チューブ挿入孔51cに挿入された状態で該チューブ挿入孔51cの周縁部にろう付けされている。このように、チューブ2の端部がろう付けされることにより、ヘッダプレート51の耐圧性が確保され、薄肉化が可能になる。
タンク部材53は、アルミニウム合金で形成されており、チューブ2の並び方向に延びる略直方体でコア4側に開口しており、タンクプレート53aと、タンクプレート53aの周縁部からコア4側へ延びる壁のうち、長手方向両端に位置する端壁部53bと、外部空気の流れ方向両端に位置する側壁部53cとから構成されている。タンク部材53の側壁部53cは、図1に示すように、ヘッダプレート51のプレート側壁部51bの内側に位置するように形成されている。本発明の周壁部53dは、タンク部材53のタンクプレート53aと側壁部53cとで構成されている。
タンクプレート53aにおける、長手方向一側の外部空気の流れ方向下流側には、流出管55を接続する円状の流出用接続孔53eが形成され、流出用接続孔53eの長手方向他側の隣り合う位置には、流入管54を接続する円状の流入用接続孔53fが形成されている。さらにタンクプレート53aには、空気の流れ方向略中央において、上流側チューブ群と下流側チューブ群を二分する位置に、スリット状に開口する4つの貫通孔53gが長手方向に等間隔に形成されており、また、流入用接続孔53fと流出用接続孔53eとの間には、外部空気の流れ方向に沿ってスリット状に開口する貫通孔53hが1つ形成されている。
また、側壁部53cには、長手方向一側の一部において、切り欠き部53iが形成されている。
仕切部材52は、アルミニウム合金の板材で形成され、図3に示すように、コネクタタンク5の長手方向両端部に亘って延び、タンクプレート53aの内壁面に対し略直交して延びるように配置される板状の第1仕切部材52aと、コネクタタンク5の空気の流れ方向両端部に亘って延び、タンクプレート53aの内壁面に対し略直交して延びるように配置される板状の第2仕切部材52bとから構成されている。
第1仕切部材52aは、長手方向一側において、タンク部材53側からコア4側に向けて切り欠かれてなる切り欠き部52eによって、一側第1仕切部52jと、他側第1仕切部52kとに区分される。一側第1仕切部52jには、外部空気の流れ方向に貫通する略長方形の第1連通孔52dが形成されている。他側第1仕切部52kの周縁部には、タンク部材53に設けられた貫通孔53g、53g、・・・に対向する、4つの位置決め部52c、52c、・・・が等間隔に突設されている。各位置決め部52cの突出高さは、図1に示すように、貫通孔53gに挿入した状態でタンクプレート53aの外面よりも外方へ突出するように設定されている。
第2仕切部材52bは、空気の流れ方向中央部において、コア4側からタンク部材53側に向けて切り欠かれてなる切り欠き部52hによって、上流側第2仕切部52lと、下流側第2仕切部52mとに区分される。上流側第2仕切部52lには、長手方向に貫通する略長方形の第2連通孔52gが形成されている。下流側第2仕切部52mの周縁部には、タンク部材53に設けられた貫通孔53hに対向する、位置決め部52fが突設されている。位置決め部52fの突出高さは、第1仕切部材52aと同様に、タンクプレート53aの外面よりも外方へ突出するように設定されている。
仕切部材52は、上記第1仕切部材52aにおける切り欠き部52eと、第2仕切部材52bにおける切り欠き部52hとを十字状に交差させることにより組み立てられる。図4に示すように、そしてコネクタタンク5が組み立てられた時に、仕切部材52によってコネクタタンク5の内部は、他側第1仕切部52kと下流側第2仕切部52mとで区切られた流入側空間S1と、それ以外の流出側空間S2とに仕切られる。また、第2仕切部材52bの外部空気の流れ方向両端には、コア4側に突起52i、52iが形成されており、これら突起52i、52iは、タンク部材53の側壁部53cに形成された、切り欠き部53iに嵌合できるように形成されている。
流入管54は、図1及び図2に示すように、略円筒形状をしており、基端側が上記流入用接続孔53fに挿入される。この流入管54には、挿入部位からタンク部材53より離れていくにしたがって外形が段状に拡大してなる流入管拡大部54bが設けられている。また、流出管55は、略円筒形状をしており、基端側が上記流出用接続孔53eに挿入される。この流出管55には、挿入部位からタンク部材53より離れていくにしたがって外形が段状に拡大してなる流出管拡大部55bが設けられている。流入管54と流出管55とは、中心軸がコネクタタンク5の長手方向に沿って並列となるようにコネクタタンク5に取り付けられるので、流入管54と流出管55とを、チューブ2の延長方向にずらして配置する必要がないようになっている。
上記流入管54の先端部には、エンジンの冷却水通路に連通する供給パイプ(図示せず)が接続され、上記流出管55の先端部には冷却水通路に連通する排出用パイプ(図示せず)が接続されるようになっている。
上記ヘッダプレート51及びタンク部材53の表面には、ろう材が設けられている。このろう材により、両部材51と53とがろう付けされるとともに、流入管54及び流出管55が流入用接続孔53f及び流出用接続孔53eの周縁部にそれぞれろう付けされ、さらに、仕切部材52の周縁部がコネクタタンク5の内壁面にろう付けされる。
一方、上記リターンタンク6は、アルミニウム合金で形成されており、コネクタタンク5とは異なり、流入管54と、流出管55と、仕切部材52とが設けられておらず、ヘッダプレート61とタンク部材63との2部品で構成されている。ヘッダプレート61は、ヘッダプレート51と同一部材であり、タンク部材63は、チューブ2の並び方向に延びる略直方体でコア4側に開口する部材である。
次に、上記熱交換器1の組み立てについて説明する。まず、チューブ2と、フィン3と、エンドプレート7とでコア4を組み立て、図示しない結束具で結束しておく。このようにして結束したチューブ2の端部をヘッダプレート51、61のチューブ挿入孔51c、61c(図示せず)に挿入し、コア4にヘッダプレート51、61を組み付ける。一方、第1仕切部材52aにおける切り欠き部52eと、第2仕切部材52bにおける切り欠き部52hとを交差させることにより、十字状の仕切部材52を組み立てる。そして、仕切部材52をコネクタタンク5のタンク部材53に組み付ける。この仕切部材52をタンク部材53に組み付ける際には、位置決め部52cを貫通孔53gに挿入し、位置決め部52fを貫通孔53hに挿入し、そして、突起52iを切り欠き部53iに嵌め入れる。その後、タンク部材53をヘッダプレート51に組み付け、また、リターンタンク6のタンク部材63をヘッダプレート61に組み付けておく。
上記のようにして各部材が組み付けられた状態の中間部品(図示せず)は、ろう付け用の炉内へ搬送される。この炉内で各部のろう材が溶けて流れ、ろう付け箇所に行き渡る。中間部品を炉内から搬出してろう材を固化させることで、図1及び図2に示すような熱交換器1が得られる。尚、各部材は上記した順番以外の順番で組み付けるようにしてもよい。
次に、熱交換器1内のエンジン冷却水の流れについて説明する。図4に示すように、上記熱交換器1は、空調装置のケーシング内において、タンク5、6の長手方向一側が、他側に比べて上方に位置するように設置される。エンジン冷却水は流入管54を通って、コネクタタンク5の内部の外部空気流れ方向下流側に位置する流入側空間S1に流れ込んだ後、上流側チューブ群のチューブ2を流れてリターンタンク6に流入する。リターンタンク6に流入したエンジン冷却水は、下流側チューブ群のチューブ2を流れて、コネクタタンク5の内部の外部空気流れ方向上流側に位置する流出側空間S2に流れ込む。そして、エンジン冷却水が流出側空間S2に充填された後、エンジン冷却水は流出管55を通って外部に流出するようになっている。
以上より、実施形態1による熱交換器1によれば、車両内部において、コネクタタンク5の長手方向一側を、他側よりも上方に位置するように熱交換器1を傾けて設置する場合、コネクタタンク5の内部を仕切部材52によって、流入側空間S1と流出側空間S2とに分け、そして、流入管54を流入側空間S1の長手方向一側の上方に設け、流出管55を流出側空間S2の長手方向一側の上方に設けているので、エンジン冷却水が熱交換器1内を流れる際に、流入側空間S1及び流出側空間S2の上部に溜まるエアが、流入管54から流入するエンジン冷却水によって、流出管より排出されるようになるので、熱交換器1内におけるエア溜まりの発生を抑制できる。また、流入管54と流出管55とをコネクタタンク5の長手方向に隣り合って設けているので、流入管54と流出管55の内径を大きくしてもコネクタタンク5における外部空気の流れ方向の寸法を短くでき、これにより、熱交換器1の薄型化を実現できる。さらには、タンクの周壁に流入管54と流出管55とが設けられ、チューブ2の延長方向に流入管54と流出管55とをずらして配置する必要がないので、コネクタタンク5におけるチューブ2の延長方向の寸法を短くし、コネクタタンク5を小型化でき、熱交換器1をコンパクトにできる。
また、仕切部材52を、成形が簡易な板状の部材である第1仕切部材52aと第2仕切部材52bとから構成されるようにしたので、簡単に組み立て可能な構造とすることができる。
尚、図5に示す変形例のように、仕切部材82を一体成形品としてもよい。コネクタタンク8は、チューブ2及びフィン3の並ぶ方向に長く延びる略矩形箱状をなしており、ヘッダプレート51と、仕切部材82と、タンク部材83とから構成されている。
タンク部材83は、アルミニウム合金で形成されており、チューブ2の並び方向に延びる略直方体でコア4側に開口しており、タンクプレート83aと、タンクプレート83aの周縁部からコア4側へ延びる壁のうち、長手方向両端に位置する端壁部83bと、外部空気の流れ方向両端に位置する側壁部83cとから構成されている。
タンクプレート83aにおける、長手方向一側の外部空気の流れ方向下流側には、流出管55を接続する円状の流出用接続孔83eが形成され、流出用接続孔83eの長手方向他側の隣り合う位置には、流入管54を接続する円状の流入用接続孔83fが形成されている。さらにタンクプレート83aには、空気の流れ方向略中央において、上流側チューブ群と下流側チューブ群とに二分する位置に、スリット状に開口する4つの貫通孔83gが長手方向に等間隔に形成されている。そして、側壁部83cには、長手方向一側における外部流れ方向下流側の一部において、切り欠き部83iが形成されている。
仕切部材82は、アルミニウム合金の板材で形成され、コネクタタンク8の長手方向他側から一側へ向かって延び、タンクプレート83aの内壁面に対し略直交して延びるように配置される板状の第1仕切部82aと、外部空気の流れ方向下流側から上流側に向かって延び、タンクプレート83aの内壁面に対し略直交して延びるように配置される板状の第2仕切部82bとからなるL字形状の一体成形された板材である。
第1仕切部82aの周縁部には、タンク部材83に設けられた貫通孔83g、83g、・・・に対向する、4つの位置決め部82c、82c、・・・が等間隔に突設されている。各位置決め部82cの突出高さは、貫通孔83gに挿入した状態でタンクプレート83aの外面よりも外方へ突出するように設定されている。
第2仕切部82bの外部空気の流れ方向下流端には、コア4側に突起82iが形成されており、この突起82iは、タンク部材83の側壁部83cに形成された、切り欠き部83iに嵌合できるように形成されている。
以上のように、仕切部材82を一体成形品とすれば、部品点数を増やさず、組み立て工数の増加を防ぐことができる。
《発明の実施形態2》
図6乃至図8は、本発明の実施形態2に係る熱交換器10を示すものである。この実施形態2の熱交換器10は、コネクタタンク9が、実施形態1とは異なるだけで、他の部分は同じであるため、以下、実施形態1と同じ部分には同じ符号を付し、異なる部分を詳細に説明する。
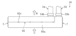
コネクタタンク9は、チューブ2及びフィン3の並ぶ方向に長く延びる略矩形箱状をなしており、図6及び図7に示すように、ヘッダプレート51と、仕切部材92と、タンク部材93とから構成されている。
タンク部材93は、アルミニウム合金で形成されており、実施形態1のタンク部材53に比べ、端壁部93b及び側壁部93cのチューブ延長方向の寸法を長く形成したものである。図8に示すように、側壁部93cにおける、長手方向一側の外部空気流れ方向下流側には、流出管55を接続する流出用接続孔93eが形成され、流出用接続孔93eの長手方向他側の隣り合う位置には、流入管54を接続する流入用接続孔93fが形成されている。
また、仕切部材92は、実施形態1の仕切部材82と同様にL字形状に一体成形された板材であり、チューブ延長方向の寸法が、上記端壁部93bにおけるチューブ延長方向の寸法に合わせた長さとなっている。そして、コネクタタンク9内は、仕切部材92によって、空気流れ方向下流側の流入側空間S3と、上流側の流出側空間S4とに仕切られる。
流入管54は、図6乃至図8に示すように、流入管54の中心軸が空気流れ方向と沿うように、基端部が流入用接続孔93fに挿入されている。また、流出管55は、流出管55の中心軸が空気流れ方向と沿うように、基端部が流出用接続孔93eに挿入されている。
次に、熱交換器10内のエンジン冷却水の流れについて説明する。図8に示すように、上記熱交換器10は、タンク9、6の長手方向一側が、他側に比べて上方に位置するように設置される。エンジン冷却水は流入管54を通って、コネクタタンク9の内部の外部空気流れ方向下流側に位置する流入側空間S3に流れ込んだ後、上流側チューブ群のチューブ2を流れてリターンタンク6に流入する。リターンタンク6に流入したエンジン冷却水は、下流側チューブ群のチューブ2を流れて、コネクタタンク9の内部の外部空気流れ方向上流側に位置する流出側空間S4に流れ込み、流出側空間S4に充填された後、エンジン冷却水は流出管55を通って外部にされるようになっている。
以上より、実施形態2による熱交換器10によれば、車両内部において、コネクタタンク9の長手方向一側を、他側よりも上方に位置するように熱交換器10を傾けて設置する場合、流入管54及び流出管55における流入孔54aと流出孔55aとが、空気の流れ方向下流側の側壁部93cの上方において、中心軸が外部空気流れ方向に沿うように連通しているので、仮に空間S3、S4の上部に僅かなエアが溜まったとしても、流入孔54aから流入するエンジン冷却水の流れによって、流出孔55aより排出されるようになり、エア溜まりが発生しにくい構成とすることができる。
尚、実施形態1、2では、流入管54を空間S1、S3側に、流出管55を空間S2、S4側に取り付けているが、流入管54を空間S2、S4側に、流出管55を空間S1、S3側に取り付けるようにしても良い。
また、実施形態1、2では、熱交換器1、10がヒータコアである場合について説明したが、本発明は、熱交換器1、10が例えば冷凍装置の蒸発器や凝縮器である場合にも適用することが可能である。
以上説明したように、本発明に係る熱交換器は、例えば、自動車に搭載される車両用空調装置の加熱用熱交換器に適している。
本発明の実施形態1に係る熱交換器の平面図である。 本発明の実施形態1に係る熱交換器の正面図である。 実施形態1におけるコネクタタンクの分解斜視図である。 図2における断面A−A図であり、車両内部で熱交換器を設置した状態を示す図である。 実施形態1の変形例に係る図3相当図である。 本発明の実施形態2に係る熱交換器の平面図である。 本発明の実施形態2に係る熱交換器の正面図である。 図7における断面B−B図であり、車両内部で熱交換器を設置した状態を示す図である。
符号の説明
1 熱交換器
2 チューブ
3 フィン
4 コア
5 コネクタタンク(タンク)
52 仕切部材
52a 第1仕切部
52b 第2仕切部
53d 周壁部
54 流入管(流入孔形成部)
54a 流入孔
55a 流出孔
55 流出管(流出孔形成部)
6 リターンタンク
W 外部空気流れ方向
S1 流入側空間
S2 流出側空間
S3 流入側空間
S4 流出側空間

Claims (5)

  1. 熱交換媒体が流通し、外部空気の流れ方向と交差する方向に並ぶ複数のチューブで構成された第1チューブ群及び第2チューブ群を有するコアと、
    上記コアにおけるチューブの端部に連通可能に配設されるとともに該チューブの並ぶ方向に延びるタンクとを備え、
    該タンクの内部空間には、上記第1チューブ群が連通する第1空間と、上記第2チューブ群が連通する第2空間とに仕切る仕切部材が配設され、
    上記タンクの周壁部には、
    上記第1空間に連通する流入孔を有する流入孔形成部と、
    上記第2空間に連通する流出孔を有する流出孔形成部とが設けられ、
    上記タンクの長手方向一側が、他側よりも上方に位置するように傾けて設置される熱交換器であって、
    上記仕切部材は、該タンクの長手方向他側における外部空気流れ方向中間部から長手方向一側の中途部まで延びる第1仕切部と、第1仕切部の長手方向一側からタンクの外部空気流れ方向に延びる第2仕切部とで形成され、
    上記流入孔形成部が、上記タンクの周壁の長手方向一側において、第1空間の上部に連通するように設けられ、
    上記流出孔形成部が、上記タンクの周壁の長手方向一側において、第2空間の上部に連通するように設けられ、
    上記流入孔形成部と上記流出孔形成部とが上記タンクの長手方向にずれて配置されることを特徴とする熱交換器。
  2. 請求項1に記載の熱交換器において、
    第1仕切部と第2仕切部とを別部品とすることを特徴とする熱交換器。
  3. 請求項1に記載の熱交換器において、
    第1仕切部と第2仕切部とを一体成形品とすることを特徴とする熱交換器。
  4. 請求項1乃至3いずれか1つに記載の熱交換器において、
    流入孔形成部と流出孔形成部とが、タンクの周壁部における上端に取り付けられることを特徴とする熱交換器。
  5. 請求項1乃至4いずれか1つに記載の熱交換器において、
    第1空間が外部空気の流れ方向下流側に配置され、
    第2空間が外部空気の流れ方向上流側に配置され、
    流入孔形成部が、上記第1空間に連通するように設けられ、
    流出孔形成部が、上記第2空間に連通するように設けられることを特徴とする熱交換器。
JP2008179532A 2008-07-09 2008-07-09 熱交換器 Expired - Fee Related JP5433178B2 (ja)

Priority Applications (1)

Application Number Priority Date Filing Date Title
JP2008179532A JP5433178B2 (ja) 2008-07-09 2008-07-09 熱交換器

Applications Claiming Priority (1)

Application Number Priority Date Filing Date Title
JP2008179532A JP5433178B2 (ja) 2008-07-09 2008-07-09 熱交換器

Publications (2)

Publication Number Publication Date
JP2010019475A true JP2010019475A (ja) 2010-01-28
JP5433178B2 JP5433178B2 (ja) 2014-03-05

Family

ID=41704568

Family Applications (1)

Application Number Title Priority Date Filing Date
JP2008179532A Expired - Fee Related JP5433178B2 (ja) 2008-07-09 2008-07-09 熱交換器

Country Status (1)

Country Link
JP (1) JP5433178B2 (ja)

Cited By (1)

* Cited by examiner, † Cited by third party
Publication number Priority date Publication date Assignee Title
WO2018008299A1 (ja) * 2016-07-08 2018-01-11 株式会社デンソー 蓄冷熱交換器

Citations (8)

* Cited by examiner, † Cited by third party
Publication number Priority date Publication date Assignee Title
JPH03104657U (ja) * 1990-02-15 1991-10-30
JPH0626780A (ja) * 1992-07-13 1994-02-04 Nippondenso Co Ltd 熱交換器
JPH07159080A (ja) * 1993-12-03 1995-06-20 Sanden Corp 熱交換器
JPH08240395A (ja) * 1995-03-06 1996-09-17 Zexel Corp 熱交換器
JPH10281684A (ja) * 1997-04-07 1998-10-23 Sanden Corp 熱交換器
JP2005510689A (ja) * 2001-11-29 2005-04-21 ベール ゲーエムベーハー ウント コー カーゲー 熱交換器
JP2006125355A (ja) * 2004-11-01 2006-05-18 Hino Motors Ltd Egrクーラ
JP2007264590A (ja) * 2005-09-28 2007-10-11 Sanyo Electric Co Ltd 液冷装置

Patent Citations (8)

* Cited by examiner, † Cited by third party
Publication number Priority date Publication date Assignee Title
JPH03104657U (ja) * 1990-02-15 1991-10-30
JPH0626780A (ja) * 1992-07-13 1994-02-04 Nippondenso Co Ltd 熱交換器
JPH07159080A (ja) * 1993-12-03 1995-06-20 Sanden Corp 熱交換器
JPH08240395A (ja) * 1995-03-06 1996-09-17 Zexel Corp 熱交換器
JPH10281684A (ja) * 1997-04-07 1998-10-23 Sanden Corp 熱交換器
JP2005510689A (ja) * 2001-11-29 2005-04-21 ベール ゲーエムベーハー ウント コー カーゲー 熱交換器
JP2006125355A (ja) * 2004-11-01 2006-05-18 Hino Motors Ltd Egrクーラ
JP2007264590A (ja) * 2005-09-28 2007-10-11 Sanyo Electric Co Ltd 液冷装置

Cited By (4)

* Cited by examiner, † Cited by third party
Publication number Priority date Publication date Assignee Title
WO2018008299A1 (ja) * 2016-07-08 2018-01-11 株式会社デンソー 蓄冷熱交換器
JPWO2018008299A1 (ja) * 2016-07-08 2018-11-08 株式会社デンソー 蓄冷熱交換器
CN109414975A (zh) * 2016-07-08 2019-03-01 株式会社电装 蓄冷热交换器
US11148508B2 (en) 2016-07-08 2021-10-19 Denso Corporation Cold-storage heat exchanger

Also Published As

Publication number Publication date
JP5433178B2 (ja) 2014-03-05

Similar Documents

Publication Publication Date Title
CN104204709B (zh) 热交换器
JP2000346578A (ja) 複式熱交換器
JP2004225961A (ja) マルチフロー型熱交換器
JPH1162587A (ja) オイルクーラ内蔵型ラジエータ
JP2009103404A (ja) 熱交換器
JP5433178B2 (ja) 熱交換器
JPH10281693A (ja) 複式一体型熱交換器
JP2004271143A (ja) 熱交換器
JP2005195318A (ja) エバポレータ
JP4731212B2 (ja) 熱交換器
JP2000055573A (ja) 冷媒蒸発器
JP2009014282A (ja) 熱交換器
JP2000111293A (ja) 積層型熱交換器
JP2004347159A (ja) 熱交換器
JP2006162136A (ja) 複合式熱交換器
JP4679734B2 (ja) 熱交換器
JP5525805B2 (ja) 熱交換器
JP2004211925A (ja) 熱交換器
JP7121551B2 (ja) 熱交換器
KR100531016B1 (ko) 냉매유동성을 향상시킬 수 있는 열교환기용 매니폴드 플레이트및 이를 이용한 열교환기
JP2001056190A (ja) 熱交換器用チューブ
JP2006207952A (ja) 熱交換器
JP2005283020A (ja) 熱交換器
JP2005249341A (ja) 熱交換器
JPH11211382A (ja) 熱交換器

Legal Events

Date Code Title Description
A621 Written request for application examination

Free format text: JAPANESE INTERMEDIATE CODE: A621

Effective date: 20110324

RD02 Notification of acceptance of power of attorney

Free format text: JAPANESE INTERMEDIATE CODE: A7422

Effective date: 20120307

A977 Report on retrieval

Free format text: JAPANESE INTERMEDIATE CODE: A971007

Effective date: 20120713

A131 Notification of reasons for refusal

Free format text: JAPANESE INTERMEDIATE CODE: A131

Effective date: 20120724

A521 Written amendment

Free format text: JAPANESE INTERMEDIATE CODE: A523

Effective date: 20120918

A131 Notification of reasons for refusal

Free format text: JAPANESE INTERMEDIATE CODE: A131

Effective date: 20130326

A521 Written amendment

Free format text: JAPANESE INTERMEDIATE CODE: A523

Effective date: 20130517

TRDD Decision of grant or rejection written
A01 Written decision to grant a patent or to grant a registration (utility model)

Free format text: JAPANESE INTERMEDIATE CODE: A01

Effective date: 20131126

A61 First payment of annual fees (during grant procedure)

Free format text: JAPANESE INTERMEDIATE CODE: A61

Effective date: 20131209

R150 Certificate of patent or registration of utility model

Free format text: JAPANESE INTERMEDIATE CODE: R150

Ref document number: 5433178

Country of ref document: JP

Free format text: JAPANESE INTERMEDIATE CODE: R150

R250 Receipt of annual fees

Free format text: JAPANESE INTERMEDIATE CODE: R250

R250 Receipt of annual fees

Free format text: JAPANESE INTERMEDIATE CODE: R250

R250 Receipt of annual fees

Free format text: JAPANESE INTERMEDIATE CODE: R250

LAPS Cancellation because of no payment of annual fees