JP2010016931A - 回転電機の固定子及び回転電機 - Google Patents
回転電機の固定子及び回転電機 Download PDFInfo
- Publication number
- JP2010016931A JP2010016931A JP2008172603A JP2008172603A JP2010016931A JP 2010016931 A JP2010016931 A JP 2010016931A JP 2008172603 A JP2008172603 A JP 2008172603A JP 2008172603 A JP2008172603 A JP 2008172603A JP 2010016931 A JP2010016931 A JP 2010016931A
- Authority
- JP
- Japan
- Prior art keywords
- core
- stator
- rotating electrical
- slot
- split
- Prior art date
- Legal status (The legal status is an assumption and is not a legal conclusion. Google has not performed a legal analysis and makes no representation as to the accuracy of the status listed.)
- Granted
Links
Images
Classifications
-
- H—ELECTRICITY
- H02—GENERATION; CONVERSION OR DISTRIBUTION OF ELECTRIC POWER
- H02K—DYNAMO-ELECTRIC MACHINES
- H02K1/00—Details of the magnetic circuit
- H02K1/06—Details of the magnetic circuit characterised by the shape, form or construction
- H02K1/12—Stationary parts of the magnetic circuit
- H02K1/16—Stator cores with slots for windings
Landscapes
- Engineering & Computer Science (AREA)
- Power Engineering (AREA)
- Iron Core Of Rotating Electric Machines (AREA)
Abstract
【課題】分割コアの組み付け性に優れた回転電機の固定子を提供すること。
【解決手段】本発明の回転電機1の固定子3は、分割コア32が周方向の全周にわたって配設されてなり、分割コア32は、コアバック部34と、二本のティース部35,35と、を持ち、コアバック部34が、隣接する分割コアと重なり合う重なり凸部36と、重なり凹部37を周方向の両端に有し、固定子コアを形成する分割コアの内、同一平面内に配設される分割コアの数をn、重なり凸部がコアバック部の周方向の端面から突出した突出量をp、重なり凸部の最内径部とスロットの底面までの距離をq、スロット深さをt、としたときに特定の式を満たすことを特徴とする。
【選択図】図6
Description
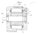
本発明に係る回転電機1は、図1に示すように、略有底筒状の一対のハウジング部材100、101とが開口部同士で接合されてなるハウジング10と、ハウジング10に軸受け110、111を介して回転自在に支承される回転軸20に固定された回転子2と、ハウジング10の内部で回転子2を包囲する位置でハウジング10に固定された固定子3と、を備えている。
本発明は、上記の実施形態のみに限定されるものではなく、図13〜16に示した分割コア32を用いても良い。
本変形形態は、図13に示したように、コアバック部34の最内径部に重なり凸部36及び重なり凹部37が形成された形態の分割コア32を用いてなる例である。なお、図13においては、本変形形態の分割コア32の形状を、コア片部材31の形状で示した。
本変形形態は、図14に示したように、コアバック部34の最外径部に重なり凸部36及び重なり凹部37が形成された形態の分割コア32を用いてなる例である。なお、図14においては、本変形形態の分割コア32の形状を、コア片部材31の形状で示した。
本変形形態は、図15に示したように、コアバック部34の外形部に外形が略山形の重なり凸部36及び重なり凹部37が形成された形態の分割コア32を用いてなる例である。なお、図15においては、本変形形態の分割コア32の形状を、コア片部材31の形状で示した。
本変形形態は、図16に示したように、コアバック部34の周方向の両端部の全体に重なり凸部36及び重なり凹部37が形成された形態の分割コア32を用いてなる例である。なお、図16においては、本変形形態の分割コア32の形状を、コア片部材31の形状で示した。
2:回転子
3:固定子 30:固定子コア
31:コア片部材 32:分割コア
33:スロット 34:コアバック部
35:ティース部 36:重なり凸部
37:重なり凹部
4:固定子巻線
Claims (4)
- 分割コアが周方向の全周にわたって配設されてなり、深さ方向が径方向に一致する複数のスロットを周方向に区画する固定子コアと、
該スロットに組み付けられた固定子巻線と、
を備えた回転電機の固定子であって、
該分割コアは、
該スロットの底面と該底面に背向した該固定子コアの外周面の一部を区画するコアバック部と、該コアバック部の該底面の両端から径方向に突出して、その側面と該底面との間で該スロットを区画する二本のティース部と、を持ち、
該コアバック部が、隣接する該分割コアと重なり合う重なり凸部と、隣接する該分割コアの該重なり凸部と勘合する重なり凹部を周方向の両端に有し、
該固定子コアを形成する該分割コアの内、同一平面内に配設される該分割コアの数をn、該重なり凸部が該コアバック部の周方向の端面から突出した突出量をp、該重なり凸部の最内径部と該スロットの底面までの距離をq、該スロット深さをt、としたときに数1式を満たすことを特徴とする回転電機の固定子。
- 前記分割コアは、一枚のまたは積層した二枚以上の金属板部材よりなる請求項1記載の回転電機の固定子。
- 前記分割コアは、同じ形状に形成された複数の前記金属板部材を、表面同士および/または裏面同士が対向した状態で積層してなる請求項2記載の回転電機の固定子。
- 請求項1〜3のいずれかに記載の回転電機の固定子の内周側に、周方向に異なる磁極を形成している回転子を備えたことを特徴とする回転電機。
Priority Applications (2)
| Application Number | Priority Date | Filing Date | Title |
|---|---|---|---|
| JP2008172603A JP5151738B2 (ja) | 2008-07-01 | 2008-07-01 | 回転電機の固定子及び回転電機 |
| US12/496,005 US7893590B2 (en) | 2008-07-01 | 2009-07-01 | Stator having high assembly |
Applications Claiming Priority (1)
| Application Number | Priority Date | Filing Date | Title |
|---|---|---|---|
| JP2008172603A JP5151738B2 (ja) | 2008-07-01 | 2008-07-01 | 回転電機の固定子及び回転電機 |
Publications (2)
| Publication Number | Publication Date |
|---|---|
| JP2010016931A true JP2010016931A (ja) | 2010-01-21 |
| JP5151738B2 JP5151738B2 (ja) | 2013-02-27 |
Family
ID=41463822
Family Applications (1)
| Application Number | Title | Priority Date | Filing Date |
|---|---|---|---|
| JP2008172603A Active JP5151738B2 (ja) | 2008-07-01 | 2008-07-01 | 回転電機の固定子及び回転電機 |
Country Status (2)
| Country | Link |
|---|---|
| US (1) | US7893590B2 (ja) |
| JP (1) | JP5151738B2 (ja) |
Cited By (1)
| Publication number | Priority date | Publication date | Assignee | Title |
|---|---|---|---|---|
| JP2013176283A (ja) * | 2012-02-23 | 2013-09-05 | Samsung Electro-Mechanics Co Ltd | 多相スイッチドリラクタンスモータ装置及びその制御方法 |
Families Citing this family (14)
| Publication number | Priority date | Publication date | Assignee | Title |
|---|---|---|---|---|
| JP5040988B2 (ja) * | 2009-12-22 | 2012-10-03 | トヨタ自動車株式会社 | ステータおよびこのステータを備えるモータ |
| CN102742125B (zh) * | 2010-02-03 | 2015-06-10 | 丰田自动车株式会社 | 定子铁芯 |
| JP5459110B2 (ja) * | 2010-06-30 | 2014-04-02 | 株式会社デンソー | 回転電機の固定子 |
| JP5641902B2 (ja) * | 2010-10-08 | 2014-12-17 | 日本発條株式会社 | モーターのステーター・コア及び製造方法 |
| EP2696476A4 (en) * | 2011-04-05 | 2016-03-02 | Toyota Motor Co Ltd | STATOR AND METHOD FOR PRODUCING THE STATOR |
| DE112017002057T5 (de) * | 2016-09-02 | 2018-12-27 | Nidec Corporation | Stator, Statorherstellungsverfahren und Motor |
| DE102017200186A1 (de) | 2017-01-09 | 2018-07-12 | Siemens Aktiengesellschaft | Rotorblech für einen permanenterregten Elektromotor und Rotor |
| JP7032436B2 (ja) * | 2017-12-07 | 2022-03-08 | 京セラインダストリアルツールズ株式会社 | 固定子鉄心 |
| ES2914811T3 (es) * | 2019-05-27 | 2022-06-16 | Magnax Bv | Estator para una máquina de flujo axial |
| JP7311179B2 (ja) * | 2019-12-31 | 2023-07-19 | ▲広▼▲東▼美的白色家▲電▼技▲術▼▲創▼新中心有限公司 | ステータ及びモータ |
| JP7705237B2 (ja) * | 2020-11-20 | 2025-07-09 | ミネベアミツミ株式会社 | モータ |
| JP7637495B2 (ja) * | 2020-11-20 | 2025-02-28 | ミネベアミツミ株式会社 | モータ |
| DE102021106186A1 (de) * | 2021-03-15 | 2022-09-15 | Ebm-Papst Mulfingen Gmbh & Co. Kg | Modular aufgebautes, segmentiertes Statorpaket |
| WO2024161208A1 (en) * | 2023-02-01 | 2024-08-08 | Evr Motors Ltd | Electric machine |
Citations (2)
| Publication number | Priority date | Publication date | Assignee | Title |
|---|---|---|---|---|
| JP2002325383A (ja) * | 2001-04-17 | 2002-11-08 | Moteurs Leroy-Somer | 固定子を有する回転電機 |
| JP2005341684A (ja) * | 2004-05-26 | 2005-12-08 | Mitsubishi Electric Corp | 積層型鉄心及びその製造方法 |
Family Cites Families (13)
| Publication number | Priority date | Publication date | Assignee | Title |
|---|---|---|---|---|
| US4166263A (en) * | 1977-10-03 | 1979-08-28 | Hitachi Metals, Ltd. | Magnetic core assembly for magnetizing columnar permanent magnet for use in electrostatic developing apparatus |
| JP3355700B2 (ja) * | 1993-06-14 | 2002-12-09 | 松下電器産業株式会社 | 回転電機の固定子 |
| GB2310545B (en) * | 1996-02-22 | 2000-04-19 | Honda Motor Co Ltd | Stator core and method and apparatus for assembling same |
| JP3568364B2 (ja) * | 1996-09-30 | 2004-09-22 | 松下電器産業株式会社 | 回転電機のコア |
| JP3604326B2 (ja) | 2000-05-29 | 2004-12-22 | 三菱電機株式会社 | 回転電機のステータおよびその製造方法 |
| US6700284B2 (en) * | 2001-03-26 | 2004-03-02 | Emerson Electric Co. | Fan assembly including a segmented stator switched reluctance fan motor |
| US7012350B2 (en) * | 2001-01-04 | 2006-03-14 | Emerson Electric Co. | Segmented stator switched reluctance machine |
| JP3786854B2 (ja) * | 2001-08-30 | 2006-06-14 | 株式会社三井ハイテック | 積層鉄心の製造方法 |
| US7111380B2 (en) * | 2002-10-31 | 2006-09-26 | Emerson Electric Co. | Method for forming an annular stator assembly |
| US7122933B2 (en) * | 2004-05-19 | 2006-10-17 | Emerson Electric Co. | Reduced coil segmented stator |
| US7348706B2 (en) * | 2005-10-31 | 2008-03-25 | A. O. Smith Corporation | Stator assembly for an electric machine and method of manufacturing the same |
| WO2008044740A1 (en) * | 2006-10-13 | 2008-04-17 | Mitsui High-Tec, Inc. | Laminated iron core, and its manufacturing method |
| JP4623129B2 (ja) * | 2008-04-21 | 2011-02-02 | 株式会社デンソー | 回転電機の固定子及び回転電機 |
-
2008
- 2008-07-01 JP JP2008172603A patent/JP5151738B2/ja active Active
-
2009
- 2009-07-01 US US12/496,005 patent/US7893590B2/en active Active
Patent Citations (2)
| Publication number | Priority date | Publication date | Assignee | Title |
|---|---|---|---|---|
| JP2002325383A (ja) * | 2001-04-17 | 2002-11-08 | Moteurs Leroy-Somer | 固定子を有する回転電機 |
| JP2005341684A (ja) * | 2004-05-26 | 2005-12-08 | Mitsubishi Electric Corp | 積層型鉄心及びその製造方法 |
Cited By (2)
| Publication number | Priority date | Publication date | Assignee | Title |
|---|---|---|---|---|
| JP2013176283A (ja) * | 2012-02-23 | 2013-09-05 | Samsung Electro-Mechanics Co Ltd | 多相スイッチドリラクタンスモータ装置及びその制御方法 |
| JP2014207858A (ja) * | 2012-02-23 | 2014-10-30 | サムソン エレクトロ−メカニックス カンパニーリミテッド. | 多相スイッチドリラクタンスモータ装置の制御方法 |
Also Published As
| Publication number | Publication date |
|---|---|
| US20100001611A1 (en) | 2010-01-07 |
| JP5151738B2 (ja) | 2013-02-27 |
| US7893590B2 (en) | 2011-02-22 |
Similar Documents
| Publication | Publication Date | Title |
|---|---|---|
| JP5151738B2 (ja) | 回転電機の固定子及び回転電機 | |
| JP7344807B2 (ja) | コイルボビン、分布巻ラジアルギャップ型回転電機の固定子コア及び分布巻ラジアルギャップ型回転電機 | |
| JP4445023B2 (ja) | 回転電機の固定子及び回転電機 | |
| JP4396761B2 (ja) | 回転電機の固定子および回転電機 | |
| JP5314908B2 (ja) | 回転電機の固定子および回転電機 | |
| JP4623129B2 (ja) | 回転電機の固定子及び回転電機 | |
| JP2010239691A (ja) | 回転電機の固定子及び回転電機 | |
| JP2009131092A (ja) | 回転電機の固定子および回転電機 | |
| WO2017047247A1 (ja) | 回転電機 | |
| JP4502041B2 (ja) | 回転電機の固定子およびその製造方法 | |
| US8022592B2 (en) | Coil fixing member and rotary electric machine | |
| JP2013208038A (ja) | 回転電機及び巻線装着方法 | |
| JP2010259266A (ja) | 回転電機の固定子及び回転電機 | |
| CN111245164A (zh) | 旋转电机及其制造方法 | |
| JP4535147B2 (ja) | 回転電機の固定子及び回転電機 | |
| JP5819037B2 (ja) | 回転電機の固定子及び回転電機 | |
| JP5515236B2 (ja) | 回転電機の固定子、回転電機及び固定子コイル形成方法 | |
| JP5309674B2 (ja) | 固定子コイルの製造方法 | |
| JP5609937B2 (ja) | 回転電機の固定子 | |
| JP2009213309A (ja) | 回転電機の固定子及び回転電機 | |
| JP6080964B2 (ja) | 回転電機の固定子 | |
| JP3771875B2 (ja) | 回転電機の固定子 | |
| JP6319226B2 (ja) | 回転電機ステータ | |
| JP2020028153A (ja) | 回転電機のステータ | |
| JP2002247786A (ja) | 電動機及び電動機固定子の製造方法 |
Legal Events
| Date | Code | Title | Description |
|---|---|---|---|
| A621 | Written request for application examination |
Free format text: JAPANESE INTERMEDIATE CODE: A621 Effective date: 20101208 |
|
| A977 | Report on retrieval |
Free format text: JAPANESE INTERMEDIATE CODE: A971007 Effective date: 20120731 |
|
| A131 | Notification of reasons for refusal |
Free format text: JAPANESE INTERMEDIATE CODE: A131 Effective date: 20120807 |
|
| A521 | Request for written amendment filed |
Free format text: JAPANESE INTERMEDIATE CODE: A523 Effective date: 20121001 |
|
| TRDD | Decision of grant or rejection written | ||
| A01 | Written decision to grant a patent or to grant a registration (utility model) |
Free format text: JAPANESE INTERMEDIATE CODE: A01 Effective date: 20121106 |
|
| A61 | First payment of annual fees (during grant procedure) |
Free format text: JAPANESE INTERMEDIATE CODE: A61 Effective date: 20121119 |
|
| FPAY | Renewal fee payment (event date is renewal date of database) |
Free format text: PAYMENT UNTIL: 20151214 Year of fee payment: 3 |
|
| R151 | Written notification of patent or utility model registration |
Ref document number: 5151738 Country of ref document: JP Free format text: JAPANESE INTERMEDIATE CODE: R151 |
|
| FPAY | Renewal fee payment (event date is renewal date of database) |
Free format text: PAYMENT UNTIL: 20151214 Year of fee payment: 3 |
|
| R250 | Receipt of annual fees |
Free format text: JAPANESE INTERMEDIATE CODE: R250 |
|
| R250 | Receipt of annual fees |
Free format text: JAPANESE INTERMEDIATE CODE: R250 |
|
| R250 | Receipt of annual fees |
Free format text: JAPANESE INTERMEDIATE CODE: R250 |
|
| R250 | Receipt of annual fees |
Free format text: JAPANESE INTERMEDIATE CODE: R250 |
|
| R250 | Receipt of annual fees |
Free format text: JAPANESE INTERMEDIATE CODE: R250 |
|
| R250 | Receipt of annual fees |
Free format text: JAPANESE INTERMEDIATE CODE: R250 |
|
| R250 | Receipt of annual fees |
Free format text: JAPANESE INTERMEDIATE CODE: R250 |
|
| R250 | Receipt of annual fees |
Free format text: JAPANESE INTERMEDIATE CODE: R250 |
|
| R250 | Receipt of annual fees |
Free format text: JAPANESE INTERMEDIATE CODE: R250 |
|
| R250 | Receipt of annual fees |
Free format text: JAPANESE INTERMEDIATE CODE: R250 |
|
| R250 | Receipt of annual fees |
Free format text: JAPANESE INTERMEDIATE CODE: R250 |
