JP2010016815A - 容量性信号結合を用いた高電圧駆動回路及び関連する装置及び方法 - Google Patents

容量性信号結合を用いた高電圧駆動回路及び関連する装置及び方法 Download PDF

Info

Publication number
JP2010016815A
JP2010016815A JP2009150903A JP2009150903A JP2010016815A JP 2010016815 A JP2010016815 A JP 2010016815A JP 2009150903 A JP2009150903 A JP 2009150903A JP 2009150903 A JP2009150903 A JP 2009150903A JP 2010016815 A JP2010016815 A JP 2010016815A
Authority
JP
Japan
Prior art keywords
drive
circuit
high voltage
electrode
electrodes
Prior art date
Legal status (The legal status is an assumption and is not a legal conclusion. Google has not performed a legal analysis and makes no representation as to the accuracy of the status listed.)
Granted
Application number
JP2009150903A
Other languages
English (en)
Other versions
JP5148562B2 (ja
Inventor
Gek Yong Ng
ゲク・ヨン・ワン
Kok Chow Fun
ファン・コク・チョウ
Richard Kok Keong Lum
リチャード・コク・ケオン・ラム
Current Assignee (The listed assignees may be inaccurate. Google has not performed a legal analysis and makes no representation or warranty as to the accuracy of the list.)
Avago Technologies International Sales Pte Ltd
Original Assignee
Avago Technologies ECBU IP Singapore Pte Ltd
Priority date (The priority date is an assumption and is not a legal conclusion. Google has not performed a legal analysis and makes no representation as to the accuracy of the date listed.)
Filing date
Publication date
Application filed by Avago Technologies ECBU IP Singapore Pte Ltd filed Critical Avago Technologies ECBU IP Singapore Pte Ltd
Publication of JP2010016815A publication Critical patent/JP2010016815A/ja
Application granted granted Critical
Publication of JP5148562B2 publication Critical patent/JP5148562B2/ja
Expired - Fee Related legal-status Critical Current
Anticipated expiration legal-status Critical

Links

Images

Classifications

    • HELECTRICITY
    • H01ELECTRIC ELEMENTS
    • H01GCAPACITORS; CAPACITORS, RECTIFIERS, DETECTORS, SWITCHING DEVICES, LIGHT-SENSITIVE OR TEMPERATURE-SENSITIVE DEVICES OF THE ELECTROLYTIC TYPE
    • H01G4/00Fixed capacitors; Processes of their manufacture
    • H01G4/002Details
    • H01G4/005Electrodes
    • H01G4/008Selection of materials
    • HELECTRICITY
    • H04ELECTRIC COMMUNICATION TECHNIQUE
    • H04LTRANSMISSION OF DIGITAL INFORMATION, e.g. TELEGRAPHIC COMMUNICATION
    • H04L25/00Baseband systems
    • H04L25/02Details ; arrangements for supplying electrical power along data transmission lines
    • H04L25/0264Arrangements for coupling to transmission lines
    • H04L25/0266Arrangements for providing Galvanic isolation, e.g. by means of magnetic or capacitive coupling
    • HELECTRICITY
    • H01ELECTRIC ELEMENTS
    • H01GCAPACITORS; CAPACITORS, RECTIFIERS, DETECTORS, SWITCHING DEVICES, LIGHT-SENSITIVE OR TEMPERATURE-SENSITIVE DEVICES OF THE ELECTROLYTIC TYPE
    • H01G4/00Fixed capacitors; Processes of their manufacture
    • H01G4/33Thin- or thick-film capacitors (thin- or thick-film circuits; capacitors without a potential-jump or surface barrier specially adapted for integrated circuits, details thereof, multistep manufacturing processes therefor)
    • HELECTRICITY
    • H02GENERATION; CONVERSION OR DISTRIBUTION OF ELECTRIC POWER
    • H02MAPPARATUS FOR CONVERSION BETWEEN AC AND AC, BETWEEN AC AND DC, OR BETWEEN DC AND DC, AND FOR USE WITH MAINS OR SIMILAR POWER SUPPLY SYSTEMS; CONVERSION OF DC OR AC INPUT POWER INTO SURGE OUTPUT POWER; CONTROL OR REGULATION THEREOF
    • H02M1/00Details of apparatus for conversion
    • H02M1/08Circuits specially adapted for the generation of control voltages for semiconductor devices incorporated in static converters
    • HELECTRICITY
    • H10SEMICONDUCTOR DEVICES; ELECTRIC SOLID-STATE DEVICES NOT OTHERWISE PROVIDED FOR
    • H10DINORGANIC ELECTRIC SEMICONDUCTOR DEVICES
    • H10D1/00Resistors, capacitors or inductors
    • H10D1/60Capacitors
    • H10D1/68Capacitors having no potential barriers
    • HELECTRICITY
    • H10SEMICONDUCTOR DEVICES; ELECTRIC SOLID-STATE DEVICES NOT OTHERWISE PROVIDED FOR
    • H10DINORGANIC ELECTRIC SEMICONDUCTOR DEVICES
    • H10D1/00Resistors, capacitors or inductors
    • H10D1/60Capacitors
    • H10D1/68Capacitors having no potential barriers
    • H10D1/692Electrodes
    • H10W20/496
    • H10W44/601
    • H10W72/00
    • H10W90/293
    • HELECTRICITY
    • H10SEMICONDUCTOR DEVICES; ELECTRIC SOLID-STATE DEVICES NOT OTHERWISE PROVIDED FOR
    • H10DINORGANIC ELECTRIC SEMICONDUCTOR DEVICES
    • H10D89/00Aspects of integrated devices not covered by groups H10D84/00 - H10D88/00
    • H10D89/60Integrated devices comprising arrangements for electrical or thermal protection, e.g. protection circuits against electrostatic discharge [ESD]
    • H10W72/5445
    • H10W90/753

Landscapes

  • Engineering & Computer Science (AREA)
  • Power Engineering (AREA)
  • Microelectronics & Electronic Packaging (AREA)
  • Manufacturing & Machinery (AREA)
  • Computer Networks & Wireless Communication (AREA)
  • Signal Processing (AREA)
  • Chemical & Material Sciences (AREA)
  • Materials Engineering (AREA)
  • Semiconductor Integrated Circuits (AREA)
  • Metal-Oxide And Bipolar Metal-Oxide Semiconductor Integrated Circuits (AREA)
  • Physics & Mathematics (AREA)
  • Condensed Matter Physics & Semiconductors (AREA)
  • General Physics & Mathematics (AREA)
  • Computer Hardware Design (AREA)
  • Logic Circuits (AREA)
  • Electronic Switches (AREA)

Abstract

【課題】ほぼ1つの面内に形成された駆動電極と感知電極とを備えた高電圧駆動回路を提供する。
【解決手段】装置は、駆動回路と感知回路との間の信号の転送を、駆動電極および感知電極を介して容量性手段によって行い、かつIGBTなどの高電圧装置を高電圧トランジスタを使用せずに駆動することが可能にされ、これにより高電圧ゲート駆動回路及びICを製造する場合、SOIなどの高価な製造工程を使用する必要がなくなる。
【選択図】図5

Description

(関連出願)
本願は、2008年2月12日に出願されたFun Kok Chowらの「High Voltage Isolation Semiconductor Capacitor Digital Communication Device and Corresponding Package」という名称の米国特許出願第12/032,165号の一部継続出願であり、優先権及びそこから生じる他の利点を主張する。この特許出願の全体は、参照することにより本願に組み込まれる。
(発明の分野)
本願で説明される本発明の種々の実施形態は、高電圧駆動回路に関する。
従来技術で周知の高電圧アイソレーション通信装置には、光学装置、磁気装置、及び容量性装置が含まれる。従来技術の光学装置は一般に、光信号を送信及び受信するためにLED及び対応するフォトダイオードを使用することによって、高電圧アイソレーションを実現しており、通常は高電力レベルが必要であり、また複数の通信チャネルが必要な場合は、動作上及び設計上の制約を受ける。従来技術の磁気装置は一般に、対向する誘導結合コイルを用いることによって高電圧アイソレーションを実現し、通常(特に、高いデータ転送速度が要求される場合)高電力レベルを必要とし、一般に少なくとも3つの別個の集積回路又はチップを使用することが必要であり、また電磁妨害(「EMI」)の影響を受け易い。従来技術の容量性装置は一般に、複数の送信電極と受信電極の対を使用することによって高電圧アイソレーションを実現する。この場合、例えば、第1の電極の対がデータを送受信するために使用され、第2の電極の対が送信された信号をリフレッシュ又は保持するために使用される。
一般に電力システムの中で使用される幾つかの高電圧アイソレーション通信装置は、高電圧集積回路(HVIC)の中で実現され、高電位側絶縁ゲートバイポーラトランジスタ(IGBT)に対してレベルシフト及びゲート駆動を提供するように構成されている。従来のHVICのゲート駆動装置は、高電圧のレベルシフト機能を行うために、高電圧トランジスタを使用する必要がある。そのようなHVICゲート駆動装置は、シリコン・オン・インシュレータ(SOI)技術などの複雑で高価な高電圧製造工程を必要とする。この技術は、半導体製造工程の中で従来のシリコン基板に対して、階層化シリコン・絶縁体・シリコン基板を使用する。SOI技術の大きな欠点は、製造する場合に複雑になること、また基板の価格が著しく増加することである。さらに、SOI技術を使用する費用は、ゲート駆動装置の低電圧側と高電圧側との間の高電圧ストレスの程度に対応し、これにより費用はさらに増大される。
必要なことは、高電圧アイソレーション通信装置が小型で、電力の消費が低減され、比較的高い転送速度でデータを転送することができ、改良された高電圧ブレイクダウン特性を有し、動作中は高電圧アイソレーション特性が維持され、安価に作ることができ、かつ従来のCMOS工程を使用して製造することができることである。
幾つかの従来技術の装置及び方法の様々な態様に関連したさらに別の詳細は、1997年12月2日付けの、「Combined trench and field isolation structure for semiconductor devices」という名称のGonzalesに対する米国特許第5,693,971号、2000年12月26日付けの、「Data transfer method/engine for pipelining shared memory bus accesses」という名称のCarrに対する米国特許第6,167,475号、2001年4月10日付けの、「Low cost wideband RF port structure for microwave circuit packages using coplanar waveguide and BGA I/O format」という名称のDourietに対する米国特許第6,215,377号、2001年11月20日付けの、「Low power radar level transmitter having reduced ground loop errors」という名称のDiedeに対する米国特許第6,320,532号、2002年12月3日付けの、「Crosstalk suppression in differential AC coupled multichannel 1C amplifiers」という名称のHeinekeらに対する米国特許第6,489,850号、2003年3月25日付けの、「1C package with integral substrate capacitor」という名称のSmithに対する米国特許第6,538,313号、2003年6月3日付けの、「Multi-plate capacitor structure」という名称のHeinekeらに対する米国特許第6,574,091号、2003年12月9日付けの、「Semiconductor-based spiral capacitor」という名称のBikulciusに対する米国特許第6,661,079号、2005年9月13日付けの、「Ultra broadband capacitor assembly」という名称のNguyenらに対する米国特許第6,944,009号、2007年1月30日付けの、「Data storage device and refreshing method for use with such device」という名称のFazanらに対する米国特許第7,170,807号、2007年6月14日付けの、「Enhanced coplanar waveguide and optical communication module using the same」という名称のHoonに対する米国特許公開第2007/0133,933号、2007年7月12日付けの、「Communication system for data transfer between on-chip circuits」という名称のHanに対する米国特許公開第2007/0162645号、2005年11月1日付けの、「Structures and methods for proximity communication using bridge chips」という名称のGueninらへの米国特許出願第11/264,956号、及び2005年6月1日付の、「Capacitor-related systems for addressing package/motherboard resonance」という名称のHesterらへの国際特許出願第WO/2005/001928号の中に記載されている。前述の特許及び特許出願は、参照することによってそれぞれ完全に本願に組み込まれるものとする。
幾つかの実施形態では、回路の低電圧部に接続された駆動入力を備え、第1の導電性の金属、合金、又は金属混合体から形成された少なくとも1つの駆動電極と、回路の高電圧部に接続された感知出力を備え、第2の導電性の金属、合金、又は金属混合体から形成された少なくとも1つの感知電極と、電気的絶縁層によって駆動電極及び感知電極から間隔を空けて配置された導電性グラウンド面基板と、低電圧部の一部を形成すると共に高電圧駆動回路に与えられる入力信号を受信するように構成され、駆動入力に動作可能に接続されかつ入力信号に基づいて駆動信号を送信するように構成された駆動回路と、高電圧部の一部を形成すると共に感知出力に動作可能に接続され、感知電極と駆動電極との間に送信された駆動信号を受信するようにかつ絶縁ゲートバイポーラトランジスタ(IGBT)を駆動するのに十分な振幅と電力とを有する少なくとも1つのゲート駆動出力信号を提供するように構成された受信回路と、を具備した高電圧駆動回路が提供される。この駆動電極と感知電極は実質的に1つの面内に配置され、容量性手段によってそれらの電極間で駆動信号を送信するように動作可能に構成されかつ互いに関して関連付けられ、ゲート駆動回路は非シリコン・オン・インシュレータCMOS集積回路であり、また回路の低電圧部と高電圧部との間の高電圧アイソレーションは、容量性手段を介した駆動電極と感知電極とによって提供される。
別の実施形態では、回路の低電圧部に接続された駆動入力を備え、第1の導電性の金属、合金、又は金属混合体から形成された少なくとも1つの駆動電極を設けるステップと、回路の高電圧部に接続された感知出力を備え、第2の導電性の金属、合金、又は金属混合体から形成された少なくとも1つの感知電極を設けるステップと、電気的絶縁層によって駆動電極及び感知電極から間隔を空けて配置された導電性グラウンド面基板を設けるステップと、低電圧部の一部を形成すると共に高電圧駆動回路に与えられる入力信号を受信するように構成され、駆動入力に動作可能に接続されかつ入力信号に基づいて駆動信号を送信するように構成された駆動回路を設けるステップと、高電圧部の一部を形成すると共に感知回路に動作可能に接続され、感知電極と駆動電極との間に送信された駆動信号を受信するようにかつ絶縁ゲートバイポーラトランジスタ(IGBT)を駆動するのに十分な振幅と電力とを有する少なくとも1つのゲート駆動出力信号を提供するように構成された受信回路を設けるステップと、を含む高電圧駆動回路を作製する方法が提供される。この駆動電極と感知電極は実質的に1つの面内に配置され、容量性手段によってそれらの電極間で駆動信号を送信するように動作可能に構成されかつ互いに関して関連付けられ、ゲート駆動回路は非シリコン・オン・インシュレータCMOS集積回路であり、また回路の低電圧部と高電圧部との間の高電圧アイソレーションは、容量性手段を介した駆動電極と感知電極とによって提供される。
さらに別の実施形態が本願で開示されるか、又は明細書及び図面を読んで理解すれば、当業者には明らかになるであろう。
本発明の種々の実施形態の様々な態様は、下記の明細書、図面及び請求の範囲から明らかになるであろう。
これらの図面は、必ずしも縮尺通りには描かれていない。同じ番号は、特に断りのない限り、図面全体を通して同じ部品又はステップを指している。
水平及び垂直のコンデンサ構造体を示す図である。 1つの平面内に配置された共面形駆動電極と感知電極を有する高電圧アイソレーション半導体通信装置の実施形態を概略的に示す図である。 螺旋状に巻かれた電極を有する高電圧アイソレーション半導体通信装置の1つの実施形態を示す図である。 交互配置された駆動電極及び感知電極を有する高電圧アイソレーション半導体通信装置の別の実施形態を示す図である。 高電圧アイソレーション半導体通信装置の中の駆動器及び受信器用の機能ブロック図の1つの実施形態を示す図である。 データ出力信号がデフォルトでハイ状態になる場合に、図5の回路が発生する波形を示す図である。 データ出力信号がデフォルトでロー状態になる場合に、図5の回路が発生する波形を示す図である。 従来技術の高電圧集積回路のゲート駆動回路を示す図である。 従来技術のブートストラップ形電源回路を示す図である。 高電圧ゲート駆動回路の1つの実施形態を示す図である。 整流回路及び感知回路の1つの実施形態を示す図である。
本発明の幾つかの実施形態では、実質的に1つの平面内に配置された共面内に感知電極と駆動電極を有する相互キャパシタンス・システムが提供される。本発明の別の実施形態では、非シリコン・オン・インシュレータ(非SOI)CMOS装置の中に組み込まれた高電圧駆動回路が提供される。
1つの実施形態によれば、1つの平面内に形成された共面形通信駆動電極及び感知電極を備えた半導体ディジタル通信装置が提供される。この場合、電極の側壁は比較的高い。この比較的高い側壁により、動作中に小さい電界密度が感知電極及び駆動電極の中で得られ、またさらに極めて高いブレイクダウン電圧が電極間及び駆動電極と下側のグラウンド面基板との間で得られる。この装置は、駆動回路と受信回路との間で容量性手段によって駆動電極および感知電極を通して通信を行い、好ましい実施形態では、比較的高い通信速度のディジタル通信を行うことができる。この装置は、CMOS及び他の半導体製造及びパッケージング工程を用いて、小型のチップ又はパッケージの中で形成することができる。
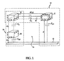
図1は、それぞれ、共面形水平コンデンサ構造体及び積重ねた垂直のコンデンサ構造体10及び20を示している。共面形水平コンデンサ構造体10は、距離がdだけ離れた電極A及びCを含み、それらの間がキャパシタンスCにより特徴付けられており、電極Cとグラウンド面基板Dは距離dだけ離れており、寄生キャパシタンスCp1で特徴付けられている。垂直コンデンサ構造体20は、距離がdだけ離れた電極A及びBを具備し、それらの間のキャパシタンスはCであり、また電極Bとグラウンド面基板Dは距離dだけ離れており、寄生キャパシタンスCp2で特徴付けられている。図1に示されているように、電極A、B、及びCの幅、高さ、及び長さは全て等しくkであり、これにより以下に記述された式1〜6の導出が簡単になる。電極A及びCは、水平コンデンサ構造体10内の上側金属層の中で形成され、また電極Bは垂直コンデンサ構造体20内の下側金属層の中で形成される。図1で例示された水平及び垂直なコンデンサ構造体10及び20では、キャパシタンスは電極A、B、及びCによって与えられた表面領域のみから発生し、かつ周辺キャパシタンス(fringe capacitance)はゼロであると仮定する。
前述の仮定に基づいて、キャパシタンスC及びC、寄生キャパシタンスCp1及びCp2、及び、結合効率C1eff及びC2effは、下記のように計算することができる。
=εk/d 式(1)
p1=εk/d 式(2)
1eff=C/(C+Cp1)=1/2 式(3)
=εk/d 式(4)
p2=εk/d 式(5)及び、
2eff=C/(C+Cp2)=d/(d+d) 式(6)
ここで、ε=電極A、B、C間、及び、それらの電極と基板Dとの間に配置された誘電体の誘電率である。図1で例示されたコンデンサ構造体10及び20では、電極Aが駆動電極であり、電極B及びCが感知電極であることに注意されたい。
上記の式6を参照すると、d=dの場合、C2eff=1/2であることが分かる。これは、C1effによって与えられた結合効率と同じである。しかしながら、電極Aと電極Bとの間のC2effに対するブレイクダウン電圧は、dがdよりも短いため、電極Aと電極Cとの間のC1effに対するブレイクダウン電圧よりも小さい。
上記の式6の参照を続けると、d<dの場合、C2eff>1/2であることが分かるであろう。これは、C1effの結合効率よりもさらに大きい。しかしながら、電極Aと電極Bとの間のC2effに対するブレイクダウン電圧は、dがdよりも遙かに短いため、電極Aと電極Cとの間のC1effに対するブレイクダウン電圧よりもさらに小さい。
上記の式6をさらに参照すると、d>dの場合、C2eff<1/2であることが分かるであろう。これは、C1effの結合効率よりも小さい。電極Aと電極Bとの間のC2effに対するブレイクダウン電圧は、前述された2つの場合よりも大きいが、dがdよりも小さいため、それは依然として電極Aと電極Cとの間のC1effに対するブレイクダウン電圧よりも小さい。
上記の計算は、高電圧アイソレーション半導体ディジタル通信装置に対するコンデンサの設計に当たっては、結合効率、寄生キャパシタンス、ブレイクダウン電圧、幾何学的配置及び他の要素の間で種々のトレードオフを行わなければならないことを例証している。これを受けて、図1に例示されている水平コンデンサ構造体10が、図1の垂直コンデンサ構造体20と比較すると、高電圧アイソレーション、高いブレイクダウン電圧、及び良好な結合効率が必要な装置において最も優れた全体的な動作特性を提供することが見出されている。さらに、図1の水平コンデンサ構造体10では、水平コンデンサ構造体10の上部金属層において電極A及びCの厚さが増加すると、キャパシタンスCが電極A及びCの厚さが増加することに応じて増加し、寄生キャパシタンスCp1が一定の状態を保つため、結合効率C1effが増加する。図1に示されているように、電極A及びCが同じ水平面内に配置されているため、電極A及びCの間、又は電極Aとグラウンド面基板Dとの間のブレイクダウン電圧は、電極Aと電極Bとの間のブレイクダウン電圧よりも常に大きい。このため、本発明の高電圧アイソレーション半導体通信装置の1つの実施形態では、1つの水平に向けられた面30の中で共面上に感知電極と駆動電極が配置され、高いブレイクダウン電圧を保ちながら、結合効率が向上される。そのような高い結合効率により直接的に、回路の性能が向上され、パッケージ又はチップの領域が小型化され、電力消費が低くなり、またデータ送信速度が高速にされる。
図2は、高電圧アイソレーション半導体通信装置の図式的な実施形態を示しており、この装置は、グラウンド面基板60の上方に位置付けされた実質的に1つの水平面30内に配置された通信駆動電極40a及び40b、及び通信感知電極50a及び50bを有している。図2に示されているように、図1の電極A及びCについてと同じように、電極40a、40b、50a、及び50bは互いに共面上にあり、また全て概ね水平面30の中に配置されている。グラウンド面基板60と電極40a、40b、50a、及び50bの下面との間の距離は、図1及び図2を参照すればさらに示されているように、ほぼdに等しい。好ましい実施形態では、駆動電極及び感知電極40a、40b、50a、及び50bは、電気的絶縁層70によって厚さdの導電性グラウンド面基板60から分離されている。図2に示されているように、それぞれの電極40a、40b、50a、及び50bは対向するほぼ垂直の側壁41a及び41a’、41b及び41b’、51a及び51a’及び、51b及び51b’を有し、それぞれの側壁の高さはTである。側壁の高さTがx倍に増加すると、電極間の間隔Tが一定の場合、駆動電極と感知電極40及び50の間の電界密度は事実上、最大x分の1に減少することに注意されたい。例えば、全ての他の条件が一定であるとして、Tが1ミクロンから3ミクロンに増加すると、対向する駆動電極と感知電極との間の電界密度は1/2〜1/3に減少する。駆動電極及び感知電極40a、40b、50a、及び50bの側壁の高さTは約1ミクロンよりも大きいので、増加された表面積は、そのような側壁上で、そこから放射する又はそこで受け取られる電界線に関し、利用可能である。その結果、本発明は電界密度が減少することによりブレイクダウン電圧が増加した駆動電極及び感知電極を提供するという利点を有する。1つの実施形態では、駆動電極及び感知電極は、駆動電極及び感知電極に加わる電圧が約2,000ボルトRMSと約3,000ボルトRMSとの間の範囲にある場合、約400ボルト/ミクロンを超えない電界密度を有する。
駆動回路(図2には図示されていない)が、駆動電極40a及び40bの駆動入力に動作可能に接続され、一方受信回路が感知又は受信電極50a及び50bの受信出力に動作可能に接続される。駆動回路は、通信駆動信号を駆動電極40a及び40bを通して送信するように構成され、そして一方、受信回路は、駆動電極40a及び40bと感知電極50a及び50bとの間で送信される通信駆動信号を受信するように構成される。
図2への参照を続けると、駆動及び感知通信電極40a、40b、50a、及び50bがほぼ1つの平面30の中に配置され、容量性手段によってそれらの電極間でディジタル通信信号を送信するように動作可能に構成されかつ互いに関して関連付けられていることが分かる。好ましい実施形態では、電極の側壁の高さTが約1ミクロンを超え、感知電極及び駆動電極40a、40b、50a、及び50bが約1ミクロンを超える電極間の間隔Tによって分離され、かつこの電極間の間隔Tが厚さd以上である。幾つかの実施形態では、電極間の間隔Tが、電気的絶縁層70の厚さdよりも約1.5倍又は約2.0倍大きくすることができる。側壁の高さTは、約1ミクロンと約6ミクロンとの間、又は約1ミクロンと約3ミクロンの間に収まることができる。電極間の間隔Tも、約1ミクロンと約15ミクロンとの間に入ることができる。
通信駆動電極40と通信感知電極50との間の第1のブレイクダウン電圧は、約1分間加えた場合、約2,000ボルトRMS、約2,500ボルトRMS、又は約3,000ボルトRMSを超える。この第1のブレイクダウン電圧は、駆動電極とグラウンド面基板との間の第2のブレイクダウン電圧以上にすることもできる。UL(UNDERWRITERS LABORATORIES(商標))規格1577によれば、装置の絶縁性能又は能力に関する主要な試験は、ブレイクダウンすることなく高電圧の印加に耐える装置の能力である。UL1577で規定された試験では、装置の入力端子と出力端子との間に電圧(ac RMS又はDC)が1分間加えられる試験が行われる。耐電圧定格が約2,500Vrmsと約5,000Vrmsとの間に入ることは、そのような試験条件のもとでは極めて望ましい。
駆動電極及び感知電極40a、40b、50a、及び50bは、導電性の金属、合金、又は金属混合体から形成されることが好ましい。駆動電極及び感知電極40a、40b、50a、及び50bを形成するために使用される金属、合金、又は金属混合体は同じものとする、又は互いに異なるものとすることができ、また金、銀、銅、タングステン、スズ、アルミニウム及びアルミニウム−銅の中の任意の1つ以上の金属を含むことができる。好ましい実施形態では、駆動電極40a及び40b、及び感知電極又は受信電極50a及び50bは、当業者には周知のCMOS金属蒸着技術を用いて形成され、また電極間の間隔Tが、例えば高密度プラズマエッチング技術を用いて隣接する電極間の金属を制御してエッチングで取り除き、次にこの電極間の間隔Tによって定義された空間を半導体誘電材料、酸化シリコン、窒化シリコン、及び/又は厚い酸化物の中の1つ以上で充填することによって提供される。半導体誘電材料の中には空所は形成されないこと、またエッチング処理の間に金属層が不均等にエッチング除去されることに注意する必要がある。周知の高密度プラズマ(「HDP」)、オルトケイ酸テトラエチル(「TEOS」)、及びプラズマ助長窒化シリコン(Plasma Enhanced Silicon Nitride)(「PESN」)パシベーション技術も、構造体10を製造する場合に使用できる。
電気的絶縁層70は、従来のCMOS技術及び半導体誘電材料、酸化シリコン、窒化シリコン、及び/又は厚い酸化物の中の1つ以上の材料を用いて形成することができる。下側のグラウンド面基板60(又は図1のD)も、周知のCMOS技術を用いて形成されることが好ましく、また導電性であり、1つの実施形態では、シリコンなどの半導体の誘電材料から形成される。
本発明は、CMOS技術に限定されることはないことに注意されたい。それどころか、バイポーラ−CMOSプロセス、組み合わされたバイポーラ−CMOS−DMOS(BCD)プロセス、及び共面形電極40及び50、絶縁層70、及びグラウンド面基板60を形成するために使用できる任意の他の適当な半導体製造技術などの他の技術も検討され、そして本発明の範囲の中に含まれる。本発明の装置5及び10を、少なくとも部分的に、ポリイミド、プラスチック又は任意の他の適当なパッケージング又はモールディング材料の中にカプセル化することもできることに注意されたい。
ここで図3を参照すると、螺旋状に巻かれた電極の高電圧アイソレーション形の共面形水平コンデンサ構造体10の1つの実施形態が示されている。この実施形態では、駆動電極40が対応する感知電極50の周りに螺旋状に巻かれており、また駆動電極40がパッド45に電気的に接続されている(このパッド45は次に、図3には示されていない駆動回路(ドライバ回路)80に接続される)。高電圧アイソレーション用シールド65は、螺旋状に巻かれた電極40及び50を取り巻いて、それらの電極に対してある程度のEMI保護を行い、またさらに、他の電子部品に対して水平コンデンサ構造体10が発生した電界からの保護すなわちシールドを行う。2つ以上の水平コンデンサ構造体10を1つのパッケージ又はチップ5の中で使用して、完全差動式通信信号を駆動回路80によって送信しかつ受信器回路90によって受信することができ(図3には図示されていない)、また不要なノイズ及びアーチファクトの同相モード除去(「CMR」)機能を最大にすることができる。図2に示された実施形態におけるように、従来のCMOS技術は、図3の螺旋状に巻かれた電極の高電圧アイソレーション形の共面形水平コンデンサ構造体10を形成するために最も好適に使用することができる。
ここで図4を参照すると、交互配置された電極の高電圧アイソレーション形の共面形水平コンデンサ構造体10の1つの実施形態が示されている。この実施形態では、駆動電極40は、感知電極50の対応するフィンガと交互配置されたフィンガを有する。駆動電極40は、パッド45に電気的に接続されている(このパッド45は次に、図4には示されていない駆動回路80に接続される)。高電圧アイソレーション用シールド65は、交互配置された電極40及び50を取り囲んで、それらの電極に対してある程度のEMI保護を行い、またさらに、他の電子部品又は装置に対して構造体10が発生した電界からの保護すなわちシールドを行う。2つ以上の装置10を1つのパッケージ又はチップ5の中で使用して、完全差動通信信号を駆動回路80によって送信しかつ受信器回路90によって受信することができ(図4には図示されていない)、また不要なノイズ及びアーチファクトの同相モード除去(「CMR」)機能を最大にすることができることに注意されたい。図2に示された実施形態におけるように、従来のCMOS技術は、図4の交互配置された電極の高電圧アイソレーション形の共面形水平コンデンサ構造体10を形成するために最も好適に使用することができる。図4の水平コンデンサ構造体10は、それぞれの電極は互いに電気的に並列に接続されているが、複数の感知電極50と交互配置された複数の駆動電極40を具備していることに更に注意されたい。
図5は、高電圧アイソレーション半導体通信装置5の中で駆動回路80及び受信器回路90に関する機能的ブロック図の1つの実施形態を示している。図5では、入力通信信号が駆動回路80の入力Dinに与えられる。この駆動回路では、入力通信信号は入力フィルタ回路82によってフィルタ処理され、ドライバ・ウォッチドッグ84が提供する出力に加算され、ワイヤーボンド87及び89を通り境界88を超えて水平コンデンサ構造体10a及び10bに伝送される。駆動回路(ドライバ回路)86は、境界88を超えて通信信号を受信器回路90に送信する。CMR回路92によって提供される出力は、利得増幅器回路93にむけられ、この利得増幅器回路93は出力を比較器/RSフリップフロップ94及び95に送る。このフリップフロップの出力は次に遅延フィルタ回路96に向けられる。受信器回路90からの最終的な出力信号は、Rout101において出力バッファ99によって提供される。
図5に示されている実施形態では、駆動回路80及び受信器回路90は完全差動構成で動作し、この構成は、信号経路に存在する可能性がある望ましくない同相モード信号を除去する利点がある。図5に示されている実施形態は、高い同相モード除去性能を実現している。駆動回路80で発生された入力信号は、信号が進むに従ってアイソレーション境界88(これは機能的な観点からすると、図5には明確に図示していないが、隣接する駆動電極と感知電極との間に配置された電気的絶縁材料を含んでいる)を横切って送信され、好ましい実施形態では、完全差動形式で送信され、受信器回路90で復号される。水平コンデンサ構造体10a及び10b内の感知電極で受信される完全差動信号は、同相モード除去(「CMR」)回路92に向けられ、CMR抵抗98a及び98bを通る。図5に例示された実施形態では、CMR回路92は、水平コンデンサ構造体10a及び10bからの完全差動入力信号の同相モードレベルを調整する。しかしながら、本発明はその請求の範囲の中に、CMR回路92を持たない又はその回路に与えられる完全差動入力信号を有しない実施形態も含むことに注意されたい。
幾つかの実施形態は、ディジタル通信データを送信及び受信するために、また駆動電極及び感知電極40及び50の間の信号の転送を維持するために、一対の分離された共面形水平コンデンサ構造体10のみを備えることを特徴としていて、別個のデータリフレッシュコンデンサ回路を必要としない。図5に示されている受信器回路90は、駆動回路80から受信された信号を正確に復号し、かつ入力79に与えられた入力信号の忠実でまた極めて正確な再生バージョンを出力101に送るように構成されている。
図6は、データ出力信号がデフォルトでハイの状態になるときに、図5の回路80及び90が発生する波形を示し、一方図7は、データ出力信号がデフォルトでローの状態になるときに、図5の回路80及び90が発生する波形を示している。ここで図5〜図7を参照すると、比較器/RSフリップフロップ94及び95の出力は、回路93によって与えられた出力に基づいてセット及びリセットされる。駆動回路86は、ドライバ・ウォッチドッグ(ドライバ監視)回路84に動作可能に接続される。このドライバ・ウォッチドッグ回路84はパルスを受信器回路90に送信して、境界88を横切って送信された信号を保持するように構成され、それにより、受信器回路90によって受信された信号に関し、受信器回路90のDC状態が適切に保持される。図5に例示された実施形態では、受信器回路90内のDC状態が約2μsより長く維持される場合、「キープアライブ(keep alive)」パルスが駆動回路80のドライバ・ウォッチドッグ回路84から受信器回路90に送信される。図6及び図7で例示されているように、Routにおいて受信器回路90によって与えられる出力は、駆動回路がパワーアップされず、その結果「キープアライブ」パルスが駆動回路80から受信器回路90によって受信されない場合は、5μs後にデフォルトでハイの状態又はローの状態になる。
図5〜図7の参照を続けると、駆動回路80の送信機能は、入力フィルタ回路82、加算ブロック回路83、ドライバ・ウォッチドッグ回路84、及びシングル−差動駆動回路86によって行われることが分かる。入力フィルタ回路82は、受信器回路90の状態機械を混乱させないように、最小パルス幅が3ナノ秒のパルスを確実なものにするために使用される。駆動回路86によって行われるシングルエンドから差動への変換動作は、最小のスキューを用いて実行されることが好ましい。「キープアライブ」パルスを受信器回路90に送信することに加えて、ドライバ・ウォッチドッグ回路84は到来するデータ信号をモニタするために使用することもできる。
駆動回路80から境界88を通って送信されたデータは、利得増幅器93によって受信される場合に微分される。微分は、水平コンデンサ構造体10a及び10bの中の駆動電極及び感知電極40及び50の送信及び受信特性、及び受信器の同相モード抵抗98a及び98bの特性に基づいて発生する。受信器回路90によって最初に受信される信号の振幅は、水平コンデンサ構造体10a及び10b内の結合コンデンサCと、それに関連したそれぞれの寄生容量(Cpara)との比率によって設定される。受信器回路の入力の同相モードは、CMR回路92によって規定される。通常動作では、CMR回路92はゼロ電流を同相モード抵抗98a及び98bに送る。CMR動作の間は、大きな同相モード電流が増幅器91の出力端子に与えられたり引かれたりする。大きなdV/dT電流が、結合コンデンサCによって生成され、それとともに、駆動回路80と受信器回路90との間に生じるグラウンド電位差を変化させる。これらの回路は、好ましい実施形態では、それぞれ別個の集積回路(IC)から構成される。増幅器91の入力端子において適当な同相モード電圧を保持するためには、CMR回路92はCMR抵抗98a及び98bに補償電流を与える必要がある。
CMR回路92がない場合は、CMRの動作によっては、受信器回路90の感知電極における電圧をグラウンドまたはVDDに駆動することがある。そのようなシナリオでは、感知電極は、例えば結合コンデンサCの背面に接続されたダイオードによってクランプされることがある。入力がクランプされると、結果として全てのデータが失われることがある。
1つの実施形態では、CMR回路92は、25kV/μs以下の値によって特徴付けられたCMRの動作を補償するように設計される。これは、電流を強制的に受信器入力に入れる又はそこから取り出すことによって実現される。結果として、25kV/μsを超えないCMR動作が存在する中でデータを回復するように、受信器回路90を構成することができる。CMRの動作がそのようなしきい値を超えると、結果としてデータの損失又はエラーが生じる可能性がある。幾つかの実施形態では、装置10によって達成されるデータ通信速度は、最大約300メガビット/秒に達するか又はそれを超えることができる。この装置10では、ディジタルデータは、駆動回路80と受信器回路90との間を容量性手段によって転送される。
前述したように、HVICは、電力システム及び他の用途の中で、高電圧側の絶縁ゲートバイポーラトランジスタ(IGBT)に対してレベルシフト及びゲート駆動機能を提供するために使用される。従来技術のHVICによるゲート駆動は一般に、そのような高電圧のレベルシフト機能を実現するために、高電圧トランジスタを使用することを必要としている。図8は、こうした従来技術のゲート駆動回路の1つの実施例を示している。このHVICは浮動(フローティング)電源から離れて動作し、P側すなわち高電圧側のIGBT134に対してレベルシフト及びゲート駆動を行う。低電圧集積回路(LVIC)120のゲート駆動回路は、低電圧側の電源Vccから離れて動作し、N側すなわち低電圧側のIGBT123にゲート駆動信号を与える。Vccは一般に+15ボルトであるが、特定の用途や当面の回路に基づいて、任意の適当な又は好適な値にすることができることは無論である。図8に例示されたHVICが動作している間は、P側の入力信号は、ワンショットパルス発生器131を通るように向けられる。このパルス発生器131は、138における高電圧レベルシフトMOSFETのHVN1及びHVN2に対してターンオン・パルスを発生するように構成されている。次に、トランジスタHVN1及びHVN2は、高電圧側のドライバ・ラッチ136への入力をローに引いて、P側IGBT134に対するゲート駆動信号をセットおよびリセットする。
図8に示されている回路に関する1つの欠点は、138における高電圧トランジスタHVN1及びHVN2がレベルシフト動作に使用されるため、SOI技術を使用して行われる高電圧の製造工程が必要とされることである。そのような工程は複雑で高価であるため、従来のゲート・ドライバはコストが非経済的な技術になる。その上、ゲート・ドライブの低電圧側と高電圧側との間の高い電圧ストレスのレベルが増加するため、対応するより高い電圧工程への移行が必要なため、結果として製造費用がさらに高くなる。
図9に示されているように、幾つかの従来技術のゲート駆動回路では、高電圧側のゲート・ドライブに対する浮動電源が、外部のブートストラップ回路140によって与えられる。この種の回路は通常、ピーク充電電流を制限するための小さい直列抵抗141が付いた急速回復ブートストラップ・ダイオード142と、浮動電源を保持するためのリザーバ・コンデンサ143を備えている。低電圧側IGBTがオンに切り換えられると、浮動電源用のリザーバ・コンデンサ143がブートストラップ・ダイオード142を通して充電される。低電圧側のIGBTがオフに切り換えられると、リザーバ・コンデンサ143に蓄えられたエネルギーが高電圧側のゲート・ドライブ134に対して電力を供給する。電力消費を減らすために、ゲート・ドライブ146及びその関連するレベルシフト・トランジスタと論理回路に与えられる電流は、浮動電源から供給される電流を低く保つために制限され、これは今度は、ゲート・ドライブの速度を損なうことになる。その結果、それらを製造するために一般的に使用される高価で複雑なSOI製造技術に加えて、従来技術のHVICゲート駆動回路の性能特性は最適なものではない。
前述された従来技術の回路及び方法に対する代案は、高電圧ゲート駆動回路に容量性アイソレーション技術を用いることである。この技術では、信号が入力の低電圧側から容量性アイソレーション障壁を通って、IGBTのゲート電圧を制御する高電圧側のゲート・ドライブに送られる。そのような代案では、レベルシフト機能を与える手段として高価な又は遅い高電圧トランジスタを使用する必要性が取り除かれる。1つの実施形態によれば、容量性アイソレーション回路は、単純でかつ費用効果が高い標準的なCMOS工程又は関連する製造工程を用いて提供される。このことは、高価で複雑な処理を必要とするSOIなどの高電圧工程を用いて製造された従来のゲート駆動回路を用いてレベルシフト機能を提供するような、従来技術の方法とは対照的である。
容量性アイソレーションを使用する高電圧ゲート駆動回路150の1つの実施形態が、図10に示されている。この実施形態では、高電圧アイソレーションが、標準的なCMOS工程を用いて製造された金属対金属層を用いて構成されたコンデンサ10a〜13bによって提供される。上記で詳細に説明されたように、共面キャパシタンスが、隣接する金属層の側壁間の水平結合によって提供される。金属がコンデンサを構成するために上層のみに使用される場合、金属層から基板への寄生容量が最小にされ、これにより信号がアイソレーション障壁を通って送信されるときに結合が最大にされる。そのような容量性アイソレーション障壁の構成は、信号を障壁を越えて転送するための幾つかの技術と同様に、上記に詳細に説明されている。
図10の参照を続けると、1つの実施形態では、システムの低電圧側80は、入力グリッチ・フィルタ82、低電力発振器81、及び一対の論理ドライバ84a及び84bを備えている。入力信号は最初、グリッチ、スパイク、又は他の入力信号に含まれる可能性のある、望まれていない異常を除くために、グリッチ・フィルタ82を通るように向けられる。次に、フィルタ処理された信号は、相補的な方法で論理ドライバ84a及び84bのそれぞれの入力を駆動する。それぞれの論理ドライバの別の入力は、発振器81によって駆動される。回路80の中で使用される特定の入力論理によって決まるが、発振器の出力は、論理ゲートの1つだけの出力に現れる。論理ゲートの1つだけの出力がイネーブルにされるため、いつでも上側対のコンデンサ(すなわち、10a/10b及び11a/11b)又は下側対のコンデンサ(すなわち、12a/12b及び13a/13b)の1つだけが駆動される。その結果、容量性アイソレーション障壁88を横切って結合された信号は、入力の論理レベルに基づいて微分される。各チャネルの信号結合に一対のコンデンサを使用することによって、優れた同相モード除去特性が提供される。
図10に示された回路の実施形態では、システムの高電圧側90は、整流器101a/101b及び比較器104a/104bの対、R−Sラッチ105、出力ゲート・ドライバ段106、及び基準バイアスブロック103から構成される。アイソレーション障壁88を通して接続された発振器の出力信号は、整流及びフィルタ処理される。それぞれの比較器104a及び104bは、結合された信号を基準レベル電圧と比較する。結合された信号の振幅が十分に高くなり、そして所定の基準レベルを超えると、比較器が動作して、その出力状態が切り換えられる。次に、それぞれの比較器の出力は、ラッチ105のリセット入力およびセット入力を駆動する。RSフリップフロップ105の出力は次に、出力ゲート駆動段106を駆動する。
図11は、高電圧側90に接続される信号に対する整流及び感知回路の1つの実施形態を示している。発振が発生されないとき、同相モードの基準レベルがVGSNに設定されるため、VSENSEは0ボルト近くにバイアスされる。これにより、消費される電流が減少される。同時に、比較器の出力は、論理ローのデフォルト状態になる。発振が行われると、ソース・フォロワとして構成されたMOSFET161及び162は、入力された発振が全波整流されたバージョンになるようにVSENSEを駆動する。抵抗163とコンデンサ164は単純な低域通過フィルタを形成して、信号比較を行うためにVSENSE信号をフィルタ処理する。この低域通過フィルタは、リップルを比較器104a又は104bのヒステリシスレベル以下にフィルタ処理するように構成され、それにより、チャタリングを避けることが最も好ましい。フィルタ処理されたVSENSE電圧レベルが基準レベルを超えると、比較器の出力は状態を変化するように構成される。次に比較器の出力は、R−Sラッチ105の状態をセットまたはリセットする。このラッチ105は続いて、ゲート・ドライブを駆動する。高電圧及び低電圧状態を符号化するために2つのチャネルを使用するので、DC情報がアイソレーション障壁を通って保存されるため、DCリフレッシュ回路は必要ではない。ゲート・ドライバが主に低い周波数で動作するため、高周波の同相モードの過渡現象が注入されても、システムに対する同相モードの妨害が自然にフィルタ処理される。その結果、同相モードの増幅器の設計に対する要求事項をかなり楽にすることができ、このことは今度は、低電力回路を受信器側で使用できるようにする。1つの重要な設計目標は、回路の高電圧側における電流消費を低く保ち、ゲート・ドライブの高電圧側用のブートストラップ電力回路の単純でしかも効率的な設計を実現可能にすることである。
前述された容量性アイソレーション回路及び方法は、従来のゲート駆動回路及び方法を超越した重要な利点を提供する。第1に、コンデンサ構造の選択が、全体的なシステム設計に対して重要である。どのようなモノリシックコンデンサ構造体も、コンデンサの底板と基板との間に寄生容量があることを特徴にしている。寄生容量が信号損失の原因になるため、対応する寄生容量が小さい構造を使用することが望ましい。上部金属層のみを有する共面コンデンサ構造の場合は、寄生容量が上レベルの金属層と基板との間で最も重要である。これに反して、幾つかの縦方向に重ねられた金属層を含む積層コンデンサでは、寄生容量は主に最低部の金属層と基板との間に生ずる。共面コンデンサ内の上部金属層と基板との間の距離が、縦方向の積層コンデンサ内の最低部の金属層と基板との間の距離よりも相当に大きいため、本願で開示された構造の共面の寄生容量は非常に小さい。結果として、共面コンデンサは、縦方向に積層されたコンデンサに比べて優れた信号伝送利得を提供する。信号伝送利得が高いことにより、受信器回路の設計を単純化することができ、このことは次に電力消費を減少させ、また任意の関連したブートストラップ電力回路の設計も単純化するのに役立つ。
第2は、回路の高電圧側の電力損失をさらに減少するために、高電圧側に送信される駆動信号の強度を改善することができる。これは、チャージポンプ回路を通して発振器の電圧を増大する電圧によって実現することができる。そうすることで、アイソレーション障壁を通して送られる駆動信号は、n倍に増大される。ここで、nはチャージポンプ回路の電圧利得であり、1よりも大きい。高電圧側でより高い信号レベルを有することは、回路の受信器側の信号処理回路を単純にすると共に、これにより受信器回路を低電力にすることができることを意味する。より高い信号レベルにより、ブートストラップ電力回路の設計も単純にすることができる。
第3は、2つの通信チャネルが図10に示されているが、1つ以上の付加的な通信チャネルを最小の増分費用で加えることができるため、1つ以上の付加的な論理状態をアイソレーション障壁を超えて送信することができる。例えば、この付加的な論理状態を使用して、高電圧側でHiZ状態を符号化することができる。従来のゲート駆動回路の中でそのような付加的な論理状態を実行する場合、高電圧トランジスタの追加の対が必要であり、このことは次には回路の領域が増加しまた製造費用がより高くなる。
第4は、アイソレーション・キャパシタンス回路が、高電圧のレベルシフト・トランジスタではなく信号転送媒体として使用されるため、反対方向に、すなわち、回路の高電圧側から低電圧側に戻るように信号を転送することが可能である。例えば、フィードバック及び/又は故障状態を示す信号を、関連した回路の高電圧側から回路の低電圧側に戻るように転送することができる。コンデンサが双方向トランスジューサとして動作できるため、そのようなフィードバック構成は、回路の高電圧側に順方向に信号を送信するために使用されたものと同じ対の信号コンデンサを共有することができる。別の方法では、付加的な対のコンデンサを最小の費用で回路に加えて、回路の高電圧側からフィードバック情報を提供することができる。そのような機能は、従来のゲート駆動回路において実行することは不可能であるか又は極めて困難である。何故なら、高電圧トランジスタによって与えられる従来のレベルシフト機能は一方向のみ(すなわち、低電圧側から高電圧側)に働くからである。
本願で開示された発明の種々の実施形態により、これらに限定されることはないが、回路の性能が改良されたこと、パッケージ又はチップが一層小型にされたこと、消費電力が小さくなったこと、データ送信速度がより速くなったこと、及び性能を犠牲にすることなく製造費用を著しく低下させたことを含む幾つかの利点が提供されることは、ここで当業者には明らかになるであろう。
本願で使用される「垂直」又は「水平」という用語は、コンデンサの面が下側又は上側のグラウンド面基板60に関係するとき、そのコンデンサの面の相対的な向きを指すつもりであることに注意されたい。このため、本発明の教義に基づいて作られた装置が、実際に、1つの面内に配置された共面ディジタルデータ通信電極を有し、またこの1つの面の向きが垂直であるが、グラウンド面基板に対しては平行であるかほぼ平行である場合は、そのような装置は本発明の範囲に含まれるものとする。
本願で説明された種々の部品、装置及びシステムを作る方法及びそれらを作った方法が、本発明の請求の範囲の中に含まれることにさらに注意されたい。
前述された実施形態は、本発明の範囲を限定するものではなく、本発明の実施例として考えるべきである。本発明の前述の実施形態に加えて、詳細な説明及び添付した図面を見直すと、本発明の別の実施形態が存在することが分かるであろう。従って、明示的に本願に記載されていない本発明の前述した実施形態の多くの組合せ、置き換え、変更、及び修正は、本発明の範囲の中に含まれるものとする。
5 高電圧アイソレーション半導体通信装置
10a、10b 水平コンデンサ構造体
79 入力
80 駆動回路
82 入力フィルタ回路
83 加算ブロック回路
84 ドライバ・ウォッチドッグ回路
86 駆動回路
88 境界
90 受信器回路
91 増幅器
92 CMR回路
93 利得増幅器回路
94、95 比較器/RSフリップフロップ
96 遅延フィルタ回路
98a、98b CMR抵抗
99 出力バッファ
101 Rout

Claims (34)

  1. 回路の低電圧部に接続された駆動入力を有し、第1の導電性の金属、合金、又は金属混合体から形成された少なくとも1つの駆動電極と、
    前記回路の高電圧部に接続された感知出力を備え、第2の導電性の金属、合金、又は金属混合体から形成された少なくとも1つの感知電極と、
    電気的絶縁層によって前記駆動電極及び前記感知電極から間隔を空けて配置された導電性グラウンド面基板と、
    前記低電圧部の一部を形成すると共に前記高電圧駆動回路に与えられる入力信号を受信するように構成され、前記駆動入力に動作可能に接続されかつ前記入力信号に基づいて駆動信号を送信するように構成された駆動回路と、
    前記高電圧部の一部を形成すると共に前記感知出力に動作可能に接続され、前記駆動電極と前記感知電極との間に送信された前記駆動信号を受信するようにかつ絶縁ゲートバイポーラトランジスタ(IGBT)を駆動するに十分な振幅と電力とを有する少なくとも1つのゲート駆動出力信号を提供するように構成された受信回路と、
    を具備し、
    前記駆動電極と前記感知電極とは、実質的に1つの面内に配置され、容量性手段によって前記電極間で駆動信号を送信するように動作可能に構成されかつ互いに関して関連付けられ、前記ゲート駆動回路は非シリコン・オン・インシュレータCMOS集積回路であり、かつ前記回路の前記低電圧部と前記高電圧部との間の高電圧アイソレーションは、前記駆動電極と前記感知電極とによって提供される、高電圧駆動回路。
  2. 前記低電圧部が、入力信号をフィルタ処理するように構成されたグリッチ・フィルタをさらに備えている、請求項1に記載の高電圧駆動回路。
  3. 前記低電圧部が、出力発振器信号を提供するように構成された発振器回路をさらに備えている、請求項1に記載の高電圧駆動回路。
  4. 前記出力発振器信号の電圧を増大し、これにより前記駆動信号を増幅するように構成されたチャージポンプ回路をさらに備えている、請求項3に記載の高電圧駆動回路。
  5. 前記少なくとも1つの駆動電極と前記少なくとも1つの感知電極とが、複数の駆動チャネルを形成する、駆動電極と感知電極との複数の対を備えている、請求項1に記載の高電圧駆動回路。
  6. 前記少なくとも1つの駆動電極と前記少なくとも1つの感知電極とが、第1及び第2の駆動チャネルを形成する、駆動電極と感知電極との第1及び第2の対を備えている、請求項1に記載の高電圧駆動回路。
  7. 前記低電圧部が、駆動電極と感知電極との前記第1及び第2の対を駆動するように構成された一対の論理ドライバ回路をさらに備えている、請求項6に記載の高電圧駆動回路。
  8. 前記論理ドライバ回路が相補形であり、かつ電極の前記第1及び第2の対を交互に駆動するようにさらに構成されている、請求項7に記載の高電圧駆動回路。
  9. 前記相互に駆動される相補形の論理ドライバ回路が、前記第1の駆動チャネルと前記第2の駆動チャネルとの間の同相モード除去を増大するように構成されている、請求項8に記載の高電圧駆動回路。
  10. 前記高電圧部が、前記電極の第1及び第2の対によって提供される第1及び第2の感知電極の出力をそれぞれ受信するように構成された第1及び第2の整流器をさらに備えている、請求項6に記載の高電圧駆動回路。
  11. 前記第1及び第2の整流器の少なくとも1つが、少なくとも1つのMOSFETのソース・フォロワを備えている、請求項10に記載の高電圧駆動回路。
  12. 前記少なくとも1つのMOSFETのソース・フォロワによって提供される出力信号をフィルタ処理するように構成された低域通過フィルタをさらに備え、前記出力信号の中に存在するリップルを除去又は低減する、請求項11に記載の高電圧駆動回路。
  13. 前記第1及び第2の整流器に動作可能に接続されて、それぞれ第1及び第2の整流器出力を受信する第1及び第2の比較器をさらに備えている、請求項10に記載の高電圧駆動回路。
  14. 前記第1及び第2の比較器が、前記発振器の出力信号を基準電圧と比較するための手段をそれぞれ備えている、請求項13に記載の高電圧駆動回路。
  15. 前記第1及び第2の比較器によって提供される出力状態が、前記発振器の出力信号と前記基準電圧との間の比較に基づいてトグルする又はトグルしないように構成されている、請求項14に記載の高電圧駆動回路。
  16. 前記第1及び第2の比較器からの第1及び第2の比較器出力を受信するように構成されたRSラッチをさらに備えている、請求項13に記載の高電圧駆動回路。
  17. 前記第1及び第2の比較器の出力が、前記RSラッチのセット入力とリセット入力とを駆動する、請求項16に記載の高電圧駆動回路。
  18. 前記受信回路が、出力ゲート・ドライバ段をさらに備えている、請求項1に記載の高電圧駆動回路。
  19. ブートストラップ形電源回路をさらに備えている、請求項1に記載の高電圧駆動回路。
  20. 前記少なくとも1つの駆動電極と前記少なくとも1つの感知電極との間の第1のブレイクダウン電圧が、約1分間加えられたとき、約2,000ボルトRMSを超える、請求項1に記載の高電圧駆動回路。
  21. 前記第1のブレイクダウン電圧が、約1分間加えられたとき、約2,500ボルトRMSを超える、請求項20に記載の高電圧駆動回路。
  22. 前記第1のブレイクダウン電圧が、約1分間加えられたとき、約3,000ボルトRMSを超える、請求項20に記載の高電圧駆動回路。
  23. 前記第1のブレイクダウン電圧が、前記駆動電極と前記グラウンド面基板との間の第2のブレイクダウン電圧以上である、請求項20に記載の高電圧駆動回路。
  24. 前記駆動電極と前記感知電極との間の電極間間隔Tが、電気的絶縁層の厚さdよりも少なくとも約1.5倍よりも大きい、請求項1に記載の高電圧駆動回路。
  25. 前記第1及び第2の金属、合金、又は金属混合体が、金、銀、銅、タングステン、スズ、アルミニウム、及びアルミニウム−銅のうちの1つ以上を含む、請求項1に記載の高電圧駆動回路。
  26. 前記電気的絶縁層が、半導体誘電材料、酸化シリコン、窒化シリコン、及び厚い酸化物のうちの1つ以上を含む、請求項1に記載の高電圧駆動回路。
  27. 前記導電性グラウンド面基板が、半導体誘電材料又はシリコンから形成される、請求項1に記載の高電圧駆動回路。
  28. 前記電気的絶縁材料が、半導体誘電材料、酸化シリコン、窒化シリコン、及び厚い酸化物のうちの1つ以上を含む、請求項14に記載の高電圧駆動回路。
  29. 前記駆動及び感知電極、前記電気的絶縁層、及び前記グラウンド面基板が、CMOSプロセス、バイポーラ−CMOSプロセス、及び組み合わされたバイポーラ−CMOS−DMOS(BCD)プロセスのうちの1つ以上を用いて製造される、請求項1に記載の高電圧駆動回路。
  30. 前記回路が、ポリイミド又はプラスチックの中に少なくとも部分的にカプセル化される、請求項1に記載の高電圧駆動回路。
  31. 前記駆動回路及び受信回路が集積回路の中に組み込まれる、請求項1に記載の高電圧駆動回路。
  32. 前記受信回路が、同相モード除去(CMR)回路をさらに備えている、請求項1に記載の高電圧駆動回路。
  33. 前記装置が、前記駆動回路と前記受信回路との間でデータを最大約300メガビット/秒の速度で転送するように構成されている、請求項1に記載の高電圧駆動回路。
  34. 高電圧駆動回路を作製する方法であって、
    前記回路の低電圧部に接続された駆動入力を有し、第1の導電性の金属、合金、又は金属混合体から形成された少なくとも1つの駆動電極を設けるステップと、
    前記回路の高電圧部に接続された感知出力を有し、第2の導電性の金属、合金、又は金属混合体から形成された少なくとも1つの感知電極を設けるステップと、
    電気的絶縁層によって前記駆動電極及び前記感知電極から間隔を空けて配置された導電性グラウンド面基板を設けるステップと、
    前記低電圧部の一部を形成すると共に前記高電圧駆動回路に提供される入力信号を受信するように構成され、前記駆動入力に動作可能に接続されかつ前記入力信号に基づいて駆動信号を送信するように構成された駆動回路を設けるステップと、
    前記高電圧部の一部を形成すると共に前記感知出力に動作可能に接続され、前記駆動電極と前記感知電極との間で送信される駆動信号を受信するようにかつ絶縁ゲートバイポーラトランジスタ(IGBT)を駆動するに十分な振幅と電力とを有する少なくとも1つのゲート駆動出力信号を提供するように構成され受信回路を設けるステップと、
    を含み、
    前記駆動電極と前記感知電極とは、実質的に1つの面内に配置され、容量性手段によって前記電極間で駆動信号を転送するように動作可能に構成されかつ互いに関して関連付けられ、前記ゲート駆動回路は、非シリコン・オン・インシュレータCMOS集積回路であり、かつ前記回路の前記低電圧部と前記高電圧部との間の高電圧アイソレーションは、前記駆動電極と前記感知電極とによって提供される、方法。
JP2009150903A 2008-06-27 2009-06-25 容量性信号結合を用いた高電圧駆動回路及び関連する装置及び方法 Expired - Fee Related JP5148562B2 (ja)

Applications Claiming Priority (2)

Application Number Priority Date Filing Date Title
US12/163,275 2008-06-27
US12/163,275 US7741896B2 (en) 2008-02-15 2008-06-27 High voltage drive circuit employing capacitive signal coupling and associated devices and methods

Publications (2)

Publication Number Publication Date
JP2010016815A true JP2010016815A (ja) 2010-01-21
JP5148562B2 JP5148562B2 (ja) 2013-02-20

Family

ID=40940918

Family Applications (1)

Application Number Title Priority Date Filing Date
JP2009150903A Expired - Fee Related JP5148562B2 (ja) 2008-06-27 2009-06-25 容量性信号結合を用いた高電圧駆動回路及び関連する装置及び方法

Country Status (3)

Country Link
US (1) US7741896B2 (ja)
JP (1) JP5148562B2 (ja)
GB (1) GB2461156B (ja)

Cited By (3)

* Cited by examiner, † Cited by third party
Publication number Priority date Publication date Assignee Title
JP2010206798A (ja) * 2009-03-03 2010-09-16 Avago Technologies Ecbu Ip (Singapore) Pte Ltd 高電圧絶縁デュアルキャパシタ通信システム
JP2014060602A (ja) * 2012-09-18 2014-04-03 Renesas Electronics Corp 半導体装置
JP2015046549A (ja) * 2013-08-29 2015-03-12 三菱電機株式会社 半導体装置

Families Citing this family (38)

* Cited by examiner, † Cited by third party
Publication number Priority date Publication date Assignee Title
US9405408B2 (en) 2010-01-15 2016-08-02 Creator Technology B.V. Trace pattern for touch-sensing application
US9705495B2 (en) 2010-01-15 2017-07-11 Creator Technology B.V. Asymmetric sensor pattern
US20110206328A1 (en) * 2010-02-25 2011-08-25 Emcore Corporation Optoelectronic module with emi shield
US9470059B2 (en) * 2011-09-20 2016-10-18 Saudi Arabian Oil Company Bottom hole assembly for deploying an expandable liner in a wellbore
EP2758624A2 (en) 2011-09-20 2014-07-30 Saudi Arabian Oil Company Permeable lost circulation drilling liner
US8847631B2 (en) 2011-12-23 2014-09-30 General Electric Company High speed low loss gate drive circuit
US8861145B2 (en) 2012-07-19 2014-10-14 Honeywell International Inc. Circuit with motor driver spike suppression
US8975914B2 (en) * 2012-09-04 2015-03-10 Silicon Laboratories Inc. Isolation receiver
WO2014057318A1 (en) 2012-10-10 2014-04-17 Freescale Semiconductor, Inc. Method and apparatus for providing electrical isolation
US9467060B2 (en) * 2013-04-03 2016-10-11 Nxp B.V. Capacitive level shifter devices, methods and systems
US8896377B1 (en) * 2013-05-29 2014-11-25 Nxp B.V. Apparatus for common mode suppression
US9543942B2 (en) 2013-11-22 2017-01-10 Nxp Usa, Inc. Method and apparatus for controlling an IGBT device
CN104135274A (zh) * 2014-06-26 2014-11-05 中国电子科技集团公司第十四研究所 一种电磁耦合式大功率驱动电路
US10536309B2 (en) 2014-09-15 2020-01-14 Analog Devices, Inc. Demodulation of on-off-key modulated signals in signal isolator systems
US10270630B2 (en) 2014-09-15 2019-04-23 Analog Devices, Inc. Demodulation of on-off-key modulated signals in signal isolator systems
US9998301B2 (en) * 2014-11-03 2018-06-12 Analog Devices, Inc. Signal isolator system with protection for common mode transients
US9912327B2 (en) 2015-03-18 2018-03-06 Peregrine Semiconductor Corporation Dead time control circuit for a level shifter
US9484897B2 (en) 2015-03-18 2016-11-01 Peregrine Semiconductor Corporation Level shifter
JP6688986B2 (ja) * 2015-08-18 2020-04-28 パナソニックIpマネジメント株式会社 信号伝送回路
US20170279449A1 (en) * 2016-03-25 2017-09-28 Infineon Technologies Americas Corp. Single-Chip High Speed and High Voltage Level Shifter
US9654087B1 (en) * 2016-06-09 2017-05-16 Infineon Technologies Austria Ag Level shifter circuit
US9847348B1 (en) 2016-12-20 2017-12-19 Peregrine Semiconductor Corporation Systems, methods and apparatus for enabling high voltage circuits
US10324144B2 (en) 2016-12-20 2019-06-18 Infineon Technologies Austria Ag Lateral transmission of signals across a galvanic isolation barrier
DE102017002573B4 (de) * 2017-03-16 2019-07-04 Infineon Technologies Ag Überspannungsschutz
US10672726B2 (en) 2017-05-19 2020-06-02 Psemi Corporation Transient stabilized SOI FETs
US10276371B2 (en) 2017-05-19 2019-04-30 Psemi Corporation Managed substrate effects for stabilized SOI FETs
US10348293B2 (en) 2017-06-19 2019-07-09 Psemi Corporation Timing controller for dead-time control
US10116297B1 (en) 2017-06-19 2018-10-30 Psemi Corporation DC-coupled high-voltage level shifter
CN107483034B (zh) * 2017-07-13 2021-12-17 江苏广义牵引技术研究所有限公司 大功率igbt驱动控制器及控制方法
CN108020792B (zh) * 2017-12-07 2020-04-07 荣湃半导体(上海)有限公司 一种信息检测电路及方法
TWI702780B (zh) 2019-12-03 2020-08-21 財團法人工業技術研究院 提升共模瞬變抗擾度的隔離器及訊號產生方法
US11539559B2 (en) 2020-10-08 2022-12-27 Skyworks Solutions, Inc. Demodulator for an isolation communication channel for dual communication
US11888658B2 (en) 2020-10-08 2024-01-30 Skyworks Solutions, Inc. Transmitter for dual communication over an isolation channel
US11575305B2 (en) * 2020-10-08 2023-02-07 Skyworks Solutions, Inc. Interface for passing control information over an isolation channel
JP7686394B2 (ja) * 2020-12-24 2025-06-02 ローム株式会社 ゲートドライバ
US12122251B2 (en) 2022-09-28 2024-10-22 BorgWarner US Technologies LLC Systems and methods for bidirectional message architecture for inverter for electric vehicle
WO2024069426A1 (en) * 2022-09-28 2024-04-04 Delphi Technologies Ip Limited Systems and methods for galvanic interface bond detection for inverter for electric vehicle
WO2024069368A1 (en) * 2022-09-28 2024-04-04 Delphi Technologies Ip Limited Systems and methods for galvanic isolation for inverter for electric vehicle

Citations (4)

* Cited by examiner, † Cited by third party
Publication number Priority date Publication date Assignee Title
JPS5546594A (en) * 1978-09-28 1980-04-01 Siemens Ag Monolithic integrated circuit with high dielectric strength
JPH11317445A (ja) * 1998-02-27 1999-11-16 Hitachi Ltd アイソレ―タ及びそれを用いるモデム装置
WO1999066557A1 (en) * 1998-06-18 1999-12-23 Hitachi, Ltd. Semiconductor device
JP2003339168A (ja) * 2002-05-22 2003-11-28 Hitachi Ltd 絶縁駆動型インバータ装置

Family Cites Families (33)

* Cited by examiner, † Cited by third party
Publication number Priority date Publication date Assignee Title
NL8303441A (nl) * 1983-10-07 1985-05-01 Philips Nv Geintegreerde schakeling met komplementaire veldeffekttransistors.
US4989127A (en) * 1989-05-09 1991-01-29 North American Philips Corporation Driver for high voltage half-bridge circuits
US5561393A (en) * 1992-02-03 1996-10-01 Fuji Electric Co., Ltd. Control device of semiconductor power device
US5444600A (en) 1992-12-03 1995-08-22 Linear Technology Corporation Lead frame capacitor and capacitively-coupled isolator circuit using the same
JPH07161992A (ja) * 1993-10-14 1995-06-23 Fuji Electric Co Ltd 絶縁ゲート型バイポーラトランジスタ
US5693971A (en) 1994-07-14 1997-12-02 Micron Technology, Inc. Combined trench and field isolation structure for semiconductor devices
US5625265A (en) 1995-06-07 1997-04-29 Kollmorgen Corporation Compact, high efficiency electronic motor controller with isolated gate drive for power transistors
US5693871A (en) 1996-07-12 1997-12-02 The United States Of America As Represented By The Administrator Of The National Aeronautics And Space Administration Low differential pressure generator
US6137827A (en) 1997-04-22 2000-10-24 Silicon Laboratories, Inc. Isolation system with digital communication across a capacitive barrier
US6215377B1 (en) 1998-05-26 2001-04-10 Microsubstrates Corporation Low cost wideband RF port structure for microwave circuit packages using coplanar waveguide and BGA I/O format
US6167475A (en) 1998-07-06 2000-12-26 International Business Machines Corporation Data transfer method/engine for pipelining shared memory bus accesses
JP3419369B2 (ja) 1999-02-15 2003-06-23 株式会社村田製作所 非可逆回路素子
US6320532B1 (en) 1999-05-27 2001-11-20 Rosemount Inc. Low power radar level transmitter having reduced ground loop errors
EP1292027B1 (en) * 2000-05-18 2011-07-13 Mitsubishi Denki Kabushiki Kaisha Power semiconductor device
JP4089143B2 (ja) * 2000-08-30 2008-05-28 三菱電機株式会社 電力用半導体装置
DE10104584A1 (de) * 2001-02-01 2002-08-22 Gsf Forschungszentrum Umwelt Medane-Gene und- Proteine
US6489850B2 (en) 2001-03-16 2002-12-03 International Business Machines Corporation Crosstalk suppression in differential AC coupled multichannel IC amplifiers
US7016490B2 (en) 2001-05-21 2006-03-21 Conexant Systems, Inc. Circuit board capacitor structure for forming a high voltage isolation barrier
US6538313B1 (en) 2001-11-13 2003-03-25 National Semiconductor Corporation IC package with integral substrate capacitor
US6661079B1 (en) 2002-02-20 2003-12-09 National Semiconductor Corporation Semiconductor-based spiral capacitor
EP1355316B1 (en) 2002-04-18 2007-02-21 Innovative Silicon SA Data storage device and refreshing method for use with such device
US6944009B2 (en) 2003-02-11 2005-09-13 Oplink Communications, Inc. Ultra broadband capacitor assembly
WO2004073065A1 (ja) * 2003-02-14 2004-08-26 Hitachi, Ltd. 半導体素子駆動用集積回路及び電力変換装置
US7379037B2 (en) * 2003-03-26 2008-05-27 Ngk Insulators, Ltd. Display apparatus, method of driving display apparatus, electron emitter, method of driving electron emitter, apparatus for driving electron emitter, electron emission apparatus, and method of driving electron emission apparatus
US6960945B1 (en) * 2003-05-15 2005-11-01 Wayne Bonin High-performance drive circuitry for capacitive transducers
US6992387B2 (en) 2003-06-23 2006-01-31 Intel Corporation Capacitor-related systems for addressing package/motherboard resonance
US7136274B2 (en) 2004-10-28 2006-11-14 Motorola, Inc. Embedded multilayer printed circuit
WO2006050446A1 (en) 2004-11-02 2006-05-11 Sun Microsystems, Inc. Structures and methods for proximity communication using bridge chips
JP2006211070A (ja) 2005-01-26 2006-08-10 Hirose Electric Co Ltd 多層配線基板
US7236041B2 (en) 2005-08-01 2007-06-26 Monolithic Power Systems, Inc. Isolated gate driver circuit for power switching devices
KR100814904B1 (ko) 2005-12-06 2008-03-19 한국전자통신연구원 칩 내부 회로 간의 데이터 전송을 위한 통신 시스템
KR100653653B1 (ko) 2005-12-12 2006-12-06 한국전자통신연구원 수십㎓ 대역에서 rf의 진행방향을 변경할 수 있도록개선된 코플래너 웨이브가이드 및 이를 적용한 광통신용모듈
US9019057B2 (en) 2006-08-28 2015-04-28 Avago Technologies General Ip (Singapore) Pte. Ltd. Galvanic isolators and coil transducers

Patent Citations (4)

* Cited by examiner, † Cited by third party
Publication number Priority date Publication date Assignee Title
JPS5546594A (en) * 1978-09-28 1980-04-01 Siemens Ag Monolithic integrated circuit with high dielectric strength
JPH11317445A (ja) * 1998-02-27 1999-11-16 Hitachi Ltd アイソレ―タ及びそれを用いるモデム装置
WO1999066557A1 (en) * 1998-06-18 1999-12-23 Hitachi, Ltd. Semiconductor device
JP2003339168A (ja) * 2002-05-22 2003-11-28 Hitachi Ltd 絶縁駆動型インバータ装置

Cited By (5)

* Cited by examiner, † Cited by third party
Publication number Priority date Publication date Assignee Title
JP2010206798A (ja) * 2009-03-03 2010-09-16 Avago Technologies Ecbu Ip (Singapore) Pte Ltd 高電圧絶縁デュアルキャパシタ通信システム
JP2014060602A (ja) * 2012-09-18 2014-04-03 Renesas Electronics Corp 半導体装置
US9641000B2 (en) 2012-09-18 2017-05-02 Renesas Electronics Corporation Semiconductor device
JP2015046549A (ja) * 2013-08-29 2015-03-12 三菱電機株式会社 半導体装置
DE102014212521B4 (de) * 2013-08-29 2020-03-12 Mitsubishi Electric Corporation Halbleitervorrichtungen

Also Published As

Publication number Publication date
GB2461156A (en) 2009-12-30
US20090206817A1 (en) 2009-08-20
JP5148562B2 (ja) 2013-02-20
GB0910389D0 (en) 2009-07-29
US7741896B2 (en) 2010-06-22
GB2461156B (en) 2010-08-18

Similar Documents

Publication Publication Date Title
JP5148562B2 (ja) 容量性信号結合を用いた高電圧駆動回路及び関連する装置及び方法
JP5255583B2 (ja) 高電圧絶縁デュアルキャパシタ通信システム
JP6237909B1 (ja) アイソレータおよびアイソレータの製造方法
CN103427865B (zh) 电压域间通信的接口
US8618630B2 (en) Semiconductor device
US10529796B2 (en) Galvanic isolation device
US8319573B2 (en) Signal transmission arrangement
US20050271147A1 (en) Transformer isolator for digital power supply
US20050269657A1 (en) On chip transformer isolator
CN104184438A (zh) 电流隔离器
JP5435029B2 (ja) 半導体装置及び信号伝達方法
JP2016072401A (ja) 半導体装置
US7741935B2 (en) High voltage isolation semiconductor capacitor digital communication device and corresponding package
CN115118312A (zh) 通过电流隔离进行的电容式数据传输
US20240170476A1 (en) Integrated circuit providing galvanic isolation and device including the same
US20240105761A1 (en) Semiconductor device
CN220570519U (zh) 电子器件和集成电路器件
CN111564437B (zh) 电子电路之间具有电流隔离的电路装置
EP4625454A1 (en) High-cmti isolator link design and related methods
US20250015077A1 (en) High-voltage gate driver integrated circuit using galvanic isolator
US20240170463A1 (en) Electronic device

Legal Events

Date Code Title Description
RD03 Notification of appointment of power of attorney

Free format text: JAPANESE INTERMEDIATE CODE: A7423

Effective date: 20110719

A977 Report on retrieval

Free format text: JAPANESE INTERMEDIATE CODE: A971007

Effective date: 20111219

A131 Notification of reasons for refusal

Free format text: JAPANESE INTERMEDIATE CODE: A131

Effective date: 20120110

A521 Request for written amendment filed

Free format text: JAPANESE INTERMEDIATE CODE: A523

Effective date: 20120409

TRDD Decision of grant or rejection written
A01 Written decision to grant a patent or to grant a registration (utility model)

Free format text: JAPANESE INTERMEDIATE CODE: A01

Effective date: 20121030

A61 First payment of annual fees (during grant procedure)

Free format text: JAPANESE INTERMEDIATE CODE: A61

Effective date: 20121128

R150 Certificate of patent or registration of utility model

Ref document number: 5148562

Country of ref document: JP

Free format text: JAPANESE INTERMEDIATE CODE: R150

Free format text: JAPANESE INTERMEDIATE CODE: R150

FPAY Renewal fee payment (event date is renewal date of database)

Free format text: PAYMENT UNTIL: 20151207

Year of fee payment: 3

S111 Request for change of ownership or part of ownership

Free format text: JAPANESE INTERMEDIATE CODE: R313111

R350 Written notification of registration of transfer

Free format text: JAPANESE INTERMEDIATE CODE: R350

R250 Receipt of annual fees

Free format text: JAPANESE INTERMEDIATE CODE: R250

R250 Receipt of annual fees

Free format text: JAPANESE INTERMEDIATE CODE: R250

R250 Receipt of annual fees

Free format text: JAPANESE INTERMEDIATE CODE: R250

R250 Receipt of annual fees

Free format text: JAPANESE INTERMEDIATE CODE: R250

S111 Request for change of ownership or part of ownership

Free format text: JAPANESE INTERMEDIATE CODE: R313111

R360 Written notification for declining of transfer of rights

Free format text: JAPANESE INTERMEDIATE CODE: R360

R360 Written notification for declining of transfer of rights

Free format text: JAPANESE INTERMEDIATE CODE: R360

R371 Transfer withdrawn

Free format text: JAPANESE INTERMEDIATE CODE: R371

S111 Request for change of ownership or part of ownership

Free format text: JAPANESE INTERMEDIATE CODE: R313111

R350 Written notification of registration of transfer

Free format text: JAPANESE INTERMEDIATE CODE: R350

R250 Receipt of annual fees

Free format text: JAPANESE INTERMEDIATE CODE: R250

LAPS Cancellation because of no payment of annual fees