JP2010013249A - 用紙排出装置および画像形成装置 - Google Patents

用紙排出装置および画像形成装置 Download PDF

Info

Publication number
JP2010013249A
JP2010013249A JP2008175949A JP2008175949A JP2010013249A JP 2010013249 A JP2010013249 A JP 2010013249A JP 2008175949 A JP2008175949 A JP 2008175949A JP 2008175949 A JP2008175949 A JP 2008175949A JP 2010013249 A JP2010013249 A JP 2010013249A
Authority
JP
Japan
Prior art keywords
paper
paper discharge
posture
tray
guide
Prior art date
Legal status (The legal status is an assumption and is not a legal conclusion. Google has not performed a legal analysis and makes no representation as to the accuracy of the status listed.)
Granted
Application number
JP2008175949A
Other languages
English (en)
Other versions
JP5433177B2 (ja
Inventor
Takeshi Matsuo
健 松尾
Current Assignee (The listed assignees may be inaccurate. Google has not performed a legal analysis and makes no representation or warranty as to the accuracy of the list.)
Kyocera Document Solutions Inc
Original Assignee
Kyocera Mita Corp
Priority date (The priority date is an assumption and is not a legal conclusion. Google has not performed a legal analysis and makes no representation as to the accuracy of the date listed.)
Filing date
Publication date
Application filed by Kyocera Mita Corp filed Critical Kyocera Mita Corp
Priority to JP2008175949A priority Critical patent/JP5433177B2/ja
Priority to CN2009101519062A priority patent/CN101618807B/zh
Priority to US12/497,942 priority patent/US7976021B2/en
Publication of JP2010013249A publication Critical patent/JP2010013249A/ja
Application granted granted Critical
Publication of JP5433177B2 publication Critical patent/JP5433177B2/ja
Active legal-status Critical Current
Anticipated expiration legal-status Critical

Links

Images

Classifications

    • BPERFORMING OPERATIONS; TRANSPORTING
    • B65CONVEYING; PACKING; STORING; HANDLING THIN OR FILAMENTARY MATERIAL
    • B65HHANDLING THIN OR FILAMENTARY MATERIAL, e.g. SHEETS, WEBS, CABLES
    • B65H31/00Pile receivers
    • B65H31/24Pile receivers multiple or compartmented, e.d. for alternate, programmed, or selective filling
    • BPERFORMING OPERATIONS; TRANSPORTING
    • B65CONVEYING; PACKING; STORING; HANDLING THIN OR FILAMENTARY MATERIAL
    • B65HHANDLING THIN OR FILAMENTARY MATERIAL, e.g. SHEETS, WEBS, CABLES
    • B65H29/00Delivering or advancing articles from machines; Advancing articles to or into piles
    • B65H29/58Article switches or diverters
    • GPHYSICS
    • G03PHOTOGRAPHY; CINEMATOGRAPHY; ANALOGOUS TECHNIQUES USING WAVES OTHER THAN OPTICAL WAVES; ELECTROGRAPHY; HOLOGRAPHY
    • G03GELECTROGRAPHY; ELECTROPHOTOGRAPHY; MAGNETOGRAPHY
    • G03G15/00Apparatus for electrographic processes using a charge pattern
    • G03G15/65Apparatus which relate to the handling of copy material
    • G03G15/6552Means for discharging uncollated sheet copy material, e.g. discharging rollers, exit trays
    • BPERFORMING OPERATIONS; TRANSPORTING
    • B65CONVEYING; PACKING; STORING; HANDLING THIN OR FILAMENTARY MATERIAL
    • B65HHANDLING THIN OR FILAMENTARY MATERIAL, e.g. SHEETS, WEBS, CABLES
    • B65H2403/00Power transmission; Driving means
    • B65H2403/50Driving mechanisms
    • B65H2403/51Cam mechanisms
    • BPERFORMING OPERATIONS; TRANSPORTING
    • B65CONVEYING; PACKING; STORING; HANDLING THIN OR FILAMENTARY MATERIAL
    • B65HHANDLING THIN OR FILAMENTARY MATERIAL, e.g. SHEETS, WEBS, CABLES
    • B65H2404/00Parts for transporting or guiding the handled material
    • B65H2404/60Other elements in face contact with handled material
    • B65H2404/63Oscillating, pivoting around an axis parallel to face of material, e.g. diverting means
    • B65H2404/632Wedge member
    • BPERFORMING OPERATIONS; TRANSPORTING
    • B65CONVEYING; PACKING; STORING; HANDLING THIN OR FILAMENTARY MATERIAL
    • B65HHANDLING THIN OR FILAMENTARY MATERIAL, e.g. SHEETS, WEBS, CABLES
    • B65H2405/00Parts for holding the handled material
    • B65H2405/30Other features of supports for sheets
    • B65H2405/33Compartmented support
    • B65H2405/332Superposed compartments
    • BPERFORMING OPERATIONS; TRANSPORTING
    • B65CONVEYING; PACKING; STORING; HANDLING THIN OR FILAMENTARY MATERIAL
    • B65HHANDLING THIN OR FILAMENTARY MATERIAL, e.g. SHEETS, WEBS, CABLES
    • B65H2408/00Specific machines
    • B65H2408/10Specific machines for handling sheet(s)
    • B65H2408/11Sorters or machines for sorting articles
    • B65H2408/111Sorters or machines for sorting articles with stationary location in space of the bins and a diverter per bin
    • BPERFORMING OPERATIONS; TRANSPORTING
    • B65CONVEYING; PACKING; STORING; HANDLING THIN OR FILAMENTARY MATERIAL
    • B65HHANDLING THIN OR FILAMENTARY MATERIAL, e.g. SHEETS, WEBS, CABLES
    • B65H2511/00Dimensions; Position; Numbers; Identification; Occurrences
    • B65H2511/20Location in space
    • B65H2511/21Angle
    • B65H2511/212Rotary position
    • BPERFORMING OPERATIONS; TRANSPORTING
    • B65CONVEYING; PACKING; STORING; HANDLING THIN OR FILAMENTARY MATERIAL
    • B65HHANDLING THIN OR FILAMENTARY MATERIAL, e.g. SHEETS, WEBS, CABLES
    • B65H2513/00Dynamic entities; Timing aspects
    • B65H2513/10Speed
    • BPERFORMING OPERATIONS; TRANSPORTING
    • B65CONVEYING; PACKING; STORING; HANDLING THIN OR FILAMENTARY MATERIAL
    • B65HHANDLING THIN OR FILAMENTARY MATERIAL, e.g. SHEETS, WEBS, CABLES
    • B65H2551/00Means for control to be used by operator; User interfaces
    • B65H2551/10Command input means
    • B65H2551/11Sliding or rotating members
    • BPERFORMING OPERATIONS; TRANSPORTING
    • B65CONVEYING; PACKING; STORING; HANDLING THIN OR FILAMENTARY MATERIAL
    • B65HHANDLING THIN OR FILAMENTARY MATERIAL, e.g. SHEETS, WEBS, CABLES
    • B65H2801/00Application field
    • B65H2801/03Image reproduction devices
    • B65H2801/06Office-type machines, e.g. photocopiers

Landscapes

  • Engineering & Computer Science (AREA)
  • Mechanical Engineering (AREA)
  • Physics & Mathematics (AREA)
  • General Physics & Mathematics (AREA)
  • Separation, Sorting, Adjustment, Or Bending Of Sheets To Be Conveyed (AREA)
  • Pile Receivers (AREA)

Abstract

【課題】用紙の排出効率の低下を抑えつつ装置コストの低減化に貢献する。
【解決手段】このマルチトレイ部30には、排紙のために用紙P2が搬送される排紙搬送路310と、当該排紙搬送路310に沿って並設された複数の排紙トレイ32と、各排紙トレイ32に対応して排紙搬送路310中に設けられ、搬送中の用紙P2を遣り過ごす退避姿勢S1と搬送中の用紙P2を排紙トレイ32へ分岐させる分岐姿勢S2との間で姿勢変更が可能なガイドフィン42を有する複数の切り換えガイド40と、ガイドフィン42の姿勢を変更させる姿勢変更手段50とを備えている。そして、姿勢変更手段50は、1つの駆動モータ71の駆動により選択されていない排紙トレイ32に対応するガイドフィン42を退避姿勢S1に姿勢設定した上で、選択された1つの排紙トレイ32に対応するガイドフィン42を退避姿勢S1から分岐姿勢S2へ姿勢変更させるように構成されている。
【選択図】図5

Description

本発明は、ユーザーによっていずれかを選択することが可能な複数段の排紙トレイを有する、いわゆるマルチトレイ装置を備えた用紙排出装置およびこの用紙排出装置が適用された画像形成装置に関するものである。
画像形成装置は、読み取ったり、外部から伝送されたりした画像情報に基づき所定の画像形成処理を施した上で用紙に当該画像情報に沿った印刷処理を施すように構成されている。印刷処理後の用紙は、直ちに外部へ排出されたり、あるいはパンチング処理やステイプル処理などのいわゆる後処理が施された後に外部へ排出されたりする。
このような画像形成装置において、用紙の排出先に複数の排紙トレイが上下方向に向けて並設された、いわゆるマルチトレイ装置を採用したものがある。かかるマルチトレイ装置を有する画像形成装置にあっては、各排紙トレイの基端部に沿って上下方向に延びる排紙搬送路が設けられている。そして、この排紙搬送路には、各排紙トレイと対向した位置に用紙の搬送先を排紙搬送路と排紙トレイとの間で切り換える切り換えガイド(分岐ガイド)と、各切り換えガイドの姿勢を変更させるためのソレノイド装置がそれぞれ設けられている(特許文献1)。
しかし、特許文献1のマルチトレイ装置においては、複数の排紙トレイのそれぞれに対してソレノイド装置を設けなければならず、部品点数が多くなって部品コストが嵩むという不都合が存在する。
そこで、かかる不都合を解消するものとして特許文献2に記載されているようなマルチトレイ装置が提案されている。このマルチトレイ装置においては、複数の排紙トレイには、それぞれに対応するソレノイド装置は設けられない。その代わり排紙搬送路には、各切り換えガイドに代えてゲートがそれぞれ設けられている。
このゲートは、特許文献2で「受動的ゲート」と称されているものであり、排紙搬送路における排紙トレイが設けられている側の搬送路壁面に設定された回動支点回りに回動可能に支持されている。そして、かかるゲートは、所定の付勢手段の付勢力で上端部が反対側の搬送路壁面(排紙トレイから遠い方の搬送路壁面)に当接されている。従って、用紙は、排紙搬送路を上昇するに際しては、この上昇動作でゲートを押し開きながら移動することができる一方、下降するときは必ずゲートに受けられて当該ゲートに対応した排紙トレイへ排出されることになる。
そして、特許文献2のマルチトレイ装置においては、画像形成措置に画像形成処理を実行させるに当たって、入力操作その他で予め排紙トレイを選択しておくと、用紙搬送用の駆動モータの駆動量および駆動方向が制御され、これによって用紙の後端が選択された排紙トレイに対応するゲートを通過した直後に、駆動モータの逆駆動で当該用紙が逆送されるようになされている。これによって用紙は、一旦その後端がゲートを通過した後の逆送でゲートに案内されて目的の排紙トレイへ排出されることになる。駆動モータの逆駆動のタイミングは、最上流側の排紙トレイに対応した位置に設けられたセンサが用紙の後端を検出した時点を基準として設定される。
特開平4−308865号公報 特開2002−137866号公報
しかしながら、特許文献2に記載のマルチトレイ装置にあっては、順送されていた用紙は、選択された排紙トレイ用のゲートを一旦遣り過ごした後に当該用紙の後端が次の排紙トレイのゲートに到達するまでの間に余分な順送が継続された後に逆送されて当該排紙トレイへ排出されるようになされているため、用紙の排出に関し余分な順送および逆送の分だけ無駄な時間がかかり、用紙排出効率が劣るという問題点を有している。
本発明は、上記のような状況に鑑みなされたものであって、選択された排紙トレイへ用紙を確実に排紙させることを確保した上で、用紙の排出効率の低下を抑えつつ装置コストの低減化に貢献することが可能なマルチトレイ装置を備えてなる用紙排出装置およびこの用紙排出装置が適用されてなる画像形成装置を提供することを目的としている。
請求項1記載の発明(用紙排出装置)は、排紙のために用紙が搬送される排紙搬送路と、前記排紙搬送路に沿って並設された複数の排紙トレイと、前記各排紙トレイに対応して前記排紙搬送路中に設けられて搬送中の用紙を遣り過ごす退避姿勢と搬送中の用紙を排紙トレイへ分岐させる分岐姿勢との間で姿勢変更が可能な複数の切り換えガイドと、前記切り換えガイドを、用紙が通過するように退避する退避姿勢と、用紙を前記排紙トレイへ分岐させる分岐姿勢との間で姿勢を切り換える切り換え手段とを備え、前記切り換え手段は、前記切り換えガイドを姿勢変更させるための切り換え片を移動させる1つの移動手段と、前記移動手段を駆動する駆動手段と、前記切り換えガイドに備えられ、前記切り換え片と係合して前記切り換えガイドを前記退避姿勢から前記分岐姿勢へ姿勢変更させる係合部とを備えることを特徴とするものである。
かかる構成によれば、排紙搬送路へ送り込まれた用紙は、ここで退避姿勢に姿勢設定された切り換えガイドは素通りし、予め選択されることによって切り換え手段により分岐姿勢に姿勢変更されている切り換えガイドを通り、当該選択された排紙トレイへ向けて排出される。
そして、切り換え手段は、用紙を排出するべく予め選択された排紙トレイの切り換えガイドを、駆動モータの駆動による1つの移動手段の移動によって退避姿勢から分岐姿勢へ姿勢変更させるため、各切り換えガイドに対応してソレノイド装置などの駆動手段が複数採用されている従来のものに比べて駆動手段が1つでよく、その分部品点数の削減が図られ、装置コストの低減化に貢献する。
また、従来の一旦排紙搬送路へ引き入れた用紙の後端を予め設定された排紙トレイの直下流側まで順送したのち逆送させ、用紙の順送は許容するが逆送は阻止して用紙を分岐させるいわゆる「受動的ゲート」によって当該排紙トレイへ排出させる方式(受動的ゲート方式)にあっては、用紙が目的の排紙トレイを通過してから逆送させるためその分排紙時間が長引き、排紙効率が低下するという不都合が存在するが、請求項1の発明では、用紙を逆送させないため、かかる不都合が生じることはない。
請求項2記載の発明は、請求項1記載の発明において、最下段の前記排紙トレイのさらに下方位置に複数の排紙トレイのいずれにも排出されない用紙を排出するための汎用トレイと、前記汎用トレイと前記排紙トレイとの間で用紙の排出先を切り換えるべく姿勢変更するガイドプレートとが設けられ、前記ガイドプレートは、前記切り換え手段によって姿勢変更されることを特徴とするものである。
かかる構成によれば、複数の排紙トレイのいずれもが選択されない場合、ガイドプレートの姿勢が汎用トレイ向けに設定されることで用紙は当該汎用トレイへ排出される。
そして、特に切り換え片のホームポジションとしてガイドプレートを汎用トレイ向けの姿勢にさせる位置を予め設定しておけば、特に排紙トレイが選択されていない場合、当該用紙は、自動的に汎用トレイへ排出されるため、一々ガイドプレートの姿勢を汎用トレイ向けに姿勢変更させる必要がなくなり便利である。
また、排紙トレイを対象とした切り換えガイドの姿勢変更用の切り換え手段を、汎用トレイ用のガイドプレートの姿勢変更用として兼用されているため、ガイドプレートの姿勢変のために専用の姿勢変更手段を採用する場合に比較し、部片点数の削減が達成され、製造コストの低減化に貢献する。
請求項3記載の発明は、請求項1または2記載の発明において、前記移動手段は、前記駆動モータの駆動により前記排紙搬送路に沿って一方向に周回することにより前記切り換えガイドの姿勢変更の用に供される無端ベルトを有し、前記切り換え片は、前記無端ベルトから前記係合部と係合し得る方向に向けて突設された突起であり、前記切り換えガイドは、前記突起が停止した位置のもののみが分岐姿勢に姿勢設定されることを特徴とするものである。
かかる構成によれば、駆動モータの駆動で無端ベルトを一方向に向けて周回させ、無端ベルトの突起が選択された排紙トレイに対応する切り換えガイドの位置に到達した時点で無端ベルトの周回を停止させることにより、この切り換えガイドは退避姿勢から分岐姿勢に姿勢変更した状態になる。従って、排紙搬送路に送り込まれた用紙は、この分岐姿勢に姿勢設定された切り換えガイドに案内されて選択された排紙トレイへ排出される。
このように、無端ベルトに切り換えガイドの姿勢変更操作用の突起を設ける構成を採用することで、簡単な構造でありながら用紙を選択された目的の排紙トレイに排紙させることが可能になる。
請求項4記載の発明は、請求項3記載の発明において、前記切り換えガイドを退避姿勢へ向けて付勢する付勢部材と、用紙搬送方向と直交する方向に延び、かつ、軸心回りに前記切り換えガイドと一体回動するガイド軸とが備えられ、前記係合部は、前記ガイド軸の端部に一体回動可能に固定され前記突起と干渉して前記切り換えガイドを前記退避姿勢から前記分岐姿勢へ姿勢変更させるように構成され、前記突起の前記係合部との干渉状態は、前記無端ベルトの周回によって前記突起が前記切り換え部材を通過することにより解消されることを特徴とするものである。
かかる構成によれば、切り換えガイドは、普段、付勢部材によってガイド軸回りに退避姿勢へ向かうように付勢され、これによって退避姿勢に姿勢設定されている。無端ベルトの周回でこの状態の切り換えガイドへ突起が向かうと、当該突起は切り換えガイドの係合部と干渉し、この干渉状態は無端ベルトが周回を継続することよる突起の通過で解消される。そして、突起が選択された排紙トレイに対応する係合部の位置で停止することにより、切り換えガイドは、付勢部材の付勢力に抗して当該係合部を介し分岐姿勢に姿勢変更されるため、排紙搬送路を搬送されつつある用紙は、この分岐姿勢に姿勢設定された切り換えガイドを通って選択された排紙トレイへ排出される。
そして、分岐姿勢に姿勢設定されている切り換えガイドを基の退避姿勢に戻すには、無端ベルトを周回させて突起に切り換えガイドの係合部を通過させればよい。こうすることで突起の切り換えガイドに対する干渉状態が解消され、切り換えガイドは付勢手段の付勢力で基の退避姿勢に戻る。
請求項5記載の発明は、請求項3または4記載の発明において、前記無端ベルトは、周回速度が調節可能に構成されていることを特徴とするものである。
かかる構成によれば、無端ベルトが周回することでその突起が切り換えガイドと干渉するに際し発生する騒音が高いような場合、当該無端ベルトの周回速度を調節して(具体的には周回速度を遅くして)騒音の発生を抑えることができる。なお、騒音が耳障りにならない軽微なものである場合には、無端ベルトの周回速度を速くすることで選択された切り換えガイドの迅速な姿勢変更を確保することができる。
請求項6記載の発明は、請求項1乃至5のいずれかに記載の発明において、用紙を排出させる排紙トレイを選択する選択手段を有し、かつ、駆動モータの駆動を制御することにより用紙を選択された前記排紙トレイへ排出させるべく前記切り換えガイドの姿勢を変更する制御手段が備えられていることを特徴とするものである。
かかる構成によれば、制御手段による駆動モータの駆動制御によって印刷処理が施された用紙は、選択手段によって予め選択された排紙トレイへ自動的に排紙される。
請求項7記載の発明は、請求項1乃至6のいずれかに記載の発明において、前記排紙トレイを支持する枠フレームには、用紙を排紙トレイ上へ搬送する排紙ローラが設けられ、前記駆動モータの正回転時に前記無端ベルトを周回駆動させ、前記駆動モータの逆回転時に前記排紙ローラを回転駆動させるワンウエイクラッチが無端ベルト周回駆動系および排紙ローラ回転駆動系にそれぞれ設けられていることを特徴とするものである。
かかる構成によれば、駆動モータの正逆回転で切り換えガイドの姿勢変更操作と、搬送操作を行うことが可能であり、両者を別々の駆動モータで行う場合に比較し、部品点数の削減が実現する。
請求項8記載の発明(画像形成装置)は、画像形成部における画像形成処理により用紙に印刷処理を施す画像形成装置であって、請求項1乃至6のいずれかに記載の用紙排出装置が適用されていることを特徴とするものである。
かかる構成によれば、画像形成装置は、請求項1乃至6のいずれかの用紙排出装置が有する作用効果を享受し得るものになる。
本発明に係る用紙排出装置によれば、各切り換えガイドに対応して複数の駆動手段を設けた従来のものに比較して1つの駆動モータの駆動で選択された排紙トレイの切り換えガイドを退避姿勢から分岐姿勢へ姿勢変更させることができ、これによって従来のものに比べて装置コストの低減化に貢献することができる。
また、従来のいわゆる「受動的ゲート」によって当該排紙トレイへ排出させる方式にあっては、用紙が目的の排紙トレイを通過してから逆送させるためその分排紙時間が長引き、排紙効率が低下するという不都合が存在するが、本発明においてはかかる不都合が生じることはなく、排紙効率の低下を回避することができる。
本発明に係る画像形成装置によれば、当該画像形成装置は、本発明に係る前記用紙排出装置が得ることができる作用効果をそのまま享受することができる。
以下、本発明に係る用紙排出装置が画像形成装置に適用された例について説明する。図1は、本発明に係る用紙排出装置が適用された画像形成装置の一実施形態を示す正面断面視の説明図である。なお、図1におけるX方向を左右方向といい、特に−Xを左方、+Xを右方という。図1に示すように、画像形成装置1は、画像情報に基づいて画像を形成して用紙P2へ転写する複合機10と、この複合機10で印刷処理が施された用紙P2に対し後処理を施す後処理装置20とを備えて構成されている。
前記複合機10は、自身が読み取った原稿P1の原稿画像に基づいて画像を形成し、この画像を用紙P2へ転写する複写機としての機能と、外部のパーソナルコンピュータ等から伝送された画像情報に基づき画像を形成して用紙P2へ転写するプリンタとしての機能と、通信回線を介して伝送されてきた画像情報に基づき画像を形成して用紙P2へ転写するファクシミリ装置としての機能とを兼ね備えたものである。
以下まず複合機10について説明する。複合機10は、原稿P1を装填するための原稿装填部11と、この原稿装填部11に装填された原稿P1から原稿画像を読み取る画像読取部12と、この画像読取部12で読み取られた原稿画像を用紙P2にトナー像として転写する画像形成部13と、この画像形成部13で転写された用紙のトナー像を定着する定着部14と、前記画像形成部13に向けて給紙する用紙P2を貯留する用紙貯留部15とが箱形を呈した装置本体2に装着されることによって構成されている。
なお、画像読取部12、画像形成部13、定着部14および用紙貯留部15は、装置本体2に上からこの順序で内装されているのに対し、原稿装填部11は、装置本体2の上面に当該装置本体2とは別体として形成されている。
かかる原稿装填部11は、開閉可能なカバー蓋体111と、このカバー蓋体111の窪んだ上面位置に形成された原稿トレイ112と、この原稿トレイ112に装填された原稿P1の束から1枚ずつを繰出させて画像読取部12に向かわせ、原稿画像を画像読取部12の上面に対向させる原稿給紙機構113とを備えている。
前記画像読取部12は、その上面に配置され原稿P1の画像面が密着するコンタクトガラス121と、このコンタクトガラス121に密着した原稿画像を走査して読み取る画像読取機構122とからなっている。本実施形態では、画像読取機構122として、移動しながら原稿画像に光を照射する移動光源125と、この移動光源125からの光の原稿画像での反射光を所定の光路に沿うように反射する複数のミラー126や光路の光を収束させるレンズ部材127等からなる光学系部材124とを備えている。
前記画像形成部13は、周面に静電潜像およびトナー像が順次形成される感光体ドラム131と、この感光体ドラム131の周面に用紙P2を送り込む搬送ベルト132とを備えている。軸心回りに回転している感光体ドラム131の周面には、原稿P1の原稿画像を走査することにより得られ光学系部材124を通った走査光が照射される。この照射によって当該周面に静電潜像が順次形成されるとともに、走査光照射位置の下流側で静電潜像に現像部133からトナーが供給されることにより感光体ドラム131の周面にトナー像が形成される。このトナー像は、搬送ベルト132によって給紙された用紙P2に転写される。
なお、光学系部材124で得られた走査光を前記のように感光体ドラム131へ直接照射するアナログ方式ではなく、前記走査光を一旦CCD(Charge Coupled Device:撮像素子)へ入力して画像データのアナログ量をディジタル量に変換し、別途設けた露光装置からこのディジタル量に対応したレーザー光を感光体ドラム131の周面へ照射するようにしてもよい。
前記定着部14は、画像形成部13で感光体ドラム131により画像の転写された用紙P2のトナー像に対し定着処理を施すものであり、内部に通電発熱体等の発熱源が装着された定着ローラ141と、下部でこの定着ローラ141に対向配置された加圧ローラ142とを備えている。そして、前記画像形成部13から搬送ベルト132の周回駆動に伴って搬送されてきた用紙P2は、定着ローラ141および加圧ローラ142間のニップ部へ給紙され、ここで定着ローラ141からの熱を得ることによってトナー像が用紙P2に定着される。定着部14を通過した用紙P2は、最下流端に設けられた搬出ローラ対143を介し、排紙口4を通って後処理装置20へ向けて搬出されることになる。
前記用紙貯留部15は、装置本体2に対して挿脱自在に内装された複数段の用紙カセット151を備えている。各用紙カセット151には、一方の端部(図1に示す例では右端部)にピックアップローラ152や給紙ローラ153等が設けられている。そして、ピックアップローラ152の駆動回転で用紙カセット151に装填されている用紙P2の束の最上位のものが順次繰り出され、給紙ローラ153および搬送路3を介して画像形成部13に向けて搬送される。
そして、ピックアップローラ152および給紙ローラ153を介して用紙カセット151から導出された用紙P2は、搬送ベルト132によって搬送されつつ、感光体ドラム131の周面のトナー像が転写される。トナー像の転写された用紙P2は、引き続き定着部14において定着ローラ141からの加熱による熱定着処理が施された後、搬出ローラ対143を通って装置本体2の排紙口4から排出され、後処理装置20へ引き渡される。
なお、本実施形態においては、定着部14と用紙貯留部15との間に反転部5が介設されている。この反転部5は、用紙P2に両面印刷処理を施すときに使用されるものであり、定着部14で表面側の定着処理が完了した用紙P2は、一旦この反転部5へ導入され、ここで反転処理(裏返し処理)が施されたのち画像形成部13へ戻され、画像形成部13での裏面側の転写処理および定着部14での定着処理が実行されてから排紙口4を介して後処理装置20へ向けて送り出される。
ついで、後処理装置20について図1を基に説明する。後処理装置20は、箱形を呈した装置本体6に、用紙搬入部21と、パンチ部22と、仕分け部23と、中間トレイ部24と、後に詳述するマルチトレイ部30と、用紙中折り部25とが設けられることによって構成されている。
前記用紙搬入部21は、複合機10の搬出ローラ対143を介して排紙口4から排紙された転写処理済みの用紙P2を後処理装置20内に受け入れる部分であり、傾斜板からなる用紙受入れシュート211と、この用紙受入れシュート211の直上位置に設けられた、受入を円滑に行うための図略の回動部材とを備えている。
前記用紙受入れシュート211は、装置本体6の図1における右上部で複合機10の排紙口4に向けて上下に広がった状態で形成されている。従って、排紙口4から排紙された用紙P2は、この用紙受入れシュート211の上下の面にガイドされつつ左上方に向けてスライド移動する。
前記回動部材は、搬出ローラ対143の駆動によって後処理装置20に送り込まれつつある用紙P2の先端部が、パンチ部22におけるパンチング処理のために停止された状態で、用紙P2の撓みを受け入れるとともに、パンチ部22での停止が解除されたときに撓んだ用紙P2を元に復元させながら迅速に進行方向に向けて送り出すためのものである。かかる回動部材は、用紙搬送路の幅方向(図1の紙面に直交する方向)に長尺の板材から構成され、装置本体6の側板間に架設された図略の架設軸回りに回動自在に軸支されている。
前記パンチ部22は、用紙搬入部21を介して複合機10から送り込まれた用紙P2の先端側(図1に左方)の縁部に綴り止め用のパンチ孔を穿孔するためのものであり、パンチングマシンと、用紙P2の搬送路を挟んでパンチングマシンの直下に設けられた受け台と、この受け台の直下に設けられたパンチ屑を収容するためのパンチ屑容器221とを備えている。そして複合機10から排紙口4を介して後処理装置20内へ送り込まれた用紙P2は、パンチ部22においてパンチングマシン221により先端側の縁部にパンチング処理が施され、引き続き仕分け部23へ向けて搬送される。このときに生じたパンチ滓は、パンチ屑容器221に収容される。
なお、パンチ部22で用紙P2にパンチング処理を施すか否かは、図略の操作パネルにおける所定のキーの押釦操作によってユーザーが任意に選択することができる。従って、ユーザーがパンチング処理を選択しなかった場合には、複合機10から後処理装置20へ送り込まれた用紙P2は、パンチング処理が施されることなくパンチ部22を素通りすることになる。
前記仕分け部23は、パンチ部22で穿孔処理が施された後の用紙P2の行き先にしたがって、当該用紙P2を汎用トレイ301、マルチトレイ部30および中間トレイ部24のいずれかに仕分けるための部分である。用紙P2の行き先については、画像処理の種類に応じて自動的に、あるいは操作パネルを介して所定の設定操作を行うことにより予め決められるようになっている。
前記中間トレイ部24は、導入された用紙P2にステイプル処理などの後処理を施す部分であり、ここに導入された所定枚数の用紙は、中間搬送路241に導入されたのち一旦停止され、ステイプラーによって所定のステイプル処理が施された後、逆送されて後述の大容量トレイ302へ排出されることになる。
すなわち、本実施形態においては、汎用トレイ301の下方位置にステイプル処理後の用紙P2の束を受けるための大容量トレイ302が設けられている。大容量トレイ302が設けられるのは、ステイプル処理後の用紙束は、非常に分厚くなっているのが普通であり、これに対応するためである。この大容量トレイ302は、用紙束の多部数の排出に対応するべく、昇降可能に構成されており、積載量に応じてその高さ位置が制御可能となされている。
さらに、本実施形態では、複合機10から後処理装置20′へ送り込まれた用紙P2を、パンチング処理やステイプル処理を施すことなく、単に排出するだけの上面トレイ303が後処理装置20′の装置本体6の天板に形成されている。因みに、この上面トレイ303には、通常、A4サイズの用紙P2が排出される。これに対しA3サイズの用紙P2は、汎用トレイ301へ排出される。
前記用紙中折り部25は、中間トレイ部24においてステイプル処理が施された後の用紙P2であって、中央部から二つ折りにするものを対象として二つ折り処理(中折り処理)を施す部分である。中折り対象の用紙P2は、中間トレイ部24の中間搬送路241を通って用紙中折り部25に導入されて所定の中折り処理が施される。中折り処理後の用紙P2は、専用の中折りトレイ251へ排出される。
そして、このような画像形成装置1には、その構成要素である複合機10がプリンタやファクシミリ装置として使用されるときに、これらプリンタやファクシミリ装置との間で情報の遣り取りを行うための回路である、いわゆるインタフェースが設けられているが、その説明は省略する。
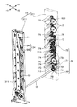
以下、図2〜図6を基にマルチトレイ部30について説明する。図2は、マルチトレイ部30の斜視のスケルトン図、図3は、図2のスケルトンにカバー317および排紙トレイ32が装着された状態を示す斜視図、図4は、切り換えガイドの一実施形態にを示す斜視図である。また、図5および図6は、図2〜図4に示すマルチトレイ部30の原理を説明するための一部切り欠き斜視原理図であって、図5は、前方側から見た斜視図、図6は、後方側から見た斜視図である。なお、図2〜図6においてX方向を左右方向、Y方向を前後方向といい、特に−Xを左方、+Xを右方、−Yを前方、+Yを後方という。
以下、主に原理図である図5および図6を基に必要に応じて図2〜図4を参照しながら本実施形態に係るマルチトレイ部30について説明する。
なお、図5においては、煩雑になるのを避けるために切り換えガイド40の各ガイド軸41に装着されるガイドフィン42の個数を実際よりも少ない2つにしているとともに、図示が煩雑になるのを防止するべく、搬送手段60については、二点差線でその所在位置のみを示し、駆動力伝達機構70についてはその構成要素である駆動モータ(駆動手段)71のみを示している。
図5および図6に示すように、マルチトレイ部30は、上下方向に長尺で左右方向に扁平な矩形状の枠フレーム31と、この枠フレーム31から左方に向かって突設された上下方向に等ピッチで並設されてなる複数の排紙トレイ32と、枠フレーム31内で前記各枠排紙トレイ32に対応して設けられた複数の切り換えガイド40と、各切り換えガイド40の姿勢を変更させる姿勢変更手段(切り換え手段)50と、枠フレーム31内で用紙P2を搬送する搬送手段60と、枠フレーム31の外側に装着されて前記姿勢変更手段50および前記搬送手段60に駆動力を伝達する駆動力伝達機構70とを備えて構成されている。
前記枠フレーム31は、後処理装置20の装置本体6の上面左方に立設されている。かかる枠フレーム31は、前後方向一対の側板311と、これら一対の側板311の上縁部間に架設された天板312と、各排紙トレイ32に対応して一対の側板311間に架設された上下方向に複数段の枠内ガイド板314と、枠フレーム31の右方開口を全体的に覆うように一対の側板311間に架設された右面板315とを備えている。右面板315の裏面側(左面側)には、排紙搬送路310を形成するべく、上下方向へ延びる複数のリブや、従動コロ(後述の第2搬送ローラ612(図7))等が設けられ、これによって排紙搬送路310内を上昇する用紙P2を円滑に搬送することができる。
また、かかる右面板315は、上方に設けられた前後方向に延びる図略の所定の支点回りに回動して開閉可能とされている。そして、当該右面板315を開放することによってメンテナンス作業やジャム解消作業の作業性を向上させることができる。
そして、前記右面板315と切り換えガイド40との間に用紙P2を上方へ向けて搬送する排紙搬送路310が形成されている。用紙P2は、この排紙搬送路310中を上昇しながら、切り換えガイド40の姿勢変化で当該変化した切り換えガイド40に対応する排紙トレイ32へ向けて排出される。
前記排紙トレイ32は、本実施形態においては、上下方向に7段が設けられている。但し、排紙トレイ32が7段であることに限定されるものではなく、6段以下であってもよいし、7段を超えてもよい。かかる排紙トレイ32は、基端側が枠フレーム31の左方の各側板311に固定され、先上がりに若干傾斜した状態で左方に向かって突設されている。
前記切り換えガイド40は、一対の側板311間に上下方向に向けて等ピッチで貫通架設された複数本(本実施形態では7本)のガイド軸41と、各ガイド軸41に固定されたガイド軸41の1本当たり複数枚のガイドフィン42(煩雑になるのを避けるべく図5および図6では2枚を描いているが、実際は図2および図4に示すように多数枚)と、各ガイドフィン42を所定の姿勢(後述の退避姿勢S1)に姿勢設定させるための捻りバネ(付勢部材)43とを備えている。
前記ガイドフィン42は、三日月状を呈し、その右縁部が右方に向かって凸の円弧状に形成された凸円弧縁部421を有しているとともに、その左縁部が左方に向かって凹の円弧状に形成された凹円弧縁部422を有している。かかるガイドフィン42は、その上方左角部にガイド軸41が貫通されて固定されている。
このようなガイドフィン42は、下方に向かって垂下し、これによって下から排紙搬送路310に送り込まれた用紙P2を遣り過ごす退避姿勢S1と、退避姿勢S1からガイド軸41回りに反時計方向に向けて回動されることで凸円弧縁部421が右面板315に当接し、これによって下から排紙搬送路310へ送り込まれた用紙P2を上方へ向けてスルーさせる退避姿勢S1と、当該用紙P2を凹円弧縁部422沿って排紙トレイ32へ向かわせる分岐姿勢S2との間で姿勢変更可能となっている。
上記切り換えガイド40については、図5および図6に示すように、簡略化したものを例に挙げて説明したが、実際に使用されているものは、硬質の合成樹脂材料を原料として射出成型法によって一体的に製造されている。
実際の切り換えガイド40aの形状が非常に複雑であるのは、切り換えガイド40aを構造的な面で丈夫なものにするべく前後方向に長尺の構造物としてのガイド本体401が採用されていることや、用紙P2の搬送を円滑に行うために、ガイド本体401から突設されたガイドフィン42の枚数を多くしている(図4に示す例では16枚)ことや、後述のトレイ向け搬送手段62(図7参照)の第3搬送ローラ621を取り付けるための複数(図4に示す例では2つ)の逃がし孔45が設けられていることや、肉盗みのために各所に凹所が設けられていること等による。
また、図4および図5に示す切り換えガイド40は、金属製のガイド軸41にガイドフィン42が一体回転可能に外嵌されている極めて簡素な構造であるのに対し、図4に示す切り換えガイド40aにおいては、ガイド軸41′は、金属製ではなく、ガイド本体401の前後の端部から同心で突設されたガイド本体401と一体に成形処理されてなる円柱状の突起によって形成されている。
そして、前方のガイド軸41′には、周面から径方向の外方に向かって突設された係止突起411が設けられている一方、操作部材54の三角板541には、前記ガイド軸41′に外嵌される連結筒543が設けられ、この連結筒543に前記係止突起411に外嵌する係止溝544が設けられている。この係止溝544を係止突起411に嵌め込むようにして連結筒543をガイド軸41′へ外嵌することによって、操作部材54がガイド軸41′回りに一体回転可能に切り換えガイド40aに装着される。
図5に戻り、前記姿勢変更手段50は、前記各ガイド軸41に対応して前方の側板311から外方へ突出した突設軸511回りに回転可能に軸支された複数のプーリ51と、これら各プーリ51に掛け回されたタイミングベルト(無端ベルト)52と、このタイミングベルト52の外面側に固定された干渉突起53と、前方の側板311を貫通した各ガイド軸41に一体回動可能の取り付けられた操作部材(係合部)54とを備えている。
本発明に係る移動手段は、歯付きプーリ51aを含むプーリ51とタイミングベルト52とを備えて構成されている。
前記複数(本実施形態では7つ)のプーリ51の内、最下位のプーリ51は、タイミングベルト52に噛合するように周面に歯が形成された歯付きプーリ51aとされている。そして、タイミングベルト52は、歯付きプーリ51aと最上位のプーリ51との間に張設されている。そして、最下位の歯付きプーリ51aは、前後の側板311を貫通して架設された架設軸55(図11)に同心で一体回転可能に外嵌されている。従って、架設軸55が駆動モータ71の駆動で駆動回転すると、この駆動回転は、歯付きプーリ51aを介してタイミングベルト52の周回に正確に伝達される。かかるタイミングベルト52は、前方から見て時計方向に向けて周回される。
これに対し残りのプーリ51は、干渉突起53が操作部材54と干渉する際、操作部材54に相対的に押圧されて左方へ逃げるのを防止するためのものであるため、特に歯付きのものが採用されていない。
前記干渉突起53は、タイミングベルト52の周回により操作部材54と干渉して当該操作部材54を介してガイドフィン42に姿勢変更させるためのものである。かかる干渉突起53は、−Y方向から見た正面視で頂点からタイミングベルト52へ向けてそれぞれ先下がりに傾斜した上下一対の傾斜面531(図5)を備えた略二等辺三角形状に設定されている。これによって操作部材54は、タイミングベルト52の周回により下降する干渉突起53を確実に受け入れて当該干渉突起53により操作され易くなっているとともに、干渉突起53が操作部材54の被操作プレート542から外れるときの衝撃を少なくし得るようになっている。
前記操作部材54は、干渉突起53が干渉することでガイド軸41を介してガイドフィン42を退避姿勢S1から分岐姿勢S2に姿勢変更させるものである。かかる操作部材54は、直角部分が左上になるように方向設定された直角三角形状の三角板541と、この三角板541の斜辺部分から前方に向かって所定幅寸法で延設された斜辺部分の全長に亘る被操作プレート542とを有している。そして、前記ガイド軸41が三角板541の直角部分の角部に貫通固定されている。
そして、ガイド軸41における三角板541と側板311との間に捻りバネ43が外嵌され、操作部材54はこの捻りバネ43によってガイド軸41回りに時計方向に向けて付勢されている。これによって三角板541の左縁面がタイミングベルト52の表面側に押圧当接している。
従って、タイミングベルト52が図5における時計方向に周回して干渉突起53が最上位のプーリ51から下方へ向かって移動すると、当該干渉突起53は、最上位の操作部材54から順番に各操作部材54の被操作プレート542と干渉していく。干渉突起53は、各操作部材54において被操作プレート542をガイド軸41回りに反時計方向に回動させた後にその下端部から下方へ抜け出てつぎの操作部材54に向かうため、操作部材54は、干渉突起53が通過する度にガイド軸41回りに揺動することになる。これに伴いガイドフィン42もガイド軸41回りに退避姿勢S1と分岐姿勢S2との間で一体的に揺動する。
そして、干渉突起53がいずれかの操作部材54の被操作プレート542と干渉した状態でタイミングベルト52の周回が停止されると、当該干渉突起53が干渉している操作部材54に対応したガイドフィン42は、分岐姿勢S2に姿勢設定された状態になる。なお、図5に示す例では、下から4段目のガイドフィン42が分岐姿勢S2姿勢設定されている。従って、この状態で排紙搬送路310へ送り込まれた用紙P2は、二点差線で示すように、当該分岐姿勢S2に姿勢設定されたガイドフィン42の下面の凹円弧縁部422に誘導され、枠内ガイド板314上を摺動して下から4段目の排紙トレイ32へ排紙されることになる。
なお、最下位の操作部材54は、ガイドプレート42′を操作するためのものであり、最下位の歯付きプーリ51aに沿い左方へ向けて回り込んでいるタイミングベルト52に追随するようにガイド軸41から左方へ延びた状態で配設されている。そして、本実施形態においては、干渉突起53のホームポジションは、最下位の歯付きプーリ51aの直下位置とされている。また、最下位の操作部材54には、ガイドフィン42に代えてガイドプレート42′が設けられている。従って、干渉突起53がホームポジションに位置しているときには、ガイドプレート42′が上向き姿勢T1に姿勢設定されているため、送り込まれた用紙P2は、必ず汎用トレイ301へ排出されることになる(図9(A)参照)。これに対し、干渉突起53がホームポジションから外れたときには、ガイドプレート42′が下向き姿勢T2に姿勢設定され、これによってマルチトレイ部30へ送り込まれた用紙P2は、当該ガイドプレート42′に掬い上げられ、マルチトレイ部30内の排紙搬送路310へ向かわされる。
以下、図7を基に、必要に応じて他の図面も参照しながら搬送手段60について説明する。図7は、図3のVII−VII線視の断面図である。なお、図7におけるXによる方向表示は図2の場合と同様(−X:左方、+X:右方)である。図7に示すように、搬送手段60は、用紙P2を退避姿勢S1に姿勢設定されたガイドフィン42にガイドさせつつ排紙搬送路310に沿って上方へ搬送する上方向け搬送手段61と、用紙P2を分岐姿勢S2に姿勢設定されたガイドフィン42にガイドさせて排紙トレイ32へ排出するトレイ向け搬送手段62とを備えている。
前記上方向け搬送手段61は、下から第1段、第3段および第5段の排紙トレイ32の基端側に対向させて排紙搬送路310の左側にそれぞれ配設された第1搬送ローラ611と、これら各第1搬送ローラ611にそれぞれ右側で対向させて配設された第2搬送ローラ612とを備えている。第2搬送ローラ612は、枠フレーム31の右面に開閉可能に設けられた右面板315の裏面側(左面側)に配設された前記搬送コロのことである。排紙搬送路310へ導入された用紙P2は、これら第1および第2搬送ローラ611,612にニップされた状態で両ローラの互いに反対方向へ向かう回転によって排紙搬送路310内を上昇する。
第1搬送ローラ611は、枠フレーム31の一対の側板311間に架設された第1ローラ軸613回りに回転可能に軸支されているとともに、第2搬送ローラ612は、同第2ローラ軸回りに回転可能に軸支されている。そして、第1および第2搬送ローラ611,612は、駆動力伝達機構70の駆動によって第1および第2ローラ軸613,614回りに回転する。
前記トレイ向け搬送手段62は、各排紙トレイ32の基端部(右端部)に対向してそれぞれ設けられた第3搬送ローラ621と、各第3搬送ローラ621の直上位置にそれぞれ対向配置された第4搬送ローラ622とを備えている。
第3搬送ローラ621は、枠フレーム31の一対の側板311間に架設された第3ローラ軸623回りに回転可能に軸支されているとともに、第2搬送ローラ612は、同第2ローラ軸回りに回転可能に軸支されている。そして、第3および第4搬送ローラ621,622は、駆動力伝達機構70の駆動によって第3および第4ローラ軸623,624回りに回転する。
従って、受入開口316を介して排紙搬送路310へ送り込まれ、分岐姿勢S2に姿勢設定されたガイドフィン42にガイドされて排紙搬送路310から分岐した用紙P2は、第3および第4搬送ローラ621,622間でニップされつつこれらの互いに逆方向へ向かう第3および第4ローラ軸623,624回りの回転によって排紙トレイ32へ向けて排出される。
図8は、ガイドプレート42′の一実施形態を示す斜視図である。なお、図8におけるXおよびYによる方向表示は、図2の場合と同様(−X:左方、+X:右方、−Y:前方、+Y:後方)である。図8に示すように、ガイドプレート42′は、ガイド軸41からその略全長に亘り右方に向かって先下がりに傾斜して突設された上に凹の円弧状のプレート本体425と、このプレート本体425の上面側に形成された複数条の円弧状リブ426とを備えている。かかるガイドプレート42′は、用紙P2を掬い上げるために右端縁が上がった、図8に実線で示す上向き姿勢T1(図10(A)参照)と、用紙P2を遣り過ごさせために右端部が下がった図8に二点差線で示す下向き姿勢T2(図11(A)参照)との間で姿勢変更可能となっている。
以下図9および図10を基に、マルチトレイ部30の前後における用紙P2の排出について説明する。図9および図10は、マルチトレイ部30の作用を説明するための正面断面視の説明図であって、図9は、ガイドプレート42′が上向き姿勢T1に姿勢設定された状態、図10は、ガイドプレート42′が下向き姿勢T2に姿勢設定された状態をそれぞれ示している。また、これら図9および図10において(A)は、ガイドフィン42およびガイドプレート42′の作用を説明するためのマルチトレイ部30の内部構造を示し、(B)は、干渉突起53の操作部材54に対する作用を説明するためのマルチトレイ部30の前面側の構造を示している。
そして、ガイドプレート42′が上向き姿勢T1に姿勢設定された状態で仕分け部23からガイドプレート42′へ向けて送り込まれた用紙P2は、図9(A)に示すように、当該ガイドプレート42′の下を潜って汎用トレイ301へ向けて排出される。これに対しガイドプレート42′が下向き姿勢T2に姿勢設定された状態で仕分け部23から送り込まれた用紙P2は、図10(A)に示すように、ガイドプレート42′の上面によって掬い上げられ、排紙搬送路310へ導入される。この排紙搬送路310を上昇した用紙P2は、分岐姿勢S2に姿勢設定されているガイドフィン42の下面に案内されて対応した排紙トレイ32(図10(A)に示す例では下から2段目の排紙トレイ32)へ向けて排出される。
さらに具体的に説明すると、図9(B)に示すように、干渉突起53がホームポジションである最下位に位置し、これによって最下位の操作部材54の被操作プレート542と干渉した状態になっているときには、ガイドプレート42′は、その右端縁が上がった上向き姿勢T1(図9(A))に姿勢設定されるため、仕分け部23から送り込まれた用紙P2は、当該ガイドプレート42′の下を潜って汎用トレイ301へ向けて案内され排出される。
これに対し、図10(A)に示すように、干渉突起53が最下位の操作部材54から外れた位置であって、操作部材54と干渉する位置(図10(A)に示す例では下から2段目の排紙トレイ32に対応した位置)に設定されているときには、ガイドプレート42′が自重で、または図略の付勢部材の付勢力で反時計方向に向けて付勢されて下向き姿勢T2に姿勢設定されている。従って、仕分け部23から送り込まれた用紙P2は、当該ガイドプレート42′の上面に案内されて排紙搬送路310へ向かい、当該排紙搬送路310を上昇する。そして、分岐姿勢S2に姿勢設定されたガイドフィン42を介してそれに対応した排紙トレイ32(図10(A)に示す例では下から第2段目の排紙トレイ32)へ排出される。
このように、排紙トレイ32からマルチトレイ部30へ送り込まれた用紙P2の行き先を汎用トレイ301と排紙トレイ32との間で切り換えるべくガイドプレート42′の上向き姿勢T1と下向き姿勢T2との間での姿勢変更を、タイミングベルト52を周回させる姿勢変更手段50によって行わせることにより、ガイドプレート42′の姿勢変更のための専用の機構を採用する必要がなくなり、部品点数の削減ひいては製造コストの低減化に貢献することができる。
以下、図11を基に、必要に応じて他の図面も参照しながら駆動力伝達機構70について説明する。図11は、駆動力伝達機構70の一実施形態を示す斜視図である。なお、図11におけるXおよびYによる方向表示は、図2の場合と同様(−X:左方、+X:右方、−Y:前方、+Y:後方)である。
図11に示すように、駆動力伝達機構70は、後方の側板311の外面側に固定された駆動モータ71と、駆動モータ71の一方向へ向かう回転の駆動力が伝達される用紙搬送用ギヤ機構72と、駆動モータ71の他方向へ向かう回転の駆動力が伝達されるガイドフィン用ギヤ機構77とを備えて構成されている。駆動モータ71としては、入力されたパルス信号の各パルス応じて所定の角度ずつ駆動回転する、いわゆるステッピングモータが採用されている。かかるステッピングモータが採用されることにより、駆動量(具体的にはタイミングベルト52の周回量、ひいては干渉突起53の位置設定)を極めて正確に制御することが可能になる。
前記用紙搬送用ギヤ機構72は、前記駆動軸711に同心で一体回転可能に外嵌された駆動ギヤ721と、3本の第1ローラ軸613にそれぞれ同心で一体回転可能に外嵌された3つの上方向け搬送用ギヤ73と、7本の第3ローラ軸623にそれぞれ同心で一体回転可能に外嵌された7つのトレイ向け搬送用ギヤ74と、これら駆動ギヤ721、上方向け搬送用ギヤ73およびトレイ向け搬送用ギヤ74のいずれかとの間に適正に介設されて駆動力の伝達を助ける所定個数のアイドルギヤ75とを備えている。
そして、駆動モータ71が時計方向に向けて駆動すると、各上方向け搬送用ギヤ73は、第1ローラ軸613回りに反時計方向に向けて同一速度で回転するとともに、各トレイ向け搬送用ギヤ74は、第3ローラ軸623回りに反時計方向に向けて同一速度で回転するように、各アイドルギヤ75の径寸法や設置個数が設定されている。
そして、用紙搬送用ギヤ機構72の最下部位置の適所には第1ワンウエイクラッチ76(図6)が設けられ、駆動軸711が軸心回りに時計方向に向けて回転して上方向け搬送用ギヤ73を反時計方向に向けて回転させるときには、当該駆動力が上方向け搬送用ギヤ73に伝達されるのに対し、駆動軸711が軸心回りに反時計方向に回転したときには、当該回転が上方向け搬送用ギヤ73に伝達されないようになされている。
前記ガイドフィン用ギヤ機構77は、枠フレーム31の前後の側板311を貫通して架設された前記架設軸55に同心で一体回転可能に外嵌され、かつ、前記駆動軸711の直下位置で前記駆動ギヤ721に噛合したガイドフィン用従動ギヤ78と、架設軸55の適所に介設された第2ワンウエイクラッチ79とを備えている。
そして、架設軸55の外周面とガイドフィン用従動ギヤ78の内周面との間には第2ワンウエイクラッチ79が介設されている。これによって架設軸55が時計方向に向けて回転したときのみガイドフィン用従動ギヤ78の回転が架設軸55へ伝達することができるが、駆動モータ71が時計方向に向けて駆動回転したときには、ガイドフィン用従動ギヤ78の回転が架設軸55へ伝達されないようになされている。
従って、駆動モータ71が時計方向に向けて駆動したときは、その駆動力は用紙搬送用ギヤ機構72にのみ伝達され、ガイドフィン用ギヤ機構77に駆動力が伝達されることはない(すなわち動かない)のに対し、駆動モータ71が反時計方向に向けて駆動したときは、その駆動力はガイドフィン用ギヤ機構77にのみ伝達されて用紙搬送用ギヤ機構72は駆動力が伝達されることがないため、用紙搬送用ギヤ機構72が動くことはない。
このようにされるのは、用紙搬送用ギヤ機構72およびガイドフィン用ギヤ機構77に関し、これらが同時に動くことはなく、一方が動作しているときは、他方は必ず休止されるという特質に注目したからである。そして本実施形態においては、1つの駆動モータ71の駆動方向を変えることで用紙搬送用ギヤ機構72およびガイドフィン用ギヤ機構77をそれぞれ駆動させるようにしたのである。こうすることでそれぞれ専用の駆動モータを採用する場合に比較し、部品点数の削減を図ることができる。
以下、前記ガイドプレート42′を説明したときと同じ図面(図9および図10)を用い、必要に応じて他の図面も参照しながらマルチトレイ部30の作用について説明する。まず、用紙P2がマルチトレイ部30で排出処理されるためには、図10(A)に示すように、ガイドプレート42′が下向き姿勢T2に姿勢設定されることが前提となる。すなわち、搬送されてきた用紙P2は、ガイドプレート42′が下向き姿勢T2に姿勢設定されていることにより、当該ガイドプレート42′の上に凹の円弧面に掬い上げられ、受入開口316を介してマルチトレイ部30内へ向かうことになる。
すなわち、図9(B)に示すように、タイミングベルト52の干渉突起53が最下位のホームポジションに位置設定されている状態では、当該干渉突起53が最下位の操作部材54の被操作プレート542を、捻りバネ43(図5)の付勢力に抗してガイド軸41回りに所定量だけ反時計方向に向けて回動させているため、当該被操作プレート542と一体のガイド軸41が軸心回りに同一量だけ回動し、これによってガイドプレート42′が同一量だけ回動して上向き姿勢T1姿勢設定されている。従って、仕分け部23から送り出された用紙P2は、図9(A)に示すように、当該ガイドプレート42′の下を潜って汎用トレイ301へ向けて排出されるのである。
これに対し、タイミングベルト52の時計方向へ向かう周回により、ホームポジションにいた干渉突起53が最下位の操作部材54から外れて上昇した後に最上位のプーリ51を回って下降していくと、干渉突起53は、操作部材54の被操作プレート542と干渉して当該被操作プレート542を一旦ガイド軸41回りに反時計方向へ回動させて後に被操作プレート542を潜り抜け、つぎの操作部材54へ向かうことになる。
そして、例えば図10(B)に示すように、タイミングベルト52の周回を、干渉突起53が下から2段目の操作部材54の位置で停止させると、干渉突起53が捻りバネ43の付勢力に抗して下から2段目の被操作プレート542をガイド軸41回りに反時計方向に向けて所定量だけ回動させるため、ガイドフィン42が退避姿勢S1から分岐姿勢S2へ姿勢変更する。
従って、この状態で仕分け部23から送り出された用紙P2は、ガイドフィン42にガイドされつつ受入開口316を通って排紙搬送路310内へ送り込まれ、排紙搬送路310内を上昇することになる。そして、図10に示す例では、用紙P2が下から2段目のガイドフィン42に到達すると、当該ガイドフィン42は、分岐姿勢S2に姿勢設定されているため、用紙P2は、このガイドフィン42に捕捉され、当該ガイドフィン42の下面の凹円弧縁部422にガイドされて下から2段目の排紙トレイ32へ向けて排出されることになる。
このように、仕分け部23からマルチトレイ部30へ向けて送り出された用紙P2は、干渉突起53が停止した操作部材54に対応する排紙トレイ32へ排出されるため、干渉突起53のホームポジションを起点にして用紙P2を所望の排紙トレイ32に排出させるべくタイミングベルト52の周回量を制御することにより、用紙P2を予め選択された排紙トレイ32へ向けて適正に排出させることができる。
以下、図12を基に制御手段80による用紙P2のマルチトレイ部30への排出制御について説明する。図12は、制御手段80により用紙P2のマルチトレイ部30への排出制御の一実施形態を説明するためのブロック図である。
図12に示すように、制御手段80は、演算処理装置であるCPU(central processing unit)81と、このCPU81に付設された読み出し専用のROM(read only memory)82と、同読み書き自在のRAM(random access memory)83とを備えた基本構成を有している。
ROM82には、本制御を実行するためのプログラムが記憶されており、画像形成装置1に電源が入れられる都度、当該プログラムがCPU81に読み込まれ、以後このプログラムに基づき切り換えガイド40のガイドフィン42の姿勢変更制御が実行される。これに対し、RAM83は、制御動作において、一時的に用いられる各種のデータを一時的に書き込んだり読み出したりする領域として使用されるものである。
前記CPU81は、いずれの排紙トレイ32が選択されたかを判別する排紙トレイ判別部(選択手段)811と、駆動モータ71の駆動の目的に応じてその回転方向を判別する駆動モータ回転方向判別部812と、タイミングベルト52の周回速度をどの程度に設定するかを判別するベルト周回速度判別部813と、これら排紙トレイ判別部811およびベルト周回速度判別部813の判別結果に基づき駆動モータ71へ向けて所定の制御信号を出力する制御信号出力部814とを備えている。
かかるCPU81の制御による関連機器の動作およびマルチトレイ部30へ導入された用紙P2の流れの概要は以下のとおりである。まず、いずれかの排紙トレイ32が選択されると、駆動モータ71を、用紙P2を排出させていたときとは逆方向に駆動させてタイミングベルト52を周回させ、干渉突起53を選択された排紙トレイ32に対応する操作部材54に位置付けして停止させる。こうすることで選択された排紙トレイ32に対応するガイドフィン42は、分岐姿勢S2に姿勢設定される。
引き続き後処理装置20サイドで用紙Pの排出処理がスタートされ、これと同時に駆動モータ71が用紙P2を搬送させる方向に向けて駆動される。こうすることで後処理装置20からガイドプレート42′を通ってマルチトレイ部30の排紙搬送路310へ導入された用紙P2は、選択された排紙トレイ32に対応するガイドフィン42に案内されつつ当該選択された排紙トレイ32へ排出される。
ところで、特に最下段の排紙トレイ32が選択された場合、ホームポジションに位置した干渉突起53が当該排紙トレイ32の操作部材54に到達するまでタイミングベルト52を略一周させなければならない。
そこで、画像形成装置1が用紙Pの搬送速度(排紙速度)が速いような高速機種の場合、排紙トレイ32が選択された直後であって、マルチトレイ部30への排紙がスタートされる前に予めガイドフィン42の姿勢を退避姿勢S1から分岐姿勢S2へ変更しておく必要がある。これに対し、画像形成装置1が排紙速度の遅い低速機種の場合には、マルチトレイ部30への排紙が開始されからガイドフィン42の姿勢を変更させてもよい。
なお、干渉突起53のホームポジションは、用紙P2を最も使用頻度の高い汎用トレイ301へ排出する位置に設定されているため、ガイドプレート42′の切り換え動作を極力少なくすることができる。
以下、CPU81の構成要素である排紙トレイ判別部811、駆動モータ回転方向判別部812、ベルト周回速度判別部813および制御信号出力部814について個別にその機能を説明する。
前記排紙トレイ判別部811には、プリンタやファクシミリ装置等の外部機器90からインタフェースを介して伝送された情報や、複合機10の適所に設けられた入力装置84からの排紙トレイ32の選択に関する情報等が入力される。因みに、プリンタからの情報がCPU81へ入力されるときは、当該複合機10がプリンタとして利用されるときであり、相手方のファクシミリ装置からの情報がCPU81へ入力されるときは、当該複合機10が受信側のファクシミリ装置として利用されるときである。そして、これらの内で特にプリンタからの情報が入力されたときには、ガイドプレート42′は、下向き姿勢T2(図10(A)参照)に設定され、これによって用紙P2は全てガイドプレート42′により掬い上げられマルチトレイ部30へ向けて送り込まれる。
前記外部機器90から伝送される情報には、そのメインである画像情報の他に、当該外部機器90がプリンタであるのか、ファクシミリ装置であるのか、また、プリンタである場合には、どの機種のプリンタからのものであるのかを特定するための、いわゆるID(identification)番号が含まれている。
一方、ROM82には、どのID番号がどの排紙トレイ32に対応するのかを示すテーブルが記憶されている。そして、排紙トレイ判別部811は、外部機器90からのID番号が入力されると、現に入力されたID番号がいずれの排紙トレイ32であるのかをROM82のテーブルから読み取って判別する。
引き続き排紙トレイ判別部811は、判別した排紙トレイ32に用紙P2を排出させるべく、当該排紙トレイ32の特定番号(例えば下から何段目)を指令信号として制御信号出力部814へ向けて出力する。この指令信号が入力された制御信号出力部814は、その選択された排紙トレイ32に対応するガイドフィン42を退避姿勢S1から分岐姿勢S2に姿勢変更させるべく、駆動モータ71へ向けて制御信号を出力する。
この制御信号は、具体的にはホームポジションに位置している干渉突起53が選択された干渉突起53に対応する操作部材54へ到達するまでに必要となるパルス数のパルス信号である。このパルス信号が入力された駆動モータ71は、そのパルス数に対応した量だけ正確に駆動してタイミングベルト52が正確に周回するため、干渉突起53は目的の操作部材54に到達して被操作プレート542をガイド軸41回りに回動させ、これによって当該選択されたガイドフィン42は退避姿勢S1から分岐姿勢S2へ姿勢変更する。
その後、用紙P2は、仕分け部23から受入開口316を介してマルチトレイ部30内の排紙搬送路310へ送り込まれ、分岐姿勢S2に姿勢設定されたガイドフィン42を介して選択された排紙トレイ32へ排出される。この用紙P2の排出は、当該ジョブが完了するまで実行される。そして、そのジョブが完了すると、制御信号出力部814からの制御信号による駆動モータ71の駆動によってタイミングベルト52が周回され、これによって干渉突起53が元のホームポジションへ戻されて次のジョブに備えられる。
前記入力装置84は、複合機10を複写機として利用するとき、当該複写処理によって複写された用紙P2の排出先を設定するため、およびタイミングベルト52の周回速度を変更させるために所定の入力操作を行うべく設けられている。
まず、複合機10を、プリンタやファクシミリ装置ではなく複写用として利用するときは、プリンタやファクシミリ装置等の外部機器90からID番号がCPU81に入力されることがないため、汎用トレイ301および複数の排紙トレイ32の内のいずれに向けて用紙P2を排出させるかが予め特定されてユーザー側で排出先を指定することができる。なお、複合機10側でプリンタの排出先を設定することもできる。因みに、複合機10をファクシミリ装置として使用するときには、ファクシミリ専用のものとして排出先を予め設定しておくことができる。なお、ファクシミリの場合も、複合機10側で排出先を設定することも可能である。
そこで、本実施形態においては、複合機10を複写機として使用するに際し、入力装置84から特に排出先を選択するためのキー操作が行われなかったときは、前記ガイドプレート42′が横向き姿勢U1(図9参照)に姿勢設定されたままとされる。従って、特に排出先を選択することが行われなかったときには、複写処理後の用紙P2は全て汎用トレイ301へ向けて排出される。
これに対し、複合機10を複写機として使用する場合であっても入力装置84からいずれかの排紙トレイ32を選択する旨のキー操作による入力処理が行われたときには、この信号が排紙トレイ判別部811へ入力され、これによって前述の外部機器90からのID番号が排紙トレイ判別部811へ入力された場合と同様の制御が行われ、選択された排紙トレイ32へ向けて排出されることになる。
前記駆動モータ回転方向判別部812は、選択された排紙トレイ32へ用紙P2を排出するべく当該駆動モータ71をタイミングベルト52の周回のために駆動するのか、あるいは駆動モータ71を排紙トレイ32へ向かう用紙P2を搬送するために駆動するのかを判別し、その目的に応じて当該駆動モータ71の駆動回転の方向を異ならせるようにするものである。
そして、外部機器90からのID信号や、入力装置84からの入力信号に基づき画像形成処理が実行されると、駆動モータ回転方向判別部812は、まず、制御信号出力部814を介して駆動モータ71へタイミングベルト52を周回させるべき信号を出力するため、排紙トレイ判別部811が判別した周回量だけ一方向(図5に示す例では時計方向)に向けて回転駆動することになる。
これによるタイミングベルト52の所定の周回量で用紙P2が排出されるべき排紙トレイ32が選択されると(具体的には、選択された排紙トレイ32に対応するガイドフィン42が退避姿勢S1から分岐姿勢S2に姿勢変更されると)、駆動モータ71が停止される。因みに、この駆動モータ71の停止のタイミングの判別は排紙トレイ判別部811が行い、駆動モータ71は、当該排紙トレイ判別部811からの制御信号出力部814を介して停止信号により一旦停止する。
引き続き、駆動モータ回転方向判別部812は、制御信号出力部814に駆動モータ71を逆方向に駆動回転させるべき制御信号を出力させるため、駆動モータ71は逆回転し、これによる第1ワンウエイクラッチ76(図6)を介した用紙搬送用ギヤ機構72の動作により上方向け搬送手段61(図7)およびトレイ向け搬送手段62が駆動して用紙P2を排紙搬送路310に沿って上昇させた後、分岐姿勢S2に姿勢設定されているガイドフィン42を通って選択された排紙トレイ32へ排出される。
一方、ROM82には、用紙P2のサイズに応じた用紙P2を排出するために必要な駆動モータ71を駆動させるためのパルス数が記憶されている。そして、駆動モータ回転方向判別部812は、入力装置84から入力された用紙Pのサイズおよび枚数と、ROM82から読み出した前記パルス数とに基づき、当該ジョブで駆動モータ71が駆動を継続するべきパルス数を算出する。そして、制御信号出力部814からの制御信号としてのパルスが算出されたパルス数に到達すると、当該パルスの出力が停止されて駆動モータ71は停止し、そのジョブが終了する。
ついで、前記入力装置84には、タイミングベルト52の周回速度を変更させるための図略のダイヤルが設けられている。このダイヤルは、タイミングベルト52の周回速度が速過ぎることによって干渉突起53が被操作プレート542と干渉するときおよび干渉が解除されるときに生じる騒音の発生を調節するためのものである。
一方、ROM82には、ダイヤルの一方向へ向かう回動量と、タイミングベルト52の周回速度(具体的には駆動モータ71の駆動速度)との関係を示すテーブルが記憶されている。そして、ベルト周回速度判別部813は、入力されたダイヤルの回動量から前記テーブルを参照して駆動モータ71の駆動速度を設定し、制御信号出力部814へ向けて駆動モータ71をその駆動速度で駆動させるべき制御信号を出力させるための指令信号を出力する。
この指令信号を受けた制御信号出力部814は、駆動モータ71へ向けて制御信号を出力するため、駆動モータ71の駆動速度の変更(具体的には駆動速度の低速化)でタイミングベルト52の周回速度が遅くなり、これによってタイミングベルト52の干渉突起53が操作部材54の被操作プレート542と干渉することによる騒音の発生を抑えることができる。
なお、騒音の発生を犠牲にしても用紙P2の排出効率を向上させることを優先させるような場合には、ダイヤルが基準位置から逆方向に向けて操作される。こうすることで駆動モータ71の駆動速度が速められ、これによるタイミングベルト52の周回速度の高速化で選択された排紙トレイ32のガイドフィン42の退避姿勢S1から分岐姿勢S2への迅速に姿勢変更が実現する。
以上詳述したように、本実施形態に係る画像形成装置1は、複合機10と、この複合機10の下流端に後処理装置20が連設されてなるものであり、後処理装置20側に直方体状の枠フレーム31を備えてなる画像形成処理済みの用紙P2を排出するためのマルチトレイ部30が設けられている。
このマルチトレイ部30には、排紙のために用紙P2が搬送される排紙搬送路310と、当該排紙搬送路310に沿って並設された複数の排紙トレイ32と、各排紙トレイ32に対応して排紙搬送路310中に設けられ、搬送中の用紙P2を遣り過ごす退避姿勢S1と搬送中の用紙P2を排紙トレイ32へ分岐させる分岐姿勢S2との間で姿勢変更が可能なガイドフィン42を有する複数の切り換えガイド40と、ガイドフィン42の姿勢を変更させる姿勢変更手段50とを備えている。
そして、姿勢変更手段50は、1つの駆動モータ71の駆動により選択されていない排紙トレイ32に対応するガイドフィン42を退避姿勢S1に姿勢設定した上で、選択された1つの排紙トレイ32に対応するガイドフィン42を退避姿勢S1から分岐姿勢S2へ姿勢変更させるように構成されている。
このような構成のマルチトレイ部30によれば、姿勢変更手段50は、用紙P2を排出するべく予め選択された排紙トレイ32のガイドフィン42を、1つの駆動モータ71の駆動によって退避姿勢S1から分岐姿勢S2へ姿勢変更させるため、各ガイドフィン42に対応してソレノイド装置などの駆動手段が複数採用されている従来のものに比べて駆動手段が1つでよく、その分部品点数を削減することができ、結果として装置コストの低減化に貢献することができる。
また、一旦排紙搬送路310へ引き入れた用紙P2を予め設定された排紙トレイ32の直下流側まで搬送したのち逆送させ、用紙P2の順送は許容するが逆送は阻止して用紙P2を分岐させるいわゆる「受動的ゲート」によって当該排紙トレイ32へ排出させる従来の受動的ゲート方式にあっては、用紙P2が目的の排紙トレイ32を通過してから逆送させるためその分排紙時間が長引き、排紙効率が劣るという不都合が存在するが、本実施形態では、用紙P2を逆送させないため、かかる不都合が生じることはない。
これらにより、従来の各ガイドフィン42に対応して複数の駆動手段を設けたものに比較して1つの駆動モータ71の駆動で選択された排紙トレイ32のガイドフィン42を退避姿勢S1から分岐姿勢S2へ姿勢変更させることができ、これによって従来のものに比べて装置コストの低減化に貢献することができる。
また、姿勢変更手段50は、駆動モータ71の駆動により排紙搬送路310に沿って一方向に周回することによりガイドフィン42の姿勢変更の用に供されるタイミングベルト52を有し、タイミングベルト52は、ガイドフィン42の姿勢変更操作用の干渉突起53を有している。そして、ガイドフィン42は、干渉突起53が停止した位置のものだけが分岐姿勢S2に姿勢設定されるため、駆動モータ71の駆動でタイミングベルト52を一方向に向けて周回させ、タイミングベルト52の干渉突起53が選択された排紙トレイ32に対応するガイドフィン42の位置に到達した時点でタイミングベルト52の周回を停止させることにより、このガイドフィン42を退避姿勢S1から分岐姿勢S2に姿勢変更させることができる。従って、排紙搬送路310に送り込まれた用紙P2を、この分岐姿勢S2に姿勢設定されたガイドフィン42に案内されて選択された排紙トレイ32へ排出することができる。
そして、干渉突起53の操作部材54との干渉状態は、タイミングベルト52の周回により干渉突起53が操作部材54の被操作プレート542を遣り過ごすことで解消されるようになされているため、姿勢変更手段50の構造が極めて簡単なものになり、装置コストの低減化に寄与することができる。
本発明は、上記の実施形態に限定されるものではなく、以下の内容をも包含するものである。
(1)上記の実施形態においては、複数段の排紙トレイ32を備えたマルチトレイ部30を有する画像形成装置1として上流側の複合機10と、この複合機10に連設された下流側の後処理装置20とを備えたものを例として挙げて説明したが、後処理装置20を設けることなく複合機10にマルチトレイ部30を直接設けてもよい。また、複合機10に代えてプリンタ、複写機およびファクシミリ装置のいずれかにしてもよい。
(2)上記の実施形態において、7つの排紙トレイ32の最上位のものの上にさらにもう1つの排紙トレイ32を設けて排紙トレイ32を合計8つとし、全てのガイドフィン42が退避姿勢S1に姿勢設定された状態で用紙P2を最上位の排紙トレイ32へ排出させるようにしてもよい。こうすることで、切り換えガイド40および姿勢変更手段50を現状のままとした上で排紙トレイ32を1つ追加することが可能になり、用紙P2の分岐先を1つ増やすことができる。
(3)上記の実施形態において、複合機10を複写機として使用するに際し、ユーザーが入力装置84に設けられたカード読み取り装置にIDカードを差し込むことで用紙P2が排出されるべき排紙トレイ32が自動的に設定されるようにしてもよい。こうすることによって複写処理を行うときに入力装置84から一々特定の排紙トレイ32を選択するための入力操作を行わなくてもよく、その分画像形成処理を行うときの作業性を向上させることができる。
(4)上記の実施形態においては、タイミングベルト52に設けられた干渉突起53のホームポジションを、図10(A)に示すように、タイミングベルト52の最下位に位置した状態とされ、これによって特に用紙P2の排出先が選択されないときは、用紙P2は、自動的に最下位の排紙トレイ32に排出されるようになされているが、こうする代わりにタイミングベルト52の最上位をホームポジションとして設定してもよい。このようにすれば、上から2段目以降の排紙トレイ32が選択された場合、ガイドフィン42は、周回ルートを半周分だけ一旦上昇することなく直ちに目的の切り換えガイド40へ向けて下降することができ、その分切り換えガイド40の切り換え操作の迅速性を向上させることができる。
(5)上記の実施形態において、タイミングベルト52に設けられる干渉突起53は、図5に示す例では、1つしか設けられていないが、タイミングベルト52の点対称位置にそれぞれ1つずつ干渉突起53を設けて合計2つにしてもよい。こうすることで、一方の干渉突起53がホームポジションに位置した状態で他方の干渉突起53を最上位置へ位置させることができ、これによって干渉突起53の操作部材54に対する姿勢変更操作をより迅速に行うことができる。さらに、図8に示す例のように、干渉突起53をタイミングベルト52に等間隔に3つ設けてもよいし、場合によっては4つ以上設けてもよい。
(6)図13は、用紙P2を汎用トレイ301へ排出するための機構の他の実施形態を模式的に示した正面断面視の説明図である。図13におけるXによる方向表示は、図1の場合と同様(−X:左方、+X:右方)である。この実施形態においては、用紙P2の汎用トレイ301および排紙トレイ32間における搬送先の切換を、上記の姿勢変更手段50を用いないで可変ガイド板231およびソレノイド装置234を備えてなる専用の機構を採用している。
なお、図13においては、枠内ガイド板314の上面と排紙トレイ32の上面とが面一になるように描いているが、実際は、枠内ガイド板314の左端縁と、排紙トレイ32の右端縁との間に排紙トレイ32の方が下位になる段差が設けられ、一旦排紙トレイ32上へ排出された用紙P2が逆流することがないようになされている(図7参照)。
可変ガイド板231は、図13に示すように、正面視で上に凹の円弧状に形成され、最下位の枠内ガイド板314の右側の下端縁部から右方へ向かって先下がりに傾斜して配設されている。このような可変ガイド板231は、その左端部がブラケットを介して前後方向(図13の紙面に直交する方向)に延びた支持軸232回りに回動可能に軸支され、図13に実線で示す横向き姿勢U1と、図13に二点差線で示す下向き姿勢U2との間で姿勢変更可能とされている。
可変ガイド板231にかかる姿勢変更を行わせるために、可変ガイド板231の左端部には、下方へ向かって突設された操作アーム233が設けられているとともに、この操作アーム233の左斜め上の位置にソレノイド装置234が配設されている。
前記ソレノイド装置234は、箱形のソレノイド装置本体235と、このソレノイド装置本体235の右面から前記操作アーム233に向けて進退可能に突設された操作ロッド236とを備えている。操作ロッド236の先端部と、支持軸232の先端部とは互いにリンクされ、これによって操作ロッド236のソレノイド装置本体235からの進退が支持軸232へ伝達される。
ソレノイド装置本体235には、電磁コイルと、この電磁コイルに貫通した前記操作アーム233と一体の鉄心と、当該鉄心を右方へ向けて付勢する付勢部材とが内装されている。従って、支持軸232は、普段、付勢部材の付勢力でソレノイド装置本体235から外部に突出され、これによって、可変ガイド板231は、操作アーム233を介して支持軸232回りに反時計方向に向けて回動されて横向き姿勢U1に姿勢設定されている。
これに対し、ソレノイド装置234の電磁コイルに制御信号としての電流が供給されると、当該電磁コイルの励磁で操作ロッド236が付勢部材の付勢力に抗してソレノイド装置本体235内に引き入れられ、これによって今まで横向き姿勢U1に姿勢設定されていた可変ガイド板231は、支持軸232回りに時計方向に向けて回動し、図13に二点差線で示すように下向き姿勢U2に姿勢変更される。
そして、可変ガイド板231が横向き姿勢U1に姿勢設定された状態では、仕分け部23に供給された用紙P2は、可変ガイド板231の下を潜って汎用トレイ301へ排出されるのに対し、可変ガイド板231が下向き姿勢U2に姿勢設定されたときには、用紙P2は可変ガイド板231の上面に掬い上げられ、マルチトレイ部30へ向かうことになる。
本発明に係る用紙排出装置が適用された画像形成装置の一実施形態を示す正面断面視の説明図である。 本実施形態に係るマルチトレイ部の設計ベースの図であって、マルチトレイ部の斜視のスケルトン図である。 本実施形態に係るマルチトレイ部の設計ベースの図であって、図2のスケルトンにカバーおよび排紙トレイが装着された状態を示す斜視図である。 本実施形態に係る切り換えガイドの一実施形態にを示す斜視図である。 図2〜図4に示すマルチトレイ部の原理を説明するための一部切り欠き斜視原理図であって、前方側から見た斜視図である。 図5に示すマルチトレイ部を後方側から見た斜視図である。 図3のVII−VII線視の断面図である。 ガイドプレートの一実施形態を示す斜視図である。 マルチトレイ部の作用を説明するための正面断面視の説明図であって、ガイドプレートが上向き姿勢に姿勢設定された状態を示し、(A)は、ガイドフィンおよびガイドプレートの作用を説明するためのマルチトレイ部の内部構造、(B)は、干渉突起の操作部材に対する作用を説明するためのマルチトレイ部の前面側の構造をそれぞれ示している。 マルチトレイ部の作用を説明するための正面断面視の説明図であって、ガイドプレートが下向き姿勢に姿勢設定された状態を示し、(A)は、ガイドフィンおよびガイドプレートの作用を説明するためのマルチトレイ部の内部構造、(B)は、干渉突起の操作部材に対する作用を説明するためのマルチトレイ部の前面側の構造をそれぞれ示している。 駆動力伝達機構の一実施形態を示す斜視図である。 制御手段による用紙のマルチトレイ部への排出制御の一実施形態を説明するためのブロック図である。 用紙P2を汎用トレイへ排出するための機構の他の実施形態を模式的に示した正面断面視の説明図である。
符号の説明
1 画像形成装置 2 画像形成装置の装置本体
3 搬送路 4 排紙口
5 反転部 6 後処理装置の装置本体
10 複合機 11 原稿装填部
111 カバー蓋体 112 原稿トレイ
113 原稿給紙機構 12 画像読取部
121 コンタクトガラス 122 画像読取機構
124 光学系部材 125 移動光源
126 ミラー 127 レンズ部材
13 画像形成部 131 感光体ドラム
132 搬送ベルト 133 現像部
14 定着部 141 定着ローラ
142 加圧ローラ 143 搬出ローラ対
15 用紙貯留部 151 用紙カセット
152 ピックアップローラ 153 給紙ローラ
20 後処理装置 21 用紙搬入部
211 用紙受入れシュート
22 パンチ部 221 パンチ屑容器
23 仕分け部 231 可変ガイド板
232 支持軸 233 操作アーム
234 ソレノイド装置 235 ソレノイド装置本体
236 操作ロッド 24 中間トレイ部
241 中間搬送路 25 用紙中折り部
251 中折りトレイ 30,30′ マルチトレイ部
301 汎用トレイ 302 マルチトレイ
303 単純トレイ 310 排紙搬送路
31 枠フレーム 311 側板
312 天板 314 枠内ガイド板
315 右面板 316 受入開口
317 カバー 32 排紙トレイ
40,40a 切り換えガイド
401 ガイド本体 41,41′ ガイド軸
42 ガイドフィン 42′ ガイドプレート
421 凸円弧縁部 422 凹円弧縁部
43 捻りバネ(付勢部材) 50 姿勢変更手段(切り換え手段)
42′ ガイドプレート 51 プーリ(移動手段)
51a 歯付きプーリ(移動手段)
511 突設軸
52 タイミングベルト(無端ベルト(移動手段))
53 干渉突起 531 傾斜面
54 操作部材(係合部) 541 三角板
542 被操作プレート 55 架設軸
551,552 第1〜第2架設軸
60 搬送手段 61 上方向け搬送手段
611,612,621,622 第1〜第4搬送ローラ
613 ローラ軸 62 トレイ向け搬送手段
623 ローラ軸 70 駆動力伝達機構
71 駆動モータ(駆動手段) 711 駆動軸
72 用紙搬送用ギヤ機構 721 駆動ギヤ
73 上方向け搬送用ギヤ 74 トレイ向け搬送用ギヤ
75 アイドルギヤ 76 第1ワンウエイクラッチ
77 ガイドフィン用ギヤ機構 78 ガイドフィン用従動ギヤ
79 第2ワンウエイクラッチ 80 制御手段
81 CPU 811 排紙トレイ判別部(選択手段)
812 駆動モータ回転方向判別部
813 ベルト周回速度判別部 814 制御信号出力部
82 ROM 83 RAM
84 入力装置 90 外部機器
P1 原稿 P2 用紙
S1 退避姿勢 S2 分岐姿勢
T1 上向き姿勢 T2 下向き姿勢
U1 横向き姿勢 U2 下向き姿勢

Claims (8)

  1. 排紙のために用紙が搬送される排紙搬送路と、
    前記排紙搬送路に沿って並設された複数の排紙トレイと、
    前記各排紙トレイに対応して前記排紙搬送路中に設けられて搬送中の用紙を遣り過ごす退避姿勢と搬送中の用紙を排紙トレイへ分岐させる分岐姿勢との間で姿勢変更が可能な複数の切り換えガイドと、
    前記切り換えガイドを、用紙が通過するように退避する退避姿勢と、用紙を前記排紙トレイへ分岐させる分岐姿勢との間で姿勢を切り換える切り換え手段とを備え、
    前記切り換え手段は、前記切り換えガイドを姿勢変更させるための切り換え片を移動させる1つの移動手段と、
    前記移動手段を駆動する駆動手段と、
    前記切り換えガイドに備えられ、前記切り換え片と係合して前記切り換えガイドを前記退避姿勢から前記分岐姿勢へ姿勢変更させる係合部とを備えることを特徴とする用紙排出装置。
  2. 最下段の前記排紙トレイのさらに下方位置に複数の排紙トレイのいずれにも排出されない用紙を排出するための汎用トレイと、
    前記汎用トレイと前記排紙トレイとの間で用紙の排出先を切り換えるべく姿勢変更するガイドプレートとが設けられ、
    前記ガイドプレートは、前記切り換え手段によって姿勢変更されることを特徴とする請求項1記載の用紙排出装置。
  3. 前記移動手段は、前記駆動モータの駆動により前記排紙搬送路に沿って一方向に周回することにより前記切り換えガイドの姿勢変更の用に供される無端ベルトを有し、
    前記切り換え片は、前記無端ベルトから前記係合部と係合し得る方向に向けて突設された突起であり、
    前記切り換えガイドは、前記突起が停止した位置のもののみが分岐姿勢に姿勢設定されることを特徴とする請求項1または2記載の用紙排出装置。
  4. 請求項3記載の用紙排出装置において、前記切り換えガイドを退避姿勢へ向けて付勢する付勢部材と、用紙搬送方向と直交する方向に延び、かつ、軸心回りに前記切り換えガイドと一体回動するガイド軸とが備えられ、
    前記係合部は、前記ガイド軸の端部に一体回動可能に固定され前記突起と干渉して前記切り換えガイドを前記退避姿勢から前記分岐姿勢へ姿勢変更させるように構成され、
    前記突起の前記係合部との干渉状態は、前記無端ベルトの周回によって前記突起が前記切り換え部材を通過することにより解消されることを特徴とする用紙排出装置。
  5. 請求項3または4記載の用紙排出装置において、前記無端ベルトは、周回速度が調節可能に構成されていることを特徴とする用紙排出装置。
  6. 用紙を排出させる排紙トレイを選択する選択手段を有し、かつ、駆動モータの駆動を制御することにより用紙を選択された前記排紙トレイへ排出させるべく前記切り換えガイドの姿勢を変更する制御手段が備えられていることを特徴とする請求項1乃至5のいずれかに記載の用紙排出装置。
  7. 前記排紙トレイを支持する枠フレームには、用紙を排紙トレイ上へ搬送する排紙ローラが設けられ、前記駆動モータの正回転時に前記無端ベルトを周回駆動させ、前記駆動モータの逆回転時に前記排紙ローラを回転駆動させるワンウエイクラッチが無端ベルト周回駆動系および排紙ローラ回転駆動系にそれぞれ設けられていることを特徴とする請求項1乃至6のいずれかに記載の用紙排出装置。
  8. 画像形成部における画像形成処理により用紙に印刷処理を施す画像形成装置であって、請求項1乃至7のいずれかに記載の用紙排出装置が適用されていることを特徴とする画像形成装置。
JP2008175949A 2008-07-04 2008-07-04 用紙排出装置および画像形成装置 Active JP5433177B2 (ja)

Priority Applications (3)

Application Number Priority Date Filing Date Title
JP2008175949A JP5433177B2 (ja) 2008-07-04 2008-07-04 用紙排出装置および画像形成装置
CN2009101519062A CN101618807B (zh) 2008-07-04 2009-07-02 出纸装置和图像形成装置
US12/497,942 US7976021B2 (en) 2008-07-04 2009-07-06 Sheet discharge device and image forming apparatus

Applications Claiming Priority (1)

Application Number Priority Date Filing Date Title
JP2008175949A JP5433177B2 (ja) 2008-07-04 2008-07-04 用紙排出装置および画像形成装置

Related Child Applications (1)

Application Number Title Priority Date Filing Date
JP2012150630A Division JP5496273B2 (ja) 2012-07-04 2012-07-04 用紙排出装置および画像形成装置

Publications (2)

Publication Number Publication Date
JP2010013249A true JP2010013249A (ja) 2010-01-21
JP5433177B2 JP5433177B2 (ja) 2014-03-05

Family

ID=41463760

Family Applications (1)

Application Number Title Priority Date Filing Date
JP2008175949A Active JP5433177B2 (ja) 2008-07-04 2008-07-04 用紙排出装置および画像形成装置

Country Status (3)

Country Link
US (1) US7976021B2 (ja)
JP (1) JP5433177B2 (ja)
CN (1) CN101618807B (ja)

Cited By (2)

* Cited by examiner, † Cited by third party
Publication number Priority date Publication date Assignee Title
JP2016199339A (ja) * 2015-04-08 2016-12-01 京セラドキュメントソリューションズ株式会社 記録媒体排出装置及び画像形成装置
JP2018034939A (ja) * 2016-08-31 2018-03-08 京セラドキュメントソリューションズ株式会社 排紙装置及び画像形成装置

Families Citing this family (14)

* Cited by examiner, † Cited by third party
Publication number Priority date Publication date Assignee Title
JP5338763B2 (ja) 2010-07-26 2013-11-13 ブラザー工業株式会社 印刷装置
JP5240254B2 (ja) * 2010-08-19 2013-07-17 ブラザー工業株式会社 印刷装置
JP5865787B2 (ja) * 2012-06-25 2016-02-17 シャープ株式会社 画像形成装置
US9238562B2 (en) * 2014-03-31 2016-01-19 Brother Kogyo Kabushiki Kaisha Image forming apparatus
JP6047183B2 (ja) 2015-01-22 2016-12-21 京セラドキュメントソリューションズ株式会社 画像形成装置
US9682834B2 (en) * 2015-03-27 2017-06-20 Seiko Epson Corporation Transport apparatus
US9580266B1 (en) * 2015-10-26 2017-02-28 Lexmark International, Inc. Multi-path media diverter system for an imaging device
JP2018008783A (ja) * 2016-07-13 2018-01-18 セイコーエプソン株式会社 記録後処理装置および記録装置
JP2020049654A (ja) * 2018-09-21 2020-04-02 コニカミノルタ株式会社 画像形成装置、画像形成装置の制御方法、および画像形成装置の制御プログラム
CN110342320B (zh) * 2019-08-22 2024-05-28 成都理工大学 多层滚轴式自动装订储存箱
CN111917930A (zh) * 2020-07-15 2020-11-10 远光软件股份有限公司 一种扫描装置
CN112209154B (zh) * 2020-09-30 2021-07-09 威海西进电子有限公司 一种打印机辅助出纸机构
JP2024076723A (ja) * 2022-11-25 2024-06-06 セイコーエプソン株式会社 媒体処理装置、記録システム、媒体処理装置の制御方法
JP2025011373A (ja) * 2023-07-11 2025-01-24 京セラドキュメントソリューションズ株式会社 シート処理ユニット

Citations (1)

* Cited by examiner, † Cited by third party
Publication number Priority date Publication date Assignee Title
JP2005306548A (ja) * 2004-04-21 2005-11-04 Canon Inc シート積載装置を備えた画像形成装置

Family Cites Families (15)

* Cited by examiner, † Cited by third party
Publication number Priority date Publication date Assignee Title
JPS5238837U (ja) * 1975-09-11 1977-03-18
US4299382A (en) * 1978-10-06 1981-11-10 Canon Kabushiki Kaisha Sheet sorting and stacking apparatus
US4349190A (en) * 1979-09-29 1982-09-14 Ricoh Co., Ltd. Sheet classifying system having deflecting device
JPS5678763A (en) * 1979-11-27 1981-06-27 Konishiroku Photo Ind Co Ltd Deflecting device for sorter and the like
JPS5733151A (en) * 1980-07-31 1982-02-23 Olympus Optical Co Ltd Collator
US4819931A (en) * 1986-09-09 1989-04-11 Ikegami Tsushinki Co., Ltd. Sorting apparatus
US5104117A (en) * 1988-01-15 1992-04-14 Emf Corporation Paper sheet sorting apparatus
JPH0725465B2 (ja) * 1988-07-11 1995-03-22 三田工業株式会社 ソーター
JPH04308865A (ja) 1991-04-08 1992-10-30 Ricoh Co Ltd 画像形成装置における用紙スタック装置
US5346205A (en) * 1993-06-07 1994-09-13 Gradco (Japan) Ltd. Sorter having pivotable diverter gates with nip rollers and diverter module assembly therefor
US5348288A (en) * 1993-09-27 1994-09-20 Gradco (Japan) Ltd. Moving tray sorter with variable tray shifting motor controller
US5938194A (en) * 1994-10-21 1999-08-17 Gradco (Japan) Ltd. Mailbox with spring biased gates
US6308952B1 (en) * 1998-01-27 2001-10-30 Brother Kogyo Kabushiki Kaisha Paper sheet discharge apparatus
US6478298B1 (en) * 2000-08-03 2002-11-12 Xerox Corporation Fixed station sorter/mailbox with passive gate station entrance system
JP4308865B2 (ja) 2007-03-30 2009-08-05 Okiセミコンダクタ株式会社 半導体素子の製造方法、及び半導体素子の製造装置

Patent Citations (1)

* Cited by examiner, † Cited by third party
Publication number Priority date Publication date Assignee Title
JP2005306548A (ja) * 2004-04-21 2005-11-04 Canon Inc シート積載装置を備えた画像形成装置

Cited By (4)

* Cited by examiner, † Cited by third party
Publication number Priority date Publication date Assignee Title
JP2016199339A (ja) * 2015-04-08 2016-12-01 京セラドキュメントソリューションズ株式会社 記録媒体排出装置及び画像形成装置
US10054893B2 (en) 2015-04-08 2018-08-21 Kyocera Document Solutions Inc. Recording medium ejecting device and image forming apparatus
JP2018034939A (ja) * 2016-08-31 2018-03-08 京セラドキュメントソリューションズ株式会社 排紙装置及び画像形成装置
US10351379B2 (en) 2016-08-31 2019-07-16 Kyocera Document Solutions Inc. Paper discharge apparatus for discharging conveyed paper, and image forming apparatus equipped with same

Also Published As

Publication number Publication date
CN101618807B (zh) 2012-01-04
JP5433177B2 (ja) 2014-03-05
US20100001462A1 (en) 2010-01-07
US7976021B2 (en) 2011-07-12
CN101618807A (zh) 2010-01-06

Similar Documents

Publication Publication Date Title
JP5433177B2 (ja) 用紙排出装置および画像形成装置
US6824128B2 (en) Jam disposal for sheet post-processing device
US6641129B2 (en) Sheet post-processing device
US6814353B1 (en) Automatic document feeder and image forming device
US7949294B2 (en) Image forming apparatus with switchback transport path in the stapling unit
US7684750B2 (en) Image forming apparatus
JP4099717B2 (ja) 被記録媒体供給装置及び画像形成装置
US7450874B2 (en) Image forming apparatus
JP5496273B2 (ja) 用紙排出装置および画像形成装置
JP5740498B2 (ja) 用紙排出装置および画像形成装置
CN100520612C (zh) 图像形成装置的供纸结构
JP2010143698A (ja) 用紙後処理装置
JP4241528B2 (ja) 給紙装置及び画像形成装置
JP5303408B2 (ja) 用紙排出装置及び画像形成装置
JP2006312547A (ja) シート処理装置及び画像形成装置
JP5595540B2 (ja) 用紙排出装置及び画像形成装置
JP2007076860A (ja) シート後処理装置
JP4669599B2 (ja) 画像形成装置
JP4143551B2 (ja) 画像形成装置
JP2013249198A (ja) シート搬送装置、並びにこれを用いる画像読取装置及び画像形成装置
JPH083416Y2 (ja) 用紙仕上げ装置
JP4711727B2 (ja) シート処理装置、および画像形成装置
JP5931244B2 (ja) シート積載装置
JP2006240801A (ja) 画像形成装置
JP5722207B2 (ja) シート積載装置、後処理装置、画像形成装置

Legal Events

Date Code Title Description
A621 Written request for application examination

Free format text: JAPANESE INTERMEDIATE CODE: A621

Effective date: 20110121

A977 Report on retrieval

Free format text: JAPANESE INTERMEDIATE CODE: A971007

Effective date: 20120423

A131 Notification of reasons for refusal

Free format text: JAPANESE INTERMEDIATE CODE: A131

Effective date: 20120508

A521 Request for written amendment filed

Free format text: JAPANESE INTERMEDIATE CODE: A523

Effective date: 20120704

A02 Decision of refusal

Free format text: JAPANESE INTERMEDIATE CODE: A02

Effective date: 20130205

A521 Request for written amendment filed

Free format text: JAPANESE INTERMEDIATE CODE: A523

Effective date: 20130425

A911 Transfer to examiner for re-examination before appeal (zenchi)

Free format text: JAPANESE INTERMEDIATE CODE: A911

Effective date: 20130508

A912 Re-examination (zenchi) completed and case transferred to appeal board

Free format text: JAPANESE INTERMEDIATE CODE: A912

Effective date: 20130712

A61 First payment of annual fees (during grant procedure)

Free format text: JAPANESE INTERMEDIATE CODE: A61

Effective date: 20131209

R150 Certificate of patent or registration of utility model

Free format text: JAPANESE INTERMEDIATE CODE: R150

Ref document number: 5433177

Country of ref document: JP

Free format text: JAPANESE INTERMEDIATE CODE: R150