JP2010012924A - 車両のドアフレーム構造 - Google Patents

車両のドアフレーム構造 Download PDF

Info

Publication number
JP2010012924A
JP2010012924A JP2008174412A JP2008174412A JP2010012924A JP 2010012924 A JP2010012924 A JP 2010012924A JP 2008174412 A JP2008174412 A JP 2008174412A JP 2008174412 A JP2008174412 A JP 2008174412A JP 2010012924 A JP2010012924 A JP 2010012924A
Authority
JP
Japan
Prior art keywords
vehicle
sash
space
plate material
door frame
Prior art date
Legal status (The legal status is an assumption and is not a legal conclusion. Google has not performed a legal analysis and makes no representation as to the accuracy of the status listed.)
Granted
Application number
JP2008174412A
Other languages
English (en)
Other versions
JP5198955B2 (ja
Inventor
Tetsuhisa Kawaguchi
哲央 川口
Shinji Kawachi
慎治 河内
Yu Okumura
祐 奥村
Isami Mihashi
勲見 三橋
Tsuguhiro Tochi
接宏 東地
Current Assignee (The listed assignees may be inaccurate. Google has not performed a legal analysis and makes no representation or warranty as to the accuracy of the list.)
Shiroki Corp
Original Assignee
Shiroki Corp
Priority date (The priority date is an assumption and is not a legal conclusion. Google has not performed a legal analysis and makes no representation as to the accuracy of the date listed.)
Filing date
Publication date
Application filed by Shiroki Corp filed Critical Shiroki Corp
Priority to JP2008174412A priority Critical patent/JP5198955B2/ja
Publication of JP2010012924A publication Critical patent/JP2010012924A/ja
Application granted granted Critical
Publication of JP5198955B2 publication Critical patent/JP5198955B2/ja
Expired - Fee Related legal-status Critical Current
Anticipated expiration legal-status Critical

Links

Images

Landscapes

  • Seal Device For Vehicle (AREA)

Abstract

【課題】作業工数が少なく生産性やコスト性に優れつつ、立柱サッシュとアッパサッシュの確実な溶接を可能とした車両のドアフレーム構造を提供する。
【解決手段】ドア上下方向に延びる立柱サッシュと、ドア上縁部を形成し、ドアコーナー部で該立柱サッシュに接合されるアッパサッシュとを有する車両のドアフレーム構造において、立柱サッシュは、車外側に位置するアウタ板材と車内側に位置するインナ板材を組み合わせてなり、アウタ板材の上端部の車内側へのヘム加工でインナ板材と密着固定されるヘミング部を有し、該ヘミング部のうちアッパサッシュと接合される接合端面上に、該ヘミング部を構成する板材が密着固定関係になく板間空間を形成しているヘム空間部を備えたことを特徴とする車両のドアフレーム構造。
【選択図】図5

Description

本発明は車両のドアフレーム構造に関する。
従来の車両用ドアフレームとして、特許文献1のように、ドアの上下方向に延びる立柱サッシュ(サイドサッシュ)とドア上縁部を形成するアッパサッシュとを、立柱サッシュの上端部のドアコーナー部において互いの端面を突き合わせて接合させた構造が知られている。アッパサッシュと立柱サッシュは、その接合面に沿って溶接される。
実開平1−62922号
車外側のアウタ板材と車内側のインナ板材を組み合わせて構成されるタイプの立柱サッシュでは、サッシュ上端部にてアウタ板材を車内側に折り返してインナ板材と密着固定させるヘミング加工が行われる。ヘミング部ではアウタ板材とインナ板材が密着しているため、アッパサッシュと立柱サッシュの接合面の溶接に際してサッシュ表面上のメッキが溶融、気化されて亜鉛蒸気が発生した場合、この蒸気の排出がヘミング部で妨げられ、溶接部から破裂的に噴出する爆飛という現象が生じたり、爆飛よりも小規模に亜鉛蒸気が噴出してピンホール(スポット孔)を形成したりするおそれがあった。爆飛やピンホールは、溶接部の外観不良や溶接不良の原因となり、これらの不具合が生じると、修正のために工数が増えて生産性やコスト性に悪影響を及ぼす。これを防ぐために、立柱サッシュを構成する板材をプレス加工する前に、溶接部位のメッキを予め剥ぐ手法がとられているが、メッキ剥ぎ自体に工数がかかるという問題がある。また、パウダープラズマ溶接工法やMIG溶接工法など、爆飛が起きにくい工法もあるが、メッキは溶接部の断面層に混在して存在しているため、これを完全に剥がすことは難しく、微細なピンホールの発生まで完全に回避できるものではなかった。
本発明は、以上の問題点に鑑みてなされたものであり、作業工数が少なく生産性やコスト性に優れつつ、立柱サッシュとアッパサッシュの確実な溶接を可能とした車両のドアフレーム構造を提供することを目的とする。
本発明は、ドア上下方向に延びる立柱サッシュと、ドアコーナー部で該立柱サッシュに接合されるアッパサッシュとを有する車両のドアフレーム構造において、立柱サッシュのヘミング部内に、溶接時に生じるメッキの亜鉛蒸気の逃げ空間を形成することに着目してなされたものである。すなわち本発明は、立柱サッシュが車外側に位置するアウタ板材と車内側に位置するインナ板材を組み合わせてなり、アウタ板材の上端部の車内側へのヘム加工でインナ板材と密着固定されてヘミング部が形成されるドアフレーム構造であって、該ヘミング部のうちアッパサッシュと接合される接合端面上に、ヘミング部を構成する板材が密着固定関係になく板間空間を形成しているヘム空間部を備えたことを特徴とする。
アッパサッシュは、立柱サッシュのヘム空間部との接合位置に、車外側の意匠面部と、該意匠面部に対して車内側に離間して位置する折り返し部に挟まれる板間空間を有し、アッパサッシュと立柱サッシュを接合させたとき、互いの上記板間空間が連通するように構成すると、メッキの亜鉛蒸気をより効率的に逃がすことができる。
具体的には、立柱サッシュのヘミング部におけるアウタ板材は、車外側に位置しアッパサッシュの意匠面部と略面一に接合される意匠面部と、該意匠面部からインナ板材を跨いで車内側に折り返された折り返し部とを有する。ヘム空間部の一態様として、このインナ板材の一部を車内側にオフセットさせて、アウタ板材の意匠面部との間に板間空間を形成させることが可能である。この場合、立柱サッシュとアッパサッシュの接合状態では、インナ板材の車内側オフセット部が、アッパサッシュの折り返し部に当接されることが好ましい。
ヘム空間部の別の態様として、アウタ板材の意匠面部と折り返し部の間にインナ板材が存在せず、該アウタ板材の意匠面部と折り返し部が直接に対向してその間に板間空間が形成されるようにしてもよい。この場合、立柱サッシュとアッパサッシュの接合状態では、アウタ板材の折り返し部がアッパサッシュの折り返し部に当接されることが好ましい。
以上の本発明のドアフレーム構造によれば、接合部の溶接によってメッキから亜鉛蒸気が生じた場合、ヘム空間部の板間空間が亜鉛蒸気の逃げスペースになるため、溶接部分における爆飛やピンホールを防ぐことができる。よって、準備工程としてのメッキ剥がしを省略でき、また溶接作業時の不具合修正作業も少なくでき、作業性の向上、生産コストの低減といった効果が得られる。
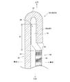
図1に示す自動車の側面ドア10は、ドアパネル11と、該ドアパネル11の上部に枠状に形成されたドアフレーム12とを有し、ドアパネル11の上縁部とドアフレーム12の内縁部とで囲まれる窓開口部13内にウインドガラス14が昇降する。ドアフレーム12は、車両ボディのルーフパネル(不図示)のドア開口部に沿ってドア上縁部を形成するアッパサッシュ15と、ドアパネル11の後部から車両ボディのセンターピラー(不図示)に沿って上下方向へ延設されたサイドサッシュ(立柱サッシュ)16を備えており、ドアコーナー部17でアッパサッシュ15とサイドサッシュ16が接合される。なお、本実施形態のドア10は前部座席用ドアであり、以下の説明における前後方向、上下方向、車内側、車外側といった表現は、この前部座席用ドア10が取り付けられる自動車のボディを基準とした方向を意味する。
図2に断面形状を示すように、アッパサッシュ15は一枚の板材によって形成されており、車外側に臨む意匠面部20と、窓開口部13に臨むガラスラン収納部21と、ガラスラン収納部21の車内側に位置する箱状(袋状)断面のフレーム部22と、フレーム部22から延長された平面延設部23を挟んでガラスラン収納部21の裏面側に位置するウェザストリップ保持部24を有している。ガラスラン収納部21は窓開口部13側に向けて開口されたコ字状断面をなし、その内部に、図示しないガラスランが保持される。ウェザストリップ保持部24は上方に向けて開口されたコ字状断面をなし、その内部に、図示しないウェザストリップの基部が保持される。
アッパサッシュ15における意匠面部20とウェザストリップ保持部24の間には、意匠面部20の背面側に沿う折り返し部25が形成されている。意匠面部20と折り返し部25は、アッパサッシュ15の上縁部を構成するU字状部26を介して、ドア厚み方向に僅かに離間した状態で接続されており、この意匠面部20と折り返し部25の間に板間空間S1(図5)が形成されている。本実施形態では、図5に示すサイドサッシュ16との接合部付近での、板間空間S1のドア厚み方向における幅D1は、0.2mmに設定されている。以下、この板間空間S1を有するアッパサッシュ15の上縁部分を、アッパエッジ部E1と呼ぶ。
図3に断面形状を示すように、サイドサッシュ16は、アウタ板材30とインナ板材40を組み合わせて構成されている。アウタ板材30は、車外側に臨んでサイドサッシュ16の意匠面を構成する意匠面部31と、窓開口部13に臨むガラスラン収納部32と、ガラスラン収納部32の車内側に位置する箱状(袋状)断面のフレーム部33と、フレーム部33から延長されガラスラン収納部32の底部に沿う平面延設部34を有している。ガラスラン収納部32は窓開口部13に向けて開口されたコ字状断面をなし、その内部に、図示しないガラスランが保持される。
サイドサッシュ16のインナ板材40は、平面延設部34を挟んでガラスラン収納部32の裏面側に位置するウェザストリップ保持部41と、該ウェザストリップ保持部41に続いて意匠面部31の背面側に位置する意匠背面部42と、該意匠背面部42に続く被挟着部43とを有している。意匠背面部42とアウタ板材30の意匠面部31の間にはドア厚み方向に所定の空間が確保されているのに対し、被挟着部43は、意匠面部31と、該意匠面部31からU字状部35を介して車内側に折り返された折り返し部36との間に密着(挟着)保持されており、この意匠面部31と折り返し部36による被挟着部43の挟着部分が、サイドサッシュ16の後縁部においてアウタ板材30とインナ板材40を接合させる後縁ヘミング部E2となっている。アウタ板材30とインナ板材40はさらに、平面延設部34とウェザストリップ保持部41の間がスポット溶接で固定されている。
サイドサッシュ16では、その上端部においても、板材のエッジ部分(カット面)における錆び防止や危害防止のために、アウタ板材30とインナ板材40がヘミング接合されている。この上端ヘミング部E3の詳細構造を説明する。図5及び図6に示すように、上端ヘミング部E3では、アウタ板材30の意匠面部31の上端部がU字状部37を介して車内側に折り返されて折り返し部38が形成され、ドア厚み方向においてこの折り返し部38と意匠面部31の間に、インナ板材40の上端部44が位置される構造となっている。但し、上端ヘミング部E3では、後縁ヘミング部E2のように全体が均等に挟着されるのではなく、上端部44は、意匠面部31に密着する被挟着部44aと、該被挟着部44aから車両前方(アッパサッシュ15との接合面方向)へ進むにつれて徐々に意匠面部31から離れて車内側に突出するように傾斜された徐変部44bと、該徐変部44bから前方へ延設されて、意匠面部31との間に板間空間S2を空けて離間したオフセット部44cとを有している。そして、上端ヘミング部E3のヘミング接合を行うと、アウタ板材30側の折り返し部38は、インナ板材40の上端部44に沿った形状となる。すなわち、折り返し部38は、ドア厚み方向において意匠面部31に近く位置され、該意匠面部31との間に被挟着部44aを挟着保持する挟着部38aと、徐変部44bの背面に沿い、挟着部38aから車両前方(アッパサッシュ15との接合面方向)へ進むにつれて徐々に意匠面部31から離れて車内側に突出するように傾斜された徐変部38bと、オフセット部44cの背面に沿うオフセット部38cとを有している。
すなわち、サイドサッシュ16の上端ヘミング部E3は、インナ板材40の被挟着部44aがアウタ板材30の意匠面部31と折り返し部38によって挟着固定される密着固定部分E3-1と、徐変部38b及び44bを含む徐変部分E3-2と、アウタ板材30側の意匠面部31とインナ板材40側のオフセット部44cの間に板間空間S2が形成されたヘム空間部E3-3とを有している。ヘム空間部E3-3では、アウタ板材30とインナ板材40が密着固定関係にないが、図6に示すようにヘム空間部E3-3における板間空間S2の上方もアウタ板材30のU字状部37で覆われているため、板間空間S2内への上方からの水滴の浸入は防がれる。ドア厚み方向における板間空間S2の幅(アウタ板材30の意匠面部31とインナ板材40のオフセット部44cの間隔)D2は、0.5mmに設定されていて、アッパサッシュ15のアッパエッジ部E1側の板間空間S1の幅D1よりも幅広になっている。
図4に示すように、アッパサッシュ15とサイドサッシュ16は互いの接合端面G1、G2を突き合わせて接合される。アッパサッシュ15側の接合端面G1上における意匠面部20、ガラスラン収納部21、フレーム部22、平面延設部23、ウェザストリップ保持部24の形状はそれぞれ、サイドサッシュ16側の接合端面G2上における意匠面部31、ガラスラン収納部32、フレーム部33、平面延設部34、ウェザストリップ保持部41の形状と対応しており、接合端面G1、G2はほぼ隙間なく接合される。
図5に示すように、アッパサッシュ15のアッパエッジ部E1と、サイドサッシュ16の上端ヘミング部E3も、接合端面G1、G2で接合されている。この接合状態で、アッパサッシュ15側の意匠面部20とサイドサッシュ16側の意匠面部31は車外側で略面一とされ、図5に溶接部W1として示すように、意匠面部20、31の接合部分に沿って溶接される。ここで、上端ヘミング部E3側においては、接合端面G2に臨む部分が前述のヘム空間部E3-3となっており、車外側の溶接部W1の内側には、アウタ板材30の意匠面部31とインナ板材40のオフセット部44cが離間する板間空間S2が形成されている。そのため、溶接部W1での溶接によりサッシュ表面のメッキが気化された場合、その亜鉛蒸気を板間空間S2に逃がすことができ、行き場を失った亜鉛蒸気が溶接部W1で噴出して爆飛を起こしたり、溶接部W1にピンホールを形成したりするおそれがない。さらに、図5から分かる通り、上端ヘミング部E3側の板間空間S2は、アッパエッジ部E1側の板間空間S1と連通した関係にあるので、板間空間S2に入った亜鉛蒸気は板間空間S1側にも逃がされ、溶接部W1における爆飛やピンホールの発生をより確実に防ぐことができるようになっている。
前述の通り、ドア厚み方向において、板間空間S1の幅D1は0.2mm、板間空間S2の幅D2は0.5mmに設定されている。この値に設定することで、アッパサッシュ15とサイドサッシュ16の溶接部付近におけるメッキ剥ぎ工程を省略しても、亜鉛蒸気を原因とする外観不良や溶接不良の防止に効果的であることが、実験の結果明らかとなった。
また、アッパサッシュ15を構成する板材の板厚T(図5、図6)は、サイドサッシュ16の上端ヘミング部E3の板間空間S2の幅D2よりも大きく設定されている。この関係によると、図5のように意匠面部20、31の外面を略面一にしてアッパエッジ部E1と上端ヘミング部E3を突合させた際に、上端ヘミング部E3におけるインナ板材40のオフセット部44cの前端部が、アッパサッシュ15側の折り返し部25の後端部に当接する。ドア外面側の意匠面部20、31のみならず、このようにドア内面側においてもアッパエッジ部E1と上端ヘミング部E3を互いに当接させることにより、板材のエッジ部分(カット面)における防錆効果や危害防止効果が高まり、接合面積の増大によって接合強度も向上させることができる。さらに、アッパサッシュ15とサイドサッシュ16を接合する際の接合端面G1、G2の位置合わせも容易になる。図5に示すように、前述した車外側の溶接部W1に加えて、この車内側のオフセット部44cと折り返し部25の当接部分も、接合面に沿う溶接部W2で溶接される。仮に溶接部W2でサッシュ表面のメッキが気化して亜鉛蒸気が発生しても、上端ヘミング部E3の逃げ空間S2とアッパエッジ部E1の板間空間S1によって蒸気を逃がすことができるので、亜鉛蒸気を原因とした溶接不良などの不具合を防ぐことができる。
図7から図9は、第2の実施形態を示している。先の実施形態と共通する部分については、図中に同じ符号で示し、重複した説明は省略する。この実施形態のサイドサッシュ16の上端ヘミング部E4では、インナ板材40の上端部の被挟着部50が、接合端面G2から離れた後方の一部領域にのみ形成されており、接合端面G2上には、被挟着部50が存在しない切り欠き部51が臨んでいる。より詳しくは、図9に示すように、インナ板材40の意匠背面部42(図7)の上部には、アウタ板材30の意匠面部31に対して車内側に離間して位置する離間壁部52を有し、被挟着部50は、この離間壁部52から上方に突出され、かつ意匠面部31に接近する方向(車外側に)オフセットされた形状となっている。そして、被挟着部50が存在せずに離間壁部52の上縁部が露出している領域が切り欠き部51である。
アウタ板材30には、意匠面部31の上縁がU字状部37を介して車内側に折り返されて、折り返し部60が形成されている。上端ヘミング部E4は、この折り返し部60と意匠面部31によって被挟着部50が挟着された密着固定部分E4-1と、前述の切り欠き部51を挟んでアウタ板材30の意匠面部31と折り返し部60が直接に対向している(つまり、インナ板材40を挟着していない)空ヘミング部分E4-2とを有している。密着固定部分E4-1での折り返し部60は、車内側から被挟着部50に密着する挟着部60aとなっている。
空ヘミング部分E4-2ではインナ板材40側の被挟着部位が存在しないため、ヘム加工によって、折り返し部60は密着固定部分E4-1での挟着部60aよりも意匠面部31に接近して位置される。具体的には、空ヘミング部分E4-2における折り返し部60は、挟着部60aから車両前方(アッパサッシュ15との接合面方向)へ進むにつれて徐々に意匠面部31に接近するように傾斜された徐変部60bと、該徐変部60bから前方へ延設されて、意匠面部31との間に板間空間S3を空けて離間したオフセット部60cとを有している。つまり、空ヘミング部分E4-2は、徐変部60bによる徐変部分E4-2aと、オフセット部60cによるヘム空間部E4-2bを含んでいる。そして、図8に示すように、車外側の意匠面部20、31の当接に加えて、車内側では、サイドサッシュ16の側のオフセット部60cの前端部が、アッパサッシュ15側の折り返し部25の後端部に当て付いている。この接合状態で、空ヘミング部分E4-2(ヘム空間部E4-2b)内の板間空間S3が、アッパエッジ部E1内の板間空間S1に連通される。板間空間S3の幅D3は、先の実施形態と同様に、アッパエッジ部E1側の板間空間S1の幅D1よりも大きく設定されており、具体的には、幅D1が0.2mmに対して、幅D3が0.5mm程度に設定されることが好ましい。
空ヘミング部分E4-2ではさらに、図9に示すように、折り返し部60の下縁部と離間壁部52の上縁部の間に、車内側に向くスリット状の開口部S4が形成されていて、この開口部S4が板間空間S3に連通している。
以上の構造により、上端ヘミング部E4では、車外側(意匠面側)の溶接部W1や車外側の溶接部W3での溶接作業時に気化されたメッキによる亜鉛蒸気が生じた場合、これを板間空間S3内に逃がすことによって、溶接部位での爆飛やピンホールの発生を防ぐことができる。板間空間S3に流入した亜鉛蒸気は、先の実施形態と同様にアッパエッジ部E1側の板間空間S1へ逃がすことができるのみならず、開口部S4を通しても外部に排出させることができるので、爆飛やピンホールの防止に関してより高い効果が得られる。
また、この実施形態では、図8から分かるように、アッパエッジ部E1に対する上端ヘミング部E4の車内側の接合箇所を、意匠面部31に接近したオフセット部60cの前端部とすることによって、車内側でのアッパエッジ部E1と上端ヘミング部E4の接合部分の段差が小さくなっている。そのため、特に車内側の溶接部W3での溶接作業を行いやすくなっている。
以上のように、本発明を適用したドアフレーム構造によれば、メッキ剥がし工程を省いても、亜鉛蒸気による溶接部分の爆飛やピンホールの発生を防ぐことが可能となり、生産性やコスト性が向上する。
なお、アッパサッシュ15とサイドサッシュ16の接合時には、前述した溶接部W1、W2及びW3以外の任意の箇所を溶接してもよいことはもちろんである。例えば、図4及び図7で見えているフレーム部22、33の接合部からウェザストリップ保持部24、41の接合部までの箇所は、凸状の角部になっていて、溶接箇所として好適である。
以上、図示実施形態に基づき本発明を説明したが、本発明は図示した実施形態に限定されるものではなく、発明の要旨を逸脱しない限りにおいて改良や改変が可能である。例えば、図示実施形態は自動車の前部座席用側面ドアに適用したものであるが、本発明は、立柱サッシュとアッパサッシュを備えたタイプのドアフレームであれば、前部座席用ドアに限らず、後部座席用ドアやその他のドアであっても適用が可能である。
本発明のドアフレーム構造を適用する車両ドアの側面図である。 図1のII-II断面線に沿うアッパサッシュの断面図である。 図1のIII-III断面線に沿うサイドサッシュの断面図である。 第1の実施形態におけるアッパサッシュとサイドサッシュの接合部付近を車内側から見た斜視図である。 図4のV-V断面線に沿う、サイドサッシュ上端のヘミング固定部付近の断面図である。 図4のVI-VI断面線に沿う、サイドサッシュ上端のヘミング固定部付近の断面図である。 第2の実施形態におけるアッパサッシュとサイドサッシュの接合部付近を車内側から見た斜視図である。 図7のVIII-VIII断面線に沿う、サイドサッシュ上端のヘミング固定部付近の断面図である。 図7のIX-IX断面線に沿う、サイドサッシュ上端のヘミング固定部付近の断面図である。
符号の説明
10 自動車の側面ドア
12 ドアフレーム
15 アッパサッシュ
16 サイドサッシュ(立柱サッシュ)
17 ドアコーナー部
20 アッパサッシュの意匠面部
25 アッパサッシュの折り返し部
30 サイドサッシュのアウタ板材
31 アウタ板材の意匠面部
37 アウタ板材上端のU字状部
38 アウタ板材上端の折り返し部
38a 挟着部
38b 徐変部
38c オフセット部
40 サイドサッシュのインナ板材
44 インナ板材の上端部
44a 被挟着部
44b 徐変部
44c オフセット部
50 インナ板材の被挟着部
51 インナ板材の切り欠き部
52 インナ板材の離間壁部
60 アウタ板材上端の折り返し部
60a 挟着部
60b 徐変部
60c オフセット部
E1 アッパサッシュのアッパエッジ部
E2 サイドサッシュの後縁ヘミング部
E3 サイドサッシュの上端ヘミング部
E3-1 密着固定部分
E3-2 徐変部分
E3-3 ヘム空間部
E4 サイドサッシュの上端ヘミング部
E4-1 密着固定部分
E4-2 空ヘミング部分
E4-2a 徐変部分
E4-2b ヘム空間部
G1 アッパサッシュ側の接合端面
G2 サイドサッシュ側の接合端面
S1 アッパサッシュ内の板間空間
S2 S3 サイドサッシュの上端ヘミング部内の板間空間
S4 空ヘミング部分の車内側開口部
W1 W2 W3 溶接部

Claims (6)

  1. ドア上下方向に延びる立柱サッシュと、ドア上縁部を形成し、ドアコーナー部で該立柱サッシュに接合されるアッパサッシュとを有する車両のドアフレーム構造において、
    立柱サッシュは、車外側に位置するアウタ板材と車内側に位置するインナ板材を組み合わせてなり、アウタ板材の上端部の車内側へのヘム加工でインナ板材と密着固定されるヘミング部を有し、
    該ヘミング部のうちアッパサッシュと接合される接合端面上に、該ヘミング部を構成する板材が密着固定関係になく板間空間を形成しているヘム空間部を備えたことを特徴とする車両のドアフレーム構造。
  2. 請求項1記載の車両のドアフレーム構造において、アッパサッシュは、立柱サッシュの上記ヘム空間部との接合位置に、車外側の意匠面部と、該意匠面部に対して車内側に離間して位置する折り返し部に挟まれる板間空間を有し、アッパサッシュと立柱サッシュを接合させたとき、互いの上記板間空間が連通する車両のドアフレーム構造。
  3. 請求項2記載の車両のドアフレーム構造において、上記立柱サッシュのヘミング部でアウタ板材は、車外側に位置しアッパサッシュの上記意匠面部と略面一に接合される意匠面部と、該意匠面部からインナ板材を跨いで車内側に折り返された折り返し部とを有し、
    上記ヘム空間部では、インナ板材の一部が車内側にオフセットしてアウタ板材の意匠面部との間に上記板間空間が形成されている車両のドアフレーム構造。
  4. 請求項3記載の車両のドアフレーム構造において、立柱サッシュとアッパサッシュの接合状態では、インナ板材の車内側オフセット部が、アッパサッシュの上記折り返し部に当接する車両のドアフレーム構造。
  5. 請求項2記載の車両のドアフレーム構造において、立柱サッシュのヘミング部でアウタ板材は、車外側に位置しアッパサッシュの上記意匠面部と略面一に接合される意匠面部と、該意匠面部からインナ板材を跨いで車内側に折り返された折り返し部とを有し、
    上記ヘム空間部では、インナ板材が存在せず、アウタ板材の意匠面部と折り返し部の間に上記板間空間が形成されている車両のドアフレーム構造。
  6. 請求項5記載の車両のドアフレーム構造において、立柱サッシュとアッパサッシュの接合状態では、アウタ板材の折り返し部がアッパサッシュの折り返し部に当接している車両のドアフレーム構造。
JP2008174412A 2008-07-03 2008-07-03 車両のドアフレーム構造 Expired - Fee Related JP5198955B2 (ja)

Priority Applications (1)

Application Number Priority Date Filing Date Title
JP2008174412A JP5198955B2 (ja) 2008-07-03 2008-07-03 車両のドアフレーム構造

Applications Claiming Priority (1)

Application Number Priority Date Filing Date Title
JP2008174412A JP5198955B2 (ja) 2008-07-03 2008-07-03 車両のドアフレーム構造

Publications (2)

Publication Number Publication Date
JP2010012924A true JP2010012924A (ja) 2010-01-21
JP5198955B2 JP5198955B2 (ja) 2013-05-15

Family

ID=41699463

Family Applications (1)

Application Number Title Priority Date Filing Date
JP2008174412A Expired - Fee Related JP5198955B2 (ja) 2008-07-03 2008-07-03 車両のドアフレーム構造

Country Status (1)

Country Link
JP (1) JP5198955B2 (ja)

Cited By (6)

* Cited by examiner, † Cited by third party
Publication number Priority date Publication date Assignee Title
US20110308171A1 (en) * 2010-06-18 2011-12-22 Shiroki Corporation Vehicle door frame and method of producing the same
JP2012236453A (ja) * 2011-05-10 2012-12-06 Nishikawa Rubber Co Ltd ドアウェザストリップの組付け構造
JP2014094729A (ja) * 2012-11-12 2014-05-22 Shiroki Corp 縦サッシュを備えた車両用ドアフレーム
JP2015098247A (ja) * 2013-11-19 2015-05-28 シロキ工業株式会社 サッシュ部材
WO2015182495A1 (ja) * 2014-05-30 2015-12-03 シロキ工業株式会社 サッシュ接続構造及びサッシュ接続方法
JPWO2014163133A1 (ja) * 2013-04-05 2017-02-16 シロキ工業株式会社 車両用立柱サッシュを備えたドアサッシュ

Citations (2)

* Cited by examiner, † Cited by third party
Publication number Priority date Publication date Assignee Title
JP2004034798A (ja) * 2002-07-02 2004-02-05 Topre Corp ヘミング構造
JP2007137200A (ja) * 2005-11-16 2007-06-07 Shiroki Corp ガラスの支持構造

Patent Citations (2)

* Cited by examiner, † Cited by third party
Publication number Priority date Publication date Assignee Title
JP2004034798A (ja) * 2002-07-02 2004-02-05 Topre Corp ヘミング構造
JP2007137200A (ja) * 2005-11-16 2007-06-07 Shiroki Corp ガラスの支持構造

Cited By (9)

* Cited by examiner, † Cited by third party
Publication number Priority date Publication date Assignee Title
US20110308171A1 (en) * 2010-06-18 2011-12-22 Shiroki Corporation Vehicle door frame and method of producing the same
US8172125B2 (en) * 2010-06-18 2012-05-08 Shiroki Corporation Vehicle door frame and method of producing the same
JP2012236453A (ja) * 2011-05-10 2012-12-06 Nishikawa Rubber Co Ltd ドアウェザストリップの組付け構造
JP2014094729A (ja) * 2012-11-12 2014-05-22 Shiroki Corp 縦サッシュを備えた車両用ドアフレーム
JPWO2014163133A1 (ja) * 2013-04-05 2017-02-16 シロキ工業株式会社 車両用立柱サッシュを備えたドアサッシュ
JP2015098247A (ja) * 2013-11-19 2015-05-28 シロキ工業株式会社 サッシュ部材
WO2015182495A1 (ja) * 2014-05-30 2015-12-03 シロキ工業株式会社 サッシュ接続構造及びサッシュ接続方法
JP2015224014A (ja) * 2014-05-30 2015-12-14 シロキ工業株式会社 サッシュ接続構造及びサッシュ接続方法
US10160296B2 (en) 2014-05-30 2018-12-25 Shiroki Corporation Sash coupling structure and method for sash coupling

Also Published As

Publication number Publication date
JP5198955B2 (ja) 2013-05-15

Similar Documents

Publication Publication Date Title
US7121615B2 (en) Joint construction in upper part of center pillar
JP5198955B2 (ja) 車両のドアフレーム構造
JP6076049B2 (ja) 縦サッシュを備えた車両用ドアフレーム
JP6368708B2 (ja) 車両用立柱サッシュを備えたドアサッシュ
JP6151524B2 (ja) 車両のドアフレーム構造
JP5859836B2 (ja) 車両用ドアフレームの仮組み構造
JP6026091B2 (ja) 車両用ドアフレーム
CN101522507A (zh) 管状b柱和冲压的槛板结合件以及装配二者的方法
JP5326582B2 (ja) レーザー溶接とスポット溶接を併用した車体構造、及びその製造方法
KR20040044548A (ko) 차체 측벽모듈
US20180265138A1 (en) Rear body structure
JP6731327B2 (ja) ドアフレーム
US7290831B2 (en) Vehicle with layered roof build
CN101096898B (zh) 车辆门框
US10160296B2 (en) Sash coupling structure and method for sash coupling
US7963019B2 (en) Method of roll-forming an automotive support member
US10745060B2 (en) Vehicle pillar structure and method for manufacturing vehicle pillar
JP2011143892A (ja) 車両用開閉蓋構造及び車両用開閉蓋に用いるインナパネルの製造方法
JP2010058530A (ja) フレーム構造体、およびその製造方法
JP2002211442A (ja) 車体のパネル接合構造
WO2015182401A1 (ja) 骨格構造体及びその製造方法
JP7259730B2 (ja) 車両用ピラー構造及び車両用ピラーの製造方法
JP2014208377A (ja) メッキ鋼板と生鋼板の溶接方法及び車両用ドアサッシュの溶接方法
JP3657851B2 (ja) 板材の接合方法
JP6538133B2 (ja) 車体側部構造

Legal Events

Date Code Title Description
A621 Written request for application examination

Free format text: JAPANESE INTERMEDIATE CODE: A621

Effective date: 20110621

A977 Report on retrieval

Free format text: JAPANESE INTERMEDIATE CODE: A971007

Effective date: 20121025

A131 Notification of reasons for refusal

Free format text: JAPANESE INTERMEDIATE CODE: A131

Effective date: 20121030

TRDD Decision of grant or rejection written
A01 Written decision to grant a patent or to grant a registration (utility model)

Free format text: JAPANESE INTERMEDIATE CODE: A01

Effective date: 20130205

A61 First payment of annual fees (during grant procedure)

Free format text: JAPANESE INTERMEDIATE CODE: A61

Effective date: 20130207

FPAY Renewal fee payment (event date is renewal date of database)

Free format text: PAYMENT UNTIL: 20160215

Year of fee payment: 3

R150 Certificate of patent or registration of utility model

Ref document number: 5198955

Country of ref document: JP

Free format text: JAPANESE INTERMEDIATE CODE: R150

Free format text: JAPANESE INTERMEDIATE CODE: R150

LAPS Cancellation because of no payment of annual fees