JP2010012232A - 遊技機の磁石検知装置及び遊技機の磁石検知方法 - Google Patents
遊技機の磁石検知装置及び遊技機の磁石検知方法 Download PDFInfo
- Publication number
- JP2010012232A JP2010012232A JP2009122393A JP2009122393A JP2010012232A JP 2010012232 A JP2010012232 A JP 2010012232A JP 2009122393 A JP2009122393 A JP 2009122393A JP 2009122393 A JP2009122393 A JP 2009122393A JP 2010012232 A JP2010012232 A JP 2010012232A
- Authority
- JP
- Japan
- Prior art keywords
- magnetic flux
- magnet
- detection
- processing unit
- output
- Prior art date
- Legal status (The legal status is an assumption and is not a legal conclusion. Google has not performed a legal analysis and makes no representation as to the accuracy of the status listed.)
- Granted
Links
- 238000001514 detection method Methods 0.000 title claims abstract description 234
- 230000004907 flux Effects 0.000 claims abstract description 108
- 238000012545 processing Methods 0.000 claims abstract description 78
- 238000000034 method Methods 0.000 claims description 34
- 238000012935 Averaging Methods 0.000 claims description 11
- 230000005358 geomagnetic field Effects 0.000 abstract description 24
- 230000035945 sensitivity Effects 0.000 description 26
- 239000011521 glass Substances 0.000 description 24
- 238000010586 diagram Methods 0.000 description 6
- 238000006243 chemical reaction Methods 0.000 description 3
- 230000003068 static effect Effects 0.000 description 3
- 238000009434 installation Methods 0.000 description 2
- 238000004519 manufacturing process Methods 0.000 description 2
- 238000005070 sampling Methods 0.000 description 2
- 238000013459 approach Methods 0.000 description 1
- 238000012937 correction Methods 0.000 description 1
- 239000002184 metal Substances 0.000 description 1
- 238000012986 modification Methods 0.000 description 1
- 230000004048 modification Effects 0.000 description 1
- 229920003023 plastic Polymers 0.000 description 1
- 230000002265 prevention Effects 0.000 description 1
- 230000002040 relaxant effect Effects 0.000 description 1
- 238000004904 shortening Methods 0.000 description 1
Images
Landscapes
- Pinball Game Machines (AREA)
Abstract
【解決手段】一台のパチンコ遊技機(10)に1個だけ取り付けられ、パチンコ遊技機の外部からの不正磁石を検出する磁石検知装置(24,24a)であって、3次元磁束センサ(122)の出力の回転検出処理部(127)がOFF信号を出力しており且つ磁石検知処理部(128)がON信号を出力しているときに不正磁石検知信号を出力するようにした。
【選択図】図13
Description
磁束密度(μT)ΔX=(X−X0)÷X軸感度(mV/μT)
磁束密度(μT)ΔY=(Y−Y0)÷Y軸感度(mV/μT)
磁束密度(μT)ΔZ=(Z−Z0)÷Z軸感度(mV/μT)
ここで、X0、Y0、Z0は、電源投入時の磁束センサ出力であり、
X、Y、Zは、磁束センサ出力であり、
ΔX、ΔY、ΔZは、磁束密度変化量である。
磁束密度のベクトルの大きさは以下の式で求める。(単位はμT)
ケース1:ガラス枠又は遊技枠を開閉して磁石検知センサを回転させた場合、3次元磁束センサの出力データB点からC点へ移動する。
(1)電源投入時の3次元磁束センサ出力(Xb,Yb,Zb)により検出座標原点B点が決まる。ゼロ磁場でのセンサ出力(Xa,Ya,Za)をゼロ磁場原点A点とするとABベクトルの大きさが地球磁場の大きさとなる。
(2)磁石検知センサに磁石を近づけたときのセンサ出力(Xc,Yc,Zc)をC点とすると検出座標原点B点からの磁束密度の変化量はBCベクトルの大きさとなる。このときベクトルACの大きさはベクトルABの大きさ(地球磁場の大きさ)と同じなので地球磁場の磁束しか存在していないとみなせるため、BCベクトルの大きさに関わらず検知出力をOFFとする。
(1)電源投入時の3次元磁束センサ出力(Xb,Yb,Zb)により検出座標原点B点が決まる。ゼロ磁場でのセンサ出力(Xa,Ya,Za)をゼロ磁場原点A点とするとABベクトルの大きさが地球磁場の大きさとなる。
(2)磁石検知センサに磁石を近づけたときのセンサ出力(Xd,Yd,Zd)をD点とすると検出座標原点B点からの磁束密度の変化量はBDベクトルの大きさとなる。このときベクトルADの大きさはベクトルABの大きさ(地球磁場の大きさ)と異なる場合は、地球磁場以外の磁束が存在するとみなせるため、ベクトルBDの大きさと磁石を検知するための閾値と比較して、閾値を超えていれば検知出力ON、閾値を超えていない場合は、検知出力OFFとする。
磁束密度(μT)ΔX=(X−X0)÷X軸感度(mV/μT)
磁束密度(μT)ΔY=(Y−Y0)÷Y軸感度(mV/μT)
磁束密度(μT)ΔZ=(Z−Z0)÷Z軸感度(mV/μT)
ここで、X0、Y0、Z0は、電源投入時の磁束センサ出力であり、
X、Y、Zは、磁束センサ出力であり、
ΔX、ΔY、ΔZは、磁束密度変化量である。
次いでステップ155にて、原点決定処理部136により原点決定処理を行う。この処理の詳細は図16、図17及び図18に示したフローチャートにより後に説明する。
次いでステップ156にて回転検出処理部138により磁束密度の回転を検出する。この回転検出処理の詳細は図19のフローチャートに示されている。
図17は図16の検出座標原点決定処理161の詳細を説明するフローチャートである。この処理は図9に示した原点決定処理と同じなので、ここでは説明を省略する。
Xvect=(Xzero−X0)÷X軸感度
Yvect=(Yzero−Y0)÷Y軸感度
Zvect=(Zzero−Z0)÷Z軸感度
ΔAzero=(ΔXvect+ΔYvect+ΔZvect)1/2
ΔXs=(Xave−Xzero)÷X軸感度
ΔYs=(Yave−Yzero)÷Y軸感度
ΔZs=(Zave−Zzero)÷Z軸感度
ΔAs=(ΔXs+ΔYs+ΔZs)1/2
次いでステップ196にてΔAzeroが特定領域内内かを判定する。即ち、ΔAsが地球磁場量±S以内かどうかを判定する。この判定でイエスであればステップ197に進み回転検知をONにし、この判定でノーの場合はステップ198にて回転検知をOFFにする。
次いでステップ203にて平均値Xave、Yave、Zaveの検出座標原点X0、Y0、Z0からの変化量ΔX、ΔY、ΔZを次の式により計算する。
ΔX=(Xave−X0)÷X軸感度
ΔY=(Yave−Y0)÷Y軸感度
ΔZ=(Zave−Z0)÷Z軸感度
ΔA=(ΔX+ΔY+ΔZ)1/2
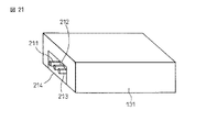
24,24a 磁石検知センサ(磁石検知装置)
131 磁石検知センサ(磁石検知装置)
132 3次元磁束センサ
133 検出信号処理部
134 センサ信号取得処理部
135 平均化フィルタ部
136 原点決定処理部
137 磁石検知処理部
138 回転検出処理部
139 検知出力部
Claims (4)
- 一台のパチンコ遊技機に1個だけ取り付けられ、前記パチンコ遊技機の外部からの不正磁石を検出する磁石検知装置であって、
磁束を検出する3次元磁束センサと、
前記3次元磁束センサにより検出された磁束信号を処理する検出信号処理部とを備え、
前記検出信号処理部は、
前記検出信号処理部の電源投入時の前記3次元磁束センサの出力を原点とする原点決定処理部と、
前記3次元磁束センサの出力に得られる磁束密度の、ゼロ磁場での前記3次元磁束センサの出力に得られる磁束密度からの変化量が所定の閾値を超えない場合に前記3次元磁束センサが回転していないことを示すOFF信号を出力する回転検出処理部と、
前記3次元磁束センサの出力に得られる磁束密度の前記原点の磁束密度からの変化量が所定の閾値を超えた場合にON信号を出力する磁石検知処理部と、
前記回転検出処理部がOFF信号を出力しており且つ前記磁石検知処理部がON信号を出力しているときに不正磁石検知信号を出力する検知出力部と、
を備えていることを特徴とする磁石検知装置。 - 前記検出信号処理部は、
前記3次元磁束センサの出力信号を取得するセンサ信号取得処理部と、
前記センサ信号取得処理部の出力を移動平均法を用いて平均化処理して前記遊技機の周辺に存在する既存磁力の影響を除去する平均化フィルタ部と、
を備えていることを特徴とする請求項1に記載の磁石検知装置。 - 一台のパチンコ遊技機に1個だけ取り付けられ、前記パチンコ遊技機の外部からの不正磁石を検出する磁石検知装置であって、
3次元磁束センサにより磁束を検出し、
前記3次元磁束センサにより検出された磁束信号を検出信号処理部により処理し、
前記検出信号処理部は、
前記検出信号処理部の電源投入時の前記3次元磁束センサの出力を原点決定処理部により原点とし、
前記3次元磁束センサの出力に得られる磁束密度の、ゼロ磁場での前記3次元磁束センサの出力に得られる磁束密度からの変化量が所定の閾値を超えない場合に前記3次元磁束センサが回転していないことを示すOFF信号を回転検出処理部により出力し、
前記3次元磁束センサの出力に得られる磁束密度の前記原点の磁束密度からの変化量が所定の閾値を超えた場合にON信号を磁石検知処理部により出力し、
3次元磁束センサ回転検出処理部がOFF信号を出力しており且つ前記磁石検知処理部がON信号を出力しているときに検知出力部により不正磁石検知信号を出力する、
というステップを備えていることを特徴とする磁石検知方法。 - 前記検出信号処理部は、
前記3次元磁束センサの出力信号をセンサ信号取得処理部により取得し、
前記センサ信号取得処理部の出力を平均化フィルタ部により移動平均法を用いて平均化処理して前記遊技機の周辺に存在する既存磁力の影響を除去する、
というステップを実行することを特徴とする請求項3に記載の磁石検知方法。
Priority Applications (1)
| Application Number | Priority Date | Filing Date | Title |
|---|---|---|---|
| JP2009122393A JP5310254B2 (ja) | 2008-06-03 | 2009-05-20 | 遊技機の磁石検知装置及び遊技機の磁石検知方法 |
Applications Claiming Priority (3)
| Application Number | Priority Date | Filing Date | Title |
|---|---|---|---|
| JP2008146111 | 2008-06-03 | ||
| JP2008146111 | 2008-06-03 | ||
| JP2009122393A JP5310254B2 (ja) | 2008-06-03 | 2009-05-20 | 遊技機の磁石検知装置及び遊技機の磁石検知方法 |
Publications (2)
| Publication Number | Publication Date |
|---|---|
| JP2010012232A true JP2010012232A (ja) | 2010-01-21 |
| JP5310254B2 JP5310254B2 (ja) | 2013-10-09 |
Family
ID=41698943
Family Applications (1)
| Application Number | Title | Priority Date | Filing Date |
|---|---|---|---|
| JP2009122393A Active JP5310254B2 (ja) | 2008-06-03 | 2009-05-20 | 遊技機の磁石検知装置及び遊技機の磁石検知方法 |
Country Status (1)
| Country | Link |
|---|---|
| JP (1) | JP5310254B2 (ja) |
Cited By (7)
| Publication number | Priority date | Publication date | Assignee | Title |
|---|---|---|---|---|
| JP2010068877A (ja) * | 2008-09-16 | 2010-04-02 | Omron Corp | 遊技機の磁石検知装置及び磁石検知方法 |
| JP2011191067A (ja) * | 2010-03-11 | 2011-09-29 | Alps Electric Co Ltd | 磁界検知装置およびこれを使用した球技装置 |
| JP2012029917A (ja) * | 2010-07-30 | 2012-02-16 | Alps Electric Co Ltd | 磁気検出装置 |
| JP2012058251A (ja) * | 2011-11-02 | 2012-03-22 | Alps Electric Co Ltd | 球技装置用の磁界検知装置およびこれを使用した球技装置 |
| JP2012095838A (ja) * | 2010-11-02 | 2012-05-24 | Alps Electric Co Ltd | 磁界検知装置を使用した球技装置 |
| JP2012096034A (ja) * | 2011-11-02 | 2012-05-24 | Alps Electric Co Ltd | 球技装置用の磁界検知装置およびこれを使用した球技装置 |
| JP5515130B1 (ja) * | 2013-09-04 | 2014-06-11 | 山佐株式会社 | 遊技機 |
Citations (3)
| Publication number | Priority date | Publication date | Assignee | Title |
|---|---|---|---|---|
| JPH02295585A (ja) * | 1989-05-10 | 1990-12-06 | Japan Steel Works Ltd:The | パチンコ遊技機の磁気検出装置 |
| JP2002186766A (ja) * | 2000-12-22 | 2002-07-02 | Maruka:Kk | 遊技機の不正操作防止装置 |
| JP2002273017A (ja) * | 2001-03-21 | 2002-09-24 | Maruka:Kk | 遊技機の不正行為防止装置 |
-
2009
- 2009-05-20 JP JP2009122393A patent/JP5310254B2/ja active Active
Patent Citations (3)
| Publication number | Priority date | Publication date | Assignee | Title |
|---|---|---|---|---|
| JPH02295585A (ja) * | 1989-05-10 | 1990-12-06 | Japan Steel Works Ltd:The | パチンコ遊技機の磁気検出装置 |
| JP2002186766A (ja) * | 2000-12-22 | 2002-07-02 | Maruka:Kk | 遊技機の不正操作防止装置 |
| JP2002273017A (ja) * | 2001-03-21 | 2002-09-24 | Maruka:Kk | 遊技機の不正行為防止装置 |
Cited By (7)
| Publication number | Priority date | Publication date | Assignee | Title |
|---|---|---|---|---|
| JP2010068877A (ja) * | 2008-09-16 | 2010-04-02 | Omron Corp | 遊技機の磁石検知装置及び磁石検知方法 |
| JP2011191067A (ja) * | 2010-03-11 | 2011-09-29 | Alps Electric Co Ltd | 磁界検知装置およびこれを使用した球技装置 |
| JP2012029917A (ja) * | 2010-07-30 | 2012-02-16 | Alps Electric Co Ltd | 磁気検出装置 |
| JP2012095838A (ja) * | 2010-11-02 | 2012-05-24 | Alps Electric Co Ltd | 磁界検知装置を使用した球技装置 |
| JP2012058251A (ja) * | 2011-11-02 | 2012-03-22 | Alps Electric Co Ltd | 球技装置用の磁界検知装置およびこれを使用した球技装置 |
| JP2012096034A (ja) * | 2011-11-02 | 2012-05-24 | Alps Electric Co Ltd | 球技装置用の磁界検知装置およびこれを使用した球技装置 |
| JP5515130B1 (ja) * | 2013-09-04 | 2014-06-11 | 山佐株式会社 | 遊技機 |
Also Published As
| Publication number | Publication date |
|---|---|
| JP5310254B2 (ja) | 2013-10-09 |
Similar Documents
| Publication | Publication Date | Title |
|---|---|---|
| JP5310254B2 (ja) | 遊技機の磁石検知装置及び遊技機の磁石検知方法 | |
| EP0799445B1 (en) | Input apparatus for a data processing system | |
| KR101893932B1 (ko) | 대상체의 회전 각도 및 회전 속도를 나타내는 출력 신호를 제공하는 자기장 센서 | |
| US9632202B2 (en) | Economical magnetic locator apparatus and methods | |
| PL2162579T3 (pl) | Urządzenie do obróbki prania | |
| KR20150133834A (ko) | 도어, 게이트 등의 문짝의 상태를 검출하기 위한 장치 | |
| JP5391835B2 (ja) | 磁石検出装置及び磁石検出方法 | |
| JP5195203B2 (ja) | 遊技機の磁石検知装置及び磁石検知方法 | |
| ES2938192T3 (es) | Sistema y método de prevención de robos con detección de campo magnético | |
| JP2002186766A (ja) | 遊技機の不正操作防止装置 | |
| JP5446124B2 (ja) | 遊技機及び遊技機に対する不正磁石の検知方法 | |
| JP5446129B2 (ja) | 遊技機の磁石検知装置及び遊技機の磁石検知方法 | |
| JP5670073B2 (ja) | 磁界検知装置およびこれを使用した球技装置 | |
| JP4961050B2 (ja) | 球技装置用の磁界検知装置およびこれを使用した球技装置 | |
| JP7252721B2 (ja) | 窓開閉検出装置 | |
| JP5927390B2 (ja) | 所定位置設置品の盗難防止装置 | |
| JP4961034B2 (ja) | 磁界検知装置を使用した球技装置 | |
| JP6822223B2 (ja) | 磁石検出装置及び遊技機 | |
| JP5001402B2 (ja) | 球技装置用の磁界検知装置およびこれを使用した球技装置 | |
| JP4830038B1 (ja) | 磁気検出装置 | |
| JP6694187B2 (ja) | 遊技機 | |
| JP2024020953A (ja) | 遊技機 | |
| JP5498467B2 (ja) | 球技装置用の磁界検知装置およびこれを使用した球技装置 | |
| JP5515130B1 (ja) | 遊技機 | |
| JP4819379B2 (ja) | 球体通過センサ |
Legal Events
| Date | Code | Title | Description |
|---|---|---|---|
| A621 | Written request for application examination |
Free format text: JAPANESE INTERMEDIATE CODE: A621 Effective date: 20120309 |
|
| TRDD | Decision of grant or rejection written | ||
| A01 | Written decision to grant a patent or to grant a registration (utility model) |
Free format text: JAPANESE INTERMEDIATE CODE: A01 Effective date: 20130604 |
|
| A61 | First payment of annual fees (during grant procedure) |
Free format text: JAPANESE INTERMEDIATE CODE: A61 Effective date: 20130617 |
|
| R150 | Certificate of patent or registration of utility model |
Free format text: JAPANESE INTERMEDIATE CODE: R150 Ref document number: 5310254 Country of ref document: JP Free format text: JAPANESE INTERMEDIATE CODE: R150 |
|
| R250 | Receipt of annual fees |
Free format text: JAPANESE INTERMEDIATE CODE: R250 |
