JP2010011762A - 中心部に液状物を充填した可食物を連続的に製造するシステム - Google Patents

中心部に液状物を充填した可食物を連続的に製造するシステム Download PDF

Info

Publication number
JP2010011762A
JP2010011762A JP2008173366A JP2008173366A JP2010011762A JP 2010011762 A JP2010011762 A JP 2010011762A JP 2008173366 A JP2008173366 A JP 2008173366A JP 2008173366 A JP2008173366 A JP 2008173366A JP 2010011762 A JP2010011762 A JP 2010011762A
Authority
JP
Japan
Prior art keywords
liquid
air
edible
gum
center
Prior art date
Legal status (The legal status is an assumption and is not a legal conclusion. Google has not performed a legal analysis and makes no representation as to the accuracy of the status listed.)
Granted
Application number
JP2008173366A
Other languages
English (en)
Other versions
JP5773559B2 (ja
Inventor
Masaharu Tanabe
雅治 田辺
Minoru Saito
稔 齊藤
Kyoji Fukuda
恭二 福田
Current Assignee (The listed assignees may be inaccurate. Google has not performed a legal analysis and makes no representation or warranty as to the accuracy of the list.)
Lotte Co Ltd
Original Assignee
Lotte Co Ltd
Priority date (The priority date is an assumption and is not a legal conclusion. Google has not performed a legal analysis and makes no representation as to the accuracy of the date listed.)
Filing date
Publication date
Priority to JP2008173366A priority Critical patent/JP5773559B2/ja
Application filed by Lotte Co Ltd filed Critical Lotte Co Ltd
Priority to KR1020117000124A priority patent/KR101632761B1/ko
Priority to MYPI2010006318A priority patent/MY157523A/en
Priority to RU2011103552/13A priority patent/RU2528697C2/ru
Priority to CN2009801259059A priority patent/CN102076225B/zh
Priority to US13/002,322 priority patent/US8567307B2/en
Priority to PCT/JP2009/062247 priority patent/WO2010002018A1/ja
Priority to TW98122425A priority patent/TWI468115B/zh
Publication of JP2010011762A publication Critical patent/JP2010011762A/ja
Application granted granted Critical
Publication of JP5773559B2 publication Critical patent/JP5773559B2/ja
Active legal-status Critical Current
Anticipated expiration legal-status Critical

Links

Images

Classifications

    • AHUMAN NECESSITIES
    • A23FOODS OR FOODSTUFFS; TREATMENT THEREOF, NOT COVERED BY OTHER CLASSES
    • A23GCOCOA; COCOA PRODUCTS, e.g. CHOCOLATE; SUBSTITUTES FOR COCOA OR COCOA PRODUCTS; CONFECTIONERY; CHEWING GUM; ICE-CREAM; PREPARATION THEREOF
    • A23G3/00Sweetmeats; Confectionery; Marzipan; Coated or filled products
    • A23G3/02Apparatus specially adapted for manufacture or treatment of sweetmeats or confectionery; Accessories therefor
    • A23G3/20Apparatus for coating or filling sweetmeats or confectionery
    • A23G3/2007Manufacture of filled articles, composite articles, multi-layered articles
    • A23G3/2015Manufacture of filled articles, composite articles, multi-layered articles the material being shaped at least partially by a die; Extrusion of filled or multi-layered cross-sections or plates, optionally with the associated cutting device
    • AHUMAN NECESSITIES
    • A23FOODS OR FOODSTUFFS; TREATMENT THEREOF, NOT COVERED BY OTHER CLASSES
    • A23GCOCOA; COCOA PRODUCTS, e.g. CHOCOLATE; SUBSTITUTES FOR COCOA OR COCOA PRODUCTS; CONFECTIONERY; CHEWING GUM; ICE-CREAM; PREPARATION THEREOF
    • A23G3/00Sweetmeats; Confectionery; Marzipan; Coated or filled products
    • A23G3/0002Processes of manufacture not relating to composition and compounding ingredients
    • A23G3/0004Processes specially adapted for manufacture or treatment of sweetmeats or confectionery
    • A23G3/0019Shaping of liquid, paste, powder; Manufacture of moulded articles, e.g. modelling, moulding, calendering
    • A23G3/0021Processes in which the material is shaped at least partially by a die; Extrusion of cross-sections or plates, optionally the associated cutting
    • AHUMAN NECESSITIES
    • A23FOODS OR FOODSTUFFS; TREATMENT THEREOF, NOT COVERED BY OTHER CLASSES
    • A23GCOCOA; COCOA PRODUCTS, e.g. CHOCOLATE; SUBSTITUTES FOR COCOA OR COCOA PRODUCTS; CONFECTIONERY; CHEWING GUM; ICE-CREAM; PREPARATION THEREOF
    • A23G3/00Sweetmeats; Confectionery; Marzipan; Coated or filled products
    • A23G3/0002Processes of manufacture not relating to composition and compounding ingredients
    • A23G3/0063Coating or filling sweetmeats or confectionery
    • A23G3/0065Processes for making filled articles, composite articles, multi-layered articles
    • A23G3/0068Processes for making filled articles, composite articles, multi-layered articles the material being shaped at least partially by a die; Extrusion of filled or multi-layered cross-sections or plates, optionally with the associated cutting
    • AHUMAN NECESSITIES
    • A23FOODS OR FOODSTUFFS; TREATMENT THEREOF, NOT COVERED BY OTHER CLASSES
    • A23GCOCOA; COCOA PRODUCTS, e.g. CHOCOLATE; SUBSTITUTES FOR COCOA OR COCOA PRODUCTS; CONFECTIONERY; CHEWING GUM; ICE-CREAM; PREPARATION THEREOF
    • A23G4/00Chewing gum
    • A23G4/02Apparatus specially adapted for manufacture or treatment of chewing gum
    • A23G4/04Apparatus specially adapted for manufacture or treatment of chewing gum for moulding or shaping
    • A23G4/043Apparatus specially adapted for manufacture or treatment of chewing gum for moulding or shaping for composite chewing gum
    • AHUMAN NECESSITIES
    • A23FOODS OR FOODSTUFFS; TREATMENT THEREOF, NOT COVERED BY OTHER CLASSES
    • A23GCOCOA; COCOA PRODUCTS, e.g. CHOCOLATE; SUBSTITUTES FOR COCOA OR COCOA PRODUCTS; CONFECTIONERY; CHEWING GUM; ICE-CREAM; PREPARATION THEREOF
    • A23G4/00Chewing gum
    • A23G4/18Chewing gum characterised by shape, structure or physical form, e.g. aerated products
    • A23G4/20Composite products, e.g. centre-filled, multi-layer, laminated
    • AHUMAN NECESSITIES
    • A23FOODS OR FOODSTUFFS; TREATMENT THEREOF, NOT COVERED BY OTHER CLASSES
    • A23PSHAPING OR WORKING OF FOODSTUFFS, NOT FULLY COVERED BY A SINGLE OTHER SUBCLASS
    • A23P20/00Coating of foodstuffs; Coatings therefor; Making laminated, multi-layered, stuffed or hollow foodstuffs
    • A23P20/20Making of laminated, multi-layered, stuffed or hollow foodstuffs, e.g. by wrapping in preformed edible dough sheets or in edible food containers
    • AHUMAN NECESSITIES
    • A23FOODS OR FOODSTUFFS; TREATMENT THEREOF, NOT COVERED BY OTHER CLASSES
    • A23PSHAPING OR WORKING OF FOODSTUFFS, NOT FULLY COVERED BY A SINGLE OTHER SUBCLASS
    • A23P30/00Shaping or working of foodstuffs characterised by the process or apparatus
    • A23P30/20Extruding
    • A23P30/25Co-extrusion of different foodstuffs
    • AHUMAN NECESSITIES
    • A23FOODS OR FOODSTUFFS; TREATMENT THEREOF, NOT COVERED BY OTHER CLASSES
    • A23PSHAPING OR WORKING OF FOODSTUFFS, NOT FULLY COVERED BY A SINGLE OTHER SUBCLASS
    • A23P30/00Shaping or working of foodstuffs characterised by the process or apparatus
    • A23P30/40Foaming or whipping

Landscapes

  • Engineering & Computer Science (AREA)
  • Life Sciences & Earth Sciences (AREA)
  • Chemical & Material Sciences (AREA)
  • Food Science & Technology (AREA)
  • Polymers & Plastics (AREA)
  • Manufacturing & Machinery (AREA)
  • Confectionery (AREA)
  • Formation And Processing Of Food Products (AREA)

Abstract

【課題】高い液状物充填率を有するとともに液状物漏れのない、中心部に液状物を充填した可食物を連続的に製造するシステムの提供。
【解決手段】中心部に液状物を充填した可食物を連続的に製造するシステムにおいて、可食物ロープの押し出し成型時に、大気エアーを吸い込ませることを特徴とするシステム。
【選択図】図2

Description

本発明は、液状物を充填した可食物を製造するシステムに関し、具体的には中心部にエアーを含有する液状物を充填した可食物を連続的に製造するシステムに関する。
近年、液体充填ガム又は中心部充填ガム及びその他の菓子製品に対する需要が高まっている。これらの製品は、一般に固体の外側部分すなわち外殻と、柔らかな液体中心部とを有している。外側部分は、何らかの型式のチューイングガム又はバブルガム又はキャンディ又は穀粉を主原料とする材料とすることができる一方、液体中心部分は、通常、シロップ様粘調さを有する味付けした材料とすることができる。
今日、中心部にリキッドを充填したガム組成物については種々の研究がなされている(特許文献1、特許文献2)。さらに、液体充填ガム及びその他の菓子製品を製造するため既知の多数の機構及びシステムが存在する(特許文献3、特許文献4)。
特許文献3には、ロープ状の中心部が充填されたガム材料を連続的に製造する押出成形・中心部充填機構と、複数のダイ溝部材をその上に有する第1の回転チェーン部材および複数の第2のダイ溝部材をその上に有する第2のチェーン機構を有するタブレット形成機構であって、これら第1、第2の複数のダイ溝部材は、互いに係合するように設置され、タブレット型ガム材料の個々の片を形成するためのダイキャビティを形成するものと、中心部が充填されたガム材料の形成された片を冷却する冷却機構と、ガム材料の形成された片に固いコーティングを施す被覆機構とを包含し、これらダイ溝部材は各々実質的に湾曲した形態の表面を有し、液体が充填されたガム材料片が湾曲した平坦でない外側形態を持って形成される、液体が充填されたガム材料のコーティングされた片を連続的に製造するシステムが開示されている。
特許文献4には、液体充填ガム材料片を連続的に製造するシステムにおいて、ダイリング部材及びカッターリング部材を有する回転ドラム機構と、その外周縁の周りに配置された第一の複数のダイ半体部材を有する前記ダイリング部材と、その内周縁の周りに配置された第二の複数のダイ半体部材を有する前記カッターリング部材とを備え、前記ドラム機構が回転するとき、前記第二の複数のダイ半体部材の1つが前記第一の複数のダイ半体部材の1つと合わさって円形のダイキャビティを形成し、ダイ半体部材の前記合わさる対の各々が、前記合わさったダイ半体部材に入り且つその内部に配置されたガム材料片を圧縮し得るように関係した1対のプランジャ部材と、該プランジャ部材を作動させるカム機構とを有し、前記第一及び第二の複数のダイ半体部材を冷却した流体にて冷却し、前記ダイ半体部材に対するガム材料の付着を最小にする冷却手段と、前記プランジャ部材及びカム機構を前記第一及び第二の複数のダイ半体部材の温度以上の温度に保つ加熱手段とを備える、液体充填ガム材料片を連続的に製造するシステムが開示されている。
しかしながら、ガムの中心部にリキッドを充填した製品を連続的に製造するシステムを構築するに当り、従来の方法において、さらなるリキッド充填率の向上とガム中に充填されたリキッドの漏れ対策が必要となっている。
特願2007−208437号公報 特願2007−208438号公報 特表2004−506434号公報 特表2004−508024号公報
従来のガム中心部にリキッドを充填した製品(リキッドセンターガム)の製造システムにおいては、リキッド含有ガムロープを作成する工程において、リキッドのみを充填したガムロープを吐出し、冷却後に枕型に成型・カッティングする方式でガム製品を製造していた。しかしながらこの製造システムにおいては、成型後にガム中のリキッドの漏れが発生するものが多く見られた。
中心部充填ガム製品の場合、薄い肉厚部分を有する製品とし、ガム材料片が製品の最終形状を形成する2つのプランジャ部材により共に圧縮されたとき、液体の中心部材料がガム材料片から漏洩し又は搾り出されることになろう。漏洩するガム片(「漏れ物」と称する)は、望ましくなく、それは、漏洩した液体材料は機械の作動上の問題点及びガム片の更なる輸送及び包装上の問題点を生じさせる可能性があるからである。漏洩する形成されたガム製品は、商業的な製品として使用するのに通常、許容できない。漏洩する中心部充填ガム片を取り扱うとき、消費者がよごれ且つ不都合となることは明らかである。
さらにこのリキッド漏れにより、最終ガム製品の収量が低下し、さらにガム特性の維持の観点からも不都合な点が生じていた。
従って、上記リキッド漏れによる不都合を解消することが切望されている。
本願発明は、この様な液状物充填可食物における液状物充填率の向上を図るとともに液状物漏れを防ぐことを目的としている。
本発明による独特で新規な液状物充填可食物形成装置、システムおよびプロセスによって上記目的が達成される。
本発明は、より迅速に、より効率的に、より低いコストで中心部が充填されたペレット型液状物充填可食物製品を製造する押出し成形・寸法調整・ペレット形成システムを包含する。この液状物充填可食物形成システムは、押出し成形したロープ状またはストランド状の中心部が充填された可食物材料を得ることができる押出成形機兼中心部充填システムを包含する。
本願発明は、中心部に液状物を充填した可食物を連続的に製造するシステムにおいて、
可食物ロープの押し出し時に、液状物の充填と大気エアーの吸込ませを同時に行なうことを特徴とするシステムに関する。
さらに、本願発明は、中心部に液状物を充填した可食物を連続的に製造するシステムにおいて、可食物を吐出するノズル(「アウターノズル」と称する)内に液状物を充填するノズル(「インナーノズル」と称する)を配置し、その中にエアーを吸込ませるチューブをいれたシステムに関する。
さらに本願発明は、エアーを吸い込ませるチューブには、エアーを強制的に送り込む装置を保有しないことを特徴とするシステムに関する。
また、本願発明は、前記液状物が、糖類・糖アルコール類を主成分とするシロップ、フルーツ・野菜等を液状に加工した材料、およびチョコレート又はチョコレート加工品からなる群から選択され、前記可食物が、キャンディ、チューインガム、および穀粉を主成分とする材料からなる群から選択される上記に記載のシステムに関する。
さらに、本願発明は、前記アウターノズルは、形状が楕円又は円であり、面積が40〜70mmであり、構成比が50〜80%であり、前記インナーノズルは、形状が楕円又は円であり、面積が10〜30mmであり、構成比が18〜40%であり、および前記エアーチューブは、形状が楕円又は円であり、面積が1〜7mmであり、構成比が2〜10%であることを特徴とする上記に記載のシステムに関する。
さらに、本願発明は、前記アウターノズルは、形状が楕円又は円であり、面積が52〜55mmであり、構成比が65〜74%であり、前記インナーノズルは、形状が楕円又は円であり、面積が15〜24mmであり、構成比が22〜29%であり、および前記エアーチューブは、形状が楕円又は円であり、面積が3〜5mmであり、構成比が4〜6%であることを特徴とする上記に記載のシステムに関する。
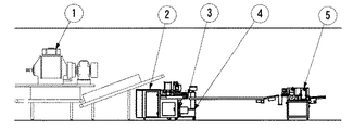
図1は、本発明による方法、システムおよび装置を示す概略図である。
1はミキサーであり、可食物材料を混練するためのものである。2は押し出し装置であり、3は押し出し装置のノズルであり、4は液状物送液用のセンターフィラーである。この押し出し装置からエアーイン液状物充填可食物のロープが作製され押し出される。5はシェイピングステーションであり、供給されるエアーイン液状物充填可食物ロープを切断するための横刃カッターが内蔵されており、これらの工程によって個々のエアーイン液状物充填可食物の片に分離される。
この押し出し装置2は、エアーイン液体充填機構を包含する。このエアーイン液体充填機構は、可食物材料が押出成形機で形成、押し出されつつあるときに、可食物材料の中心にエアーと液体材料の流れを挿入するのに利用される。一般に、中心部が液体で充填されたガム(いわゆるリキッドセンターガム)その他の糖菓製品用の機構は、この技術分野では公知である(特許文献3、4)。
しかしながら、本発明のような、中心部が液体で充填された可食物において、さらにエアーが液体中に含有された可食物(いわゆるエアーイン液状物充填可食物)のエアーイン液体充填機構は、いまだ知られていない。
次に、本願発明に係るエアーイン液状物充填可食物におけるエアーイン液体充填機構について、以下詳細に説明する。
図2に示すように押し出し装置2のノズル部分3を改良した。押し出し装置のノズル部分において、充填された可食物を押し出し可食物ロープ9を作製する方向に対して、直行する角度で、液状物導入管6を設置する。この液状物導入管は、可食物ロープ押し出し方向に対して下方から垂直に液状物7をガム中に導入するためのものである。
さらにこの液状物導入管の上方には、エアーを可食物内の液状物に導入するためのエアー引き込みチューブ8が設置されている。
液状物導入管6とエアー引き込みチューブ8とは、可食物ロープの供給方向の中心軸で供給方向に曲がり、可食物ロープ内に液状物とエアーとをそれぞれ供給して、エアーイン液状物充填可食物ロープ9が押し出し作製される。この作製されたエアーイン液状物充填可食物ロープを、上段ロール10と下段ロール11とからなる横刃カッターに搬送導入した。この搬送速度は10〜20m/minであった。次いで、可食物部を圧着しながら切断する横刃カッターで、エアーイン液状物充填可食物ロープを個々の可食物片に分離して、エアーイン液状物充填可食物片を作製した。
本願発明のようなエアー引き込みチューブを有さない押し出し装置を使用する、製造された従来のリキッドセンターガムにおいては、ガムロープの搬送進行の後ろ側を枕型に成型し個々に切断する際、リキッドセンターガムロープの搬送進行の前側に充填されたリキッドが押し出されリキッドの漏れが発生し易い(図3A)。
しかしながら、本発明のように、エアー引き込みチューブを押し出し機構に組み入れて上記のようにエアーイン液状物充填可食物ロープを作製し、引き続く連続した製造法で得られた最終的な個々のエアーイン液状物充填可食物片は、液状物の漏れが生じなかった(図3B)。
この本願発明の方法により得られたエアーイン液状物充填可食物において液状物の漏れが生じなかった理由は、液状物注入と同時に大気エアーを注入して可食物内の液状物領域に空間を形成させることで、成型時に液状物にかかる圧力を空間内に逃がすことが可能となり、成型可食物全体にかかる圧力が顕著に低下できた事、及び大気につながったエアーイン液状物充填可食物ロープ側に圧力を逃がす事が可能となった事で、その結果液状物の漏れを解消することができたものと考える。
このように、本発明は、可食物ロープ内に液状物と同時に大気エアーを吸い込ませる方式を採用することで、可食物ロープ内に空間を確保することができ、成型・カッティング時に内部の液状物にかかる圧力を軽減することで、液状物の外部漏れをなくすことが可能となった、という顕著な技術的特徴を本願発明は有する。
次に、本願発明にかかる押し出し装置ノズルの改造点について説明する。
可食物成型設備エアーインノズル部品改造:
インナーノズル固定用部品に穴加工し、エアー引き込みチューブを挿入できるように施した。上記加工部品を押し出し装置のインナーノズルの上部に設置し、樹脂性チューブをエアー引き込みチューブとして上記加工部品に挿入し、エアー引き込みチューブを固定した。
可食物成型設備エアーインノズルの改造:
(i)押し出し装置の下側に、液状物導入用パイプを設置した。
(ii)押し出し装置にインナーノズルを固定し、その中に大気エアー導入用樹脂性チューブを挿入した。
(iii)エアー導入用チューブは押し出し装置上部に通し、チューブ固定用に改造したパイプを設置した。
(iv)最後に押し出し装置に可食物用アウターノズルを取り付け、エアーインノズル構成を完成した。
この押し出し装置のインナーノズルを以下のように種々製作し、好適なエアーイン液状物充填可食物製品を提供できるノズル部分を検討した。
テストは全て液状物として糖アルコールを主成分としたシロップを用い、可食物としてチューインガムを使用した。
(比較例1)
テスト1(エアーインなし)は、
インナーノズル(リキッド注入部):円型 13mm (構成比20%)
アウターノズル(ガム吐出部):楕円型 53mm (構成比80%)
を使用して行った。
このテスト1の作製に使用したノズル部分の平面図を図4Aに示す。
この場合のガム中のリキッド充填率は6%であり、漏れ率は90%であった。
(比較例2)
テスト2(エアーインなし)はテスト1に対し漏れ率の低減を目的としたものである。
インナーノズル(リキッド注入部):楕円型 20mm (構成比30%)
アウターノズル(ガム吐出部):楕円型 46mm (構成比70%)
このテスト2の作製に使用したノズル部分の平面図を図4Bに示す。
この場合のガム中のリキッド充填率は6%であり、漏れ率は60%であった。
ガムロープ内の空間率(リキッド注入部)を高めると、メインエキストノズルから出てくるガムロープがつぶれてしまうとい不都合が生じた。結果、漏れ率を改善する事は不可能であった。
(比較例3)
テスト3は、
インナーノズル(リキッド注入部):楕円型 15mm (構成比22%)
アウターノズル(ガム吐出部):楕円型 52mm (構成比74%)
エアーチューブ(強制エアー):円型 3mm (構成比4%)
を使用して、ガムロープ内に強制的エアーを注入し空間確保を試みた。
このテスト3の作製に使用したノズル部分の平面図を図4Cに示す。
この場合のリキッド充填率は8〜10%であり、漏れ率は50%であった。
このテスト3では、リキッドを充填したガムロープの空間を確保する為に、0.05〜0.1Mpaの圧縮空気を送り込んだが、成型時にかかる圧力をガムロープ側に逃がす事が出来なかった為、漏れ率を改善する事は不可能であった。
(実施例1)
テスト4は、上記テスト3のノズル条件にてエアーチューブから強制ではなく、大気エアーを取り込んだものである。
この場合のリキッド充填率は8〜10%であり、漏れ率は3%以下であった。
このテスト4では、上記テスト2、3と異なり、ガムロープの空間を確保し、成型時にかかる圧力を逃がす事が可能となり、理想的なエアーイン構造をとることが可能となった。
(実施例2)
テスト5は、
インナーノズル(リキッド注入部):楕円型 24mm (構成比29%)
アウターノズル(ガム吐出部):楕円型 55mm (構成比65%)
エアーチューブ(大気エアー):円型 5mm (構成比6%)
を使用して、リキッド中に空間を導入した。
このテスト4の作製に使用したノズル部分の平面図を図4Dに示す。
この場合のリキッド充填率は12〜20%であり、漏れ率は3%以下であり、顕著にリキッドの漏れを防ぐことができた。
従来のリキッドセンターガムにおいては、リキッド充填率が1〜30%で、リキッド漏れ率は90%であった。さらにオーバル(楕円型)ノズルを採用した場合には、リキッド充填率1〜30%で、リキッド漏れ率は60%であった。一方、オーバルノズルとエアーイン構成を採用した本願発明のエアーインリキッドセンターガムにおいては、リキッド充填率1〜30%で、リキッド漏れ率は3%以下であり、顕著にリキッド漏れ率を減少させることができた。
本発明による方法、システムおよび装置を示す概略図である。 本願発明に係るエアーイン液状物充填可食物作製におけるエアーイン液体充填機構を示す概略図である。 従来法によるリキッドセンターガムのリキッド漏れを示すガム断面図である。 本発明によるエアーインリキッドセンターガムのガム断面図である。 テスト1の作製に使用したノズル部分の平面図である。 テスト2の作製に使用したノズル部分の平面図である。 テスト3、4の作製に使用したノズル部分の平面図である。 テスト5の作製に使用したノズル部分の平面図である。
符号の説明
1 ミキサー
2 押し出し装置
3 押し出し装置のノズル
4 液状物送液用のセンターフィラー
5 シェイピングステーション(横刃カッター)
6 液状物導入管
7 液状物
8 エアー引き込みチューブ
9 液状物充填可食物ロープ
10 上段ロール
11 下段ロール

Claims (6)

  1. 中心部に液状物を充填した可食物を連続的に製造するシステムにおいて、
    可食物の押し出し時に、液状物の充填と大気エアーの吸込ませを同時に行なうことを特徴とするシステム。
  2. 中心部に液状物を充填した可食物を連続的に製造するシステムにおいて、
    可食物を吐出するアウターノズルの中に液状物を吐出するインナーノズルを配置しさらにその中にエアーを吸い込ませるエアーチューブを配置した押し出し装置を有することを特徴とするシステム。
  3. さらに、エアーを吸い込ませるエアーチューブには、エアーを強制的に送り込む装置を保有しないことを特徴とする請求項2に記載のシステム。
  4. 前記液状物が、糖類・糖アルコール類を主成分とするシロップ、フルーツ・野菜等を液状に加工した材料、およびチョコレート又はチョコレート加工品からなる群から選択され、前記可食物が、キャンディ、チューインガム、および穀粉を主成分とする材料からなる群から選択される請求項1乃至3のいずれか一項に記載のシステム。
  5. 前記アウターノズルは、形状が楕円又は円であり、面積が40〜70mmであり、構成比が50〜80%であり、
    前記インナーノズルは、形状が楕円又は円であり、面積が10〜30mmであり、構成比が18〜40%であり、および
    前記エアーチューブは、形状が楕円又は円であり、面積が1〜7mmであり、構成比が2〜10%であることを特徴とする請求項2に記載のシステム。
  6. 前記アウターノズルは、形状が楕円又は円であり、面積が52〜55mmであり、構成比が65〜74%であり、
    前記インナーノズルは、形状が楕円又は円であり、面積が15〜24mmであり、構成比が22〜29%であり、および
    前記エアーチューブは、形状が楕円又は円であり、面積が3〜5mmであり、構成比が4〜6%であることを特徴とする請求項5に記載のシステム。
JP2008173366A 2008-07-02 2008-07-02 中心部に液状物を充填した可食物を連続的に製造するシステム Active JP5773559B2 (ja)

Priority Applications (8)

Application Number Priority Date Filing Date Title
JP2008173366A JP5773559B2 (ja) 2008-07-02 2008-07-02 中心部に液状物を充填した可食物を連続的に製造するシステム
MYPI2010006318A MY157523A (en) 2008-07-02 2009-06-30 System for continuously producing edible product filled with liquid material at center
RU2011103552/13A RU2528697C2 (ru) 2008-07-02 2009-06-30 Система непрерывного производства пищевого продукта с жидкой начинкой в центре
CN2009801259059A CN102076225B (zh) 2008-07-02 2009-06-30 连续制造中心部填充了液状物的可食用物品的装置
KR1020117000124A KR101632761B1 (ko) 2008-07-02 2009-06-30 중심부에 액상물을 충전한 가식물을 연속적으로 제조하는 시스템
US13/002,322 US8567307B2 (en) 2008-07-02 2009-06-30 System for continuously producing edible product filled with liquid material at center
PCT/JP2009/062247 WO2010002018A1 (ja) 2008-07-02 2009-06-30 中心部に液状物を充填した可食物を連続的に製造するシステム
TW98122425A TWI468115B (zh) 2008-07-02 2009-07-02 A system in which the edible food of the liquid is filled in the center is continuously manufactured

Applications Claiming Priority (1)

Application Number Priority Date Filing Date Title
JP2008173366A JP5773559B2 (ja) 2008-07-02 2008-07-02 中心部に液状物を充填した可食物を連続的に製造するシステム

Publications (2)

Publication Number Publication Date
JP2010011762A true JP2010011762A (ja) 2010-01-21
JP5773559B2 JP5773559B2 (ja) 2015-09-02

Family

ID=41466103

Family Applications (1)

Application Number Title Priority Date Filing Date
JP2008173366A Active JP5773559B2 (ja) 2008-07-02 2008-07-02 中心部に液状物を充填した可食物を連続的に製造するシステム

Country Status (8)

Country Link
US (1) US8567307B2 (ja)
JP (1) JP5773559B2 (ja)
KR (1) KR101632761B1 (ja)
CN (1) CN102076225B (ja)
MY (1) MY157523A (ja)
RU (1) RU2528697C2 (ja)
TW (1) TWI468115B (ja)
WO (1) WO2010002018A1 (ja)

Families Citing this family (4)

* Cited by examiner, † Cited by third party
Publication number Priority date Publication date Assignee Title
EP2928681B1 (en) * 2012-12-07 2021-06-09 Fertin Pharma A/S Compressed tablets
WO2015153149A1 (en) * 2014-03-31 2015-10-08 Intercontinental Great Brands Llc Chain cutter for continuously forming center-filled gum pieces
US10304705B2 (en) * 2015-12-10 2019-05-28 Beijing Naura Microelectronics Equipment Co., Ltd. Cleaning device for atomizing and spraying liquid in two-phase flow
US11388909B2 (en) * 2018-10-02 2022-07-19 Pure Nature Foods, LLC Apparatus and method for post-extrusion filling and closure of an extrudate

Citations (4)

* Cited by examiner, † Cited by third party
Publication number Priority date Publication date Assignee Title
JPS4950161A (ja) * 1972-07-12 1974-05-15
JPH01168243A (ja) * 1987-11-24 1989-07-03 Warner Lambert Co センター充填チユーインガム製造のための装置および方法
JPH11137231A (ja) * 1997-11-06 1999-05-25 Kajiwara Kogyo Kk 食品の生地成形方法および生地成形機
US20070231426A1 (en) * 2006-03-29 2007-10-04 Intergum Gida Sanayi Ve Ticaret A.S. Center-filled chewing gum piece, and apparatus and method for making same

Family Cites Families (19)

* Cited by examiner, † Cited by third party
Publication number Priority date Publication date Assignee Title
SU747459A1 (ru) * 1969-12-29 1980-07-15 Проектно-Конструкторское Бюро С Опытным Заводом Министерства Пищевой Промышленности Литовской Сср Устройство дл производства конфет с начинкой
US3757676A (en) * 1970-12-07 1973-09-11 El Chico Corp Food processing apparatus
US3857963A (en) * 1972-07-12 1974-12-31 Warner Lambert Co Method for forming center-filled chewing gum
US4054271A (en) * 1973-05-08 1977-10-18 Carle & Montanari S.P.A. Device for the working of candy dough hard and/or filled candies and a device for carrying out this proceeding
US4015518A (en) * 1976-03-16 1977-04-05 Dca Food Industries Inc. Apparatus for forming a variety of shaped bodies with an internal filling
US4469475A (en) * 1983-07-01 1984-09-04 Krysiak Dobroslaw J Machinery for making encrusted food products
US4715803A (en) * 1985-04-17 1987-12-29 Nabisco Brands, Inc. Triple co-extruder
US5161458A (en) * 1991-07-29 1992-11-10 Cheung Yau T Apparatus for forming filled dough products
JP3453473B2 (ja) * 1995-05-30 2003-10-06 キヤノン株式会社 発泡導電性ローラー、その製造方法及びそれを用いた電子写真装置
TW350761B (en) * 1996-08-30 1999-01-21 Air Prod & Chem Method and apparatus for moulding a food product
US6506401B1 (en) * 1999-01-28 2003-01-14 H. J. Heinz Company Filled edible product, and system and method for production of a filled edible product
US6284291B1 (en) * 1999-08-09 2001-09-04 Warner-Lambert Company Method and apparatus for continuously forming center-filled gum
US6280780B1 (en) * 2000-08-24 2001-08-28 Warner-Lambert Company Method and apparatus for continuously forming coated center-filled gum products
US6472001B1 (en) * 2000-09-07 2002-10-29 Joseph M. Bunkers System for continuously forming center filled gum
US7264836B2 (en) * 2003-03-21 2007-09-04 Kraft Foods Holdings, Inc. Production of triple coextruded baked bar goods
WO2007056685A2 (en) * 2005-11-04 2007-05-18 Wm. Wrigley Jr. Company Apparatus for producing a center-filled confectionery and method
CN101594784A (zh) * 2006-10-20 2009-12-02 Wm.雷格利Jr.公司 制造夹心糖果产品的设备和方法
WO2009020227A1 (ja) 2007-08-09 2009-02-12 Lotte Co., Ltd. リキッドセンターガム組成物
CN101772305B (zh) 2007-08-09 2013-10-30 罗蒂株式会社 含液体芯的口香糖组合物

Patent Citations (4)

* Cited by examiner, † Cited by third party
Publication number Priority date Publication date Assignee Title
JPS4950161A (ja) * 1972-07-12 1974-05-15
JPH01168243A (ja) * 1987-11-24 1989-07-03 Warner Lambert Co センター充填チユーインガム製造のための装置および方法
JPH11137231A (ja) * 1997-11-06 1999-05-25 Kajiwara Kogyo Kk 食品の生地成形方法および生地成形機
US20070231426A1 (en) * 2006-03-29 2007-10-04 Intergum Gida Sanayi Ve Ticaret A.S. Center-filled chewing gum piece, and apparatus and method for making same

Also Published As

Publication number Publication date
KR101632761B1 (ko) 2016-06-22
TWI468115B (zh) 2015-01-11
US20110146504A1 (en) 2011-06-23
MY157523A (en) 2016-06-15
WO2010002018A1 (ja) 2010-01-07
CN102076225A (zh) 2011-05-25
CN102076225B (zh) 2013-09-04
JP5773559B2 (ja) 2015-09-02
RU2011103552A (ru) 2012-08-10
KR20110039234A (ko) 2011-04-15
TW201023757A (en) 2010-07-01
RU2528697C2 (ru) 2014-09-20
US8567307B2 (en) 2013-10-29

Similar Documents

Publication Publication Date Title
US3615675A (en) Method for making center-filled puffed food product
US6472001B1 (en) System for continuously forming center filled gum
JP5773559B2 (ja) 中心部に液状物を充填した可食物を連続的に製造するシステム
JPS6332437A (ja) 押出しノズル
CN102883620A (zh) 用于制造产品的设备和方法
RU2452191C2 (ru) Машина и способ изготовления кондитерского продукта
KR102408286B1 (ko) 다층 제품 제조 장치 및 다층 제품의 제조 방법
US1949835A (en) Method of manufacturing candy
CN107666833A (zh) 冰淇淋机和使用冰淇淋机生产冰淇淋产品的方法
US8770098B2 (en) Device for continuous production by extrusion cooking of a food product containing whole solid pieces, and extrusion machine with such a device
JP2020058299A (ja) 串刺食品製造装置
RU2530931C2 (ru) Способ изготовления изделия из жевательной резинки с начинкой (варианты) и жгут
CN213719770U (zh) 一种高水分花生拉丝蛋白生产设备
CN113907180A (zh) 一种高水分花生拉丝蛋白生产方法及其生产设备
HK1155912A (en) Device for continuous production of edible article bearing liquid substance filled into the central part
HK1155912B (en) Device for continuous production of edible article bearing liquid substance filled into the central part
TW201626897A (zh) 製作有餡棒棒糖之方法及藉之可得到的相應產品
KR102236355B1 (ko) 만두제조장치 및 만두
CN101897469A (zh) 挤出机切割传送系统
EP3632211B1 (en) Stuffed food processing device
CN206629932U (zh) 荞片挤出生产线
CN223286564U (zh) 一种生产夹心食品设备
WO2020017443A1 (ja) 定量分割ユニット、定量分割方法及び食品製造方法
KR101754968B1 (ko) 함박 스테이크 압출 성형장치 및 그 장치에 의해 제조된 함박 스테이크
TW201605355A (zh) 餡芯麵條及其產製設備

Legal Events

Date Code Title Description
A621 Written request for application examination

Free format text: JAPANESE INTERMEDIATE CODE: A621

Effective date: 20110630

A131 Notification of reasons for refusal

Free format text: JAPANESE INTERMEDIATE CODE: A131

Effective date: 20130718

A521 Written amendment

Free format text: JAPANESE INTERMEDIATE CODE: A523

Effective date: 20130912

A02 Decision of refusal

Free format text: JAPANESE INTERMEDIATE CODE: A02

Effective date: 20131003

A521 Written amendment

Free format text: JAPANESE INTERMEDIATE CODE: A523

Effective date: 20150501

A61 First payment of annual fees (during grant procedure)

Free format text: JAPANESE INTERMEDIATE CODE: A61

Effective date: 20150630

R150 Certificate of patent or registration of utility model

Ref document number: 5773559

Country of ref document: JP

Free format text: JAPANESE INTERMEDIATE CODE: R150

R250 Receipt of annual fees

Free format text: JAPANESE INTERMEDIATE CODE: R250

R250 Receipt of annual fees

Free format text: JAPANESE INTERMEDIATE CODE: R250