JP2010011714A - 回転電機のコイル組立体製造方法 - Google Patents

回転電機のコイル組立体製造方法 Download PDF

Info

Publication number
JP2010011714A
JP2010011714A JP2008171586A JP2008171586A JP2010011714A JP 2010011714 A JP2010011714 A JP 2010011714A JP 2008171586 A JP2008171586 A JP 2008171586A JP 2008171586 A JP2008171586 A JP 2008171586A JP 2010011714 A JP2010011714 A JP 2010011714A
Authority
JP
Japan
Prior art keywords
coil wire
coil
turn
outermost
wire bundle
Prior art date
Legal status (The legal status is an assumption and is not a legal conclusion. Google has not performed a legal analysis and makes no representation as to the accuracy of the status listed.)
Granted
Application number
JP2008171586A
Other languages
English (en)
Other versions
JP5201400B2 (ja
Inventor
Masaomi Dobashi
正臣 土橋
Akito Akimoto
明人 秋本
Current Assignee (The listed assignees may be inaccurate. Google has not performed a legal analysis and makes no representation or warranty as to the accuracy of the list.)
Denso Corp
Original Assignee
Denso Corp
Priority date (The priority date is an assumption and is not a legal conclusion. Google has not performed a legal analysis and makes no representation as to the accuracy of the date listed.)
Filing date
Publication date
Application filed by Denso Corp filed Critical Denso Corp
Priority to JP2008171586A priority Critical patent/JP5201400B2/ja
Priority to US12/493,419 priority patent/US8091206B2/en
Publication of JP2010011714A publication Critical patent/JP2010011714A/ja
Application granted granted Critical
Publication of JP5201400B2 publication Critical patent/JP5201400B2/ja
Active legal-status Critical Current
Anticipated expiration legal-status Critical

Links

Images

Classifications

    • HELECTRICITY
    • H02GENERATION; CONVERSION OR DISTRIBUTION OF ELECTRIC POWER
    • H02KDYNAMO-ELECTRIC MACHINES
    • H02K15/00Processes or apparatus specially adapted for manufacturing, assembling, maintaining or repairing of dynamo-electric machines
    • H02K15/04Processes or apparatus specially adapted for manufacturing, assembling, maintaining or repairing of dynamo-electric machines of windings prior to their mounting into the machines
    • H02K15/043Processes or apparatus specially adapted for manufacturing, assembling, maintaining or repairing of dynamo-electric machines of windings prior to their mounting into the machines winding flat conductive wires or sheets
    • H02K15/0432Distributed windings
    • H02K15/0433Distributed windings of the wave winding type
    • YGENERAL TAGGING OF NEW TECHNOLOGICAL DEVELOPMENTS; GENERAL TAGGING OF CROSS-SECTIONAL TECHNOLOGIES SPANNING OVER SEVERAL SECTIONS OF THE IPC; TECHNICAL SUBJECTS COVERED BY FORMER USPC CROSS-REFERENCE ART COLLECTIONS [XRACs] AND DIGESTS
    • Y10TECHNICAL SUBJECTS COVERED BY FORMER USPC
    • Y10TTECHNICAL SUBJECTS COVERED BY FORMER US CLASSIFICATION
    • Y10T29/00Metal working
    • Y10T29/49Method of mechanical manufacture
    • Y10T29/49002Electrical device making
    • Y10T29/49009Dynamoelectric machine
    • YGENERAL TAGGING OF NEW TECHNOLOGICAL DEVELOPMENTS; GENERAL TAGGING OF CROSS-SECTIONAL TECHNOLOGIES SPANNING OVER SEVERAL SECTIONS OF THE IPC; TECHNICAL SUBJECTS COVERED BY FORMER USPC CROSS-REFERENCE ART COLLECTIONS [XRACs] AND DIGESTS
    • Y10TECHNICAL SUBJECTS COVERED BY FORMER USPC
    • Y10TTECHNICAL SUBJECTS COVERED BY FORMER US CLASSIFICATION
    • Y10T29/00Metal working
    • Y10T29/49Method of mechanical manufacture
    • Y10T29/49002Electrical device making
    • Y10T29/4902Electromagnet, transformer or inductor
    • Y10T29/49071Electromagnet, transformer or inductor by winding or coiling

Landscapes

  • Engineering & Computer Science (AREA)
  • Manufacturing & Machinery (AREA)
  • Power Engineering (AREA)
  • Manufacture Of Motors, Generators (AREA)

Abstract

【課題】コイル線材の変形を回避し得るようにしたコイル組立体製造方法を提供する。
【解決手段】第1及び第2コイル線材束50、60の配置工程を行った後、第1コイル線材束50に対して、係合工程、第1回転工程、交差工程、第2回転工程、移動工程を順に行う。係合工程は、第1コイル線材束50の第2ターン部52と第2コイル線材束60の第1ターン部61とを係合させる。第1回転工程は、係合部Pを支点として第1コイル線材束50を第2コイル線材束60と相対回転させる。交差工程は、係合部Pを支点として第1コイル線材束50の軸方向他端側を移動させて第2コイル線材束60と交差させる。第2回転工程は、係合部Pを支点として第1コイル線材束50を第1回転工程と逆方向へ回転させる。移動工程は、第1コイル線材束50を第2コイル線材束60と対面する位置へ移動させる。
【選択図】図1

Description

本発明は、回転電機のコイル組立体製造方法に関する。
従来、回転電機のコイル組立体を製造する方法として、種々の方法が提案されている。例えば、特許文献1には、相対向する一対の板状巻芯を用いて複数のコイル線材を同時に巻回する方法が提案されている。また、特許文献2には、巻回工程により三角波形状に形成した一のコイル線材に対して他のコイル線材を、90度だけその軸周りに回転させるとともに、半分のターン分だけそれらの重なりを増加するように一のコイル方向に進める工程と、他のコイル線材をさらにその軸周りに90度だけ回転させる工程とを繰り返すことにより、順次他のコイル線材を半分のターン分ずつ一のコイル線材に編み込む方法が提案されている。
特開2002−176752号公報 特開2004−104841号公報
複数のターン部が形成された複数のコイル線材を互いに編込む方法としては、さらに以下の各方法が考えられる。例えば、公知の撚り線機で行われているように、固定した一のコイル線材の周りに他のコイル線材を回転(公転)させ、1公転でコイルピッチ分をコイル長手方向に移動することで編込む方法や、2つのコイル線材の編込み箇所を中心に所定角度で保持し、互いに相手の周りを回転(公転)させて編込む方法である。
しかしながら、これらの方法では、成形加工により複数のターン部が形成されたコイル線材を用いていることから、編込み時におけるターン部同士の干渉を回避するために、一のコイル線材の軸線と他のコイル線材の軸線とのなす角度を大きく設定しなければならない。そのため、コイル線材(特に、ストレート状のスロット収容部)が変形し易いという問題があった。このように編込み時にコイル線材が変形すると、編込み済みコイルがいびつな形状となり、所望のコイル組立体が得られなくなる。
本発明は、上記事情に鑑みてなされたものであり、編込み時におけるコイル線材の変形を回避し得るようにした回転電機のコイル組立体製造方法を提供することを解決すべき課題とするものである。
以下、上記課題を解決するのに適した各手段について、必要に応じて作用効果等を付記しつつ説明する。
1.回転電機のコイル組立体製造方法は、
直線状に形成されて並列状に配置された複数のスロット収容部と、隣り合う前記スロット収容部の一端部同士及び他端部同士をそれぞれ接続する複数のターン部とを有する複数のコイル線材を互いに編込んで回転電機のコイル組立体を製造する方法であって、
複数の前記コイル線材を軸線方向に所定距離ずらせて対面した状態に並列状に配置すると共に、各前記コイル線材の軸線方向一端側にある各ターン部を交差させた状態に配置する配置工程と、
各前記コイル線材の並列方向の一方側において最も外側に位置する最外コイル線材を平行移動させて、前記最外コイル線材の幅方向一端側にあるターン部と他のコイル線材の幅方向他端側にあるターン部とを係合させる係合工程と、
前記最外コイル線材の幅方向一端側の前記ターン部と他の前記コイル線材の幅方向他端側の前記ターン部との係合部を支点として、前記最外コイル線材を他の前記コイル線材と対向する面に沿う方向へ相対回転させる第1回転工程と、
前記係合部を支点として、前記最外コイル線材の軸方向他端側を、他の前記コイル線材の前記外側から内側へ移動させて他の前記コイル線材と交差させる交差工程と、
前記係合部を支点として、前記最外コイル線材を前記第1回転工程における回転方向と逆方向へ相対回転させる第2回転工程と、
前記最外コイル線材を他の前記コイル線材と対面する位置へ平行移動させる移動工程と、
を有することを特徴とする。
手段1においては、配置工程と、係合工程と、第1回転工程と、交差工程と、第2回転工程と、移動工程とからなる一連の工程を順に行う。先ず、配置工程では、複数のコイル線材を軸線方向に所定距離ずらせて対面した状態に並列状に配置すると共に、各コイル線材の軸線方向一端側にある各ターン部を交差させた状態に配置する。ここで、各コイル線材が軸線方向にずらされる距離は、コイル線材の太さ寸法(径寸法)以上でターン部の長さ寸法からコイル線材の太さ寸法(径寸法)を引いた寸法までの範囲とされる。即ち、一つのコイル線材の隣り合うスロット収容部の間に他のコイル線材の一つのスロット収容部が位置している状態である。換言すると、一つのコイル線材の一端側にあるターン部と他のコイル線材の他端側にあるターン部同士が少なくとも一部で対向した状態である。このように各コイル線材を配置することにより、次の係合工程の遂行が可能となる。
次の係合工程では、各コイル線材の並列方向の一方側において最も外側に位置する最外コイル線材を平行移動させて、最外コイル線材の幅方向一端側にあるターン部と他のコイル線材の幅方向他端側にあるターン部とを係合させる。ここでの最外コイル線材とは、例えば各コイル線材が前後方向に並列配置されている場合には、前側又は後側において最も外側に位置しているコイル線材のことである。
次の第1回転工程では、上記の係合部を支点として、最外コイル線材を他のコイル線材と対向する面に沿う方向へ相対回転させる。この時、係合部から最も近い所にある、最外コイル線材の幅方向一端側のターン部と他のコイル線材の幅方向他端側のターン部とが回転方向に離間した状態になるまで回転させる。この時の最外コイル線材の回転角度は、上記の係合部を支点としてしているため小さくすることができる。なお、この時、他のコイル線材を、最外コイル線材の回転方向と逆方向へ回転させるようにすることにより、最外コイル線材の回転量を少なくすることができる。その状態で、前記の係合部を支点として、最外コイル線材の軸方向他端側を、他のコイル線材の外側から内側へ移動させて他のコイル線材と交差させる交差工程を行う。
その後、前記係合部の支点を中心にして最外コイル線材を第1回転工程における回転方向と逆方向へ相対回転させる第2回転工程を行い、最外コイル線材と他のコイル線材とが略平行となる状態にする。なお、この時にも、他のコイル線材を最外コイル線材の回転方向と逆方向へ回転させるようにしてもよい。次いで、最外コイル線材を他のコイル線材と対面する位置へ平行移動させる移動工程行うことにより一連の工程を終了する。
これにより、最外コイル線材と他のコイル線材の、前記係合部となったターン部の隣りにあるターン部同士が交差して、最外コイル線材の軸方向他端側が、他のコイル線材を外側から内側へ乗り越えて移動した状態になり、最外コイル線材の第3ターン部が他のコイル線材の第2ターン部に編み込まれた状態になる。
なお、上記の一連の工程が終了した直後において最も外側に位置する最外コイル線材に対して、上記の一連の工程を同様に繰り返し行うことにより、各コイル線材の一端側から他端側に亘って連続的に、各コイル線材のターン部同士の編込みが行われる。この場合、上記の一連の工程を、用いられているコイル線材の本数と同じ回数行う毎に、各コイル線材の一つのターン部同士における編込み(交差した状態)が進行することとなる。なお、各コイル線材のターン部は、コイル線材の軸線に対して両側に交互に設けられているので、幅方向一端側に奇数番目のターン部が位置し、幅方向他端側に偶数番目のターン部が位置することになる。
手段1によれば、第1回転工程、交差工程及び第2回転工程を行う際に、その前に行われた係合工程において係合された、最外コイル線材の第2ターン部と他のコイル線材の第1ターン部との係合部を利用している。そのため、特に、第1回転工程において最外コイル線材を他のコイル線材に対して相対回転させて両コイル線材を開脚させる際の開脚角度を最少にすることができるので、各コイル線材の変形を効果的に回避することができる。
2.手段1に記載の回転電機のコイル組立体製造方法において、
前記配置工程における、各前記コイル線材の軸線方向へのずれ距離は、固定子に設けられたスロットのピッチに合わせて設定されている。
手段2によれば、各コイル線材の各スロット収容部が、固定子に設けられた各スロットの位置に符合するように形成されるので、各コイル線材のスロット収容部を各スロットへ容易に且つ良好に収容させることが可能となる。
3.回転電機のコイル組立体製造方法は、
直線状に形成されて並列状に配置された複数のスロット収容部と、隣り合う前記スロット収容部の一端部同士及び他端部同士をそれぞれ接続する複数のターン部とを有する複数のコイル線材を互いに編込んで回転電機のコイル組立体を製造する方法であって、
複数の前記コイル線材が所定の状態に束ねられてなる複数のコイル線材束を、軸線方向に所定距離ずらせて対面した状態に並列状に配置すると共に、各前記コイル線材束の軸線方向一端側にある各ターン部を交差させた状態に配置する配置工程と、
各前記コイル線材束の並列方向の一方側において最も外側に位置する最外コイル線材束を平行移動させて、前記最外コイル線材束の幅方向一端側にあるターン部と他のコイル線材束の幅方向他端側にあるターン部とを係合させる係合工程と、
前記最外コイル線材束の幅方向一端側の前記ターン部と他の前記コイル線材束の幅方向他端側の前記ターン部との係合部を支点として前記最外コイル線材束を他の前記コイル線材束と対向する面に沿う方向へ相対回転させる第1回転工程と、
前記係合部を支点として、前記最外コイル線材束の軸方向他端側を、他の前記コイル線材束の前記外側から内側へ移動させて他の前記コイル線材束と交差させる交差工程と、
前記係合部を支点として、前記最外コイル線材束を前記第1回転工程における回転方向と逆方向へ相対回転させる第2回転工程と、
前記最外コイル線材束を他の前記コイル線材束と対面する位置へ平行移動させる移動工程と、
を有することを特徴とする。
手段3の回転電機のコイル組立体製造方法は、手段1では単体のコイル線材を複数用いていたのに対して、複数の単体コイル線材が所定の状態に束ねられてなるコイル線材束を複数用いる点でのみ相違している。即ち、手段3における配置工程、係合工程、第1回転工程、交差工程、第2回転工程及び移動工程の各工程の動作は、手段1における「コイル線材」を手段3における「コイル線材束」に置き換えれば、手段1における各工程の動作と同じであり、手段1の場合と同様の作用及び効果を奏する。よって、手段3についての詳しい説明は省略する。
なお、例えば12本のコイル線材を編み込んで作製された三相巻線のコイル組立体の場合には、1本目と7本目、2本目と8本目、……、5本目と11本目、6本目と12本目のコイル線材のスロット収容部同士が重なり合った状態となる。そのため、7本以上のコイル線材を編込む場合には、編込み動作中に各コイル線材同士の干渉や引っ掛かりが特に発生し易くなる。しかし、手段3の場合には、複数のコイル線材が所定の状態に編み込まれて束ねられたコイル線材束を用いているため、コイル線材同士の干渉や引っ掛かり等によるトラブルをより有利に回避することができる。
4.手段3に記載の回転電機のコイル組立体製造方法において、
前記配置工程における、各前記コイル線材束を構成する各前記コイル線材は、固定子に設けられたスロットのピッチに合わせて軸線方向へずれた状態にされている。
手段4によれば、各コイル線材の各スロット収容部が、固定子に設けられた各スロットの位置に符合するように形成されるので、各コイル線材のスロット収容部を各スロットへ容易に且つ良好に収容させることが可能となる。
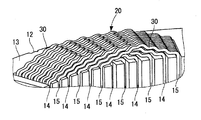
以下、本発明の回転電機のコイル組立体製造方法を具体化した各実施形態について図面を参照しつつ具体的に説明する。最初に、本発明の各実施形態の製造方法により製造されるコイル組立体20を適用した回転電機の固定子10の概略構成について説明する。図1は、コイル組立体20を適用した回転電機の固定子10の外観を示す斜視図であり、(B)は固定子10を側方から見た図である。図2は、固定子10の一部分を拡大して示す斜視図である。
図1に示す固定子10は、例えば車両の電動機および発電機を兼ねる回転電機に使用される。固定子10は、内周側に回転子(図示せず)を回転自在に収容する。回転子は、永久磁石により周方向に交互に異なる磁極を固定子10の内周側と向き合う外周側に複数形成している。固定子コア12は、所定厚さの磁性鋼板を軸方向に積層して環状に形成されている。固定子コア12には、図2に示すように、軸方向に沿い周方向に隣接するスロット14、15を一組として固定子コア12の内周側の周方向に複数組のスロットが形成されている。固定子巻線としてのコイル組立体20は三相巻線であり、周方向に隣接する一組のスロット14、15に各相の固定子巻線が設置されている。そして、スロット14、15を一組として周方向に隣接する三組のスロット14、15に異なる相の固定子巻線が設置されている。
次に、コイル組立体20の構成について説明する。図3は、コイル組立体20の外観を示す斜視図である。図4は、コイル組立体20のコイルエンド部を示す正面図である。図5は、コイル線材30の全体形状を示す正面図である。図6は、コイル線材30の断面図である。図7は、コイル線材30のターン部42の形状を示す斜視図である。
コイル組立体20のコイル線材30は、図5に示すように、複数のターン部42が所定ピッチで複数形成されたものである。また、コイル線材30は、図6に示すように、銅製の導体32と、導体32の外周を覆い導体32を絶縁する内層34および外層36からなる絶縁被覆とから形成されている。内層34は導体32の外周を覆い、外層36は内層34の外周を覆っている。内層34および外層36を合わせた絶縁被覆の厚みは、100μm〜200μmの間に設定されている。このように、内層34および外層36からなる絶縁被覆の厚みが厚いので、コイル線材30同士を絶縁するためにコイル線材30同士の間に絶縁紙等を挟み込んで絶縁する必要がない。
外層36は絶縁材、内層34は外層よりもガラス転移温度の高い熱可塑性樹脂またはガラス転移温度の無いポリアミドイミド等の絶縁材で形成されている。これにより、回転電機に発生する熱により外層36は内層34よりも早く軟化するので、同じスロット14に設置されているコイル線材30同士が外層36同士で熱接着する。その結果、同じスロット14に設置されている複数のコイル線材30が一体化しコイル線材30同士が剛体化するので、スロット14内のコイル線材30の機械的強度が向上する。また、過剰な振動が発生しても、内層34と導体32の接着箇所よりも内層34と外層36との接着箇所が先に剥離するので、内層34と導体32との接着を維持し絶縁を確保できる。
コイル線材30は、図2に示すように、固定子コア12のスロット14、15内に設置されるスロット収容部40と、スロット14、15から固定子コア12の外に突出し、周方向に異なるスロットに設置されているスロット収容部40同士を接続しているターン部42とを有しており、固定子コア12に波巻されることにより固定子巻線(コイル組立体)20を形成している。ターン部42は固定子コア12の軸方向両側にそれぞれ形成されている。このコイル線材30は、奇数番目のターン部と偶数番目のターン部が、軸線周りの180度位相がずれた位置に交互に設けられている。
ターン部42の略中央部には、図7に示すように、ねじりを伴わないクランク部44が形成されている。クランク部44は、固定子コア12の端面13に沿ってクランク形状に形成されている。このクランク部44のクランク形状によるずれ量は、線材30の略幅分である。これにより、径方向に隣接している線材30のターン部42同士を密に巻回できる。その結果、コイルエンドの径方向の幅が小さくなるので、コイル組立体20が径方向外側に張り出すことを防止する。
また、スロット14、15から固定子コア12の外に突出するターン部42の突出箇所に、線材30がまたがって設置されているスロット同士に向けて固定子コア12の軸方向両側の端面13に沿ってクランク部46が形成されている。これにより、スロット14、15から突出している線材30のターン部42の突出箇所の間隔、言い換えればターン部42が形成する三角形状部分の底辺の長さは、コイル線材30がまたがって設置されているスロット同士の間隔よりも狭くなっている。その結果、コイルエンドの高さhが低くなる。
また、固定子コア12の端面13に沿ったクランク部46の長さをd1、周方向に隣接するスロット同士の間隔をd2とすると、d1≦d2になっている。これにより、コイル線材30のクランク部46が周方向に隣り合うスロットから突出するコイル線材30と干渉することを防止できる。これにより、周方向に隣接するスロットから突出するコイル線材30同士が互いに干渉することを避けるために、コイルエンドの高さが高くなったり、あるいはコイルエンドの径方向の幅が大きくなったりすることを防止できる。その結果、コイルエンドの高さが低くなる。さらに、コイルエンドの径方向の幅が小さくなるので、コイル組立体20が径方向外側に張り出すことを防止する。
さらに、コイル線材30には、ターン部42の略中央部のクランク部44と、ターン部42の突出箇所に形成したクランク部46との間に、それぞれ2個のクランク部48が形成されている。つまり、固定子コア12の一方の軸方向の端面13側のコイル線材30のターン部42には、合計7個のクランク部が形成されている。これにより、クランク部を形成しない三角形状のターン部の高さに比べ、ターン部42の高さhが低くなる。クランク部48のクランク形状も、クランク部44、46と同様に、固定子コア12の端面13に沿ったクランク形状に形成されている。したがって、コイル線材30のターン部42は、クランク部44を挟んで両側を階段状に形成している。
ここで、三相の固定子巻線としてのコイル組立体20において、回転子の1極当たり各相のコイル線材30は2個のスロット14、15に設置されている。つまり、周方向に連続して隣接しているコイル組立体20の回転子の1極当たりのスロットの総数は3×2=6である。その結果、周方向の異なるスロットにまたがって設置されているコイル線材30は、周方向に6個離れたスロット同士に設置されるので、コイル線材30の略中央部の1個のクランク部44を加え、周方向に隣接しているスロットから突出するコイル線材30同士の干渉を避けるため、(3×2+1)個のクランク部をターン部42に形成することが望ましい。このように固定子コア12の一方の軸方向側のコイルエンドでコイル線材30に7個のクランク部を形成したことにより、コイルエンドの高さを低くし、コイルエンドの径方向の幅を小さくすることができる。
〔実施形態1〕
次に、実施形態1のコイル組立体20の製造方法について、図8〜図13を参照して説明する。本実施形態は、6本のコイル線材が所定の状態に編み込まれて束ねられてなる2束の第1及び第2コイル線材束50、60を用いて編込みを行う方法である。この第1及び第2コイル線材束50、60は、それぞれ6本のコイル線材を所定の状態に編み込んだ後、位置ずれやばらけを防止するために、紐やホルダ等によってその編込み状態を保持するようにされている。
なお、図8〜図13において、それぞれの(A)は平面図であり、それぞれの(B)は正面図である。また、図8は、コイル線材束50、60の一端側(図8の左側)から編込みを開始して、一部分の編込みが終了した時点の状態を示しているが、図8に示す状態が本実施形態の方法における配置工程と同じ状態であるので、図8に示す状態から編込みを開始するものとして説明する。
本実施形態の製造方法は、配置工程(図8)と、係合工程(図9)と、第1回転工程(図10)と、交差工程(図11)と、第2回転工程(図12)と、移動工程(図13)とを行う。先ず、配置工程では、図8に示すように、第1コイル線材束50と第2コイル線材束60を軸線方向(図8の左右方向)に所定距離(ターン部の約1/2の距離)ずらせると共に、第1及び第2コイル線材束50、60の軸線方向一端側(図8の左側)にある第1ターン部52、61を交差させて対面した状態に並列状に配置する。なお、第1ターン部52、61は、直前の編込み工程で編み込まれた箇所である。
この場合、正面側から見て、編込み未完の部分は、第1コイル線材束50が前側に位置し、第2コイル線材束60が後側に位置している。ここで、第1及び第2コイル線材束50、60の並列方向の一方側において最も外側に位置する最外コイル線材束としては、第1及び第2コイル線材束50、60のどちらも該当するが、本実施形態では、第1コイル線材束50を最外コイル線材束とする。
次の係合工程では、図9に示すように、第1コイル線材束50を平行移動させて、第1コイル線材束50の幅方向一端側(図9の下側)にある第2ターン部52と第2コイル線材束60の軸方向他端側(図9の上側)にある第1ターン部61とを係合させる。
そして、次の第1回転工程では、図10に示すように、第1コイル線材束50の第2ターン部52と第2コイル線材束60の第1ターン部61との係合部Pを支点として、第1コイル線材束50を第2コイル線材束60と対向する面に沿う方向(矢印a方向)へ相対回転させる。この時、第1コイル線材束50の第4ターン部54と第2コイル線材束60の第3ターン部63とが回転方向(矢印a方向)に所定距離(L)離間した状態になるまで回転させる。この時の第1コイル線材束50の回転角度は、係合部Pを支点としているため小さくすることができる。なお、この時、第2コイル線材束60を第1コイル線材束50の回転方向(矢印a方向)と逆方向へ所定角度回転させてもよい。
次の交差工程では、図11に示すように、係合部Pを支点として、第1コイル線材束50の軸方向他端側(第4ターン部54以降の部分)を、第2コイル線材束60の前側から後側へ移動させて、第1コイル線材束50の第3ターン部53と第2コイル線材束60の第2ターン部62との位置で交差させる。
次の第2回転工程では、図12に示すように、係合部Pを支点として、第1コイル線材束50を第1回転工程における回転方向と逆方向(矢印b方向)へ回転させる。これにより、第1コイル線材束50と第2コイル線材束60とが略平行となる状態にする。なお、この時にも、第2コイル線材束60を第1コイル線材束50の回転方向(矢印b方向)と逆方向へ回転させるようにしてもよい。
その後、図13に示すように、第1コイル線材束50を第2コイル線材束60と対面する位置へ平行移動させる移動工程行うことにより一連の工程を終了する。これにより、第1コイル線材束50の第3ターン部53と第2コイル線材束60の第2ターン部62とが交差して、第1コイル線材束50の第4ターン部54以降の部分(図13の右側部分)が、第2コイル線材束60を前側から後側へ乗り越えて移動した状態になり、第1コイル線材束50の第3ターン部53が第2コイル線材束60の第2ターン部62に編み込まれた状態になる。
なお、上記の移動工程が終了した直後の状態(図13)は、上記の配置工程(図8)の状態から、第1コイル線材束50と第2コイル線材束60との編込み未完の部分(図13の右側部分)が前後方向において入れ替わった状態となっている。即ち、第2コイル線材束60の編込み未完の部分が第1コイル線材束50の前側に位置している。よって、この状態から、第2コイル線材束60に対して、上記の係合工程(図9)から移動工程(図13)までの一連の工程を行うことにより、第1コイル線材束50の第4ターン部54と第2コイル線材束60の第3ターン部63との編込みが行われる。
その後、上記の一連の工程が終了した直後において、編込み未完の部分が前側に位置している第1コイル線材束50又は第2コイル線材束60に対して、上記の一連の工程を同様に繰り返し行うことによって、第1及び第2コイル線材束50、60の一端側から他端側に亘って連続的に、第1及び第2コイル線材束50、60の各ターン部同士の編込みが行われる。なお、この場合、直前に行われた一連の工程で編み込まれた(交差した)状態となったターン部は、次の一連の工程における、第1コイル線材束50の第2ターン部52及び第2コイル線材束60の第1ターン部61として扱われる。
そして、最終的に12本のコイル線材の編込みが完了した場合には、各コイル線材を適宜回転及び平行移動させることにより、各コイル線材の対応するターン部同士が適切な状態で交差して重なり合うように調整して、各コイル線材の端部を複数箇所で接合すると共に、全体をドーナツ状に成形することによって図3に示すコイル組立体20が完成する。
以上のように、本実施形態の製造方法によれば、第1回転工程、交差工程及び第2回転工程を行う際に、第1コイル線材束50の幅方向一端側にあるターン部と第2コイル線材束60の幅方向他端側にあるターン部とが係合する係合部Pを利用している。そのため、特に、第1回転工程において第1コイル線材束50を第2コイル線材束60に対して相対回転させて第1及び第2コイル線材束50、60を開脚させる際の開脚角度を最少にすることができるので、第1及び第2コイル線材束50、60の変形を効果的に回避することができる。
また、本実施形態の場合には、複数のコイル線材が所定の状態に編み込まれて束ねられた第1及び第2コイル線材束50、60を用いているため、編込み動作中に発生する、コイル線材同士の干渉や引っ掛かり等によるトラブルを有利に回避することができる。よって、多数本のコイル線材の編込みを円滑に且つ容易に行うことができる。
なお、本実施形態では、2本のコイル線材束を用いる場合について説明したが、本実施形態に係る製造方法は、コイル線材束が2本の場合や4本以上の場合にも、適用することができる。また、コイル線材束を構成するコイル線材の本数も、6本に限らず適宜選択することができる。
〔実施形態2〕
次に、実施形態2のコイル組立体20の製造方法について、図14〜図19を参照して説明する。本実施形態は、3本の第1〜第3コイル線材70、80、90を用いて編込みを行う方法である。ここで用いる第1〜第3コイル線材70、80、90は、直線状の線材を型のより成形加工することによって、複数のスロット収容部及びターン部が形成されている。
なお、図14は、第1〜第3コイル線材70、80、90の一端側(図14の左側)から編込みを開始して、一部分の編込みが終了した時点の状態を示しているが、図14に示す状態は本実施形態の方法における配置工程と同じ状態であるので、図14に示す状態から編込みを開始するものとして説明する。
本実施形態の製造方法は、配置工程(図14)と、係合工程(図15)と、第1回転工程(図16)と、交差工程(図示せず)と、第2回転工程(図17)と、移動工程(図18)とを行う。
配置工程では、図14に示すように、第1〜第3コイル線材70、80、90を軸線方向(図14の左右方向)に所定距離(スロットの1ピッチ分)ずらせると共に、第1〜第3コイル線材70、80、90の軸線方向一端側(図14の左側)にある第1ターン部71、81、91を交差させて対面した状態に並列状に配置する。この場合、第1〜第3コイル線材70、80、90の編込み未完の部分は、図14おいて後方側から、第1コイル線材70、第3コイル線材90、第2コイル線材80の順に並んでいる。本実施形態では、各コイル線材の並列方向の一方側において最も外側に位置する最外コイル線材を、第1コイル線材70として説明する。なお、図14は、直前の編込み工程において、第3コイル線材90の第1ターン部91に対して、第2コイル線材80の第1ターン部81の編み込が終了した状態である。よって、この状態から、第2及び第3コイル線材80、90の第1ターン部81、91に対して、第1コイル線材70の第1ターン部71の編込みが開始される。
次の係合工程では、図15に示すように、第1コイル線材70を平行移動させて、第1コイル線材70の幅方向一端側(図15の下側)にあるターン部78と、第2及び第3コイル線材80、90の幅方向他端側(図15の上側)にある第1ターン部81、91とを係合させる。この係合部をP2とする。
そして、次の第1回転工程では、図16に示すように、係合部P2を支点として、第1コイル線材70を第2及び第3コイル線材80、90と対向する面に沿う方向(矢印c方向)へ相対回転させる。この時、第1コイル線材70の軸方向他端側と第2及び第3コイル線材80、90の軸方向他端側とが回転方向(矢印c方向)に所定距離(L2)離間した状態になるまで回転させる。この時の第1コイル線材70の回転角度は、係合部P2を支点としてしているため小さくすることができる。なお、この時、第2及び第3コイル線材80、90を第1コイル線材70の回転方向(矢印c方向)と逆方向へ所定角度回転させてもよい。
次の交差工程では、係合部P2を支点として、第1コイル線材70の軸方向他端側を、第2及び第3コイル線材80、90の後側から前側へ移動させて、第1コイル線材70の第1ターン部71と第2及び第3コイル線材80、90の第2ターン部82、92との位置で交差させる。
次の第2回転工程では、図17に示すように、係合部P2を支点として、第1コイル線材70を第1回転工程における回転方向と逆方向(矢印d方向)へ回転させる。これにより、第1コイル線材70と第2及び第3コイル線材80、90とが略平行となる状態にする。なお、この時にも、第2及び第3コイル線材80、90を第1コイル線材70の回転方向(矢印d方向)と逆方向へ回転させるようにしてもよい。
その後、図18に示すように、第1コイル線材70を第2及び第3コイル線材80、90と対面する位置へ平行移動させる移動工程行うことにより一連の工程を終了する。これにより、第1コイル線材70の第1ターン部71と第2及び第3コイル線材80、90の第1ターン部81、91とが交差して、第1コイル線材70の軸方向他端側(図18の右側部分)が、第2及び第3コイル線材80、90を外側から内側へ乗り越えて移動した状態になり、第1コイル線材70の第1ターン部71が第2及び第3コイル線材80、90の第1ターン部81、91に編み込まれた状態になる。
なお、上記の移動工程が終了した直後の状態(図18)は、上記の配置工程(図14)の状態から、第1コイル線材70の編込み未完の部分と、第2及び第3コイル線材80、90との編込み未完の部分(図18の右側部分)が前後方向において入れ替わった状態となっている。即ち、第3コイル線材90の編込み未完の部分が最も後側に位置している。よって、この状態から、第3コイル線材90に対して、上記の係合工程(図14)から移動工程(図18)までの一連の工程を行うことにより、第3コイル線材90の第2ターン部92と第1及び第2コイル線材70、80の第2ターン部72、82との編込みが行われる。
その後、上記の一連の工程が終了した直後において、編込み未完の部分が最も後側に位置しているコイル線材束に対して、上記の一連の工程を同様に繰り返し行うことによって、第1〜第3コイル線材70、80、90の一端側から他端側に亘って連続的に、第1〜第3コイル線材70、80、90の各ターン部同士の編込みが行われる(図19参照)。
そして、本実施形態の場合にも、最終的に12本のコイル線材の編込みが完了した場合には、上記のように、各コイル線材を適切な状態に調整して、必要な処置を行った後、全体をドーナツ状に成形することによって図3に示すコイル組立体20が完成する。
以上のように、本実施形態の製造方法によれば、第1回転工程、交差工程及び第2回転工程を行う際に、第1コイル線材70の幅方向一端側にあるターン部と第2及び第3コイル線材束80、90の幅方向他端側にあるターン部とが係合する係合部Pを利用している。そのため、特に、第1回転工程において第1コイル線材70を第2及び第3コイル線材80、90に対して相対回転させて、第1コイル線材70と第2及び第3コイル線材束80、90とを開脚させる際の開脚角度を最少にすることができるので、第1〜第3コイル線材70、80、90の変形を効果的に回避することができる。
なお、本実施形態では、3本のコイル線材を用いる場合について説明したが、本実施形態に係る製造方法は、コイル線材が2本の場合や4本以上の場合にも、適用することができる。
(A)は本発明の一実施形態の方法によって製造されるコイル組立体を適用した回転電機の固定子の外観を示す斜視図であり、(B)は固定子を側方から見た図である。 固定子の一部分を拡大して示す斜視図である。 コイル組立体の外観を示す斜視図である。 コイル組立体のコイルエンド部を示す正面図である。 コイル線材の全体形状を示す正面図である。 コイル線材の断面図である。 コイル線材のターン部の形状を示す斜視図である。 実施形態1における配置工程を示す説明図であって、(A)は平面図、(B)は正面図である。 実施形態1における係合工程を示す説明図であって、(A)は平面図、(B)は正面図である。 実施形態1における第1回転工程を示す説明図であって、(A)は平面図、(B)は正面図である。 実施形態1における交差工程を示す説明図であって、(A)は平面図、(B)は正面図である。 実施形態1における第2回転工程を示す説明図であって、(A)は平面図、(B)は正面図である。 実施形態1における移動工程を示す説明図であって、(A)は平面図、(B)は正面図である。 実施形態2における配置工程を示す斜視図である。 実施形態2における係合工程を示す斜視図である。 実施形態2における第1回転工程を示す斜視図である。 実施形態2における交差工程を示す斜視図である。 実施形態2における第2回転工程後の移動工程を示す斜視図である。 実施形態2において最終のターン部まで編込みを行った状態を示す斜視図である。
符号の説明
12…固定子コア 14、15…スロット 20…コイル組立体 30…コイル線材 40…スロット収容部 42…ターン部 50…第1コイル線材束 51…第1ターン部 52…第2ターン部 53…第3ターン部 54…第4ターン部 60…第2コイル線材束 61…第1ターン部 62…第2ターン部 63…第3ターン部 64…第4ターン部 70…第1コイル線材 71…第1ターン部 72…第2ターン部 80…第2コイル線材 81…第1ターン部 82…第2ターン部 90…第3コイル線材 91…第1ターン部 92…第2ターン部

Claims (4)

  1. 直線状に形成されて並列状に配置された複数のスロット収容部と、隣り合う前記スロット収容部の一端部同士及び他端部同士をそれぞれ接続する複数のターン部とを有する複数のコイル線材を互いに編込んで回転電機のコイル組立体を製造する方法であって、
    複数の前記コイル線材を軸線方向に所定距離ずらせて対面した状態に並列状に配置すると共に、各前記コイル線材の軸線方向一端側にある各ターン部を交差させた状態に配置する配置工程と、
    各前記コイル線材の並列方向の一方側において最も外側に位置する最外コイル線材を平行移動させて、前記最外コイル線材の幅方向一端側にあるターン部と他のコイル線材の幅方向他端側にあるターン部とを係合させる係合工程と、
    前記最外コイル線材の幅方向一端側の前記ターン部と他の前記コイル線材の幅方向他端側の前記ターン部との係合部を支点として、前記最外コイル線材を他の前記コイル線材と対向する面に沿う方向へ相対回転させる第1回転工程と、
    前記係合部を支点として、前記最外コイル線材の軸方向他端側を、他の前記コイル線材の前記外側から内側へ移動させて他の前記コイル線材と交差させる交差工程と、
    前記係合部を支点として、前記最外コイル線材を前記第1回転工程における回転方向と逆方向へ相対回転させる第2回転工程と、
    前記最外コイル線材を他の前記コイル線材と対面する位置へ平行移動させる移動工程と、
    を有することを特徴とする回転電機のコイル組立体製造方法。
  2. 前記配置工程における、各前記コイル線材の軸線方向へのずれ距離は、固定子に設けられたスロットのピッチに合わせて設定されている請求項1に記載の回転電機のコイル組立体製造方法。
  3. 直線状に形成されて並列状に配置された複数のスロット収容部と、隣り合う前記スロット収容部の一端部同士及び他端部同士をそれぞれ接続する複数のターン部とを有する複数のコイル線材を互いに編込んで回転電機のコイル組立体を製造する方法であって、
    複数の前記コイル線材が所定の状態に束ねられてなる複数のコイル線材束を、軸線方向に所定距離ずらせて対面した状態に並列状に配置すると共に、各前記コイル線材束の軸線方向一端側にある各ターン部を交差させた状態に配置する配置工程と、
    各前記コイル線材束の並列方向の一方側において最も外側に位置する最外コイル線材束を平行移動させて、前記最外コイル線材束の幅方向一端側にあるターン部と他のコイル線材束の幅方向他端側にあるターン部とを係合させる係合工程と、
    前記最外コイル線材束の幅方向一端側の前記ターン部と他の前記コイル線材束の幅方向他端側の前記ターン部との係合部を支点として、前記最外コイル線材束を他の前記コイル線材束と対向する面に沿う方向へ相対回転させる第1回転工程と、
    前記係合部を支点として、前記最外コイル線材束の軸方向他端側を、他の前記コイル線材束の前記外側から内側へ移動させて他の前記コイル線材束と交差させる交差工程と、
    前記係合部を支点として、前記最外コイル線材束を前記第1回転工程における回転方向と逆方向へ相対回転させる第2回転工程と、
    前記最外コイル線材束を他の前記コイル線材束と対面する位置へ平行移動させる移動工程と、
    を有することを特徴とする回転電機のコイル組立体製造方法。
  4. 前記配置工程における、各前記コイル線材束を構成する各前記コイル線材は、固定子に設けられたスロットのピッチに合わせて軸線方向へずれた状態にされている請求項3に記載の回転電機のコイル組立体製造方法。
JP2008171586A 2008-06-30 2008-06-30 回転電機のコイル組立体製造方法 Active JP5201400B2 (ja)

Priority Applications (2)

Application Number Priority Date Filing Date Title
JP2008171586A JP5201400B2 (ja) 2008-06-30 2008-06-30 回転電機のコイル組立体製造方法
US12/493,419 US8091206B2 (en) 2008-06-30 2009-06-29 Method of twisting coil wire to make coil assembly for use in electric rotary machine

Applications Claiming Priority (1)

Application Number Priority Date Filing Date Title
JP2008171586A JP5201400B2 (ja) 2008-06-30 2008-06-30 回転電機のコイル組立体製造方法

Publications (2)

Publication Number Publication Date
JP2010011714A true JP2010011714A (ja) 2010-01-14
JP5201400B2 JP5201400B2 (ja) 2013-06-05

Family

ID=41445754

Family Applications (1)

Application Number Title Priority Date Filing Date
JP2008171586A Active JP5201400B2 (ja) 2008-06-30 2008-06-30 回転電機のコイル組立体製造方法

Country Status (2)

Country Link
US (1) US8091206B2 (ja)
JP (1) JP5201400B2 (ja)

Cited By (4)

* Cited by examiner, † Cited by third party
Publication number Priority date Publication date Assignee Title
JP2012085484A (ja) * 2010-10-14 2012-04-26 Denso Corp 回転電機のコイル組立体製造方法
JP2012110105A (ja) * 2010-11-16 2012-06-07 Denso Corp 回転電機のコイル組立体製造方法
JP2012110106A (ja) * 2010-11-16 2012-06-07 Denso Corp 回転電機のコイル組立体製造方法
JP2014073058A (ja) * 2012-10-02 2014-04-21 Denso Corp コイル組立体の製造方法

Families Citing this family (12)

* Cited by examiner, † Cited by third party
Publication number Priority date Publication date Assignee Title
JP4873261B2 (ja) * 2007-11-20 2012-02-08 株式会社デンソー 回転電機のコイル組立体製造方法
US9118225B2 (en) 2012-08-24 2015-08-25 Caterpillar Inc. Coil with twisted wires and stator assembly of a rotary electric machine
FR3020206B1 (fr) * 2014-04-17 2017-11-03 Valeo Equip Electr Moteur Procede de realisation d'un bobinage de stator de machine electrique de type avant-arriere et stator bobine correspondant
FR3020205B1 (fr) 2014-04-17 2017-11-03 Valeo Equip Electr Moteur Procede de realisation d'un bobinage de stator de machine electrique comportant une etape de pre-formation et stator bobine correspondant
US20160013693A1 (en) * 2014-07-08 2016-01-14 Hamilton Sundstrand Corporation Strand layout for reduced ac winding loss
US10347414B2 (en) * 2015-05-14 2019-07-09 Maxlinear, Inc. Method and system for winding transformers to maximize symmetry of the primary and secondary coils
CN112544030B (zh) * 2018-08-10 2023-11-28 博格华纳公司 用于编织用于电机的部件的线的方法
US11394282B2 (en) 2018-08-10 2022-07-19 Borgwarner Inc. Method of forming a component for an electric machine
CN112534691B (zh) 2018-08-10 2023-12-12 博格华纳公司 卷绕电机的部件的方法
KR102111099B1 (ko) * 2018-11-09 2020-05-15 (주)에이앤아이 집전 픽업을 포함하는 무선 로터리 검사장치
DE102021130257B4 (de) 2021-11-19 2023-07-06 Aumann Espelkamp Gmbh Verfahren und Vorrichtung zum Herstellen einer verwebten Wickelmatte für eine Spulenwicklung einer elektrischen Maschine
EP4213353A1 (de) * 2022-01-14 2023-07-19 Grob-Werke GmbH & Co. KG Vorrichtung und verfahren zum herstellen einer gesteckten wellenwicklung

Citations (3)

* Cited by examiner, † Cited by third party
Publication number Priority date Publication date Assignee Title
JP2000139048A (ja) * 1998-05-20 2000-05-16 Denso Corp 回転電機及びその製造方法
JP2003244906A (ja) * 2001-12-13 2003-08-29 Asmo Co Ltd 回転電機製造方法及び回転電機
JP2004104841A (ja) * 2002-09-04 2004-04-02 Mitsubishi Electric Corp 回転電機の巻線部材および巻線組立の製造方法並びにその巻線部材の製造装置

Family Cites Families (1)

* Cited by examiner, † Cited by third party
Publication number Priority date Publication date Assignee Title
JP3707606B2 (ja) 2000-02-07 2005-10-19 三菱電機株式会社 回転電機の巻線組立およびその製造方法ならびにその巻線組立を用いた回転電機の固定子

Patent Citations (3)

* Cited by examiner, † Cited by third party
Publication number Priority date Publication date Assignee Title
JP2000139048A (ja) * 1998-05-20 2000-05-16 Denso Corp 回転電機及びその製造方法
JP2003244906A (ja) * 2001-12-13 2003-08-29 Asmo Co Ltd 回転電機製造方法及び回転電機
JP2004104841A (ja) * 2002-09-04 2004-04-02 Mitsubishi Electric Corp 回転電機の巻線部材および巻線組立の製造方法並びにその巻線部材の製造装置

Cited By (4)

* Cited by examiner, † Cited by third party
Publication number Priority date Publication date Assignee Title
JP2012085484A (ja) * 2010-10-14 2012-04-26 Denso Corp 回転電機のコイル組立体製造方法
JP2012110105A (ja) * 2010-11-16 2012-06-07 Denso Corp 回転電機のコイル組立体製造方法
JP2012110106A (ja) * 2010-11-16 2012-06-07 Denso Corp 回転電機のコイル組立体製造方法
JP2014073058A (ja) * 2012-10-02 2014-04-21 Denso Corp コイル組立体の製造方法

Also Published As

Publication number Publication date
US20090320275A1 (en) 2009-12-31
JP5201400B2 (ja) 2013-06-05
US8091206B2 (en) 2012-01-10

Similar Documents

Publication Publication Date Title
JP5201400B2 (ja) 回転電機のコイル組立体製造方法
JP4873261B2 (ja) 回転電機のコイル組立体製造方法
JP4577588B2 (ja) 回転電機のコイル組立体製造方法
JP5332347B2 (ja) 回転電機のコイル組立体用のコイル線材
JP4505764B2 (ja) 回転電機のコイル組立体製造方法
JP5167939B2 (ja) 回転電機のコイル組立体製造方法
JP5234173B2 (ja) ステータ及びそれに使用される単位コイルの製造方法
JP5234258B2 (ja) 回転電機の固定子
CN107925319A (zh) 用于生产电机的定子的方法和两件式工具安排
WO2012169059A1 (ja) 回転電機の固定子、回転電機の固定子の製造方法、及び回転電機
JP5152578B2 (ja) 回転電機のコイル組立体製造方法
JP5177545B2 (ja) 回転電機のコイル組立体製造方法
JP5625788B2 (ja) 回転電機のコイル組立体製造方法
JP2010239679A (ja) コイル線、ステータおよび回転電機
JP4443286B2 (ja) 回転電動機の固定子、回転電動機のコイル装着方法、コイル巻線機
JP5483111B2 (ja) 回転電機用固定子巻線の製造方法
JP5435293B2 (ja) 回転電機のコイル組立体製造方法
JP2013118764A (ja) ステータ製造方法及びステータ製造装置
JP2016092971A (ja) 固定子巻線の製造方法、固定子巻線、固定子および回転電機
JP5569743B2 (ja) 回転電機のコイル組立体製造方法
JP2009130978A (ja) ステータコイルのコイルエンド成形方法
JP5915150B2 (ja) ヘリカル巻シート状コイル

Legal Events

Date Code Title Description
A621 Written request for application examination

Free format text: JAPANESE INTERMEDIATE CODE: A621

Effective date: 20110413

TRDD Decision of grant or rejection written
A01 Written decision to grant a patent or to grant a registration (utility model)

Free format text: JAPANESE INTERMEDIATE CODE: A01

Effective date: 20130117

A977 Report on retrieval

Free format text: JAPANESE INTERMEDIATE CODE: A971007

Effective date: 20130123

A61 First payment of annual fees (during grant procedure)

Free format text: JAPANESE INTERMEDIATE CODE: A61

Effective date: 20130130

R151 Written notification of patent or utility model registration

Ref document number: 5201400

Country of ref document: JP

Free format text: JAPANESE INTERMEDIATE CODE: R151

FPAY Renewal fee payment (event date is renewal date of database)

Free format text: PAYMENT UNTIL: 20160222

Year of fee payment: 3

R250 Receipt of annual fees

Free format text: JAPANESE INTERMEDIATE CODE: R250

R250 Receipt of annual fees

Free format text: JAPANESE INTERMEDIATE CODE: R250

R250 Receipt of annual fees

Free format text: JAPANESE INTERMEDIATE CODE: R250

R250 Receipt of annual fees

Free format text: JAPANESE INTERMEDIATE CODE: R250

R250 Receipt of annual fees

Free format text: JAPANESE INTERMEDIATE CODE: R250

R250 Receipt of annual fees

Free format text: JAPANESE INTERMEDIATE CODE: R250

R250 Receipt of annual fees

Free format text: JAPANESE INTERMEDIATE CODE: R250

R250 Receipt of annual fees

Free format text: JAPANESE INTERMEDIATE CODE: R250

R250 Receipt of annual fees

Free format text: JAPANESE INTERMEDIATE CODE: R250

R250 Receipt of annual fees

Free format text: JAPANESE INTERMEDIATE CODE: R250