JP2010011681A - 永久磁石式回転機の回転子構造 - Google Patents

永久磁石式回転機の回転子構造 Download PDF

Info

Publication number
JP2010011681A
JP2010011681A JP2008170150A JP2008170150A JP2010011681A JP 2010011681 A JP2010011681 A JP 2010011681A JP 2008170150 A JP2008170150 A JP 2008170150A JP 2008170150 A JP2008170150 A JP 2008170150A JP 2010011681 A JP2010011681 A JP 2010011681A
Authority
JP
Japan
Prior art keywords
permanent magnet
side plate
rotor structure
rotating shaft
rotating machine
Prior art date
Legal status (The legal status is an assumption and is not a legal conclusion. Google has not performed a legal analysis and makes no representation as to the accuracy of the status listed.)
Granted
Application number
JP2008170150A
Other languages
English (en)
Other versions
JP5359062B2 (ja
Inventor
Takashi Okitsu
隆志 沖津
Daiki Matsuhashi
大器 松橋
Yukimasa Hisamitsu
行正 久光
Tooru Kakebayashi
徹 掛林
Current Assignee (The listed assignees may be inaccurate. Google has not performed a legal analysis and makes no representation or warranty as to the accuracy of the list.)
Meidensha Corp
Meidensha Electric Manufacturing Co Ltd
Original Assignee
Meidensha Corp
Meidensha Electric Manufacturing Co Ltd
Priority date (The priority date is an assumption and is not a legal conclusion. Google has not performed a legal analysis and makes no representation as to the accuracy of the date listed.)
Filing date
Publication date
Application filed by Meidensha Corp, Meidensha Electric Manufacturing Co Ltd filed Critical Meidensha Corp
Priority to JP2008170150A priority Critical patent/JP5359062B2/ja
Priority to DE112009001631T priority patent/DE112009001631T5/de
Priority to CN2009801247780A priority patent/CN102077443B/zh
Priority to PCT/JP2009/061461 priority patent/WO2010001776A1/ja
Priority to US13/001,717 priority patent/US8482178B2/en
Publication of JP2010011681A publication Critical patent/JP2010011681A/ja
Application granted granted Critical
Publication of JP5359062B2 publication Critical patent/JP5359062B2/ja
Expired - Fee Related legal-status Critical Current
Anticipated expiration legal-status Critical

Links

Images

Classifications

    • HELECTRICITY
    • H02GENERATION; CONVERSION OR DISTRIBUTION OF ELECTRIC POWER
    • H02KDYNAMO-ELECTRIC MACHINES
    • H02K1/00Details of the magnetic circuit
    • H02K1/06Details of the magnetic circuit characterised by the shape, form or construction
    • H02K1/22Rotating parts of the magnetic circuit
    • H02K1/27Rotor cores with permanent magnets
    • H02K1/2706Inner rotors
    • H02K1/272Inner rotors the magnetisation axis of the magnets being perpendicular to the rotor axis
    • H02K1/274Inner rotors the magnetisation axis of the magnets being perpendicular to the rotor axis the rotor consisting of two or more circumferentially positioned magnets
    • H02K1/2753Inner rotors the magnetisation axis of the magnets being perpendicular to the rotor axis the rotor consisting of two or more circumferentially positioned magnets the rotor consisting of magnets or groups of magnets arranged with alternating polarity
    • H02K1/278Surface mounted magnets; Inset magnets

Landscapes

  • Engineering & Computer Science (AREA)
  • Power Engineering (AREA)
  • Permanent Field Magnets Of Synchronous Machinery (AREA)
  • Iron Core Of Rotating Electric Machines (AREA)

Abstract

【課題】広い温度範囲で高速回転させる場合であっても、永久磁石が高速回転に耐え得る保持リングの締め代でありながら、実用的な製造方法により生産性が高く、回転トルクの伝達に優れた永久磁石式回転機の回転子構造を提供する。
【解決手段】回転軸2の外周部に円筒状に形成された永久磁石3を固定し、永久磁石3に働くトルクを回転軸2に伝達するようにした永久磁石式回転機の回転子構造において、環状に形成され、軸孔4aに一体動可能に回転軸2を嵌入するとともに永久磁石3の両端面にそれぞれ対向配置され、且つ、永久磁石3に対向する端面4bに軸孔と同心円状に形成されたU溝4cを有する二つの側面板4と、円筒状に形成され、永久磁石3及び側面板4の外周面を覆って永久磁石3及び側面板4を一体動可能に締め付ける保持リング5とを設けた。
【選択図】図1

Description

本発明は、超高速回転の永久磁石式回転機の回転子構造に関し、とくに回転軸の外周部に円筒状の永久磁石を配し、永久磁石に働く回転トルクを回転軸に伝達するようにした高速永久磁石式回転機の回転子構造に関する。
従来、超高速回転の永久磁石式同期電動機や、永久磁石式同期発電機等の永久磁石式回転機の回転子構造としては、円筒状の永久磁石を同じく円筒状の非磁性高強度材(以下、補強リングという)で圧入又は焼き嵌め又は冷やし嵌めした回転子構造や、非磁性金属線で巻いた回転子構造が周知となっている(例えば、特許文献1,2参照)。
このようなリング磁石を用いる回転子構造においては、高速回転時に永久磁石の内径側に永久磁石の許容引張応力を超える引張応力が働き永久磁石が破損することを防止するため上記補強リング等に締め代を設けている。さらに、永久磁石に働く回転トルクは、高速回転時に遠心力で軸と永久磁石とが離れないように締め代をとる、または、回転軸と永久磁石とを接着することで回転軸に伝達される。なお、渦電流損失を低減するため補強リングとして炭素繊維などの高強度繊維や非磁性金属線を用いたものもある。
一方、円柱状の永久磁石を補強リングで圧入又は焼き嵌め又は冷やし嵌めした回転子構造もある(例えば、特許文献3参照)。
このような円柱状の永久磁石を用いる回転子構造においては、高速回転時に永久磁石の許容引張強さを超える引張応力が働かないように締め代をとることで永久磁石の破損を防止している。なお、補強リングと軸とは永久磁石の両端で圧入又は冷やし嵌め又は溶接される。そして、永久磁石に働く回転トルクは、高速回転時の遠心力で補強リングと永久磁石、及び軸と永久磁石が離れないように締め代をとることで軸に伝達される。永久磁石が円柱状であるため、同じ外径、長さの円筒状磁石に比較して遠心力に強く、磁石の起磁力を大きく取れるという利点を有している。
特開平03−159533号公報 特開2005−312250号公報 特開2002−354724号公報
しかしながら、上述した特許文献1,2に記載されているような回転子構造においては、永久磁石の許容引張応力を超える引張応力が作用することを防止するため、または遠心力や使用温度条件によって回転軸と永久磁石とが離れることがないようにするためには締め代を大きく取る必要があり、圧入または焼き嵌め温度を実用上困難な温度、換言すると大量生産には不向きな温度まで上昇させる必要があるという問題があった。締め代を大きく取るために実用上困難な温度とする必要があるのは冷やし嵌めを行う場合であっても同様であり、生産性の向上を妨げる虞があった。
永久磁石の回転トルクを、軸と永久磁石を接着することで軸に伝達するような回転子構造にあっては、高温環境下(100℃以上)では接着剤の機能が低下するおそれがある。接着剤の機能の低下により一度永久磁石が回転軸から剥がれると再度接着状態とはならないために、上記高温環境下では回転軸と永久磁石とが分離してトルクを軸に伝達できなくなる可能性があった。
更に加えて、補強リングとして高強度繊維を用いる場合、該高強度繊維は熱膨張係数が小さいために焼き嵌めが困難であることから、圧入または永久磁石を冷やし嵌めすることとなる。しかし、永久磁石の熱膨張係数は鉄の約半分であるため、締め代を大きく取ることが困難となり、永久磁石の許容引張応力を超える引張応力が作用することを防止すること、遠心力や使用温度条件によらず軸と永久磁石とが離れないようにすることが難しかった。
また、特許文献3に記載されているような回転子構造にあっては、永久磁石の許容引張応力を超える引張応力が働かないように締め代を設定すると、締め代が大きくなり、圧入または焼き嵌め温度を実用上困難な温度、換言すると大量生産に不向きな温度まで上昇させる必要が生じることが考えられ、生産性の向上が抑制される虞があった。これは冷やし嵌めを行う場合であっても同様であった。
更に、円柱状の永久磁石を用いる場合、永久磁石を挟んで回転軸を分断させることとなる。回転軸を永久磁石の両端に固定する方法としては、回転軸を補強リングで圧入または焼き嵌めまたは冷やし嵌めするか、回転軸と補強リングとを溶接で固定する方法があるが、回転軸の歪や剛性に注意が必要であり、作業が煩雑であった。
そして、回転軸を補強リングで圧入または焼き嵌めまたは冷やし嵌めする場合、永久磁石に働く回転トルクを補強リングに伝達し、更に回転軸に伝達することとなるため、遠心力や使用温度条件で補強リングと回転軸、及び補強リングと永久磁石が離れることがないように締め代を取ると、締め代が大きくなり、圧入または焼き嵌め温度を実用上困難な温度、換言すると大量生産に不向きな温度まで上昇させる必要が生じることが考えられる。これは冷やし嵌めを行う場合であっても同様であり、生産性の向上が妨げられる虞があった。
なお、本出願人は特願2007−240451において、上述した問題を解決するための一手段として、回転軸の外周部に円筒状の永久磁石を配すとともに、該永久磁石の両端面側に回転軸を一体動可能に嵌入する金属部材からなる環状の側面板を設け、永久磁石と側面板とを金属部材からなる円筒状の補強リングによって一体動可能に締め付けることにより、側面板を介して永久磁石に働く回転トルクを回転軸に伝達するようにした回転子構造において、補強リングの形状を変化させたものを提案している。
しかし、このような回転子構造においては、回転子を広い温度範囲で高速回転させる必要がある場合に、永久磁石及び側面板の熱膨張係数の違いや寸法公差により永久磁石の外径と側面板の外径との間に寸法差が生じることが考えられた。そして、永久磁石の外径と側面板の外径との間の寸法差が大きくなると、永久磁石または側面板のうち外径が大きい方の部材と補強リングの内径とが同等となり、外径が小さい方の部材に対して補強リングによる締め付けが弱くなることが考えられた。
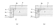
そのため、低温時(例えば、0℃未満)には図7(a)に破線で囲んで示すように補強リング105の側面板104に対する締め付けが弱くなり、永久磁石103に働く回転トルクを回転軸102に伝達しにくくなるおそれがあった。また、高温時(例えば、150℃以上)には図7(b)に破線で囲んで示すように補強リング105の永久磁石103に対する締め代が少なくなって締め付けが弱くなり、遠心力による永久磁石103の応力を抑制する効果が低下し、永久磁石103が破損するおそれがあった。
以上のことから、本発明は、広い温度範囲で高速回転させる場合であっても、永久磁石が高速回転に耐え得る補強部材の締め代でありながら、実用的な製造方法により生産性が高く、回転トルクの伝達に優れた永久磁石式回転機の回転子構造を提供することを目的とする。
上記の課題を解決するための第1の発明に係る永久磁石式回転機の回転子構造は、回転軸の外周部に円筒状に形成された永久磁石を固定し、前記永久磁石に働くトルクを前記回転軸に伝達するようにした永久磁石式回転機の回転子構造において、環状に形成され、軸孔に一体動可能に前記回転軸を嵌入するとともに前記永久磁石の両端面にそれぞれ対向配置され、且つ、前記永久磁石に対向する端面に前記軸孔と同心円状に形成された環状凹溝を有する二つの側面板と、円筒状に形成され、前記永久磁石及び前記側面板の外周面を覆って前記永久磁石及び前記側面板を一体動可能に締め付ける保持部材とを備えることを特徴とする。
第2の発明に係る永久磁石式回転機の回転子構造は、第1の発明において、前記側面板が、前記端面とは反対側の面に前記軸孔と同心円状に形成されるとともに前記環状凹溝とは異なる径を有する他の環状凹溝を有することを特徴とする。
上述した第1の発明に係る永久磁石式回転機の回転子構造によれば、回転軸の外周部に円筒状に形成された永久磁石を固定し、永久磁石に働くトルクを回転軸に伝達するようにした永久磁石式回転機の回転子構造において、環状に形成され、軸孔に一体動可能に回転軸を嵌入するとともに永久磁石の両端面にそれぞれ対向配置され、且つ、永久磁石に対向する端面に軸孔と同心円状に形成された環状凹溝を有する二つの側面板と、円筒状に形成され、永久磁石及び側面板の外周面を覆って永久磁石及び側面板を一体動可能に締め付ける保持部材とを備えるので、回転機の稼動に伴って永久磁石及び側面板の温度が上昇し、熱膨張係数の違い又は寸法公差によって永久磁石に比較して側面板の外径が大きくなったとしても、側面板が永久磁石に対向する端面に環状凹溝を有するために該環状凹溝より径方向外側の部分が径方向に弾性変形し、永久磁石と側面板との外径の寸法差を吸収するため、保持部材の永久磁石に対する締め代を維持することができ、広い温度範囲で永久磁石に働くトルクを確実に回転軸に伝達することができるとともに遠心力によって永久磁石が破損することを防止できる。
即ち、本発明によれば、広い温度範囲で高速回転させる場合であっても、永久磁石が高速回転に耐え得る締め代を有する補強部材を兼ねた保持部材を備え、実用的な製造方法により生産性が高く、回転トルクの伝達に優れた永久磁石式回転機の回転子構造を提供することができる。
また、上述した第2の発明に係る永久磁石式回転機の回転子構造によれば、側面板が、永久磁石に対向する端面とは反対側の面に軸孔と同心円状に形成されるとともに環状凹溝とは異なる径を有する他の環状凹溝を有するので、第1の発明の効果に加えて、保持部材の永久磁石に対する締め代をより確実に維持することができる。
本発明の実施の形態を以下の実施例において詳細に説明する。
図1乃至図4に基づいて本発明の第1の実施例を説明する。図1(a)は本実施例に係る永久磁石式回転機の回転子の構造を示す部分断面図、図1(b)は図1(a)のA−A矢視断面図、図2は本実施例の側面板の断面図、図3(a)は本実施例に係る側面板の低温時における状態を示す断面図、図3(b)は本実施例に係る側面板の高温時における状態を示す断面図である。本実施例は、例えば超高速回転の永久磁石式同期電動機、又は永久磁石式同期発電機に適用されるものである。
図1及び図2に示すように、回転子1は、回転軸2と、円筒状に形成されて回転軸2の外表面に配設される永久磁石3と、永久磁石3の両端面3aに当接するように配される金属部材からなる側面板4と、円筒状に形成されて永久磁石3及び側面板4の外表面に配される永久磁石3の補強手段を兼ねた保持部材としての保持リング5とを備えている。
側面板4はその軸心部分に軸孔4aを有する環状の部材であり、この軸孔4aに圧入または焼き嵌めによって回転軸2が固定されることにより、回転軸2と一体動可能に構成されている。この側面板4は低温時にその外径が永久磁石3の外径とほぼ同一となるように形成されているものとする。
さらに、側面板4の永久磁石3に対向する端面4bには、軸孔4aに対し同心に形成された環状凹溝として環状のU溝(以下、単に「U溝」という)4cが設けられている。本実施例において該U溝4cは側面板4の内径と外径のほぼ中間位置に配設され、その底部は断面形状がU字状に形成されている。ここで、U溝4cの径方向の幅は側面板4の大きさ等に応じて適宜設定するものとする。
保持リング5は、永久磁石3及び側面板4を同時に圧入又は焼き嵌めすることにより、永久磁石3及び側面板4を一体動可能に締め付ける、換言すると、永久磁石3と側面板4とを一体的に保持する部材であり、これにより、永久磁石3に働くトルクを側面板4を介して回転軸2に伝達することができる。
なお、回転軸2と永久磁石3との間には間隔dの隙間6が設けられ、永久磁石3と回転軸1とは非接触に構成されているものとする。
以下に、本実施例による作用効果を説明する。本実施例に係る永久磁石式回転機の回転子構造によれば、上述したように低温時に永久磁石3の外径と側面板4の外径とが一致するように構成されているため、低温時には図3(a)に破線で囲んで示すように永久磁石3及び側面板4それぞれの外周面を保持リング5により一体動可能に締め付けることができる。
また、高温時には、図3(b)に示すように、高温時に熱膨張係数の違いにより永久磁石3に比較して側面板4の外径が大きくなった場合であっても、該側面板4に設けたU溝4cにより側面板4の永久磁石3側の部分であって、特にU溝4cより径方向外側の部分が径方向に対して縮径するように弾性変形する。これにより図3(b)中に破線で囲んで示すように、側面板4の永久磁石3側の部分の外径が永久磁石3の外径に比較して大きくなることを抑制できるため、保持リング5の永久磁石3に対する締め代が維持され、高温時であっても遠心力による永久磁石3の応力を抑制して永久磁石3の破損を防止することができる。
このように、本実施例に係る永久磁石式回転機の回転子構造によれば、広い温度範囲で永久磁石式回転機の性能を維持することができ、実用的な製造方法により生産性を向上させつつ、保持リング5の締め代を永久磁石3が高速回転に耐え得る値に維持することが可能な回転トルクの伝達に優れた永久磁石式回転機の回転子構造を提供することができる。
ここで、本実施例においてはU溝4cを側面板4の内径と外径のほぼ中心に配設する例を示したが、U溝4cの位置は上述した位置に限定されるものではない。なお、側面板4の保持リング5に接する側かつ永久磁石3側の角部に所望の大きさのC面等の切欠部を形成し、保持リング5の内周面に対向する部分において永久磁石3と側面板4とを離間させる方法も考えられるが、このような構成とした場合、永久磁石3のトルクを伝達するための保持リング5と側面板4との接触面積が減少し、保持リング5の側面板4を保持する力が低下するおそれがある。そのため、U溝4cは側面板4の外周面及び内周面からそれぞれ間隔をおいて設けるようにすると好適である。
図4乃至図6に基づいて本発明の第2の実施例を説明する。図4は本実施例に係る永久磁石式回転機の回転子の構造を示す部分断面図、図5は本実施例の側面板の断面図、図6(a)は本実施例に係る側面板の低温時における状態を示す断面図、図6(b)は本実施例に係る側面板の高温時における状態を示す断面図である。本実施例は、図1及び図3に示し上述した実施例1の側面板4に代えて図4に示す複数のU溝を有する側面板14を用いる例である。
図4及び図5に示すように、本実施例において永久磁石3の両端面3aに当接するように配される側面板14はその軸心部分に軸孔14aを有する環状の部材であり、この軸孔14aに圧入または焼き嵌めによって回転軸2が固定されることにより、回転軸2と一体動可能に構成されている。この側面板14は低温時にその外径が永久磁石3の外径とほぼ同一となるように形成されているものとする。
さらに、側面板14の両端面14b,14dには、それぞれ軸孔14aに対し同心に形成された環状凹溝として環状のU溝(以下、単に「U溝」という)14c、他の環状凹溝としてのU溝14eが形成されている。ここで、U溝14c,14eの径方向の幅は側面板4の大きさ等に応じて適宜設定するものとする。
U溝14c,14eはその直径が相互に異なるように(図4ではU溝14cの径に対してU溝14eの径が小さい)、換言すると、径方向に対して相互に位置が異なるように配設され、かつ、それぞれの底部は断面形状がU字状に形成されている。
その他の構成は図1に示し上述した構成と概ね同様であり、実施例1において説明した部材と同一の部材には同一符号を付し、重複する説明は省略する。
以下に、本実施例の作用効果を説明する。本実施例に係る永久磁石式回転機の回転子構造によれば、側面板14の両端面14b,14dにそれぞれU溝14c,14eを設けたので、実施例1に比較して側面板14の径方向の幅を全体的に変化させることができる。
例えば、低温時には図6(a)に示すように永久磁石3及び側面板14それぞれの外周面を保持リング5により一体動可能に締め付けることができる。また、高温時には、図6(b)に示すように、熱膨張係数の違いにより永久磁石3に比較して側面板14の外径が大きくなった場合であっても、該側面板14に設けたU溝14c,14eにより側面板14全体が径方向に対して縮径するように弾性変形する。
このように、本実施例によれば、永久磁石3の外径と側面板14の外径とに寸法差が生じることを抑制することができるため、側面板14の外径が永久磁石3の外径に比較して小さくなり永久磁石3に働く回転トルクを回転軸2に伝達しにくくなること、および、永久磁石3の外径が側面板14の外径に比較して小さくなり遠心力による永久磁石3の応力を抑制しにくくなることを防止することができ、回転子2を広い温度範囲で高速回転させる場合であっても、永久磁石3が高速回転に耐え得る保持リング5の締め代を維持しつつ、永久磁石3に働く回転トルクを確実に回転軸2に伝達することができる。
なお、本実施例においては側面板14の両端面14b,14dにそれぞれ一つずつU溝14c,14eを形成する例を示したが、本発明はこれに限定されるものではなく、側面板14の大きさに応じて例えば側面板14の両端面14b,14dにそれぞれ相互に直径の異なるU溝を複数設けるなど、本発明の趣旨を逸脱しない範囲で種々の変更が可能であることはいうまでもない。
本発明は、高速永久磁石式回転機の回転子構造に適用可能であり、特に、回転軸の外周部に該回転軸に対して径方向に間隙を有するように設けられる円筒状の永久磁石、及び、金属部材からなり、圧入または焼き嵌めにより回転軸に一体動可能に固定されるとともに永久磁石の両端に配置される環状の側面板を、円筒状の非磁性高強度材である保持リングで圧入又は焼き嵌めし、永久磁石と回転軸が非接触であっても永久磁石に働くトルクを安定的に回転軸に伝達するようにした永久磁石式回転機に適用して好適なものである。
図1(a)は本発明の実施例1に係る永久磁石式回転機の回転子構造を示す部分断面図、図1(b)は図1(a)のA−A矢視断面図である。 本発明の実施例1に係る側面板の断面図である。 図3(a)は本発明の実施例1に係る側面板の低温時における状態を示す断面図、図3(b)は本発明の実施例1に係る側面板の高温時における状態を示す断面図である。 本発明の実施例2に係る永久磁石式回転機の回転子構造を示す部分断面図である。 本発明の実施例2に係る側面板の断面図である。 図6(a)は本発明の実施例2に係る側面板の低温時における状態を示す断面図、図6(b)は本発明の実施例2に係る側面板の高温時における状態を示す断面図である。 図7(a)は低温時における従来の回転子の一部の状態を示す説明図、図7(b)は高温時における従来の回転子の一部の状態を示す説明図である。
符号の説明
1 回転子
2 回転軸
3 永久磁石
4,14 側面板
4a,14a 軸孔
4b,14b,14d 端面
4c,14c,14e U溝
5 保持リング
6 隙間

Claims (2)

  1. 回転軸の外周部に円筒状に形成された永久磁石を固定し、前記永久磁石に働くトルクを前記回転軸に伝達するようにした永久磁石式回転機の回転子構造において、
    環状に形成され、軸孔に一体動可能に前記回転軸を嵌入するとともに前記永久磁石の両端面にそれぞれ対向配置され、且つ、前記永久磁石に対向する端面に前記軸孔と同心円状に形成された環状凹溝を有する二つの側面板と、
    円筒状に形成され、前記永久磁石及び前記側面板の外周面を覆って前記永久磁石及び前記側面板を一体動可能に締め付ける保持部材と
    を備えることを特徴とする永久磁石式回転機の回転子構造。
  2. 前記側面板が、前記端面とは反対側の面に前記軸孔と同心円状に形成されるとともに前記環状凹溝とは異なる径を有する他の環状凹溝を有する
    ことを特徴とする請求項1記載の永久磁石式回転機の回転子構造。
JP2008170150A 2008-06-30 2008-06-30 永久磁石式回転機の回転子構造 Expired - Fee Related JP5359062B2 (ja)

Priority Applications (5)

Application Number Priority Date Filing Date Title
JP2008170150A JP5359062B2 (ja) 2008-06-30 2008-06-30 永久磁石式回転機の回転子構造
DE112009001631T DE112009001631T5 (de) 2008-06-30 2009-06-24 Rotoraufbau für sich drehende Maschine vom Permanentmagnettyp
CN2009801247780A CN102077443B (zh) 2008-06-30 2009-06-24 永磁式回转机械的转子构造
PCT/JP2009/061461 WO2010001776A1 (ja) 2008-06-30 2009-06-24 永久磁石式回転機の回転子構造
US13/001,717 US8482178B2 (en) 2008-06-30 2009-06-24 Rotor structure of permanent magnet type rotary machine

Applications Claiming Priority (1)

Application Number Priority Date Filing Date Title
JP2008170150A JP5359062B2 (ja) 2008-06-30 2008-06-30 永久磁石式回転機の回転子構造

Publications (2)

Publication Number Publication Date
JP2010011681A true JP2010011681A (ja) 2010-01-14
JP5359062B2 JP5359062B2 (ja) 2013-12-04

Family

ID=41465874

Family Applications (1)

Application Number Title Priority Date Filing Date
JP2008170150A Expired - Fee Related JP5359062B2 (ja) 2008-06-30 2008-06-30 永久磁石式回転機の回転子構造

Country Status (5)

Country Link
US (1) US8482178B2 (ja)
JP (1) JP5359062B2 (ja)
CN (1) CN102077443B (ja)
DE (1) DE112009001631T5 (ja)
WO (1) WO2010001776A1 (ja)

Cited By (5)

* Cited by examiner, † Cited by third party
Publication number Priority date Publication date Assignee Title
JP2017192169A (ja) * 2016-04-11 2017-10-19 株式会社デンソー 回転子および回転電機
JP2017214874A (ja) * 2016-05-31 2017-12-07 株式会社島津製作所 真空ポンプ
WO2020008813A1 (ja) * 2018-07-05 2020-01-09 株式会社Ihi モータロータおよび過給機
WO2020031651A1 (ja) * 2018-08-09 2020-02-13 日機装株式会社 キャンドモータ、および、キャンドモータの製造方法
WO2024038906A1 (ja) * 2022-08-19 2024-02-22 株式会社Ihi モータロータ、及びモータロータの製造方法

Families Citing this family (12)

* Cited by examiner, † Cited by third party
Publication number Priority date Publication date Assignee Title
CN201730841U (zh) * 2010-03-22 2011-02-02 德昌电机(深圳)有限公司 风机、使用所述风机的干手器及吸尘器
JP5584669B2 (ja) * 2011-10-14 2014-09-03 三菱電機株式会社 回転電機の回転子
US9190878B2 (en) * 2012-03-16 2015-11-17 Globe Motors, Inc. Rotor including anti-rotation feature for multi-pole structure
JP2014068460A (ja) * 2012-09-26 2014-04-17 Seiko Epson Corp 電気機械装置および電気機械装置に用いられるローター、並びに、電気機械装置を用いた移動体およびロボット
JP5741960B2 (ja) * 2012-10-19 2015-07-01 株式会社デンソー 回転子およびそれを用いた回転電機
CN105099027B (zh) * 2014-05-22 2018-02-09 台达电子工业股份有限公司 马达转子及其定位环
CN105449938B (zh) * 2014-05-26 2020-03-17 舍弗勒技术股份两合公司 过盈配合结构和过盈配合方法
CN105048675B (zh) * 2015-08-20 2018-03-30 宁波双林汽车部件股份有限公司 一种微霍尔电机的磁承环
CN107086687B (zh) * 2017-06-16 2023-04-07 广东威灵电机制造有限公司 转子总成和电机
FR3078208B1 (fr) * 2018-02-16 2023-01-06 Leroy Somer Moteurs Rotor de machine electrique tournante
JP7091822B2 (ja) * 2018-05-15 2022-06-28 トヨタ自動車株式会社 ロータ
CN110380543B (zh) * 2019-08-07 2021-09-21 珠海格力节能环保制冷技术研究中心有限公司 一种转子组件、电机、压缩机

Citations (2)

* Cited by examiner, † Cited by third party
Publication number Priority date Publication date Assignee Title
JPH0919093A (ja) * 1995-06-28 1997-01-17 Meidensha Corp 回転子の永久磁石
JP2001510008A (ja) * 1996-05-15 2001-07-24 エンプレサ・ブラジレイラ・デイ・コンプレソレス・エシ/ア―エンブラク 電動機用のコイル式回転子カバー

Family Cites Families (12)

* Cited by examiner, † Cited by third party
Publication number Priority date Publication date Assignee Title
JPS58163255A (ja) * 1982-03-24 1983-09-28 Okuma Mach Works Ltd 永久磁石式同期モ−タの回転子
US4674178A (en) * 1985-10-16 1987-06-23 Sundstrand Corporation Method of fabricating a permanent magnet rotor
JPH03159533A (ja) 1989-08-23 1991-07-09 Isuzu Motors Ltd 超高速回転子
JPH05284680A (ja) * 1992-04-01 1993-10-29 Toshiba Corp 永久磁石式回転子
US5801470A (en) * 1996-12-19 1998-09-01 General Electric Company Rotors with retaining cylinders and reduced harmonic field effect losses
JP2002354724A (ja) 2001-05-24 2002-12-06 Mitsubishi Heavy Ind Ltd 永久磁石型発電機
CN1286252C (zh) * 2002-07-29 2006-11-22 西北工业大学 一种稀土永磁无刷直流电机
JP2005312250A (ja) 2004-04-26 2005-11-04 Meidensha Corp 永久磁石式回転電機の磁石固定方法
JP4400425B2 (ja) * 2004-11-15 2010-01-20 トヨタ自動車株式会社 表面磁石型電動機、表面磁石型電動機の製造方法、および表面磁石型電動機を備えた内燃機関
CN100479302C (zh) * 2005-12-12 2009-04-15 江苏安捷机电进出口有限公司 涡流启动三相稀土永磁同步电动机
JP4655969B2 (ja) 2006-03-10 2011-03-23 三浦工業株式会社 鉄の定量方法
US7986068B2 (en) * 2008-06-18 2011-07-26 Honda Motor Co., Ltd. Motor

Patent Citations (2)

* Cited by examiner, † Cited by third party
Publication number Priority date Publication date Assignee Title
JPH0919093A (ja) * 1995-06-28 1997-01-17 Meidensha Corp 回転子の永久磁石
JP2001510008A (ja) * 1996-05-15 2001-07-24 エンプレサ・ブラジレイラ・デイ・コンプレソレス・エシ/ア―エンブラク 電動機用のコイル式回転子カバー

Cited By (6)

* Cited by examiner, † Cited by third party
Publication number Priority date Publication date Assignee Title
JP2017192169A (ja) * 2016-04-11 2017-10-19 株式会社デンソー 回転子および回転電機
JP2017214874A (ja) * 2016-05-31 2017-12-07 株式会社島津製作所 真空ポンプ
WO2020008813A1 (ja) * 2018-07-05 2020-01-09 株式会社Ihi モータロータおよび過給機
WO2020031651A1 (ja) * 2018-08-09 2020-02-13 日機装株式会社 キャンドモータ、および、キャンドモータの製造方法
US11728701B2 (en) 2018-08-09 2023-08-15 Nikkiso Co., Ltd. Canned motor and canned motor manufacturing method
WO2024038906A1 (ja) * 2022-08-19 2024-02-22 株式会社Ihi モータロータ、及びモータロータの製造方法

Also Published As

Publication number Publication date
US20110187219A1 (en) 2011-08-04
CN102077443B (zh) 2013-02-06
JP5359062B2 (ja) 2013-12-04
WO2010001776A1 (ja) 2010-01-07
CN102077443A (zh) 2011-05-25
DE112009001631T5 (de) 2011-04-21
US8482178B2 (en) 2013-07-09

Similar Documents

Publication Publication Date Title
JP5359062B2 (ja) 永久磁石式回転機の回転子構造
CN102782989B (zh) 旋转电机的转子
JP5718391B2 (ja) 回転電機
CN103928993B (zh) 马达
JP2009060760A (ja) 電動モータ
JP2008295178A (ja) 永久磁石式回転機の回転子構造
WO2016080284A1 (ja) 誘導電動機
WO2021075275A1 (ja) ステータコア、ステータユニット及びモータ
JP5386885B2 (ja) 永久磁石式回転機の回転子構造
US20200227963A1 (en) Rotor core of rotating electrical machine
US12126221B2 (en) Rotor and rotating electric machine
WO2020148939A1 (ja) 回転電機のロータ
JP2006304460A (ja) 回転電機の固定子
WO2018216161A1 (ja) 回転子及び回転電機
JP6758359B2 (ja) 回転電機
JP2009072036A (ja) 永久磁石式回転機の回転子構造
US11368063B2 (en) Rotor of electric motor and electric motor
JPWO2018216160A1 (ja) 回転子部材及び回転電機
JP2008125333A (ja) ステータ
JP4301060B2 (ja) アキシャルギャップ電動機のロータ構造
JP4701921B2 (ja) アキシャルギャップ型回転電機のステータ構造
JP5736771B2 (ja) 回転電機の固定子
JP5315364B2 (ja) 永久磁石式回転電機の回転子
JP7203639B2 (ja) 回転電機
US10873225B2 (en) Rotor for rotary electric machine having a gap for alleviating stress during rotation

Legal Events

Date Code Title Description
A621 Written request for application examination

Free format text: JAPANESE INTERMEDIATE CODE: A621

Effective date: 20110510

A131 Notification of reasons for refusal

Free format text: JAPANESE INTERMEDIATE CODE: A131

Effective date: 20130416

A521 Request for written amendment filed

Free format text: JAPANESE INTERMEDIATE CODE: A523

Effective date: 20130607

TRDD Decision of grant or rejection written
A01 Written decision to grant a patent or to grant a registration (utility model)

Free format text: JAPANESE INTERMEDIATE CODE: A01

Effective date: 20130806

A61 First payment of annual fees (during grant procedure)

Free format text: JAPANESE INTERMEDIATE CODE: A61

Effective date: 20130819

R150 Certificate of patent or registration of utility model

Ref document number: 5359062

Country of ref document: JP

Free format text: JAPANESE INTERMEDIATE CODE: R150

Free format text: JAPANESE INTERMEDIATE CODE: R150

LAPS Cancellation because of no payment of annual fees