JP2010007705A - 摺動式トリポード型等速ジョイント - Google Patents

摺動式トリポード型等速ジョイント Download PDF

Info

Publication number
JP2010007705A
JP2010007705A JP2008164995A JP2008164995A JP2010007705A JP 2010007705 A JP2010007705 A JP 2010007705A JP 2008164995 A JP2008164995 A JP 2008164995A JP 2008164995 A JP2008164995 A JP 2008164995A JP 2010007705 A JP2010007705 A JP 2010007705A
Authority
JP
Japan
Prior art keywords
shaft
tripod
raceway groove
outer ring
constant velocity
Prior art date
Legal status (The legal status is an assumption and is not a legal conclusion. Google has not performed a legal analysis and makes no representation as to the accuracy of the status listed.)
Granted
Application number
JP2008164995A
Other languages
English (en)
Other versions
JP4952667B2 (ja
JP2010007705A5 (ja
Inventor
Yoshinari Sakai
良成 酒井
Current Assignee (The listed assignees may be inaccurate. Google has not performed a legal analysis and makes no representation or warranty as to the accuracy of the list.)
JTEKT Corp
Original Assignee
JTEKT Corp
Priority date (The priority date is an assumption and is not a legal conclusion. Google has not performed a legal analysis and makes no representation as to the accuracy of the date listed.)
Filing date
Publication date
Application filed by JTEKT Corp filed Critical JTEKT Corp
Priority to JP2008164995A priority Critical patent/JP4952667B2/ja
Publication of JP2010007705A publication Critical patent/JP2010007705A/ja
Publication of JP2010007705A5 publication Critical patent/JP2010007705A5/ja
Application granted granted Critical
Publication of JP4952667B2 publication Critical patent/JP4952667B2/ja
Expired - Fee Related legal-status Critical Current
Anticipated expiration legal-status Critical

Links

Images

Classifications

    • FMECHANICAL ENGINEERING; LIGHTING; HEATING; WEAPONS; BLASTING
    • F16ENGINEERING ELEMENTS AND UNITS; GENERAL MEASURES FOR PRODUCING AND MAINTAINING EFFECTIVE FUNCTIONING OF MACHINES OR INSTALLATIONS; THERMAL INSULATION IN GENERAL
    • F16DCOUPLINGS FOR TRANSMITTING ROTATION; CLUTCHES; BRAKES
    • F16D3/00Yielding couplings, i.e. with means permitting movement between the connected parts during the drive
    • F16D3/16Universal joints in which flexibility is produced by means of pivots or sliding or rolling connecting parts
    • F16D3/20Universal joints in which flexibility is produced by means of pivots or sliding or rolling connecting parts one coupling part entering a sleeve of the other coupling part and connected thereto by sliding or rolling members
    • F16D3/202Universal joints in which flexibility is produced by means of pivots or sliding or rolling connecting parts one coupling part entering a sleeve of the other coupling part and connected thereto by sliding or rolling members one coupling part having radially projecting pins, e.g. tripod joints
    • F16D3/205Universal joints in which flexibility is produced by means of pivots or sliding or rolling connecting parts one coupling part entering a sleeve of the other coupling part and connected thereto by sliding or rolling members one coupling part having radially projecting pins, e.g. tripod joints the pins extending radially outwardly from the coupling part
    • F16D3/2055Universal joints in which flexibility is produced by means of pivots or sliding or rolling connecting parts one coupling part entering a sleeve of the other coupling part and connected thereto by sliding or rolling members one coupling part having radially projecting pins, e.g. tripod joints the pins extending radially outwardly from the coupling part having three pins, i.e. true tripod joints
    • FMECHANICAL ENGINEERING; LIGHTING; HEATING; WEAPONS; BLASTING
    • F16ENGINEERING ELEMENTS AND UNITS; GENERAL MEASURES FOR PRODUCING AND MAINTAINING EFFECTIVE FUNCTIONING OF MACHINES OR INSTALLATIONS; THERMAL INSULATION IN GENERAL
    • F16DCOUPLINGS FOR TRANSMITTING ROTATION; CLUTCHES; BRAKES
    • F16D3/00Yielding couplings, i.e. with means permitting movement between the connected parts during the drive
    • F16D3/16Universal joints in which flexibility is produced by means of pivots or sliding or rolling connecting parts
    • F16D3/20Universal joints in which flexibility is produced by means of pivots or sliding or rolling connecting parts one coupling part entering a sleeve of the other coupling part and connected thereto by sliding or rolling members
    • F16D3/202Universal joints in which flexibility is produced by means of pivots or sliding or rolling connecting parts one coupling part entering a sleeve of the other coupling part and connected thereto by sliding or rolling members one coupling part having radially projecting pins, e.g. tripod joints
    • F16D2003/2023Universal joints in which flexibility is produced by means of pivots or sliding or rolling connecting parts one coupling part entering a sleeve of the other coupling part and connected thereto by sliding or rolling members one coupling part having radially projecting pins, e.g. tripod joints with linear rolling bearings between raceway and trunnion mounted shoes

Landscapes

  • Engineering & Computer Science (AREA)
  • General Engineering & Computer Science (AREA)
  • Mechanical Engineering (AREA)
  • Rolling Contact Bearings (AREA)

Abstract

【課題】搬送時などにシャフトとローラユニットが接触することを防ぐためにジョイント角を規制できる摺動式トリポード型等速ジョイントを提供する。
【解決手段】ジョイント角0degである基準姿勢において、3本のトリポード軸部22は、その先端部が軌道溝11の溝底面に接触しないように設定されている。さらに、基準姿勢の状態からジョイント角を付加するように外輪10の回転軸に対してシャフトの傾動を行った場合に、3本のトリポード軸部22の少なくともいずれかの先端部が軌道溝11の溝底面に接触して、ジョイント角が規制される。
【選択図】図9

Description

本発明は、摺動式トリポード型等速ジョイントに関するものである。
従来、摺動式トリポード型等速ジョイントとして、例えば、特許第2763624号公報(特許文献1)および特許第3361096号公報(特許文献2)に記載されたものがある。特許文献1、2に記載の摺動式トリポード型等速ジョイントを構成するローラユニットは、トリポード軸部の外周に中間部材と、この中間部材の外周面を循環可能にもうけられたニードルを備えている。そして、ニードルが中間部材と外輪の軌道溝の側面とに沿って転動するように構成されている。
特許第2763624号公報 特許第3361096号公報
ところで、摺動式トリポード型等速ジョイントを車両へ搭載するために搬送する時などには、ジョイント角が車両搭載時のジョイント角よりも大きな角度となる。そのため、搬送時に、シャフトとローラユニットとが接触して、ローラユニットが破損するおそれがある。そのため、等速ジョイントの搬送時において、シャフトとローラユニットとが接触しないように、ジョイント角を規制する必要がある。
本発明は、このような事情に鑑みてなされたものであり、ジョイント角を規制できる摺動式トリポード型等速ジョイントを提供することを目的とする。
以下、上記課題を解決するのに適した各手段につき、必要に応じて作用効果等を付記しつつ説明する。
(手段1)手段1に係る摺動式トリポード型等速ジョイントは、
筒状からなり、内周面に外輪回転軸方向に延びる3本の軌道溝が形成された外輪と、
シャフトに連結されるボス部、および、前記ボス部の外周面からそれぞれ前記ボス部の径方向外方に延びるように立設されそれぞれの前記軌道溝に挿入される3本のトリポード軸部を備えるトリポードと、
前記トリポード軸部に対して揺動可能に設けられ、且つ、前記軌道溝の側面に沿って転動可能なローラユニットと、
を備える摺動式トリポード型等速ジョイントであって、
前記外輪回転軸と前記シャフトの回転軸とが一致している姿勢を基準姿勢と定義し、
前記基準姿勢において、3本の前記トリポード軸部は、その先端部が前記軌道溝の溝底面に接触しないように設定され、
前記基準姿勢の状態からジョイント角を付加するように前記外輪回転軸に対して前記シャフトの傾動を行った場合に、3本の前記トリポード軸部の少なくともいずれかの先端部が前記軌道溝の溝底面に接触して、ジョイント角が規制されることを特徴とする。
手段1によれば、トリポード軸部の先端部が軌道溝の溝底面に接触することで、ジョイント角を規制している。これにより、搬送時にローラユニットが破損することを防止できる。
(手段2)手段1の手動式トリポード型等速ジョイントにおいて、
前記シャフトの前記傾動を行った場合に、3本の前記トリポード軸部の少なくともいずれかの先端部が前記軌道溝の溝底面に接触した状態において、前記シャフトと全ての前記ローラユニットとが接触していないとよい。
手段2によれば、ジョイント角が規制された状態において、シャフトがローラユニットに接触していないため、確実にローラユニットが破損することを防止できる。
(手段3)手段2の摺動式トリポード型等速ジョイントにおいて、
前記基準姿勢の状態においていずれかの前記トリポード軸部の中心軸方向から前記外輪の周方向に30degずれた位相へ、前記シャフトの前記傾動を行った場合に、3本の前記トリポード軸部の少なくともいずれかの先端部が前記軌道溝の溝底面に接触し、
当該トリポード軸部の先端部と前記軌道溝の溝底面が接触する状態において、前記シャフトと全ての前記ローラユニットとが接触していないとよい。
ここで、基準姿勢の状態においていずれかのトリポード軸部の中心軸方向から外輪の周方向に30degずれた位相について、以下に説明する。まず、当該位相とは、シャフトの傾動を行う方向を指している。つまり、基準姿勢の状態からシャフトを外輪に対して傾動する場合における、シャフトの外輪に対する傾動方向を指している。そして、基準姿勢の状態においてトリポード軸部の中心軸方向とは、基準姿勢のシャフト回転軸を中心とした場合に、3つのトリポード軸部の中心軸は、外輪の周方向に相互に120deg間隔に位置している。つまり、基準姿勢におけるトリポード軸部の中心軸方向の位相とは、外輪回転軸方向から見た場合に、トリポード軸部の中心軸が延びている位相である。そして、このトリポード軸部の中心軸方向から外輪の周方向に30degずれた位相とは、120deg間隔に位置しているトリポード軸部の中心軸が延びている位相から、外輪の周方向の両方向にそれぞれずらした位相である。つまり、当該30degずれた位相とは、6箇所存在することになる。
そして、トリポード軸部の中心軸方向から外輪の周方向に30degずれた位相へ、シャフトを傾動させる場合が、いずれかのトリポード軸部の先端部が外輪の径方向外方への移動量が最も大きくなる。つまり、当該位相において、本発明によるジョイント角の規制効果を確実に発揮できる。
(手段4)手段2または3の摺動式トリポード型等速ジョイントにおいて、
前記ローラユニットは、
前記軌道溝の側面と前記トリポード軸部の外周面との間に、前記軌道溝の側面に沿って転動可能に設けられる複数の転動体と、
前記転動体が前記トリポード軸部の外周を循環可能となるように前記転動体を支持する保持器と、
を備え、
前記シャフトと前記保持器とが接触することなく、ジョイント角を規制されるとしてもよい。
手段4によれば、ローラユニットを上記構成とすると、保持器がローラユニットにおける外周側に位置する。ここで、中間部材および転動体は、動力伝達を行う部材であるが、保持器は、動力伝達に対しては必ずしも必須の部材ではなく、転動体を支持さえすればよい。このような保持器は、それほど高い強度を必要とする部材ではない。特に、軽量化や低コスト化などの要請を満たすために、保持器の強度は必要最低限とすることで、高い強度を有しない構造や材料を用いることがある。このような場合に、シャフトが保持器に接触すると、保持器が破損するおそれがある。しかし、上述したように、トリポード軸部の先端部を軌道溝の溝底面に接触させてジョイント角を規制することで、確実に保持器の破損を防止できる。
(手段5)手段5に係る摺動式トリポード型等速ジョイントは、
筒状からなり、内周面に外輪回転軸方向に延びる3本の軌道溝が形成された外輪と、
シャフトに連結されるボス部、および、前記ボス部の外周面からそれぞれ前記ボス部の径方向外方に延びるように立設されそれぞれの前記軌道溝に挿入される3本のトリポード軸部を備えるトリポードと、
前記トリポード軸部の外周に前記トリポード軸部に対して揺動可能に設けられ、外側面に前記軌道溝の側面と対向する動力伝達面を有する中間部材と、
前記軌道溝の側面と前記動力伝達面との間に、前記軌道溝の側面に沿って転動可能に設けられる複数の転動体と、
前記転動体が前記中間部材の外周を循環可能となるように前記転動体を支持する保持器と、
を備える摺動式トリポード型等速ジョイントであって、
前記中間部材は、前記軌道溝に対して前記トリポード軸部が前記外輪の径方向へ往復移動する際に、前記軌道溝に対して前記トリポード軸部の前記往復動作に伴って移動し、
前記外輪回転軸と前記シャフトの回転軸とが一致している姿勢を基準姿勢と定義し、
前記基準姿勢において、それぞれ前記中間部材は、前記軌道溝の溝底面に接触しないように設定され、
前記基準姿勢の状態からジョイント角を付加するように前記外輪回転軸に対して前記シャフトの傾動を行った場合に、前記中間部材の少なくともいずれかが前記軌道溝の溝底面に接触して、ジョイント角が規制されることを特徴とする。
手段5によれば、中間部材が軌道溝の溝底面に接触することで、ジョイント角を規制している。これにより、搬送時に保持器が破損することを防止できる。
(手段6)手段5の摺動式トリポード型等速ジョイントにおいて、
前記シャフトの前記傾動を行った場合に、前記中間部材の少なくともいずれかが前記軌道溝の溝底面に接触した状態において、前記シャフトと全ての前記保持器とが接触していないとよい。
手段6によれば、ジョイント角が規制された状態において、シャフトが保持器に接触していないため、確実に保持器が破損することを防止できる。
(手段7)手段6の摺動式トリポード型等速ジョイントにおいて、
前記基準姿勢の状態においていずれかの前記トリポード軸部の中心軸方向から前記外輪の周方向に30degずれた位相へ、前記シャフトの前記傾動を行った場合に、前記中間部材の少なくともいずれかが前記軌道溝の溝底面に接触し、
当該中間部材と前記軌道溝の溝底面が接触する状態において、前記シャフトと全ての前記保持器とが接触していないとよい。
ここで、前記基準姿勢の状態においていずれかの前記トリポード軸部の中心軸方向から前記外輪の周方向に30degずれた位相とは、上述したとおりである。そして、トリポード軸部の中心軸方向から外輪の周方向に30degずれた位相へ、シャフトを傾動させる場合が、いずれかの中間部材が外輪の径方向外方への移動量が最も大きくなる。つまり、当該位相において、本発明によるジョイント角の規制効果を確実に発揮できる。
(手段8)手段1〜7のいずれかの摺動式トリポード型等速ジョイントにおいて、
規制される前記ジョイント角は、当該摺動式トリポード型等速ジョイントを車両に搭載した時のジョイント角よりも大きな角度に設定されるとよい。
手段8によれば、車両搭載時に、トリポード軸部の先端部または中間部材が軌道溝の溝底面に接触することを防止できる。従って、車両走行時に悪影響を及ぼすことを防止できる。
以下、本発明の摺動式トリポード型等速ジョイント(以下、単に「等速ジョイント」と称する。)を具体化した実施形態について図面を参照しつつ説明する。ここで、本実施形態の等速ジョイントは、車両の動力伝達シャフトの連結に用いる場合を例に挙げて説明する。例えば、ディファレンシャルギヤに連結された軸部とドライブシャフトの中間シャフトとの連結部位に用いる場合である。
<第一実施形態>
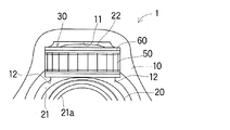
第一実施形態の等速ジョイント1について、図1〜図8を参照して説明する。図1は、第一実施形態の等速ジョイント1の一部の組付け状態における、外輪10の開口側から見た図である。図2は、等速ジョイント1の一部の径方向断面図である。図3は、ローラユニット30の斜視図である。図4(a)は、ローラユニット30の平面図であり、図4(b)ローラユニット30のA−A断面図(短径側の断面図)であり、図4(c)は、ローラユニット30のB−B部分断面図(長径側の部分断面を含む図)である。図5は、一対の中間部材40の一つの斜視図である。図6(a)は、中間部材40の正面図であり、図6(b)は、中間部材40の側面図であり、図6(c)は、中間部材40のC方向矢視図である。図7は、保持器60の斜視図である。図8(a)は、保持器60の平面図であり、図8(b)は、保持器60のD−D断面図(短径側の断面図)であり、図8(c)は、保持器60のE−E断面図(長径側の部分断面を含む図)である。
図1および図2に示すように、等速ジョイント1は、外輪10と、トリポード20と、ローラユニット30とから構成される。
外輪10は、筒状(例えば、有底筒状)に形成されており、一端側がディファレンシャルギヤ(図示せず)に連結されている。そして、外輪10の筒状部分の内周面には、外輪軸方向(図1の前後方向)に延びる軌道溝11が、外輪軸の周方向に等間隔に3本形成されている。各軌道溝11における溝延伸方向に直交する断面形状が、コの字形をなしている。つまり、各軌道溝11は、ほぼ平面状に形成された溝底面と、溝底面に直交する平面状に形成され且つそれぞれ平行に対向する側面とを備える。
さらに、この軌道溝11の両開口縁には、軌道溝11の開口幅を狭める係止突起12が形成されている。この係止突起12は、後述するローラユニット30を構成する保持器60の位置を規制するためのものである。つまり、係止突起12により、保持器60が軌道溝11の内部に常に位置するようになる。
トリポード20は、外輪10の筒状部分の内側に配置されている。このトリポード20は、ボス部21と、3本のトリポード軸部22とを備える。ボス部21は、筒状からなり、内周側には内周スプライン21aが形成されている。この内周スプライン21aは、中間シャフト(図示せず)の端部の外周スプラインに嵌合連結される。また、ボス部21の外周面は、ほぼ球面凸状に形成されている。
それぞれのトリポード軸部22は、ボス部21の外周面からそれぞれボス部21の径方向外方に延びるように立設されている。これらのトリポード軸部22は、ボス部21の周方向に等間隔(120deg間隔)に形成されている。そして、それぞれのトリポード軸部22の少なくとも先端部は、外輪10のそれぞれの軌道溝11内に挿入されている。それぞれのトリポード軸部22の外周面は、球面凸状に形成されている。ここで、当該球面凸状の曲率中心を通りトリポード20の回転軸(中間シャフトの回転軸)に直交する直線が、トリポード軸部22の中心軸(以下、「トリポード軸」とも称する)である。
また、それぞれのトリポード軸部22の先端部は、球面凸状に形成されている。この球面凸状により設定される、軌道溝11の溝底面とトリポード軸部22の先端部の距離は次のように設定される。等速ジョイント1が基準姿勢の状態の場合には、いずれの先端部も軌道溝11の溝底面に接触しないように設定される。一方で、基準姿勢から所定のジョイント角を付加した場合には、少なくともいずれかの先端部が軌道溝11の溝底面に接触するように設定される。このことの詳細は、後述する。なお、基準姿勢とは、外輪10の回転軸と中間シャフトの回転軸とが一致している等速ジョイント1の姿勢を意味する。
ローラユニット30は、図3および図4に示すように、全体形状としては環状からなり、トリポード軸部22の外周側に配置されている。さらに、ローラユニット30は、軌道溝11が延びる方向に移動可能となるように、軌道溝11に嵌合されている。このローラユニット30は、中間部材40と、複数の転動体50と、保持器60とから構成される。
中間部材40の全体形状としての外形は、ほぼ矩形に形成されている。さらに、中間部材40を全体としてみた場合に、中間部材40の中央には、円形孔に相当する部分が形成されている。この中間部材40は、一対の部材40a、40bからなる。一対の中間部材40a、40bは、トリポード軸および中間シャフトの回転軸を通る平面に対して対称な形状からなるように別体で構成され、それぞれ独立している。そして、一対の中間部材40a、40bは、図2に示すように、軌道溝11の側面の両側からトリポード軸部22を挟むように配置されている。つまり、両中間部材40a、40bは、動力伝達方向(外輪回転軸回りまたは中間シャフト回転軸回りの方向)の両側からトリポード軸部22を挟むように配置されている。そして、一対の中間部材40a、40bは、トリポード軸部22に対して、外輪10の回転軸方向に揺動可能であり、且つ、外輪10の周方向に揺動可能に設けられている。
各中間部材40a、40bの詳細な形状について図5および図6(a)〜(c)を参照して説明する。各中間部材40a、40bの表面は、トリポード接触面41と、動力伝達面42と、軸方向端面44、45を有している。ここで、一対の中間部材40a、40bを一体として見た場合に、トリポード接触面41が内面を形成し、動力伝達面42および軸方向端面44、45が外面を形成する。
トリポード接触面41は、トリポード軸部22に対して、外輪10の軸方向および外輪10の周方向と揺動可能に接触するように部分球面凹状に形成されている。トリポード接触面41における球面中心は、トリポード接触面41の図6(a)の左右方向幅(中間部材40の厚み)の中央とトリポード接触面41の図6(b)の上下方向幅(中間部材40における外輪10の軸方向の幅)の中央とを通る直線状に位置している。
動力伝達面42は、トリポード接触面41の裏面側、すなわち図6(b)の右側に設けられている。動力伝達面42は、平面状で矩形状に形成されている。そして、動力伝達面42が軌道溝11の側面に平行となるように、各中間部材40a、40bは配置される。つまり、外輪10の回転軸と中間シャフトの回転軸が一致している姿勢(ジョイント角0deg)において、動力伝達面42は、トリポード軸部22の中心軸と中間シャフトの回転軸を通る平面に平行となる。さらに、この動力伝達面42は、図6(b)の上下方向のうち中央部分に位置し、図6(b)の上下方向幅の3分の2程度の幅を有している。つまり、トリポード接触面41のうち最も深い部位の裏面側には、動力伝達面42が位置している。そして、動力伝達面42は、複数(本実施形態では、3〜4個)の転動体50に接触し得る範囲を有している。
軸方向端面44、45は、図6(b)の上下両端に位置する部位である。この両軸方向端面44、45は、動力伝達面42に直交する平面からなる。つまり、軸方向端面44、45は、軌道溝11の側面に直交する平面からなる。
転動体50は、図2および図4に示すように、ニードルである。この転動体50は、円柱状部51と、柱延伸直交方向(図2の左右方向)に切断した断面が円形からなり、柱延伸方向の両端に設けられる小径軸部52とを備える。この小径軸部52は、図4(b)に示すように、端部に近接するに従い小径となる形状や段付形状(図示せず)としてもよい。そして、複数の転動体50が、一対の中間部材40a、40bを一体として見た場合の外周を循環するように設けられている。複数の転動体50のうち一部(本実施形態においては、3〜4個)は、軌道溝11の側面と一対の中間部材40a、40bの動力伝達面42との間に、軌道溝11の側面および動力伝達面42に沿って転動可能に設けられている。つまり、転動体50を介して動力伝達面42と軌道溝11の側面との間で動力が伝達される。
保持器60は、図7および図8(a)に示すように、全体形状としては環状からなる。保持器60は、転動体50の循環路を形成する一対の循環路形成部材61、62と、一対の連結部63、64とから構成される。一対の循環路形成部材61、62は、保持器60の周縁に位置し、長円形をなしている。この一対の循環路形成部材61、62は、一対の中間部材40a、40bを囲む形状をなしている。
具体的には、循環路形成部材61は、対向する直線部61a、61bと、直線部61a、61bを連結する半円弧状の湾曲部61c、61dとから構成される。また、もう一つの循環路形成部材62は、上記循環路形成部材61と同様に、直線部と湾曲部とから構成される。
さらに、一対の循環路形成部材61、62は、それぞれ、転動体50の小径軸部52が挿入可能で、且つ、円柱状部51に係合するようなコの字形断面形状に形成されている。つまり、一対の循環路形成部材61、62の幅(内周縁と外周縁との距離)は、転動体50の円柱状部51の最大径よりも小さく形成されている。そして、それぞれの循環路形成部材61、62のコの字形の開口側が、転動体50の円柱状部51の軸方向長さより長い距離だけ離間した状態で、対向するように設けられている。一対の循環路形成部材61、62の対向方向の最大幅は、軌道溝11の側面の幅より僅かに小さく設定されている。つまり、保持器60が、軌道溝11の溝底面および係止突起12により軌道溝11に対して傾きを規制されるように、且つ、軌道溝11に挿入可能となるようにされている。
一対の連結部63、64は、一対の循環路形成部材61、62の湾曲部61cおよび湾曲部61dのうち周方向中央部分(図8(a)の上下端部分)をそれぞれ連結する。つまり、一対の循環路形成部材61、62の間は、図8(c)に示すように、連結部63、64以外の部位において開口している。
この連結部63、64は、保持器60の外側に開口するコの字形形状に形成されている。連結部63、64のコの字形形状の底面反開口側(保持器60の内側)は、平面状に形成されている。そして、一対の連結部63、64のコの字形形状の底面反開口側同士が、平行に且つ対向するように設けられている。さらに、この一対の連結部63、64のコの字形形状の底面反開口側の離間距離は、各中間部材40a、40bの軸方向端面44、45間の距離とほぼ一致している。また、連結部63、64のコの字形形状の底面開口側(保持器60の外側)は、コの字形形状の底面反開口側に平行な平面状に形成されている。
また、連結部63、64のコの字形の開口側の端部の一方が、循環路形成部材61の湾曲部61cと湾曲部61dのそれぞれの周方向中央部分に連結され、端部の他方が、循環路形成部材62の湾曲部62cと湾曲部62dのそれぞれの周方向中央部分に連結される。
そして、一対の循環路形成部材61、62のコの字形内部に、転動体50の小径軸部52が挿入される。このようにして、転動体50が一対の循環路形成部材61、62に支持されている。つまり、一対の循環路形成部材61、62は、複数の転動体50が一対の中間部材40a、40bの外周を循環可能となるように、転動体50を支持している。ここで、一対の循環路形成部材61、62のコの字形形状は、転動体50の小径軸部52の外周面に対して、僅かに隙間を有する形状をなしている。さらに、転動体50の小径軸部52が循環路形成部材61、62に挿入された状態において、転動体50は、循環路形成部材61、62の内周縁から内側に突出し、且つ、循環路形成部材61、62の外周縁から外側に突出している。
ここで、一対の中間部材40a、40bがトリポード軸部22の外周側に配置し、一対の中間部材40a、40bが保持器60の内側に配置された状態において、それぞれの循環路形成部材61、62の直線部61a、61b(図8(a)の左右直線部)は、中間部材40a、40bの動力伝達面42と軌道溝11の側面との間に、両者にほぼ平行な状態(倣う状態)となるように配置される。つまり、この直線部61a、61bにより形成される循環路は、転動体50が動力伝達面42を移動するときの循環路となる。さらに、直線部61a、61bと、動力伝達面42および軌道溝11の側面との間のうち少なくとも一方には隙間が形成されている。
さらに、一対の循環路形成部材61、62の湾曲部61c、62cおよび湾曲部61d、62dの両端部分は、中間部材40a、40bの動力伝達面42の両端部に形成された導入面に倣うように配置される。つまり、この湾曲部61c、62cおよび湾曲部61d、62dの両端部分により形成される循環路は、転動体50が上記導入面を移動するときの循環路である。この循環路は、直線部61a、62aおよび直線部61b、62dにより形成される循環路に対して滑らかに連続するように接続されている。さらに、当該循環路を形成する湾曲部61c、62cおよび湾曲部61d、62dの両端部分と、上記導入面との間に隙間が形成されている。なお、当該循環路を形成する湾曲部61c、62cおよび湾曲部61d、62dの両端部分と軌道溝11の側面との間には、当然に隙間が形成されている。
そして、各中間部材40a、40bの軸方向端面44、45の形状および離間距離と連結部63、64のコの字形形状の底面反開口側の形状および離間距離との関係により、連結部63、64は中間部材40a、40bの外輪10の軸方向(図8(a)の上下方向)への相対動作を規制するように、連結部63、64の間に中間部材40a、40bが設けられる。ただし、中間部材40a、40bは保持器60に対して外輪10の径方向(図8(b)の上下方向)へ規制していないので、中間部材40a、40bは保持器60に対して外輪10の径方向(図8(b)の上下方向)に移動可能である。つまり、保持器60は、一対の中間部材40および軌道溝11の側面に対して、動力伝達方向において接触しない。
上述した等速ジョイント1の動作について図9〜図11を参照して説明する。図9は、等速ジョイント1にジョイント角を付加した状態における、外輪10の開口側から見た図である。図10は、図9のF−F断面図である。図11は、図9のG−G断面図である。
一端側がディファレンシャルギヤに連結された外輪10が動力を受けて回転すると、軌道溝11に嵌合しているそれぞれのローラユニット30を介して、それぞれのトリポード軸部22が動力を伝達し、トリポード20を連結している中間シャフトが等速回転する。この時、ジョイント角が0degでない場合には、トリポード20は外輪10の回転軸直交断面に対してジョイント角分だけ傾いた状態で中間シャフトを中心に回転する。従って、軌道溝11の側面から見た場合に、トリポード軸部22は、外輪10およびトリポード20の回転に伴い、軌道溝11の延伸方向に往復運動し、且つ、軌道溝11に対して揺動する。
また、前述したようにトリポード20は、外輪10の回転軸直交断面に対してジョイント角分だけ傾いているので、外輪10の回転軸方向から見た場合のトリポード軸部22同士がなす角度は、中間シャフトの位相によって変化する。そのため、3本のトリポード軸部22が軌道溝11にそれぞれ収まるためにトリポード20を連結するシャフトの回転軸は、外輪10の回転軸に対して相対的に偏心回転する。従って、トリポード軸部22の端部は、外輪10およびトリポード20の回転に伴い、外輪10の径方向に往復運動する。
ここで、ローラユニット30を構成する一対の中間部材40a、40bのトリポード接触面41がトリポード軸部22に対して揺動可能に嵌合されている。また、ローラユニット30を構成する保持器60により、一対の中間部材40a、40bは、外輪10の軸方向に規制されている。さらに、保持器60は、軌道溝11に嵌合されている。従って、保持器60は、軌道溝11に対して軌道溝11の延伸方向には移動可能であるが、軌道溝11に対する傾きはほぼ一定となる。そして、一対の中間部材40a、40bの外周を転動体50が循環している。
従って、転動体50は、中間部材40a、40bのうち動力伝達側の部材の動力伝達面42と軌道溝11の側面との間にて、軌道溝11および動力伝達面42に対して軌道溝11の延伸方向への滑りを生じることなく転動する。
ところで、摺動式トリポード型等速ジョイントを車両へ搭載するために搬送する時などには、外輪10ないし中間シャフトが車両と連結されていない。これらに起因し、ジョイント角が車両搭載時のジョイント角よりも大きな角度となるように外力が加えられることがある。そのため、搬送時や車両への組付け時に、中間シャフトとローラユニット30とが接触して、ローラユニット30が破損するおそれがある。そのため、等速ジョイントの搬送時などにおいて、中間シャフトとローラユニット30とが接触しないように、ジョイント角を規制する必要がある。
ここで、基準姿勢においては、3本のトリポード軸部22の先端部は、軌道溝11の溝底面に接触しないように設定されている。そして、ジョイント角0degである基準姿勢の状態から、ジョイント角を付加するように、外輪10の回転軸に対して中間シャフトの傾動を行う。具体的には、図9の左下のトリポード軸部22の中心軸に対して30deg右回りにずれた位相、すなわち、図9の左側へ、外輪10に対して中間シャフトを傾動させてジョイント角を付加する。そうすると、上述したように中間シャフトは外輪10に対して偏心回転するために、トリポード20は図9の上方向に移動する。このとき、図9および図10に示すように、当該図の上方に位置するトリポード軸部22は、図9、図10の上方、すなわち、軌道溝11の溝底面に近づく方向へ移動する。そして、本実施形態においては、このトリポード軸部22は、その先端部が軌道溝11の溝底面に接触する状態となるまで、図9、図10の上方へ移動する。従って、トリポード軸部22の先端部と軌道溝11の溝底面との接触により、それ以上ジョイント角が付加されないように規制することができる。
このように、トリポード軸部22の先端部が軌道溝11の溝底面に接触するように設定されているので、それ以上ジョイント角が付加されないように規制されている。つまり、トリポード軸部22の先端部と軌道溝11の溝底面とが接触した状態からさらに中間シャフトにジョイント角を付加するような外力が加わっても、中間シャフトは傾動しない。
そして、ジョイント角がトリポード軸部22の先端部と軌道溝11の溝底面との接触により規制されている状態において、図11に示すように、中間シャフトは保持器60に接触していない。従って、中間シャフトと保持器60の接触による保持器60の破損を防ぐことができる。
そして、基準姿勢において、トリポード軸部22の先端部と、この先端部が挿入された軌道溝11の溝底面との距離により、規制する所定のジョイント角を設定することができる。これは、トリポード軸部22の先端部の形状、ローラユニット30や中間シャフトの大きさ、上述したように中間シャフトの偏心回転の半径などにより適宜設定することができる。このようにして、車両搭載時に必要となるジョイント角を確保しながらローラユニット30の破損を防ぐことができる。
また、一対の中間部材は、それぞれ独立しているので、動力伝達側で発生するトリポード軸部22による荷重位置が変化したとしても、動力伝達側の中間部材40a(40b)の動作が、その背面側の中間部材40b(40a)の動作へ影響を及ぼすことがない。従って、ローラユニット30の背面側が軌道溝に大きな力を付与することを防止できるので、誘起スラスト力の発生を大幅に低減することができる。さらに、転動体50は円柱状のニードルとしているため、当該ニードルが外輪10の軌道溝11の側面に対し円柱軸方向に亘り当接して動力伝達するので、ローラユニット30は全体として回転ガタが小さく、安定した動力伝達ができる。
<第二実施形態>
第二実施形態の等速ジョイントについて、図12〜図14を参照して説明する。図12は、第二実施形態の等速ジョイント101にジョイント角を付加した状態における、外輪10の開口側から見た図である。図13は、図12のH−H断面図である。図14は、図12のJ−J断面図である。
ここで、第二実施形態の等速ジョイント101は、主に、第一実施形態の等速ジョイント1のトリポード軸部22と中間部材40の形状を変更した点が相違する。以下相違点のみについて説明する。
第一実施形態の等速ジョイント1では、中間シャフトを傾動させた場合に中間シャフトとローラユニット30が接触しないように、所定のジョイント角でトリポード軸部22の先端部を軌道溝11の溝底面に接触させ、ジョイント角を規制した。一方、第二実施形態の等速ジョイント101は、所定のジョイント角で中間部材140と軌道溝11の溝底面を接触させることで、ジョイント角を規制することができる。
具体的には、第二実施形態のトリポード120は、ボス部21と3本のトリポード軸部122とを備える。ボス部21は、第一実施形態のものと同一である。トリポード軸部122は、第一実施形態のトリポード軸部22に比べて、トリポード軸方向の長さが短く設定されている。つまり、ジョイント角0degである基準姿勢の場合からジョイント角を付加した場合に、トリポード軸部122の先端部が軌道溝11の溝底面に接触しない形状をなしている。
第二実施形態の中間部材240は、第一実施形態の中間部材40を、外輪10の径方向外方へ延長した形状からなる。つまり、基準姿勢において、第一実施形態では、トリポード軸部22が、ローラユニット30より外輪10の径方向外方に突出するように、且つ、中間部材40が、ローラユニット30より外輪10の径方向外方に突出しないように、形成されていた。一方、基準姿勢において、第二実施形態では、トリポード軸部122が、ローラユニット30より外輪10の径方向外方に突出しないように、且つ、中間部材140が、ローラユニット30より外輪10の径方向外方に突出するように、形成されていた。
ここで、中間部材140を構成する一対の部材140a、140bのトリポード接触面は、第一実施形態におけるトリポード接触面41と実質的に同様に、球面凹状に形成されている。つまり、トリポード軸部122と中間部材140とは、球面嵌合している。
従って、中間部材140は、軌道溝11に対してトリポード軸部122が外輪10の径方向へ往復移動する際に、軌道溝11に対してトリポード軸部122の往復動作に伴って移動する。つまり、トリポード軸部122が外輪10の径方向外方へ移動する場合には、同様に、中間部材140も外輪10の径方向外方へ移動する。
そして、ジョイント角0degである基準姿勢の状態からジョイント角を付加するように、外輪10の回転軸に対して中間シャフトの傾動を行う。具体的には、図12の左下のトリポード軸部122の中心軸に対して30deg右回りにずれた位相、すなわち、図12の左側へ、外輪10に対して中間シャフトを傾動させてジョイント角を付加する。そうすると、上述したように中間シャフトは外輪10に対して偏心回転するために、トリポード120は図9の上方向に移動する。このとき、図12および図13に示すように、当該図の上方に位置するトリポード軸部122は、図12、図13の上方、すなわち、軌道溝11の溝底面に近づく方向へ移動する。この動作に伴い、図12、13の上方に位置する中間部材140は、図12、図13の上方、すなわち、軌道溝11の溝底面に近づく方向へ移動する。
そして、本実施形態においては、この中間部材140が軌道溝11の溝底面に接触する状態となるまで、トリポード軸部122の動作に伴って、図9、図10の上方へ移動する。従って、中間部材140と軌道溝11の溝底面との接触により、それ以上ジョイント角が付加されないように規制することができる。
このように、中間部材140が軌道溝11の溝底面に接触するように設定されているので、それ以上ジョイント角が付加されないように規制されている。つまり、中間部材140と軌道溝11の溝底面とが接触した状態からさらに中間シャフトにジョイント角を付加するような外力が加わっても、中間シャフトは傾動しない。
そして、ジョイント角が中間部材140と軌道溝11の溝底面との接触により規制されている状態において、図14に示すように、中間シャフトは保持器60に接触していない。従って、中間シャフトと保持器60の接触による保持器60の破損を防ぐことができる。
このようにして、車両搭載時に必要となるジョイント角を確保しながらローラユニット130の破損を防ぐことができる。また、中間部材140がトリポード軸部122よりも軽量な材質であれば、最大ジョイント角を規制しながら全体として軽量化を図ることができる。
<その他>
その他の態様として、第一実施形態および第二実施形態において、中間部材40(140)は、一対の部材からなるものとしたが、一体に成形されたものでもよい。この場合は、生産性や組付けのし易さの点で優れる。ただし、中間部材40(140)を一対の独立した部材により構成した場合には、誘起スラスト力の発生の低減に寄与する。
また、転動体50は、ニードルとしたが、球体やバレル状コロとしてもよい。ただし第二実施形態において、転動体50を球体またはバレル状コロとする場合は、中間部材140と転動体の間で摺動可能な構成が適さないため、中間部材を別体とする一対の中間部材を採用することが好ましい。そのような構成にすると、中間シャフトが傾動しトリポード軸部122が軌道溝11の溝底面に近接する動作をした時に、これに連動して一対の中間部材140が互いに離間する。よって、中間部材140a、140bの動力伝達面42が転動体を軌道溝11の側面の凹状溝に押し当てることにより、ジョイント角を規制することができる。
第一実施形態:等速ジョイント1の一部の組付け状態における、外輪10の開口側から見た図である。 等速ジョイント1の一部の径方向断面図である。 ローラユニット30の斜視図である。 (a)ローラユニット30の平面図であり、(b)ローラユニット30のA−A断面図(短径側の断面図)であり、(c)ローラユニット30のB−B部分断面図(長径側の部分断面を含む図)である。 一対の中間部材40の一つの斜視図である。 (a)中間部材40の正面図であり、(b)中間部材40の側面図であり、(c)中間部材40のC方向矢視図である。 保持器60の斜視図である。 (a)保持器60の平面図であり、(b)保持器60のD−D断面図(短径側の断面図)であり、(c)保持器60のE−E断面図(長径側の部分断面を含む図)である。 等速ジョイント1にジョイント角を付加した状態における、外輪10の開口側から見た図である。 図9のF−F断面図である。 図9のG−G断面図である。 第二実施形態:等速ジョイント101にジョイント角を付加した状態における、外輪10の開口側から見た図である。 図12のH−H断面図である。 図12のJ−J断面図である。
符号の説明
1、101:等速ジョイント
10:外輪、 11:軌道溝
20、120:トリポード、 21:ボス部、 21a:内周スプライン
22、122:トリポード軸部
30、130:ローラユニット
40、140:中間部材、 40a、40b、140a、140b:各中間部材
41:トリポード接触面、 42:動力伝達面、 44、45:軸方向端面
50、150:転動体、 51:円柱状部、 52:小径軸部
60:保持器、 61、62:循環路形成部材
61a、61b、62a、62b:直線部
61c、61d、62c、62d:湾曲部、 63、64:連結部

Claims (8)

  1. 筒状からなり、内周面に外輪回転軸方向に延びる3本の軌道溝が形成された外輪と、
    シャフトに連結されるボス部、および、前記ボス部の外周面からそれぞれ前記ボス部の径方向外方に延びるように立設されそれぞれの前記軌道溝に挿入される3本のトリポード軸部を備えるトリポードと、
    前記トリポード軸部に対して揺動可能に設けられ、且つ、前記軌道溝の側面に沿って転動可能なローラユニットと、
    を備える摺動式トリポード型等速ジョイントであって、
    前記外輪回転軸と前記シャフトの回転軸とが一致している姿勢を基準姿勢と定義し、
    前記基準姿勢において、3本の前記トリポード軸部は、その先端部が前記軌道溝の溝底面に接触しないように設定され、
    前記基準姿勢の状態からジョイント角を付加するように前記外輪回転軸に対して前記シャフトの傾動を行った場合に、3本の前記トリポード軸部の少なくともいずれかの先端部が前記軌道溝の溝底面に接触して、ジョイント角が規制されることを特徴とする摺動式トリポード型等速ジョイント。
  2. 前記シャフトの前記傾動を行った場合に、3本の前記トリポード軸部の少なくともいずれかの先端部が前記軌道溝の溝底面に接触した状態において、前記シャフトと全ての前記ローラユニットとが接触していないことを特徴とする請求項1に記載の摺動式トリポード型等速ジョイント。
  3. 前記基準姿勢の状態においていずれかの前記トリポード軸部の中心軸方向から前記外輪の周方向に30degずれた位相へ、前記シャフトの前記傾動を行った場合に、3本の前記トリポード軸部の少なくともいずれかの先端部が前記軌道溝の溝底面に接触し、
    当該トリポード軸部の先端部と前記軌道溝の溝底面が接触する状態において、前記シャフトと全ての前記ローラユニットとが接触していないことを特徴とする請求項2に記載の摺動式トリポード型等速ジョイント。
  4. 前記ローラユニットは、
    前記軌道溝の側面と前記トリポード軸部の外周面との間に、前記軌道溝の側面に沿って転動可能に設けられる複数の転動体と、
    前記転動体が前記トリポード軸部の外周を循環可能となるように前記転動体を支持する保持器と、
    を備え、
    前記シャフトと前記保持器とが接触することなく、ジョイント角を規制されることを特徴とする請求項2または3に記載の摺動式トリポード型等速ジョイント。
  5. 筒状からなり、内周面に外輪回転軸方向に延びる3本の軌道溝が形成された外輪と、
    シャフトに連結されるボス部、および、前記ボス部の外周面からそれぞれ前記ボス部の径方向外方に延びるように立設されそれぞれの前記軌道溝に挿入される3本のトリポード軸部を備えるトリポードと、
    前記トリポード軸部の外周に前記トリポード軸部に対して揺動可能に設けられ、外側面に前記軌道溝の側面と対向する動力伝達面を有する中間部材と、
    前記軌道溝の側面と前記動力伝達面との間に、前記軌道溝の側面に沿って転動可能に設けられる複数の転動体と、
    前記転動体が前記中間部材の外周を循環可能となるように前記転動体を支持する保持器と、
    を備える摺動式トリポード型等速ジョイントであって、
    前記中間部材は、前記軌道溝に対して前記トリポード軸部が前記外輪の径方向へ往復移動する際に、前記軌道溝に対して前記トリポード軸部の前記往復動作に伴って移動し、
    前記外輪回転軸と前記シャフトの回転軸とが一致している姿勢を基準姿勢と定義し、
    前記基準姿勢において、それぞれ前記中間部材は、前記軌道溝の溝底面に接触しないように設定され、
    前記基準姿勢の状態からジョイント角を付加するように前記外輪回転軸に対して前記シャフトの傾動を行った場合に、前記中間部材の少なくともいずれかが前記軌道溝の溝底面に接触して、ジョイント角が規制されることを特徴とする摺動式トリポード型等速ジョイント。
  6. 前記シャフトの前記傾動を行った場合に、前記中間部材の少なくともいずれかが前記軌道溝の溝底面に接触した状態において、前記シャフトと全ての前記保持器とが接触していないことを特徴とする請求項5に記載の摺動式トリポード型等速ジョイント。
  7. 前記基準姿勢の状態においていずれかの前記トリポード軸部の中心軸方向から前記外輪の周方向に30degずれた位相へ、前記シャフトの前記傾動を行った場合に、前記中間部材の少なくともいずれかが前記軌道溝の溝底面に接触し、
    当該中間部材と前記軌道溝の溝底面が接触する状態において、前記シャフトと全ての前記保持器とが接触していないことを特徴とする請求項6に記載の摺動式トリポード型等速ジョイント。
  8. 規制される前記ジョイント角は、当該摺動式トリポード型等速ジョイントを車両に搭載した時のジョイント角よりも大きな角度に設定されることを特徴とする請求項1〜7のいずれか一項に記載の摺動式トリポード型等速ジョイント。
JP2008164995A 2008-06-24 2008-06-24 摺動式トリポード型等速ジョイント Expired - Fee Related JP4952667B2 (ja)

Priority Applications (1)

Application Number Priority Date Filing Date Title
JP2008164995A JP4952667B2 (ja) 2008-06-24 2008-06-24 摺動式トリポード型等速ジョイント

Applications Claiming Priority (1)

Application Number Priority Date Filing Date Title
JP2008164995A JP4952667B2 (ja) 2008-06-24 2008-06-24 摺動式トリポード型等速ジョイント

Publications (3)

Publication Number Publication Date
JP2010007705A true JP2010007705A (ja) 2010-01-14
JP2010007705A5 JP2010007705A5 (ja) 2012-01-05
JP4952667B2 JP4952667B2 (ja) 2012-06-13

Family

ID=41588454

Family Applications (1)

Application Number Title Priority Date Filing Date
JP2008164995A Expired - Fee Related JP4952667B2 (ja) 2008-06-24 2008-06-24 摺動式トリポード型等速ジョイント

Country Status (1)

Country Link
JP (1) JP4952667B2 (ja)

Cited By (2)

* Cited by examiner, † Cited by third party
Publication number Priority date Publication date Assignee Title
JP2011163443A (ja) * 2010-02-09 2011-08-25 Jtekt Corp 摺動式トリポード型等速ジョイント
JP2016156491A (ja) * 2015-02-23 2016-09-01 株式会社ジェイテクト スライド式等速ジョイント

Citations (6)

* Cited by examiner, † Cited by third party
Publication number Priority date Publication date Assignee Title
JPS5940016A (ja) * 1982-08-31 1984-03-05 Ntn Toyo Bearing Co Ltd 等速自在継手
JPH03144118A (ja) * 1989-10-31 1991-06-19 Ntn Corp 等速ジョイント
JP2003074581A (ja) * 2001-09-03 2003-03-12 Honda Motor Co Ltd 等速ジョイント
JP2005248998A (ja) * 2004-03-02 2005-09-15 Honda Motor Co Ltd 等速ジョイント
JP2007162740A (ja) * 2005-12-09 2007-06-28 Ntn Corp 摺動式等速自在継手
JP2007263235A (ja) * 2006-03-28 2007-10-11 Ntn Corp 等速自在継手

Patent Citations (6)

* Cited by examiner, † Cited by third party
Publication number Priority date Publication date Assignee Title
JPS5940016A (ja) * 1982-08-31 1984-03-05 Ntn Toyo Bearing Co Ltd 等速自在継手
JPH03144118A (ja) * 1989-10-31 1991-06-19 Ntn Corp 等速ジョイント
JP2003074581A (ja) * 2001-09-03 2003-03-12 Honda Motor Co Ltd 等速ジョイント
JP2005248998A (ja) * 2004-03-02 2005-09-15 Honda Motor Co Ltd 等速ジョイント
JP2007162740A (ja) * 2005-12-09 2007-06-28 Ntn Corp 摺動式等速自在継手
JP2007263235A (ja) * 2006-03-28 2007-10-11 Ntn Corp 等速自在継手

Cited By (2)

* Cited by examiner, † Cited by third party
Publication number Priority date Publication date Assignee Title
JP2011163443A (ja) * 2010-02-09 2011-08-25 Jtekt Corp 摺動式トリポード型等速ジョイント
JP2016156491A (ja) * 2015-02-23 2016-09-01 株式会社ジェイテクト スライド式等速ジョイント

Also Published As

Publication number Publication date
JP4952667B2 (ja) 2012-06-13

Similar Documents

Publication Publication Date Title
JP5741633B2 (ja) 摺動式トリポード型等速ジョイント
JP5240506B2 (ja) 摺動式トリポード型等速ジョイント
JP4952667B2 (ja) 摺動式トリポード型等速ジョイント
JP2006112495A (ja) 等速ジョイント
JP5176717B2 (ja) 摺動式トリポード型等速ジョイント
JP5083067B2 (ja) 摺動式トリポード型等速ジョイント
US20140200110A1 (en) Continuously variable transmission
JP5604889B2 (ja) 摺動式トリポード型等速ジョイント
JP5287519B2 (ja) 摺動式トリポード型等速ジョイント
JP5240507B2 (ja) 摺動式トリポード型等速ジョイント
JP2017008989A (ja) スライド式等速ジョイント
JP5760560B2 (ja) 摺動式トリポード型等速ジョイント
JP2010025191A (ja) 自動調心ころ軸受
JP5293512B2 (ja) 摺動式トリポード型等速ジョイント
KR102700742B1 (ko) 트라이포드 등속조인트
JP5726694B2 (ja) 等速ジョイント
JP2012197803A (ja) 摺動式トリポード型等速ジョイント
US20160032984A1 (en) Tripod constant velocity joint
JP6565217B2 (ja) スライド式等速ジョイント
JP2008215557A (ja) 等速自在継手
JP6497167B2 (ja) スライド式等速ジョイント
JP2016161053A (ja) スライド式等速ジョイント
JP2000055068A (ja) 等速ジョイント
JP6287877B2 (ja) 等速ジョイント
JP2023149490A (ja) 摩擦伝動装置

Legal Events

Date Code Title Description
A621 Written request for application examination

Free format text: JAPANESE INTERMEDIATE CODE: A621

Effective date: 20110221

A521 Written amendment

Free format text: JAPANESE INTERMEDIATE CODE: A523

Effective date: 20111025

A521 Written amendment

Free format text: JAPANESE INTERMEDIATE CODE: A523

Effective date: 20111115

TRDD Decision of grant or rejection written
A01 Written decision to grant a patent or to grant a registration (utility model)

Free format text: JAPANESE INTERMEDIATE CODE: A01

Effective date: 20120214

A01 Written decision to grant a patent or to grant a registration (utility model)

Free format text: JAPANESE INTERMEDIATE CODE: A01

A977 Report on retrieval

Free format text: JAPANESE INTERMEDIATE CODE: A971007

Effective date: 20120216

A61 First payment of annual fees (during grant procedure)

Free format text: JAPANESE INTERMEDIATE CODE: A61

Effective date: 20120227

R150 Certificate of patent or registration of utility model

Ref document number: 4952667

Country of ref document: JP

Free format text: JAPANESE INTERMEDIATE CODE: R150

Free format text: JAPANESE INTERMEDIATE CODE: R150

FPAY Renewal fee payment (event date is renewal date of database)

Free format text: PAYMENT UNTIL: 20150323

Year of fee payment: 3

LAPS Cancellation because of no payment of annual fees