JP2010006473A - 書類ホルダ付き包装箱 - Google Patents

書類ホルダ付き包装箱 Download PDF

Info

Publication number
JP2010006473A
JP2010006473A JP2009025824A JP2009025824A JP2010006473A JP 2010006473 A JP2010006473 A JP 2010006473A JP 2009025824 A JP2009025824 A JP 2009025824A JP 2009025824 A JP2009025824 A JP 2009025824A JP 2010006473 A JP2010006473 A JP 2010006473A
Authority
JP
Japan
Prior art keywords
flap
document
cut
notch
holding piece
Prior art date
Legal status (The legal status is an assumption and is not a legal conclusion. Google has not performed a legal analysis and makes no representation as to the accuracy of the status listed.)
Granted
Application number
JP2009025824A
Other languages
English (en)
Other versions
JP5069260B2 (ja
Inventor
Isao Takahashi
勲 高橋
Current Assignee (The listed assignees may be inaccurate. Google has not performed a legal analysis and makes no representation or warranty as to the accuracy of the list.)
Rengo Co Ltd
Original Assignee
Rengo Co Ltd
Priority date (The priority date is an assumption and is not a legal conclusion. Google has not performed a legal analysis and makes no representation as to the accuracy of the date listed.)
Filing date
Publication date
Application filed by Rengo Co Ltd filed Critical Rengo Co Ltd
Priority to JP2009025824A priority Critical patent/JP5069260B2/ja
Publication of JP2010006473A publication Critical patent/JP2010006473A/ja
Application granted granted Critical
Publication of JP5069260B2 publication Critical patent/JP5069260B2/ja
Expired - Fee Related legal-status Critical Current
Anticipated expiration legal-status Critical

Links

Images

Landscapes

  • Cartons (AREA)

Abstract

【課題】書類を脱落しないように確実に保持できる書類ホルダ付き包装箱を提供する。
【解決手段】側壁1から延びるフラップ4に切込6を入れて書類ホルダ7を設けた包装箱において、前記切込6に、フラップ4の先端から基端側へ向かう先切部6aと、先切部6aの終端から屈曲部を介して側方へ向かう中切部6bと、中切部6bの終端から屈曲部を介してフラップ4の基端側へ向かう奥切部6cとを連続して設け、書類ホルダ7を、先切部6aと中切部6bとが隅をなす上保持片7aと、中切部6bと奥切部6cとが隅をなす下保持片7bとから形成し、上保持片7aと下保持片7bとを離反方向に撓ませて、その間に生じた隙間に書類Wを挿し込み、上保持片7aと下保持片7bの弾性による復元に伴い、書類Wを挟み付けて保持する。
【選択図】図4

Description

この発明は、例えば、家電製品の梱包に際し、保証書等の書類を保持する書類ホルダを設けた包装箱に関するものである。
従来、下記特許文献1には、図14に示すように、側壁51の上端から延びるフラップ52に、その一側端から2本の切込53を入れて保持片54を形成し、これを書類ホルダとして、保持片54の揺動に伴い、切込53間に保証書等の書類Wを挟み込んで保持する包装箱が記載されている。
実開昭57−105219号公報
しかしながら、上記のような書類ホルダでは、フラップ52を起立させた状態で書類Wを挿着する際、保持片54が基端部で折れ曲がって先端側で開いたままとなり、書類Wが脱落することがあった。
そこで、この発明は、書類を脱落しないように確実に保持できる書類ホルダを備えた包装箱を提供することを課題とする。
上記課題を解決するため、この発明では、側壁から延びるフラップに切込を入れて書類ホルダを設けた包装箱において、前記切込に、フラップの端縁から切れ込む先切部と、先切部の終端から屈曲部を介して切れ込む中切部と、中切部の終端から屈曲部を介して切れ込む奥切部とを連続して設け、前記書類ホルダを、先切部と中切部とが隅をなす上保持片と、中切部と奥切部とが隅をなす下保持片とから形成し、上保持片と下保持片とを離反方向に撓ませて、その間に生じた隙間に書類を挿し込み、上保持片と下保持片の弾性による復元に伴い、書類を挟み付けて保持することとしたのである。
具体的には、前記切込の先切部がフラップの先端から基端側へ向かい、中切部が先切部の終端から側方へ向かい、奥切部が中切部の終端からフラップの基端側へ向かうようにしたのである。
この場合、前記切込の中切部を、奥切部側がフラップの基端から離れ、先切部側がフラップの基端に近づくように傾斜させると、上保持片と下保持片との間に生じる隙間が中切部の両端間に亘って均等になり、挟持力の不均等に起因する書類の回転を防止できる。
また、前記切込の構成に代えて、切込の先切部がフラップの側端から内側へ向かうと共に、その終端から屈曲部を介してフラップの先端側へ向かい、中切部が先切部の終端からフラップの内側へ向かい、奥切部が中切部の終端からフラップの基端側へ向かうようにしてもよい。
このような包装箱では、書類を挿着する際、上保持片と下保持片とが中切部に沿って幅広く離反するので、上保持片及び下保持片を基端部で弾性限界を超えて折り曲げる必要がなく、書類を弾性により強く挟み付けて、脱落しないように保持することができる。
この発明に係る書類ホルダ付き包装箱の第1実施形態のブランクを示す図 同上の組立過程を示す斜視図 同上の書類ホルダへの書類挿着過程を示す部分拡大斜視図 同上の書類ホルダへの書類挿着状態を示す部分拡大斜視図 同上の書類を挿着した梱包状態を示す斜視図 同上の書類ホルダの拡大図 同上の書類ホルダの変形例を示す拡大図 この発明に係る書類ホルダ付き包装箱の第2実施形態のブランクを示す図 同上の組立過程を示す斜視図 同上の書類ホルダへの書類挿着過程を示す部分拡大斜視図 同上の書類ホルダへの書類挿着状態を示す部分拡大斜視図 同上の書類を挿着した梱包状態を示す斜視図 同上の書類ホルダの拡大図 従来の書類ホルダ付き包装箱の部分拡大斜視図
まず、この発明の第1実施形態を図1乃至図7に基づいて説明する。
この書類ホルダ付き包装箱は、図1に示す段ボールのブランクから形成される。このブランクでは、狭幅の側壁1と広幅の側壁2とが各一対交互に連設され、端寄りの側壁2の外側には継代片3が連設されている。側壁1の上下端にはフラップ4が、側壁2の上下端にはフラップ5がそれぞれ連設されている。
一対の側壁2に挟まれた側壁1の上方のフラップ4には、一側寄りに切込6を入れて書類ホルダ7が設けられ、これに隣接するフラップ5の一側部分には、ミシン目状の断続切目をハ字状に入れて、切起片8が設けられている。また、他の上方のフラップ5には、コ字状の切目線を入れて、取手9が形成されている。
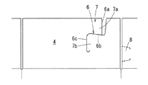
切込6には、図6に示すように、フラップ4の先端から基端側へ向かう先切部6aと、先切部6aの終端から屈曲部を介して側方へ向かう中切部6bと、中切部6bの終端から屈曲部を介してフラップ4の基端側へ向かう奥切部6cとが連続して設けられている。
先切部6aは、書類を挿し込みやすくするため、フラップ4の先端へかけて一側方向へ幅が広くなる切溝とされており、奥切部6cは、フラップ4の基端側が中切部6bへ向けて丸められ、これにより裂け止めされている。
また、中切部6bは、奥切部6c側がフラップ4の基端から離れ、先切部6a側がフラップ4の基端に近づくように傾斜している。
そして、前記書類ホルダ7は、先切部6aと中切部6bとが隅をなす上保持片7aと、中切部6bと奥切部6cとが隅をなす下保持片7bとから形成されている。
このようなブランクを組み立てて、電気掃除機等の商品を梱包する際には、図2に示すように、各一対の側壁1,2を四角筒状に折り曲げ、継代片3を反対側の側壁1に貼り付け、下方のフラップ4,5を順次内側へ折り曲げて、底面を閉止する。そして、上方のフラップ4,5が起立して天面が開口した状態で、箱内に商品を収納する。
次に、図3に示すように、上保持片7aと下保持片7bとを離反方向に撓ませて、図4に示すように、その間に生じた隙間に保証書やサービス案内等の書類Wを挿し込み、上保持片7aと下保持片7bの弾性による復元に伴い、書類Wを挟み付けて保持する。
このように書類Wを挿着する際、上記包装箱では、上保持片7aと下保持片7bとが中切部6bに沿って幅広く離反するので、上保持片7a及び下保持片7bを基端部で弾性限界を超えて折り曲げる必要がなく、書類Wを弾性により強く挟み付けて、脱落しないように保持することができる。
また、中切部6bの傾斜により、上保持片7aと下保持片7bの中切部6bに沿った方向における揺動量の差が相殺されて、上保持片7aと下保持片7bとの間に生じる隙間が中切部6bの両端間に亘ってほぼ均等になるので、挟持力の不均等に起因して、下保持片7bの基端側を中心に書類Wが回転する現象を防止することができる。
なお、書類Wが薄く、上保持片7aと下保持片7bとをあまり撓ませる必要がない場合には、図7に示すように、中切部6bをフラップ4の基端に対して平行にしても、書類Wが回転しながら脱落するようなことはない。
上記のように書類Wを挿着した後、図5に示すように、上方のフラップ4,5を順次内側へ折り曲げ、粘着テープ等で天面を閉止すると、書類Wは、フラップ5に覆われて、輸送時や保管時における亡失が防止される。
そして、電気店等の店頭において、保証書に捺印する必要がある場合には、切起片8の両側の切目の繋部を切断しつつ、切起片8を引き起こすと、開梱することなく、切起片8の抜出跡から書類Wを摘んで引き出すことができる。
次に、この発明の第2実施形態を図8乃至図13に基づいて説明する。
この書類ホルダ付き包装箱は、図8に示す段ボールのブランクから形成される。このブランクにおいても、狭幅の側壁1と広幅の側壁2とが各一対交互に連設され、端寄りの側壁2の外側には継代片3が連設されている。側壁1の上下端にはフラップ4が、側壁2の上下端にはフラップ5がそれぞれ連設されている。
一対の側壁2に挟まれた側壁1の上方のフラップ4には、一側寄りに切込6を入れて書類ホルダ7が設けられ、これに隣接するフラップ5の一側部分には、ミシン目状の断続切目を平行に入れて、切起片8が設けられている。また、一対の側壁1には、長円状の切目線を入れて、取手9が形成されている。
切込6には、図13に示すように、フラップ4の側端から内側へ向かうと共に、その終端から屈曲部を介してフラップ4の先端側へ向かう先切部6aと、先切部6aの終端から屈曲部を介してフラップ4の内側へ向かう中切部6bと、中切部6bの終端から屈曲部を介してフラップ4の基端側へ向かう奥切部6cとが連続して設けられている。
中切部6bは、フラップ4の先端側へ円弧状に湾曲しており、奥切部6cは、フラップ4の基端側が外側へ向けて丸められ、これにより裂け止めされている。また、先切部6a及び中切部6bには、閉蓋時の強度維持のため、繋部が設けられている。
そして、前記書類ホルダ7は、先切部6aと中切部6bとが隅をなす上保持片7aと、中切部6bと奥切部6cとが隅をなす下保持片7bとから形成され、先切部6aの屈曲部により、上保持片7aの外端部分に突起10が形成されている。
このようなブランクを組み立てて、電気掃除機等の商品を梱包する際には、図9に示すように、各一対の側壁1,2を四角筒状に折り曲げ、継代片3を反対側の側壁1に貼り付け、下方のフラップ4,5を順次内側へ折り曲げて、底面を閉止する。そして、上方のフラップ4,5が起立して天面が開口した状態で、箱内に商品を収納する。
次に、先切部6a及び中切部6bの繋部を切断し、図10に示すように、上保持片7aと下保持片7bとを離反方向に撓ませて、図11に示すように、その間に生じた隙間に保証書やサービス案内等の書類Wを挿し込み、上保持片7aと下保持片7bの弾性による復元に伴い、書類Wを挟み付けて保持する。
このように書類Wを挿着する際、上記包装箱では、上保持片7aと下保持片7bとが中切部6bに沿って幅広く離反するので、上保持片7a及び下保持片7bを基端部で弾性限界を超えて折り曲げる必要がなく、書類Wを弾性により強く挟み付けて、脱落しないように保持することができる。
また、上保持片7aの外端部分に突起10が形成されているので、上保持片7aと下保持片7bの隙間からの書類Wの抜け出しが防止される。
さらに、中切部6bが湾曲しているので、上保持片7aが根元部分で折れ曲がってしまう現象が防止されるほか、中切部6bの全長に亘って、上保持片7aと下保持片7bにより書類Wを均等に抑えることができる。
上記のように書類Wを挿着した後、図12に示すように、上方のフラップ4,5を順次内側へ折り曲げ、粘着テープ等で天面を閉止すると、書類Wは、フラップ5に覆われて、輸送時や保管時における亡失が防止される。
そして、電気店等の店頭において、保証書に捺印する必要がある場合には、切起片8の両側の切目の繋部を切断しつつ、切起片8を引き起こすと、開梱することなく、切起片8の抜出跡から書類Wを摘んで引き出すことができる。
1,2 側壁
3 継代片
4,5 フラップ
6 切込
6a 先切部
6b 中切部
6c 奥切部
7 書類ホルダ
7a 上保持片
7b 下保持片
8 切起片
9 取手
10 突起

Claims (4)

  1. 側壁(1)から延びるフラップ(4)に切込(6)を入れて書類ホルダ(7)を設けた包装箱において、前記切込(6)に、フラップ(4)の端縁から切れ込む先切部(6a)と、先切部(6a)の終端から屈曲部を介して切れ込む中切部(6b)と、中切部(6b)の終端から屈曲部を介して切れ込む奥切部(6c)とを連続して設け、前記書類ホルダ(7)を、先切部(6a)と中切部(6b)とが隅をなす上保持片(7a)と、中切部(6b)と奥切部(6c)とが隅をなす下保持片(7b)とから形成し、上保持片(7a)と下保持片(7b)とを離反方向に撓ませて、その間に生じた隙間に書類を挿し込み、上保持片(7a)と下保持片(7b)の弾性による復元に伴い、書類を挟み付けて保持することを特徴とする書類ホルダ付き包装箱。
  2. 請求項1に記載の書類ホルダ付き包装箱において、前記切込(6)の先切部(6a)がフラップ(4)の先端から基端側へ向かい、中切部(6b)が先切部(6a)の終端から側方へ向かい、奥切部(6c)が中切部(6b)の終端からフラップ(4)の基端側へ向かうことを特徴とする書類ホルダ付き包装箱。
  3. 請求項2に記載の書類ホルダ付き包装箱において、前記切込(6)の中切部(6b)を、奥切部(6c)側がフラップ(4)の基端から離れ、先切部(6a)側がフラップ(4)の基端に近づくように傾斜させたことを特徴とする書類ホルダ付き包装箱。
  4. 請求項1に記載の書類ホルダ付き包装箱において、前記切込(6)の先切部(6a)がフラップ(4)の側端から内側へ向かうと共に、その終端から屈曲部を介してフラップ(4)の先端側へ向かい、中切部(6b)が先切部(6a)の終端からフラップ(4)の内側へ向かい、奥切部(6c)が中切部(6b)の終端からフラップ(4)の基端側へ向かうようにしたことを特徴とする書類ホルダ付き包装箱。
JP2009025824A 2008-05-27 2009-02-06 書類ホルダ付き包装箱 Expired - Fee Related JP5069260B2 (ja)

Priority Applications (1)

Application Number Priority Date Filing Date Title
JP2009025824A JP5069260B2 (ja) 2008-05-27 2009-02-06 書類ホルダ付き包装箱

Applications Claiming Priority (3)

Application Number Priority Date Filing Date Title
JP2008137857 2008-05-27
JP2008137857 2008-05-27
JP2009025824A JP5069260B2 (ja) 2008-05-27 2009-02-06 書類ホルダ付き包装箱

Publications (2)

Publication Number Publication Date
JP2010006473A true JP2010006473A (ja) 2010-01-14
JP5069260B2 JP5069260B2 (ja) 2012-11-07

Family

ID=41587433

Family Applications (1)

Application Number Title Priority Date Filing Date
JP2009025824A Expired - Fee Related JP5069260B2 (ja) 2008-05-27 2009-02-06 書類ホルダ付き包装箱

Country Status (1)

Country Link
JP (1) JP5069260B2 (ja)

Cited By (1)

* Cited by examiner, † Cited by third party
Publication number Priority date Publication date Assignee Title
KR20030008081A (ko) * 2001-07-16 2003-01-24 삼성전기주식회사 4륜 조향 차량의 후륜 위상변환 방법 및 그 시스템

Citations (4)

* Cited by examiner, † Cited by third party
Publication number Priority date Publication date Assignee Title
JPS52171517U (ja) * 1976-06-17 1977-12-27
US4279378A (en) * 1979-11-19 1981-07-21 Willamette Industries, Inc. Top gap folding box having a top closure interlock
JPS61202319U (ja) * 1985-06-07 1986-12-19
JPH10324317A (ja) * 1997-05-26 1998-12-08 Marunami:Kk 包装用箱並びにpr物品

Patent Citations (4)

* Cited by examiner, † Cited by third party
Publication number Priority date Publication date Assignee Title
JPS52171517U (ja) * 1976-06-17 1977-12-27
US4279378A (en) * 1979-11-19 1981-07-21 Willamette Industries, Inc. Top gap folding box having a top closure interlock
JPS61202319U (ja) * 1985-06-07 1986-12-19
JPH10324317A (ja) * 1997-05-26 1998-12-08 Marunami:Kk 包装用箱並びにpr物品

Cited By (1)

* Cited by examiner, † Cited by third party
Publication number Priority date Publication date Assignee Title
KR20030008081A (ko) * 2001-07-16 2003-01-24 삼성전기주식회사 4륜 조향 차량의 후륜 위상변환 방법 및 그 시스템

Also Published As

Publication number Publication date
JP5069260B2 (ja) 2012-11-07

Similar Documents

Publication Publication Date Title
JP5960547B2 (ja) 紙製容器および紙製品の破断用罫線構造
JP5616998B2 (ja) 家庭用薄葉紙収納箱及び家庭用薄葉紙収納箱における家庭用薄葉紙の詰め替え方法
JP5069260B2 (ja) 書類ホルダ付き包装箱
JP3171407U (ja) 段ボール箱のフラップ係止構造
JP6112998B2 (ja) 表示片付包装用箱
JP5617486B2 (ja) 包装箱
JP2018065574A (ja) 包装箱
JP6863051B2 (ja) 包装箱、および、ブランクシート
JP4811152B2 (ja) 個装箱
JP2006193186A (ja) 包装箱
JP3198545U (ja) 差込封緘箱
JP4874866B2 (ja) ロール状フィルム体の収納箱
JP3215759U (ja) フラップ付包装箱
KR102050781B1 (ko) 음식물 포장용 용기
JP3195963U (ja) 包装箱用段ボールシート及び包装体
JP4325066B2 (ja) 製品固定用クッション
JP2005178877A (ja) 差込封緘箱
JP2001018952A (ja) 段ボール箱
JP2024035595A (ja) 包装箱
JP5218912B2 (ja) 内容器ブランク
JP2020019547A (ja) 収容箱
JP5718750B2 (ja) 差込封緘箱
JP4429134B2 (ja) 携帯用紙箱
JP6890483B2 (ja) 包装用箱
JP2008297003A (ja) 表示機能付きラップラウンドケース

Legal Events

Date Code Title Description
A621 Written request for application examination

Free format text: JAPANESE INTERMEDIATE CODE: A621

Effective date: 20111014

A131 Notification of reasons for refusal

Free format text: JAPANESE INTERMEDIATE CODE: A131

Effective date: 20120529

RD03 Notification of appointment of power of attorney

Free format text: JAPANESE INTERMEDIATE CODE: A7423

Effective date: 20120531

A521 Written amendment

Free format text: JAPANESE INTERMEDIATE CODE: A523

Effective date: 20120621

TRDD Decision of grant or rejection written
A01 Written decision to grant a patent or to grant a registration (utility model)

Free format text: JAPANESE INTERMEDIATE CODE: A01

Effective date: 20120731

A01 Written decision to grant a patent or to grant a registration (utility model)

Free format text: JAPANESE INTERMEDIATE CODE: A01

A61 First payment of annual fees (during grant procedure)

Free format text: JAPANESE INTERMEDIATE CODE: A61

Effective date: 20120816

FPAY Renewal fee payment (event date is renewal date of database)

Free format text: PAYMENT UNTIL: 20150824

Year of fee payment: 3

R150 Certificate of patent or registration of utility model

Free format text: JAPANESE INTERMEDIATE CODE: R150

R250 Receipt of annual fees

Free format text: JAPANESE INTERMEDIATE CODE: R250

R250 Receipt of annual fees

Free format text: JAPANESE INTERMEDIATE CODE: R250

R250 Receipt of annual fees

Free format text: JAPANESE INTERMEDIATE CODE: R250

LAPS Cancellation because of no payment of annual fees