JP2010004395A - 平衡不平衡変換器及び増幅回路モジュール - Google Patents

平衡不平衡変換器及び増幅回路モジュール Download PDF

Info

Publication number
JP2010004395A
JP2010004395A JP2008162323A JP2008162323A JP2010004395A JP 2010004395 A JP2010004395 A JP 2010004395A JP 2008162323 A JP2008162323 A JP 2008162323A JP 2008162323 A JP2008162323 A JP 2008162323A JP 2010004395 A JP2010004395 A JP 2010004395A
Authority
JP
Japan
Prior art keywords
terminal
balanced
unbalanced
power supply
degree phase
Prior art date
Legal status (The legal status is an assumption and is not a legal conclusion. Google has not performed a legal analysis and makes no representation as to the accuracy of the status listed.)
Granted
Application number
JP2008162323A
Other languages
English (en)
Other versions
JP4591559B2 (ja
Inventor
Ikuo Tamaru
育生 田丸
Current Assignee (The listed assignees may be inaccurate. Google has not performed a legal analysis and makes no representation or warranty as to the accuracy of the list.)
Murata Manufacturing Co Ltd
Original Assignee
Murata Manufacturing Co Ltd
Priority date (The priority date is an assumption and is not a legal conclusion. Google has not performed a legal analysis and makes no representation as to the accuracy of the date listed.)
Filing date
Publication date
Application filed by Murata Manufacturing Co Ltd filed Critical Murata Manufacturing Co Ltd
Priority to JP2008162323A priority Critical patent/JP4591559B2/ja
Priority to US12/483,271 priority patent/US7978021B2/en
Publication of JP2010004395A publication Critical patent/JP2010004395A/ja
Application granted granted Critical
Publication of JP4591559B2 publication Critical patent/JP4591559B2/ja
Active legal-status Critical Current
Anticipated expiration legal-status Critical

Links

Images

Classifications

    • HELECTRICITY
    • H03ELECTRONIC CIRCUITRY
    • H03HIMPEDANCE NETWORKS, e.g. RESONANT CIRCUITS; RESONATORS
    • H03H7/00Multiple-port networks comprising only passive electrical elements as network components
    • H03H7/42Networks for transforming balanced signals into unbalanced signals and vice versa, e.g. baluns
    • HELECTRICITY
    • H03ELECTRONIC CIRCUITRY
    • H03HIMPEDANCE NETWORKS, e.g. RESONANT CIRCUITS; RESONATORS
    • H03H1/00Constructional details of impedance networks whose electrical mode of operation is not specified or applicable to more than one type of network
    • H03H2001/0021Constructional details
    • H03H2001/0085Multilayer, e.g. LTCC, HTCC, green sheets

Landscapes

  • Filters And Equalizers (AREA)
  • Amplifiers (AREA)

Abstract

【課題】回路の大型化・複雑化を回避しつつ2つの平衡端子に一つの電源でバイアス電圧を供給できる平衡・不平衡変換器及びそれを備えた増幅回路モジュールを構成する。
【解決手段】平衡不平衡変換器103は、不平衡端子UBPが接続される分岐点10と第1の端子BP1との間に90度位相回路20、分岐点10と第2の端子BP2との間に−90度位相回路30をそれぞれ備えている。第1の端子BP1と電源供給端子DCPとの間には第1のインダクタLH1、分岐点10と電源供給端子DCPとの間には第2のインダクタLH2をそれぞれ接続し、電源供給端子DCPと接地との間には電源供給端子側キャパシタCdcをシャントに接続している。分岐点10と第2の端子BP2との間には第2の端子側直列インダクタLL1を直列に接続している。
【選択図】図6

Description

この発明は、90度位相器と−90度位相器とで構成される平衡不平衡変換器及びそれを備えた増幅回路モジュールに関するものである。
90度位相器と−90度位相器とで構成される平衡不平衡変換器が特許文献1に開示されている。図1はその例を示す回路図である。図1において、ハイパスフィルタ120は、遮断周波数が設計周波数f0より低く、設計周波数f0で入力位相に対する出力位相が+90度となるように設計された90度位相器である。一方、ローパスフィルタ130は、遮断周波数が設計周波数f0より高く、設計周波数f0で入力位相に対する出力位相が−90度となるように設計された位相器である。
このようにして、極性の反転した平衡信号と不平衡信号との変換を行う。
特開2005−198167号公報
引用文献1のようにハイパスフィルタとローパスフィルタとで構成された平衡不平衡変換器は、携帯電話端末等で使用されている平衡端子を備えた増幅器と組み合わせて使用されることが多く、そのような回路構成の場合、実装基板の小型化等のために平衡不平衡変換器を介して増幅器へのバイアス電圧を印加する回路構成が採られることがある。
しかし、図1に示した回路では、平衡端子であるP2,P3にそれぞれバイアス電源を配置することになるため、回路が大型化し、電源回路が複数必要なためデバイスのコストが高くなるという問題がある。また、特許文献1の回路構成では、例えば端子P3側にバイアス電源となる直流電源を配置した場合、バイアス電圧(電流)が端子P3以外に不平衡端子P1側へ流れこむという問題もある。
そこで、この発明の目的は、回路の大型化・複雑化を回避しつつ2つの平衡端子に一つの電源でバイアス電圧を供給できる平衡・不平衡変換器及びそれを備えた増幅回路モジュールを提供することにある。
上述の課題を解決するために、この発明は次のように構成する。
(1) 電源供給端子、不平衡端子および第1・第2の端子から成る1組の平衡端子を有し、前記不平衡端子と前記第1・第2の端子とは分岐点を介して接続され、前記分岐点と前記第1の端子との間に配置される線路に対して直列に接続された第1の端子側直列キャパシタ(CH1)を含む90度位相回路(90度進相回路)と、前記分岐点と前記第2の端子との間に配置される線路に対して直列に接続された第2の端子側直列インダクタ(LL1)を含む−90度位相回路(90度遅相回路)と、を備えてなる平衡不平衡変換器において、
前記90度位相回路は、一方端が前記第1の端子側直列キャパシタの前記第1の端子側に接続され、他方端が前記電源供給端子に接続された第1のインダクタ(LH1)と、一方端が前記第1の端子側直列キャパシタの前記分岐点側に接続され、他方端が前記電源供給端子に接続された第2のインダクタ(LH2)と、を含むことを特徴とする。
この構成により、平衡不平衡変換器を介して、第1・第2の端子から成る平衡端子にバイアス電圧を供給できるので、電源回路を別途設ける必要がなく、平衡増幅器を備えた平衡増幅回路を簡素な回路で構成できる。
(2)前記不平衡端子と前記分岐点との間に直列に不平衡端子側直列キャパシタ(Cin)を接続する。
これにより、電源供給端子から印加されるバイアス電圧(電流)が不平衡端子側へ流れ込むこともない。また、不平衡端子側直列キャパシタ(Cin)はハイパスフィルタとしても作用するため、不要な低域信号の減衰効果もある。
(3)前記−90度位相回路は、前記第2の端子側直列インダクタ(LL1)の第2の端子側と接地との間に接続された第2の端子側並列キャパシタ(CL1)を備える。
この構成により、少ない回路要素数で−90度位相回路を構成できる。
(4)前記−90度位相回路は、前記第2の端子側直列インダクタ(LL1)の第2の端子側と前記電源供給端子との間に接続された第2の端子側並列キャパシタ(CL1)を備える。
この構成により、少ない回路要素数で−90度位相回路を構成できる。
(5)前記−90度位相回路は、前記第2の端子側直列インダクタと前記第2の端子側並列キャパシタ(CL1)との接続点と前記第2の端子との間に直列に接続された第2の端子側の第2の直列インダクタ(LL2)を備える。
これにより、ローパスフィルタである−90度位相回路の設計自由度が向上する。また、次数を増やすことで帯域付近の通過特性の傾きを小さくできるため、バランス特性の1つである振幅差の傾きを小さくし、バランス特性を向上することができる。
(6)前記90度位相回路は、前記電源供給端子と接地との間に接続された電源供給端子側キャパシタ(Cdc)を備える。
これにより、高周波信号は電源供給端子で確実に接地されて90度位相回路が安定動作するとともに、電源供給端子からバイアス電圧供給回路側へ信号が漏れるのを防止できる。
(7)前記90度位相回路と前記−90度位相回路は、電極パターンを形成した誘電体層を積層してなる積層基板に構成され、前記積層基板の一方の主面からの透視状態で前記90度位相回路と前記−90度位相回路の形成範囲の中心位置が異なっている。
この構成により、90度位相回路と−90度位相回路との干渉が抑制できる。
(8)前記電源供給端子側キャパシタ(Cdc)以外の回路と前記−90度位相回路とを、電極パターンを形成した誘電体層を積層してなる積層基板に構成する。
この構成により、電源供給端子側キャパシタ(Cdc)を外付けにすると、それ以外の回路は積層基板からなる4端子のモジュールとして構成できる。
(9)前記90度位相回路に含まれる、第1のインダクタ(LH1)、第2のインダクタ(LH2)及び前記−90度位相回路に含まれる第2の端子側直列インダクタ(LL1)の積層方向の上下にグランド電極及びキャパシタ電極が設ける。
これにより、キャパシタ電極でインダクタが挟み込まれることになり、インダクタが発生する磁界の積層基板外部への漏れ出しを抑制でき、外部回路への影響を低減することができる。
(10)前記積層基板は矩形状の誘電体を積層して構成し、積層基板の少なくとも下面に前記第1・第2の端子、前記不平衡端子、前記電源供給端子をそれぞれ備え、前記第1・第2の端子は前記積層基板の対向する辺にそれぞれ配置する。
これにより2つの平衡端子間のアイソレーションが向上する。
(11)前記積層基板は矩形状の誘電体を積層してなり、積層基板の少なくとも下面に前記第1・第2の端子、前記不平衡端子、前記電源供給端子をそれぞれ備え、前記第1・第2の端子は前記電源供給端子を挟み込むように前記積層基板の1辺に配置する。
この構成により、2つの平衡端子間に他の端子電極が配置されるので、平衡端子間のアイソレーションが向上する。
(12)前記積層基板は矩形状の誘電体を積層してなり、積層基板の少なくとも下面に前記第1・第2の端子、前記不平衡端子、前記電源供給端子、及び前記グランド電極と導通するグランド端子を備え、前記第1・第2の端子は前記グランド端子を挟み込むように前記積層基板の1辺に配置する。
この構成により、2つの平衡端子間に他の端子電極が配置されるので、平衡端子間のアイソレーションが向上する。
(13)前記積層基板は矩形状の誘電体を積層してなり、積層基板の少なくとも下面に前記第1・第2の端子、前記不平衡端子、前記電源供給端子をそれぞれ備え、これらの端子を前記積層基板の四辺または四隅にそれぞれ配置する。
この構成により、各端子間の結合が防止され、アイソレーションが向上する。
(14)この発明の増幅回路モジュールは、前記平衡不平衡変換器と、前記第1・第2の端子に接続されて平衡増幅を行う平衡増幅器とを備えて成る。
この発明によれば、平衡・不平衡変換器を介して、第1・第2の端子から成る平衡端子にバイアス電圧を供給できるので、電源回路を別途設ける必要がなく、平衡増幅器を備えた平衡増幅回路を簡素な回路で構成できる。また、不平衡端子と分岐点との間に不平衡端子側直列キャパシタを接続することによって、電源供給端子から印加されるバイアス電圧(電流)が不平衡端子側へ流れ込むこともない。また、不要な低域信号が減衰される。
《第1の実施形態》
第1の実施形態に係る平衡不平衡変換器の構成を図2〜図4を参照して説明する。
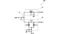
図2は平衡不平衡変換器101の回路図である。この平衡不平衡変換器101は、第1の端子BP1、第2の端子BP2からなる1組の平衡端子と不平衡端子UBPとを有する。不平衡端子UBPが接続される分岐点10と第1の端子BP1との間には90度位相回路20を備えていて、分岐点10と第2の端子BP2との間には−90度位相回路30を備えている。
90度位相回路20は、線路に対して直列接続された第1の端子側直列キャパシタCH1、第1の端子BP1と電源供給端子DCPとの間に直流通電可能状態に接続された第1のインダクタLH1、分岐点10と電源供給端子DCPとの間に直流通電可能状態に接続された第2のインダクタLH2、及び電源供給端子DCPと接地との間にシャントに接続された電源供給端子側キャパシタCdcを備えている。
−90度位相回路30は、分岐点10と第2の端子BP2との間に、線路に対して直列接続された第2の端子側直列インダクタLL1、及びこの第2の端子側直列インダクタLL1の第2の端子側と接地との間に接続された第2の端子側並列キャパシタCL1を備えている。
電源供給端子DCPは電源供給端子側キャパシタCdcによって高周波的に接地されるので、90度位相回路20はシャントに接続された第1のインダクタLH1、第2のインダクタLH2及びシリーズに接続された第1の端子側直列キャパシタCH1とによってπ型のLCLハイパスフィルタを構成している。そして、使用周波数において不平衡端子UBPと第1の端子BP1との間で+90度の位相差(90度の位相進み)が生じるように作用する。
−90度位相回路30は、シャントに接続された第2の端子側並列キャパシタCL1とシリーズに接続された第2の端子側直列インダクタLL1とのLC回路によってローパスフィルタを構成している。そして、使用周波数において不平衡端子UBPと第2の端子BP2との間で−90度の位相差(90度の位相遅れ)が生じるように作用する。
このような回路構成であるので、電源供給端子DCPに印加されるバイアス電圧は、DCP→第1のインダクタLH1→第1の端子BP1の経路で第1の端子へ供給され、DCP→第2のインダクタLH2→第2の端子側直列インダクタLL1→第2の端子BP2の経路で第2の端子BP2側へも供給される。
なお、バイアス電圧供給用のインダクタLH2は90度位相回路20の設計素子として共用できるので、90度位相回路20の設計自由度が向上する。
図3は、図2に示した平衡不平衡変換器101を積層基板で構成した場合のその積層基板の各層の構成を示す分解斜視図、図4は平衡不平衡変換器101の外観斜視図である。図3において51〜68はそれぞれ誘電体層であり、誘電体層51〜67の上面にはそれぞれ所定パターンの電極を形成している。また各誘電体層51〜68の側面、誘電体層51の下面及び誘電体層68の上面の一部には実装用電極として作用する端子を形成している。但し、これらの端子は、誘電体層51〜68をグリーンシートの状態で積層し、焼成を行って素子化切断した後に形成したものである。
図4に示す各実装電極に付した符号は図2に示した各端子に対応している。なお、図4においてGNDは接地端子、NCは空端子である。
図3に示すように、誘電体層51,52に形成した電極によって電源供給端子側キャパシタCdcを構成している。また、誘電体層53,54に形成した電極によって第2の端子側並列キャパシタCL1を構成している。
誘電体層55〜58に形成した電極パターン及びビア電極によって第1のインダクタLH1を構成している。また、誘電体層59〜65の図における左半部の位置に形成したインダクタ電極及びビア電極によって第2の端子側直列インダクタLL1を構成している。同様に誘電体層61〜65の図における右半部の位置に形成したインダクタ電極及びビア電極によって第2のインダクタLH2を構成している。このように、積層基板の一方の主面からの透視状態で90度位相回路20と前記−90度位相回路30の形成範囲の中心位置を異ならせている。この構成により、90度位相回路と−90度位相回路との干渉が抑制できる。
また、誘電体層66,67に形成した電極によって第1の端子側直列キャパシタCH1を構成している。
このようにして表面実装型チップ部品である平衡不平衡変換器を構成する。
なお、不平衡端子UBPにつながる電極を実装基板から(実装基板のGND面から)遠ざけて配置することにより、不平衡端子UBPからグランドへの高周波信号の漏れが防止できる。
また、上下に配置しているインダクタLH1,LH2同士の距離を離して配置することによって、インダクタLH1,LH2間の不要な結合が抑制できる。
また、第1のインダクタ(LH1)、第2のインダクタ(LH2)及び第2の端子側直列インダクタ(LL1)の積層方向の上下に、誘電体層53のグランド電極及び誘電体層67のキャパシタ電極を設けたことにより、インダクタLH1,LH2,LL1で発生する磁界の積層基板外部への漏れ出しが抑制でき、外部回路への影響を低減できる。また、外部回路との結合も抑制されるので、外部回路の干渉を受けにくくなる。
平衡端子BP1,BP2は、上記構成のように90度位相回路20と−90度位相回路30とが積層基板の長手方向に並置した際に、積層基板の長手方向の一辺に引き出すことによって、この平衡端子BP1,BP2までの引き回しが短くなり、より低損失化できる。
電源供給端子DCPについては、積層基板の長手方向の一辺の中央に引き出すことによって、積層基板内に90度位相回路20と−90度位相回路30とを分離して配置することが容易になる。
特に、平衡端子である第1の端子BP1及び第2の端子BP2の間に、グランド端子GNDを配置したことにより、平衡端子の第1の端子BP1と第2の端子BP2は電源供給端子DCPにより不要な結合が遮断される。
《第2の実施形態》
図5は、積層基板の端面及び上下面への各端子の引き出し方を変えた例を示す図である。内部の主要部の構成及び回路は第1の実施形態の場合と同様である。
第1の実施形態において図3・図4に示した例では、平衡端子BP1,BP2の間にグランド端子GNDを配置したが、例えば図5(A)に示すように、平衡端子BP1,BP2の間に電源供給端子側キャパシタCdcにより高周波接地された電源供給端子DCPを配置してもよい。
また図5(B)(C)に示すように、平衡端子の第1の端子BP1と第2の端子BP2を積層基板の対向する辺にそれぞれ配置してもよい。
《第3の実施形態》
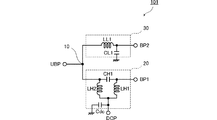
図6は第3の実施形態に係る平衡不平衡変換器103の回路図である。第1の実施形態において図2に示した平衡不平衡変換器101と異なるのは、不平衡端子UBPと分岐点10との間に不平衡端子側直列キャパシタCinを直列接続した点である。その他の構成は第1の実施形態の場合と同様である。
このような構成により、電源供給端子DCPと不平衡端子UBPとの間は不平衡端子側直列キャパシタCinによって直流的に遮断状態となり、電源供給端子DCPに印加されるバイアス電圧(電流)が不平衡端子UBP側へ印加(通電)されるのを防止できる。また不平衡端子UBPに接続される回路側のバイアス電圧(電流)が平衡端子BP1,BP2側へ印加(通電)されるのを防止できる。
不平衡端子側直列キャパシタCinは、ハイパスフィルタの機能もあり、このキャパシタCinのキャパシタンスにより、通過帯域より低い周波数の減衰特性の設計が可能となる。
図7は、図6に示した平衡不平衡変換器103を積層基板で構成した場合のその積層基板の分解斜視図である。
この例では、誘電体層67,68に形成した電極によって不平衡端子側直列キャパシタCinを構成している。その他は図3に示したものと同様である。
図7に示すように、不平衡端子側直列キャパシタCinを積層基板の上部に配置することにより、不平衡端子UBPから実装基板のグランド電極への信号漏れを防止でき、ロス発生を抑えることができる。
《第4の実施形態》
図8は第4の実施形態に係る平衡不平衡変換器の回路図である。図8(A)に示す平衡不平衡変換器104Aは、第2の端子BP2と第2の端子側並列キャパシタCL1との間に第2端子側の第2の直列インダクタLL2を備えている。その他の構成は図2に示したものと同様である。
図8(B)に示す平衡不平衡変換器104Bも、第2の端子BP2と第2の端子側並列キャパシタCL1との間に第2端子側の第2の直列インダクタLL2を備えている。その他の構成は図6に示したものと同様である。
このように第2の直列インダクタLL2を設けることによって、ローパスフィルタである−90度位相回路31の設計自由度が向上する。また、次数が増えることで帯域付近の通過特性の傾きを小さくできるため、バランス特性の1つである振幅差の傾きを小さくし、バランス特性を向上することができる。
《第5の実施形態》
図9は第5の実施形態に係る平衡不平衡変換器の回路図である。
図9(A)に示す平衡不平衡変換器105Aは、−90度位相回路32の第2の端子側並列キャパシタCL1の一端を第2の端子側直列インダクタLL1の第2の端子側に接続するとともに、他方を電源供給端子DCPに接続している。電源供給端子DCPは電源供給端子側キャパシタCdcによって高周波的に接地されているので、−90度位相回路32は図2に示した−90度位相回路30と同様に作用する。
第1の実施形態では図3に示したように、電源供給端子側キャパシタCdcを積層基板内に構成したが、図9(A)に示す例では、電源供給端子側キャパシタCdc以外の回路を積層基板70Aに構成している。したがってこの平衡不平衡変換器105Aは、積層基板70Aによるチップ部品と外付けの電源供給端子側キャパシタCdcとによって構成することになる。
図9(B)に示す平衡不平衡変換器105Bは、図6に示した平衡不平衡変換器103と同様に、不平衡端子UBPと分岐点10との間に直列キャパシタCinを挿入している。−90度位相回路32の第2の端子側並列キャパシタCL1は、その一端を第2の端子側直列インダクタLL1の第2の端子側に接続し、他端を電源供給端子DCPに接続している。そして、電源供給端子側キャパシタCdc以外の部分を積層基板70Bに構成している。
図9(C)に示す平衡不平衡変換器105Cは、図8(B)の平衡不平衡変換器104Bと同様に、不平衡端子UBPと分岐点10との間に直列キャパシタCinを挿入している。−90度位相回路33の第2の端子側並列キャパシタCL1は、その一端を第2の端子側直列インダクタLL1の第2の端子側に接続し、他端を電源供給端子DCPに接続している。そして、電源供給端子側キャパシタCdc以外の部分を積層基板70Cに構成している。
図10は、図9に示した平衡不平衡変換器の積層基板70A,70B,70Cによるチップ部品の外観斜視図である。図10(A)の例では、不平衡端子UBP、平衡端子BP1,BP2及び電源供給端子DCPを積層基板からなるチップ部品の四辺の中央部にそれぞれ形成している。また図10(B)の例では、それらの端子をチップ部品の四隅に形成している。
このように端子数が4端子となることにより、例えば5端子の構成が困難な1.0×0.5mmのチップサイズにおいても実現可能となる。
また、平衡端子BP1,BP2は積層基板の対向する辺または角にそれぞれ配置することにより、平衡端子の第1の端子BP1と第2の端子BP2は、互いに遠ざかることになり、且つ高周波的に接地された電源供給端子DCPにより不要な結合が遮断される。
《第6の実施形態》
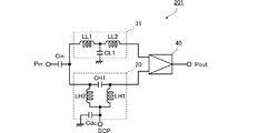
図11は第6の実施形態に係る増幅回路モジュール201の回路図である。図11において90度位相回路20、−90度位相回路31及び不平衡端子側直列キャパシタCinによって平衡不平衡変換器を構成している。この平衡不平衡変換器の構成は図8(B)に示したものと同様である。この平衡不平衡変換回路の平衡端子に平衡入力型の平衡増幅器40を接続している。
この構成により、不平衡入力端子Pinから入力された信号が平衡信号に変換されて、平衡増幅器40で増幅され再び不平衡出力端子Poutから不平衡信号として出力される。
図11に示した増幅回路モジュール201の平衡不平衡変換回路部は各実施形態で述べたとおり積層基板に構成し、平衡増幅器40をその積層基板に搭載することによって1つのチップ部品として構成することができる。
なお、各実施形態では、積層基板の端面及び上下面に実装用電極である各端子を形成したが、積層基板の下面にのみ実装電極を形成してLGA(Land Grid Array)を構成してもよい。そのことにより、実装面積を低減できる。
特許文献1に開示されている、90度位相器と−90度位相器とで構成される平衡不平衡変換器の例を示す回路図である。 平衡不平衡変換器101の回路図である。 図2に示した平衡不平衡変換器101を積層基板で構成した場合のその積層基板の各層の構成を示す分解斜視図である。 平衡不平衡変換器101の外観斜視図である。 第2の実施形態に係る平衡不平衡変換器の外観斜視図であり、積層基板の端面及び上下面への各端子の引き出し方を変えた例を示す図である。 第3の実施形態に係る平衡不平衡変換器103の回路図である。 図6に示した平衡不平衡変換器103を積層基板で構成した場合のその積層基板の分解斜視図である。 第4の実施形態に係る平衡不平衡変換器の回路図である。 第5の実施形態に係る平衡不平衡変換器の回路図である。 図9に示した平衡不平衡変換器の積層基板70A,70B,70Cによるチップ部品の外観斜視図である。 第6の実施形態に係る増幅回路モジュール201の回路図である。
符号の説明
10…分岐点
20…90度位相回路
30〜33…−90度位相回路
40…平衡増幅器
51〜69…誘電体層
70A,70B,70C…積層基板
101…平衡不平衡変換器
103〜105…平衡不平衡変換器
BP1…第1の端子
BP2…第2の端子
Cdc…電源供給端子側キャパシタ
CH1…第1の端子側直列キャパシタ
Cin…不平衡端子側直列キャパシタ
CL1…第2の端子側並列キャパシタ
DCP…電源供給端子
GND…グランド端子
LH1…第1のインダクタ
LH2…第2のインダクタ
LL1…第2の端子側直列インダクタ
LL2…第2の端子側の第2の直列インダクタ
Pin…不平衡入力端子
Pout…不平衡出力端子
UBP…不平衡端子

Claims (14)

  1. 電源供給端子、不平衡端子および第1・第2の端子から成る1組の平衡端子を有し、前記不平衡端子と前記第1・第2の端子とは分岐点を介して接続され、前記分岐点と前記第1の端子との間に配置される線路に対して直列に接続された第1の端子側直列キャパシタを含む90度位相回路と、前記分岐点と前記第2の端子との間に配置される線路に対して直列に接続された第2の端子側直列インダクタを含む−90度位相回路と、を備えてなる平衡不平衡変換器において、
    前記90度位相回路は、一方端が前記第1の端子側直列キャパシタの前記第1の端子側に接続され、他方端が前記電源供給端子に接続された第1のインダクタと、一方端が前記第1の端子側直列キャパシタの前記分岐点側に接続され、他方端が前記電源供給端子に接続された第2のインダクタと、を含むことを特徴とする平衡不平衡変換器。
  2. 前記不平衡端子と前記分岐点との間に直列に不平衡端子側直列キャパシタが接続された、請求項1に記載の平衡不平衡変換器。
  3. 前記−90度位相回路は、前記第2の端子側直列インダクタの第2の端子側と接地との間に接続された第2の端子側並列キャパシタを含む、請求項1または2に記載の平衡不平衡変換器。
  4. 前記−90度位相回路は、前記第2の端子側直列インダクタの第2の端子側と前記電源供給端子との間に接続された第2の端子側並列キャパシタを含む、請求項1または2に記載の平衡不平衡変換器。
  5. 前記−90度位相回路は、前記第2の端子側直列インダクタと前記第2の端子側並列キャパシタとの接続点と前記第2の端子との間に直列に接続された第2の端子側の第2の直列インダクタを含む、請求項1〜4のいずれかに記載の平衡不平衡変換器。
  6. 前記90度位相回路は、前記電源供給端子と接地との間に接続された電源供給端子側キャパシタを含む、請求項1〜5のいずれかに記載の平衡不平衡変換器。
  7. 前記90度位相回路と前記−90度位相回路は、電極パターンを形成した誘電体層を積層してなる積層基板に構成され、前記積層基板の一方の主面からの透視状態で前記90度位相回路と前記−90度位相回路の形成範囲の中心位置が異なっている、請求項1〜6のいずれかに記載の平衡不平衡変換器。
  8. 前記電源供給端子側キャパシタ以外の回路と前記−90度位相回路とが、電極パターンを形成した誘電体層を積層してなる積層基板に構成された、請求項4に記載の平衡不平衡変換器。
  9. 前記90度位相回路に含まれる、第1のインダクタ、第2のインダクタ及び前記−90度位相回路に含まれる第2の端子側直列インダクタの積層方向の上下にグランド電極及びキャパシタ電極が設けられた、請求項7または8に記載の平衡不平衡変換器。
  10. 前記積層基板は矩形状の誘電体を積層してなり、積層基板の少なくとも下面に前記第1・第2の端子、前記不平衡端子、前記電源供給端子をそれぞれ備え、前記第1・第2の端子は前記積層基板の対向する辺にそれぞれ配置されている、請求項7〜9のいずれかに記載の平衡不平衡変換器。
  11. 前記積層基板は矩形状の誘電体を積層してなり、積層基板の少なくとも下面に前記第1・第2の端子、前記不平衡端子、前記電源供給端子をそれぞれ備え、前記第1・第2の端子は前記電源供給端子を挟み込むように前記積層基板の1辺に配置されている、請求項7〜9のいずれかに記載の平衡不平衡変換器。
  12. 前記積層基板は矩形状の誘電体を積層してなり、積層基板の少なくとも下面に前記第1・第2の端子、前記不平衡端子、前記電源供給端子、及び前記グランド電極と導通するグランド端子を備え、前記第1・第2の端子は前記グランド端子を挟み込むように前記積層基板の1辺に配置されている、請求項7〜9のいずれかに記載の平衡不平衡変換器。
  13. 前記積層基板は矩形状の誘電体を積層してなり、積層基板の少なくとも下面に前記第1・第2の端子、前記不平衡端子、前記電源供給端子をそれぞれ備え、これらの端子は前記積層基板の四辺または四隅にそれぞれ配置されている、請求項7〜9のいずれかに記載の平衡不平衡変換器。
  14. 請求項1〜13のいずれかに記載の平衡不平衡変換器と、前記第1・第2の端子に接続されて平衡増幅を行う平衡増幅器とを備えた増幅回路モジュール。
JP2008162323A 2008-06-20 2008-06-20 平衡不平衡変換器及び増幅回路モジュール Active JP4591559B2 (ja)

Priority Applications (2)

Application Number Priority Date Filing Date Title
JP2008162323A JP4591559B2 (ja) 2008-06-20 2008-06-20 平衡不平衡変換器及び増幅回路モジュール
US12/483,271 US7978021B2 (en) 2008-06-20 2009-06-12 Balanced-to-unbalanced transformer and amplifier circuit module

Applications Claiming Priority (1)

Application Number Priority Date Filing Date Title
JP2008162323A JP4591559B2 (ja) 2008-06-20 2008-06-20 平衡不平衡変換器及び増幅回路モジュール

Publications (2)

Publication Number Publication Date
JP2010004395A true JP2010004395A (ja) 2010-01-07
JP4591559B2 JP4591559B2 (ja) 2010-12-01

Family

ID=41430612

Family Applications (1)

Application Number Title Priority Date Filing Date
JP2008162323A Active JP4591559B2 (ja) 2008-06-20 2008-06-20 平衡不平衡変換器及び増幅回路モジュール

Country Status (2)

Country Link
US (1) US7978021B2 (ja)
JP (1) JP4591559B2 (ja)

Cited By (4)

* Cited by examiner, † Cited by third party
Publication number Priority date Publication date Assignee Title
JP2012205195A (ja) * 2011-03-28 2012-10-22 Tdk Corp 積層構造型バラン
JP2013034041A (ja) * 2011-08-01 2013-02-14 Murata Mfg Co Ltd 不平衡−平衡変換回路素子
JP2014519234A (ja) * 2011-05-04 2014-08-07 エプコス アクチエンゲゼルシャフト 音響体積波で動作するbawフィルタ
JP2018006790A (ja) * 2016-06-27 2018-01-11 株式会社村田製作所 高周波電子部品

Families Citing this family (12)

* Cited by examiner, † Cited by third party
Publication number Priority date Publication date Assignee Title
US8358179B2 (en) * 2009-09-10 2013-01-22 Stats Chippac, Ltd. Semiconductor device and method of forming directional RF coupler with IPD for additional RF signal processing
DE102012208555B4 (de) * 2012-05-22 2023-07-27 Rohde & Schwarz GmbH & Co. Kommanditgesellschaft Schaltbare Frequenzweiche und Signalgenerator
JP5660087B2 (ja) * 2012-08-09 2015-01-28 株式会社村田製作所 バラントランス
US9875724B2 (en) 2012-08-21 2018-01-23 Beijing Lenovo Software Ltd. Method and electronic device for adjusting display
DE102013209450A1 (de) * 2013-05-22 2014-11-27 Siemens Aktiengesellschaft Symmetrierschaltung
TWI530017B (zh) * 2013-07-31 2016-04-11 Murata Manufacturing Co Balanced - unbalanced converter
WO2015186578A1 (ja) * 2014-06-06 2015-12-10 株式会社村田製作所 移相回路
JP6112075B2 (ja) * 2014-06-27 2017-04-12 株式会社村田製作所 電子部品
CN104734134B (zh) * 2015-04-09 2019-06-28 国家电网公司 一种换流器接地系统
JP6288472B2 (ja) * 2015-07-24 2018-03-07 株式会社村田製作所 平衡不平衡変換器
JP6593192B2 (ja) * 2016-01-26 2019-10-23 Tdk株式会社 方向性結合器
WO2017204621A1 (en) * 2016-05-26 2017-11-30 Greenpeak Technologies B.V. Balun circuit arrangement

Citations (4)

* Cited by examiner, † Cited by third party
Publication number Priority date Publication date Assignee Title
JPH10200360A (ja) * 1997-01-07 1998-07-31 Tdk Corp 積層バルントランス
JP2003046358A (ja) * 2001-05-16 2003-02-14 Matsushita Electric Ind Co Ltd 積層フィルタ、積層複合デバイス、および通信装置
JP2005166702A (ja) * 2003-11-28 2005-06-23 Tdk Corp バラン
JP2007129565A (ja) * 2005-11-04 2007-05-24 Alps Electric Co Ltd ローパスフィルタ

Family Cites Families (8)

* Cited by examiner, † Cited by third party
Publication number Priority date Publication date Assignee Title
JP3668150B2 (ja) 2001-04-17 2005-07-06 日本無線株式会社 バイアス回路
US7023301B2 (en) 2001-05-16 2006-04-04 Matsushita Electric Industrial Co., Ltd. Laminated filter with a single shield conductor, integrated device, and communication apparatus
JP4241400B2 (ja) 2004-01-09 2009-03-18 株式会社豊田中央研究所 平衡線路−不平衡線路接続器
JP3944193B2 (ja) 2004-02-09 2007-07-11 太陽誘電株式会社 バランおよびバランスフィルタおよび無線通信機器
JP2006129444A (ja) * 2004-09-30 2006-05-18 Renesas Technology Corp 高周波電力増幅器および高周波電力増幅器モジュール
FR2878092A1 (fr) * 2004-11-18 2006-05-19 St Microelectronics Sa Balun a elements localises
JP2008098769A (ja) 2006-10-06 2008-04-24 Toyota Central R&D Labs Inc 周波数可変アンテナ
US7688158B2 (en) * 2007-09-28 2010-03-30 Intel Corporation Digitally tuned, integrated baluns with enhanced linearity for multi-band radio applications

Patent Citations (4)

* Cited by examiner, † Cited by third party
Publication number Priority date Publication date Assignee Title
JPH10200360A (ja) * 1997-01-07 1998-07-31 Tdk Corp 積層バルントランス
JP2003046358A (ja) * 2001-05-16 2003-02-14 Matsushita Electric Ind Co Ltd 積層フィルタ、積層複合デバイス、および通信装置
JP2005166702A (ja) * 2003-11-28 2005-06-23 Tdk Corp バラン
JP2007129565A (ja) * 2005-11-04 2007-05-24 Alps Electric Co Ltd ローパスフィルタ

Cited By (6)

* Cited by examiner, † Cited by third party
Publication number Priority date Publication date Assignee Title
JP2012205195A (ja) * 2011-03-28 2012-10-22 Tdk Corp 積層構造型バラン
JP2014519234A (ja) * 2011-05-04 2014-08-07 エプコス アクチエンゲゼルシャフト 音響体積波で動作するbawフィルタ
US9859868B2 (en) 2011-05-04 2018-01-02 Snaptrack, Inc. BAW-filter operating using bulk acoustic waves and passive components forming a balun
JP2013034041A (ja) * 2011-08-01 2013-02-14 Murata Mfg Co Ltd 不平衡−平衡変換回路素子
US9059681B2 (en) 2011-08-01 2015-06-16 Murata Manufacturing Co., Ltd. Unbalanced-balanced conversion circuit element
JP2018006790A (ja) * 2016-06-27 2018-01-11 株式会社村田製作所 高周波電子部品

Also Published As

Publication number Publication date
US20090315636A1 (en) 2009-12-24
US7978021B2 (en) 2011-07-12
JP4591559B2 (ja) 2010-12-01

Similar Documents

Publication Publication Date Title
JP4591559B2 (ja) 平衡不平衡変換器及び増幅回路モジュール
CN103580637B (zh) 平衡不平衡变压器
JP5677499B2 (ja) 高周波回路モジュール
JP5018858B2 (ja) 高周波モジュール
WO2014061448A1 (ja) 高周波モジュール
JP5609918B2 (ja) スイッチモジュール
JPWO2016125719A1 (ja) 高周波スイッチモジュール
JP5783186B2 (ja) 積層基板モジュール
JPWO2012102284A1 (ja) 送信モジュール
CN102301610B (zh) 天线共用模块
JP5609996B2 (ja) 電力増幅回路
JP5636662B2 (ja) 高周波モジュール
CN204244072U (zh) 多通道型dc-dc转换器
JP2024098344A (ja) 電力増幅回路
JPWO2018235452A1 (ja) ノイズ除去回路およびノイズ除去素子
JP4656514B2 (ja) 平衡−不平衡変換回路及びこれを用いた高周波部品
TWI424612B (zh) 寬頻帶耦合濾波器
CN1983712B (zh) 具滤波器功能的平衡至非平衡转换器
JP2011243829A (ja) 積層型電子部品
KR20130033159A (ko) 전력 결합기를 이용한 씨모스 전력 증폭기
JP2006108814A (ja) バランスフィルタ
JP2016100797A (ja) フィルタ一体型カプラおよび通信モジュール
JP3153518U (ja) 複合バラン
JP4900623B2 (ja) 複合バラン
JP2005303193A (ja) チップ型コンデンサアレイ

Legal Events

Date Code Title Description
A621 Written request for application examination

Free format text: JAPANESE INTERMEDIATE CODE: A621

Effective date: 20091007

A131 Notification of reasons for refusal

Free format text: JAPANESE INTERMEDIATE CODE: A131

Effective date: 20100323

A521 Request for written amendment filed

Free format text: JAPANESE INTERMEDIATE CODE: A523

Effective date: 20100520

RD02 Notification of acceptance of power of attorney

Free format text: JAPANESE INTERMEDIATE CODE: A7422

Effective date: 20100520

TRDD Decision of grant or rejection written
A01 Written decision to grant a patent or to grant a registration (utility model)

Free format text: JAPANESE INTERMEDIATE CODE: A01

Effective date: 20100817

A01 Written decision to grant a patent or to grant a registration (utility model)

Free format text: JAPANESE INTERMEDIATE CODE: A01

A61 First payment of annual fees (during grant procedure)

Free format text: JAPANESE INTERMEDIATE CODE: A61

Effective date: 20100830

FPAY Renewal fee payment (event date is renewal date of database)

Free format text: PAYMENT UNTIL: 20130924

Year of fee payment: 3

R150 Certificate of patent or registration of utility model

Ref document number: 4591559

Country of ref document: JP

Free format text: JAPANESE INTERMEDIATE CODE: R150

Free format text: JAPANESE INTERMEDIATE CODE: R150