JP2010003263A - 新聞自動販売機の新聞収納ラック - Google Patents

新聞自動販売機の新聞収納ラック Download PDF

Info

Publication number
JP2010003263A
JP2010003263A JP2008163738A JP2008163738A JP2010003263A JP 2010003263 A JP2010003263 A JP 2010003263A JP 2008163738 A JP2008163738 A JP 2008163738A JP 2008163738 A JP2008163738 A JP 2008163738A JP 2010003263 A JP2010003263 A JP 2010003263A
Authority
JP
Japan
Prior art keywords
newspaper
rack
vending machine
storage rack
needle
Prior art date
Legal status (The legal status is an assumption and is not a legal conclusion. Google has not performed a legal analysis and makes no representation as to the accuracy of the status listed.)
Granted
Application number
JP2008163738A
Other languages
English (en)
Other versions
JP5012687B2 (ja
Inventor
Takeshi Kasai
武司 笠井
Toru Moriyama
亨 守山
Hiroyuki Kakiuchi
弘行 垣内
Current Assignee (The listed assignees may be inaccurate. Google has not performed a legal analysis and makes no representation or warranty as to the accuracy of the list.)
Fuji Electric Retail Systems Co Ltd
Original Assignee
Fuji Electric Retail Systems Co Ltd
Priority date (The priority date is an assumption and is not a legal conclusion. Google has not performed a legal analysis and makes no representation as to the accuracy of the date listed.)
Filing date
Publication date
Application filed by Fuji Electric Retail Systems Co Ltd filed Critical Fuji Electric Retail Systems Co Ltd
Priority to JP2008163738A priority Critical patent/JP5012687B2/ja
Publication of JP2010003263A publication Critical patent/JP2010003263A/ja
Application granted granted Critical
Publication of JP5012687B2 publication Critical patent/JP5012687B2/ja
Expired - Fee Related legal-status Critical Current
Anticipated expiration legal-status Critical

Links

Images

Landscapes

  • Control Of Vending Devices And Auxiliary Devices For Vending Devices (AREA)
  • Vending Machines For Individual Products (AREA)

Abstract

【課題】新聞が確実に一部ずつ繰り出される新聞自動販売機の新聞収納ラックを提供すること。
【解決手段】前面及び上面が開口され、積層された状態で新聞を収納するラック31と、針が装着されたハンド36を後方から前方に移動させることにより、ラック31に収納された新聞を繰り出す搬出装置33とを備えた新聞自動販売機の新聞収納ラック3において、針の移動域となるラック31の底部に針が挿通する切り抜き32aを設けたので、すべての新聞が繰り出された後は針が切り抜きに挿通することになる。したがって、針が欠損することはない。また、針を保護するために、帯状のゴムやスポンジを底壁に貼り付ける必要がなく、帯状のゴムやスポンジによって底壁が盛り上がることがない。したがって、新聞紙と底壁との接触面積を減ずることがなく、収納してある新聞が残り少なくなっても新聞が確実に一部ずつ繰り出されるようになる。
【選択図】 図3

Description

本発明は、新聞を販売する新聞自動販売機の新聞収納ラックに関するものである。
新聞を販売する新聞自動販売機は、前面が開口した箱状の本体キャビネットと、本体キャビネットの前面開口を閉塞する外扉とを備えている。本体キャビネットには、上下方向に複数段の棚が設けてあり、各棚には、新聞収納ラックが引き出し可能に搭載してある。新聞収納ラックは、前面及び上面が開口した箱状のラックと、ラックから新聞を繰り出す搬出装置とを備えている。ラックは、販売する新聞を積層した状態で収納可能であって、搬出装置によって、前面開口から新聞が繰り出されるようになっている。搬出装置は、駆動ユニット、駆動ユニットに取り付けられ、後方から前方に移動させられるアーム、アームに取り付けられるとともに、新聞を引っ掛ける針が装着されたハンドを備えている。そして、自動販売機本体から販売指令を受信すると、駆動ユニットがアームを後方から前方に移動させることにより、ハンドが一冊ずつ新聞を繰り出すようになっている。
外扉は、本体キャビネットの新聞収納ラックに1対1で対応するように、上下方向に複数の新聞取出口を有している。新聞取出口は、通常の状態(販売待機状態)でシャッターにより閉塞され、新聞収納ラックから新聞が繰り出されると、その新聞がシャッターを開いて、新聞の一部が現れるようになっている(例えば、非特許文献1参照)。
ところで、新聞収納ラックは、ラックに新聞を積層した状態で収納し、搬出装置が一冊ずつ新聞を繰り出すようにしているため、積層した新聞相互間に作用する摩擦力により新聞が重なった状態で繰り出されたり、残り僅かになったときに最後の新聞とラック底壁との摩擦力との関係、すなわち、新聞相互間に作用する摩擦力よりも新聞とラック底壁との間に作用する摩擦力が小さいこと、により新聞が重なった状態で繰り出されたりすることがある。
このような事態を回避すべく、新聞が重なった状態で繰り出されないように、ゴム片をラックの側壁先端に取り付けたり、ハンドに装着された針の欠損を防ぐとともに、新聞が重なった状態で繰り出されないように、帯状のゴムやスポンジをラックの底壁に貼り付けたりしていた。
近畿車輛株式会社 「近畿車輌-新聞自動販売機-KNC-10」[平成20年6月1日検索]、インターネット<URL:http://www.kinkisharyo.co.jp/ja/sanki/sa-seihin/sa-knc-10.htm>
しかしながら、ゴムラバーやスポンジラバーは経年変化により、摩擦力が著しく小さくなったり、形状が変形したりするため、ラックの側壁先端やラックの底壁にゴムラバーやスポンジラバーを取り付けたり貼着したりしたとしても、所望の機能を果たさなくなることがある。
本発明は、上記実情に鑑みて、ゴムラバーやスポンジラバーの摩擦力が著しく小さくなったり、形状が変形したりするような長期間が経過しても、新聞が確実に一部ずつ繰り出される新聞自動販売機の新聞収納ラックを提供することを目的とする。
上記の目的を達成するために、本発明の請求項1に係る新聞自動販売機の新聞収納ラックは、前面及び上面が開口され、積層された状態で新聞を収納するラックと、針が装着されたハンドを後方から前方に移動させることにより、ラックに収納された新聞を繰り出す搬出装置とを備えた新聞自動販売機の新聞収納ラックにおいて、前記針の移動域となるラックの底部に針が挿通する切り抜きを設けたことを特徴とする。
また、本発明の請求項2に係る新聞自動販売機の新聞収納ラックは、上記請求項1において、前記切り抜きは、ラックに取り付けられ、ラックの底部を構成する底上部材に設けたことを特徴とする。
また、本発明の請求項3に係る新聞自動販売機の新聞収納ラックは、上記請求項1又は2において、ラックを構成する両側板の先端に、新聞が繰り出された場合に新聞の端面が接触するように前面開口を内方にすぼめるゲート部を設けたことを特徴とする。
また、本発明の請求項4に係る新聞自動販売機の新聞収納ラックは、上記請求項1〜3のいずれか一つにおいて、ラックの前面開口を開閉するゲート扉と、ゲート扉を閉塞するように付勢することにより、待機状態でゲート扉を閉塞する一方、新聞が繰り出された場合にゲート扉を開放する付勢手段とを備えたことを特徴とする。
本発明に係る新聞自動販売機の新聞収納ラックは、針の移動域となるラックの底部に針が挿通する切り抜きを設けたので、すべての新聞が繰り出された後は針が切り抜きに挿通することになる。したがって、針が欠損することはない。また、針を保護するために、帯状のゴムやスポンジを底壁に貼り付ける必要がなく、帯状のゴムやスポンジによって底壁が盛り上がることがない。したがって、新聞紙と底壁との接触面積を減ずることがなく、収納してある新聞が残り少なくなっても新聞が確実に一部ずつ繰り出されるようになる。
また、本発明に係る新聞自動販売機の新聞収納ラックは、ラックを構成する両側板の先端に、新聞が繰り出された場合に新聞の端面が接触するように前面開口を内方にすぼめるゲート部を設けたので、新聞がゲート部を通過する時に新聞の端面が接触することになる。このとき、新聞に抵抗が与えられるので、新聞が重なった状態で繰り出された場合には、下側の新聞は与えられた抵抗によってラック内にとどまり、上側の新聞のみがラックの前面開口から繰り出されることになる。したがって、新聞相互間に作用する摩擦力により新聞が重なって繰り出される事態が回避される。
また、本発明に係る新聞自動販売機の新聞収納ラックは、ラックの前面開口を開閉するゲート扉と、ゲート扉を閉塞するように付勢することにより、待機状態でゲート扉を閉塞する一方、新聞が繰り出された場合にゲート扉を開放する付勢手段とを備えたので、新聞に抵抗力を加え、新聞相互間に作用する摩擦力により新聞が重なって繰り出される事態が回避される。
以下に添付図面を参照して、本発明に係る新聞自動販売機の新聞収納ラックの好適な実施の形態を詳細に説明する。なお、この実施の形態によりこの発明が限定されるものではない。
図1は、新聞自動販売機を示す正面図である。新聞自動販売機は、新聞を販売する自動販売機であって、一台で複数種類(図1に示した新聞自動販売機は最大7種類)の新聞を販売できるようになっている。
新聞自動販売機は、前面が開口した箱状の本体キャビネット1と、本体キャビネット1の前面開口を閉塞する外扉2とを備えている。
本体キャビネット1は、鋼板を適宜組み合わせたもので、上下方向に複数段の棚が設けてあり、図2に示すように、各棚には、新聞収納ラック3が引き出し可能に搭載してある(図1に示した新聞自動販売機は7つの新聞収納ラック3が搭載してある。)。
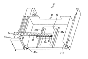
新聞収納ラック3は、販売する新聞を積層した状態で収納するとともに、販売指令にしたがって新聞を一冊ずつ繰り出すものであって、図2及び図3に示すように、ラック31と搬出装置33とを有している。
ラック31は、長手方向がラック31の幅方向となるようにして新聞を収納するもので、鋼板を折り曲げることにより構成してある。ラック31は、前面と上面とが開口した箱状を呈しており、ラック31に収納された新聞は前面開口から一冊ずつ繰り出されるようになっている。
図4に示すように、ラック31を構成する両側板の先端には、それぞれ、ゲート部31aが形成してある。ゲート部31aは、ラック31から新聞が繰り出された場合に新聞の端面が接触する部分であり、前面開口を内方にすぼめることにより形成してある。このように、ゲート部31aによってすぼめられた前面開口の開口幅は、新聞の長手方向幅と略同一となっている。
また、ラック31の底面には、ラック31の底部を構成する底上部材32が取り付けてある。底上部材32は、後述する針を保護するためのもので、板状体(例えば、鋼板)の両縁をそれぞれ階段状に折り曲げることにより、上面がラック31の底面から僅かに浮くように構成してある。また、底上部材32の上面には、切り抜き32aが設けてある。切り抜き32aは、針の移動域にわたり針が挿通するようにしたもので、矩形に形成してある。
搬出装置33は、ラック31から新聞を繰り出すためのもので、駆動ユニット34、アーム35、ハンド36を備えている。
駆動ユニット34は、ラック31の左側方部に配設してある。駆動ユニット34には、アーム35の一端が回動可能に取り付けてあり、販売指令にしたがってアーム35を後方から前方に移動させ、その後、アーム35を前方から後方に移動させるようになっている。
アーム35は、板状体(例えば、鋼板)の両縁を下方に折り曲げたものであって、軽量化等のため、複数の穴が切り抜いてある。アーム35の他端には、ハンド36が回動可能に取り付けてある。
ハンド36は、板状体(例えば、鋼板)を略L字状に折り曲げたもので、軽量化等のため、複数の穴が切り抜いてある。ハンド36の左側と右側には、それぞれ針ユニット37が取り付けてあり、その中央がアーム35に取り付けられている。このため、右側の針ユニット37と左側の針ユニット37とに均等に力が作用するようになっている。
図5に示すように、針ユニット37は、針371をハンド36に装着するためのものであり、針371が装着してあり、この針ユニット37をハンド36に取り付けることにより、ハンド36に針371が装着されるようになっている。針371は、新聞を引っ掛けるためのもので、針371が新聞を引っ掛けた状態で駆動ユニット34を駆動すると、アーム35が後方から前方に移動し、ハンド36が新聞を繰り出すようになっている。
図5に示すように、ハンド36は、カバー38を備えている。カバー38は、アーム35を持ち上げることにより、針371が新聞の紙面から離反した場合に針371を覆い隠すものであり、ハンド36を降ろした場合に針371が露出するようになっている。
図1に示すように、外扉2は、鋼板を適宜組み合わせたもので、本体キャビネット1の左側縁に支承してある。外扉2の右側中程には、ハンドルロック21が配設してあり、外扉2を閉塞した状態で施錠可能となっている。
また、外扉2の右側には、硬貨投入口22、紙幣挿入口23、電子マネー受付部24、一体表示器25、返却レバー26、返却口27が配設してある。硬貨投入口22は、硬貨を受け付けるための開口であって、硬貨投入口22から投入された硬貨は、外扉2の背面内側に配設したコインメカニズム(硬貨処理装置)(図示せず)に収容されるようになっている。紙幣挿入口23は、紙幣を受け付けるための開口であって、紙幣挿入口23から挿入された紙幣は、外扉2の背面内側に配設したビルバリデータ(紙幣処理装置)(図示せず)に収容されるようになっている。電子マネー受付部24は、電子マネーがチャージされたカード等の記録媒体を受け付ける部分であって、記録媒体がかざされると、記録媒体との間で電子マネーデータを送受信することにより、対価を収受するようになっている。一体表示器25は、販売中、釣り銭切れ、投入金額、お札禁止等の各種情報を表示するためのものである。返却レバー26は、取引の中断を指示するためのものであって、返却レバー26が操作されると、取引が中断され、釣り銭等を返却口27に放出するようになっている。
また、外扉2には、表示選択装置4と新聞取出口装置5とが上下方向に複数設けてある(図1に示した新聞自動販売機は7つの表示選択装置4と7つの新聞取出口装置5とが設けてある)。表示選択装置4と新聞取出口装置5とは、1対1の関係を有しており、本体キャビネット1に搭載した新聞収納ラック3と対応するように設けてある。
表示選択装置4は、新聞の紙名(朝刊、夕刊の別を含む)が記載されたプレート41と、プレート41に記載された新聞を選択する選択ボタン42とを有している。プレート41は、外扉2の背面に装着してあり、外扉2を開放した状態で入れ替え可能となっている。選択ボタン42は、例えば、点灯可能な押しボタンスイッチで構成してあり、選択可能な場合に点灯し、選択された場合には一定時間点滅するように制御される。なお、最上段の表示選択装置4には、上方に隣接する展示部43が設けてある。展示部43には、透明なパネル43aが嵌め込んであり、注目記事が掲載された新聞を展示できるようになっている。
新聞取出口装置5は、図2に示すように、新聞収納ラック3から搬出された新聞を取り出すためのものである。新聞取出口装置5は、図6に示すように、前面の一部が外扉2の前面に露出する化粧枠51を備えている。図6に示すように、化粧枠51は、新聞自動販売機の幅方向に幅広となる合成樹脂製の枠体であって、枠部51aと凸部51bとを有している。枠部51aは、外扉2に取り付けられ、前面が外扉2の背面に密着するようになっており、外形が略矩形であって、奥行き方向に厚みを有している。凸部51bは、外扉2の前面に露出する部分であって、外形が略矩形であって、奥行き方向に外扉2の厚みと同一の厚みを有している。したがって、化粧枠51を外扉2に取り付けた場合に凸部51bの前面と外扉2の前面とが面一になる。
図6及び図7に示すように、化粧枠51には、新聞取出口51cが形成してある。新聞取出口51cは、新聞を取り出すための開口であって、化粧枠51の枠部51aと凸部51b、すなわち、化粧枠51を貫通するように形成してある。新聞取出口51cは、正面視矩形に形成してあり、その開口幅は、新聞が通るように、新聞の長手方向の長さと略同一となるように形成してある。
また、図7に示すように、新聞取出口51cの奥方上方部には、フラッパ52が支承してある。フラッパ52は、奥方から手前側に向けて漸次低くなるように傾斜した状態で新聞取出口51cを閉塞するもので、フラッパ52が新聞取出口51cを閉塞した状態で、フラッパ52の手前側端部が化粧枠51の凸部51bから突出するようになっている。
図6及び図7に示すように、複数の化粧枠51に左右一対となるガイド側板61が取り付けてある。ガイド側板61は、化粧枠51の側部を補強するとともに、新聞収納ラック3から繰り出された新聞の幅方向の移動を規制するもので、左側のガイド側板61Lと右側のガイド側板61Rとは左右対称に形成してある。
また、図6及び図7に示すように、一対のガイド側板61の間には、新聞取出口51c(化粧枠51)ごとに、上ガイド板62とした下ガイド板63とが配設してある。
上ガイド板62は、新聞収納ラック3から最初のほうに繰り出された新聞を新聞取出口51cに搬出するためのものであって、一枚の鋼板を折り曲げることにより、形成してある。
下ガイド板63は、新聞収納ラック3から最後のほうに繰り出された新聞を新聞取出口51cに搬出するためのもので、一枚の鋼板を折り曲げることにより、形成してある。
上述した新聞自動販売機は、販売待機時に、図7に示すように、フラッパ52が奥方から手前側に傾斜した状態で新聞取出口51cを閉塞している。そして、硬貨投入口22等から対価が収受され、新聞が選択されると、新聞自動販売機は、選択された新聞が収納されている新聞収納ラック3に販売指令が出力され、新聞収納ラック3は、新聞を繰り出すことになる。
具体的には、ハンド36を降ろすことにより、針371に新聞を引っ掛けた状態で、アーム35を後方から前方に移動させることにより、ラック31から新聞を繰り出すことになる。このとき、ラック31を構成する両側板の先端に設けられたゲート部31aに新聞の端面が接触することになり、新聞に抵抗が与えられることになる。したがって、新聞が重なった状態で繰り出された場合には、下側の新聞は与えられた抵抗によってラック31内にとどまり、上側の新聞のみがラック31の前面開口から繰り出されることになる。
そして、繰り出された新聞は、上ガイド板62、下ガイド板63及びガイド側板61にガイドされ、新聞取出口51cに搬出される。搬出された新聞は、自動販売機の新聞取出口装置5において、フラッパ52を押し開け、新聞取出口51cから商品の一部が現れる。この状態になると、新聞は利用者によって取り出し可能である。ここで、利用者が新聞を取り出すと、フラッパ52は自重によって新聞取出口51cを閉塞し、待機状態となる。
上述した新聞自動販売機の新聞収納ラック3は、針371の移動域となるラック31の底部を構成する底上部材32に針が挿通する切り抜き32aを設けたので、すべての新聞が繰り出された後は、針371が切り抜きに挿通することになる。したがって、針が欠損することがない。また、針を保護するために、帯状のゴムやスポンジを底壁に貼り付ける必要がなく、帯状のゴムやスポンジによってラック31の底壁が盛り上がることがない。したがって、新聞紙と底壁の接触面積を減ずることがなく、ラック31に収納してある新聞が残り少なくなっても新聞が確実に一部ずつ繰り出されるようになる。
また、新聞自動販売機の新聞収納ラック3は、ラック31を構成する両側板の先端に、新聞が繰り出された場合に新聞の端面が接触するように前面開口を内方にすぼめるゲート部31aを設けたので、新聞がゲート部31aを通過する時に新聞の端面が接触することになる。このとき、新聞に抵抗が与えられることになるので、新聞が重なった状態で繰り出された場合には、下側の新聞は与えられた抵抗によってラック31内にとどまり、上側の新聞のみがラック31の前面開口から繰り出されることになる。したがって、新聞相互間に作用する摩擦力により新聞が重なって繰り出される事態が回避される。
また、図8に示すように、ラック31の前面開口を開閉するゲート扉7と、ゲート扉7を閉塞するように付勢するバネ71(付勢手段)とを設け、待機状態でゲート扉7を閉塞する一方、搬出装置33によって新聞が繰り出された場合に新聞がゲート扉7を押し開けることにより開放するようにしてもよい。
このように、ゲート扉7とゲート扉7を閉塞するように付勢するバネ71を設ければ、繰り出される新聞によってゲート扉7が開放されることになる。このとき、ゲート扉7によって抵抗が与えられることになるので、新聞が重なった状態で繰り出された場合には、下側の新聞はゲート扉に当接することによりラック31内にとどまり、上側の新聞のみがラック31の前面開口から繰り出されることになる。したがって、新聞相互間に作用する摩擦力により新聞が繰り出される事態が回避される。
新聞自動販売機を示す正面図である。 新聞取出口装置と新聞収納ラックとの関係を示す斜視図である。 新聞収納ラックを示す斜視図である。 ゲート部を示す拡大平面図である。 新聞を搬出するハンドを示す斜視図である。 新聞取出口装置を示す斜視図である。 新聞取出口措置を示す側断面図である。 ゲート扉を備えた新聞収納ラックを示す斜視図である。
符号の説明
1 本体キャビネット
2 外扉
3 新聞収納ラック
31 ラック
31a ゲート部
32 底上部材
33 搬出装置
34 駆動ユニット
35 アーム
36 ハンド
37 針ユニット
371 針
38 カバー
4 表示選択装置
5 新聞取出口装置
7 ゲート扉
71 バネ

Claims (4)

  1. 前面及び上面が開口され、積層された状態で新聞を収納するラックと、針が装着されたハンドを後方から前方に移動させることにより、ラックに収納された新聞を繰り出す搬出装置とを備えた新聞自動販売機の新聞収納ラックにおいて、
    前記針の移動域となるラックの底部に針が挿通する切り抜きを設けたことを特徴とする新聞自動販売機の新聞収納ラック。
  2. 前記切り抜きは、ラックに取り付けられ、ラックの底部を構成する底上部材に設けたことを特徴とする請求項1に記載の新聞自動販売機の新聞収納ラック。
  3. ラックを構成する両側板の先端に、新聞が繰り出された場合に新聞の端面が接触するように前面開口を内方にすぼめるゲート部を設けたことを特徴とする請求項1又は2に記載の自動販売機の新聞収納ラック。
  4. ラックの前面開口を開閉するゲート扉と、ゲート扉を閉塞するように付勢することにより、待機状態でゲート扉を閉塞する一方、新聞が繰り出された場合にゲート扉を開放する付勢手段とを備えたことを特徴とする請求項1〜3のいずれか一つに記載の自動販売機の新聞収納ラック。
JP2008163738A 2008-06-23 2008-06-23 新聞自動販売機の新聞収納ラック Expired - Fee Related JP5012687B2 (ja)

Priority Applications (1)

Application Number Priority Date Filing Date Title
JP2008163738A JP5012687B2 (ja) 2008-06-23 2008-06-23 新聞自動販売機の新聞収納ラック

Applications Claiming Priority (1)

Application Number Priority Date Filing Date Title
JP2008163738A JP5012687B2 (ja) 2008-06-23 2008-06-23 新聞自動販売機の新聞収納ラック

Publications (2)

Publication Number Publication Date
JP2010003263A true JP2010003263A (ja) 2010-01-07
JP5012687B2 JP5012687B2 (ja) 2012-08-29

Family

ID=41584905

Family Applications (1)

Application Number Title Priority Date Filing Date
JP2008163738A Expired - Fee Related JP5012687B2 (ja) 2008-06-23 2008-06-23 新聞自動販売機の新聞収納ラック

Country Status (1)

Country Link
JP (1) JP5012687B2 (ja)

Citations (5)

* Cited by examiner, † Cited by third party
Publication number Priority date Publication date Assignee Title
JPS50130398U (ja) * 1974-04-06 1975-10-25
US4296873A (en) * 1978-12-12 1981-10-27 Tax O Mex Ag Automatic vending arrangement
US4865178A (en) * 1987-06-18 1989-09-12 Lew Enterprises, Inc. Single copy vending machine for newspapers and the like
JPH06318286A (ja) * 1993-03-12 1994-11-15 Mitsubishi Heavy Ind Ltd 高速自動販売機
US5531355A (en) * 1994-09-08 1996-07-02 Ullmann; Ralph J. Single vend machine

Patent Citations (5)

* Cited by examiner, † Cited by third party
Publication number Priority date Publication date Assignee Title
JPS50130398U (ja) * 1974-04-06 1975-10-25
US4296873A (en) * 1978-12-12 1981-10-27 Tax O Mex Ag Automatic vending arrangement
US4865178A (en) * 1987-06-18 1989-09-12 Lew Enterprises, Inc. Single copy vending machine for newspapers and the like
JPH06318286A (ja) * 1993-03-12 1994-11-15 Mitsubishi Heavy Ind Ltd 高速自動販売機
US5531355A (en) * 1994-09-08 1996-07-02 Ullmann; Ralph J. Single vend machine

Also Published As

Publication number Publication date
JP5012687B2 (ja) 2012-08-29

Similar Documents

Publication Publication Date Title
US9272563B2 (en) Sliding panel box gift card holder
JP5831010B2 (ja) ロック装置及び現金自動取引装置
JP6459756B2 (ja) 媒体収納装置及び媒体取引装置
JP5012687B2 (ja) 新聞自動販売機の新聞収納ラック
JP5163382B2 (ja) 新聞自動販売機
JP5098904B2 (ja) 新聞自動販売機の新聞収納ラック
JP2014219901A (ja) 媒体収納装置及び媒体取引装置
JP5928143B2 (ja) 媒体入出部及び媒体取引装置
JP4962428B2 (ja) 自動販売機の商品取出口装置
JP5375443B2 (ja) 自動販売機
JP5012697B2 (ja) 新聞自動販売機の新聞収納ラック
JP4924550B2 (ja) 新聞自動販売機の新聞収納ラック
TWM335752U (en) Collecting case adjusting baffle to prevent bill from jutting
JP4962427B2 (ja) 新聞自動販売機
JP5098916B2 (ja) 新聞自動販売機の新聞収納ラック
JP4793231B2 (ja) カード払出装置
JP6478442B2 (ja) 媒体集積装置及び媒体処理装置
JP7399660B2 (ja) Pos装置
JP7298410B2 (ja) 媒体受渡装置及び媒体取引装置
JP7226098B2 (ja) 媒体処理装置及び媒体取引装置
JP5294254B2 (ja) 硬貨収容容器
JP5332987B2 (ja) 硬貨収納装置
JP4492455B2 (ja) 自動販売機
JP2008276521A (ja) 物品払出装置および自動販売機
JP4591380B2 (ja) コイン収容装置

Legal Events

Date Code Title Description
A625 Written request for application examination (by other person)

Free format text: JAPANESE INTERMEDIATE CODE: A625

Effective date: 20100714

A977 Report on retrieval

Free format text: JAPANESE INTERMEDIATE CODE: A971007

Effective date: 20111110

A131 Notification of reasons for refusal

Free format text: JAPANESE INTERMEDIATE CODE: A131

Effective date: 20120110

A521 Written amendment

Free format text: JAPANESE INTERMEDIATE CODE: A523

Effective date: 20120222

TRDD Decision of grant or rejection written
A01 Written decision to grant a patent or to grant a registration (utility model)

Free format text: JAPANESE INTERMEDIATE CODE: A01

Effective date: 20120508

A01 Written decision to grant a patent or to grant a registration (utility model)

Free format text: JAPANESE INTERMEDIATE CODE: A01

A61 First payment of annual fees (during grant procedure)

Free format text: JAPANESE INTERMEDIATE CODE: A61

Effective date: 20120521

FPAY Renewal fee payment (prs date is renewal date of database)

Free format text: PAYMENT UNTIL: 20150615

Year of fee payment: 3

R150 Certificate of patent (=grant) or registration of utility model

Free format text: JAPANESE INTERMEDIATE CODE: R150

FPAY Renewal fee payment (prs date is renewal date of database)

Free format text: PAYMENT UNTIL: 20150615

Year of fee payment: 3

S111 Request for change of ownership or part of ownership

Free format text: JAPANESE INTERMEDIATE CODE: R313111

FPAY Renewal fee payment (prs date is renewal date of database)

Free format text: PAYMENT UNTIL: 20150615

Year of fee payment: 3

R350 Written notification of registration of transfer

Free format text: JAPANESE INTERMEDIATE CODE: R350

LAPS Cancellation because of no payment of annual fees