JP2010002615A - ハイブリッド現像用トナー、ハイブリッド現像用現像剤、ハイブリッド現像用現像装置および画像形成装置 - Google Patents

ハイブリッド現像用トナー、ハイブリッド現像用現像剤、ハイブリッド現像用現像装置および画像形成装置 Download PDF

Info

Publication number
JP2010002615A
JP2010002615A JP2008160678A JP2008160678A JP2010002615A JP 2010002615 A JP2010002615 A JP 2010002615A JP 2008160678 A JP2008160678 A JP 2008160678A JP 2008160678 A JP2008160678 A JP 2008160678A JP 2010002615 A JP2010002615 A JP 2010002615A
Authority
JP
Japan
Prior art keywords
toner
particles
electric field
carrier
reverse polarity
Prior art date
Legal status (The legal status is an assumption and is not a legal conclusion. Google has not performed a legal analysis and makes no representation as to the accuracy of the status listed.)
Granted
Application number
JP2008160678A
Other languages
English (en)
Other versions
JP4683077B2 (ja
Inventor
Takayuki Takai
隆幸 高井
Current Assignee (The listed assignees may be inaccurate. Google has not performed a legal analysis and makes no representation or warranty as to the accuracy of the list.)
Konica Minolta Business Technologies Inc
Original Assignee
Konica Minolta Business Technologies Inc
Priority date (The priority date is an assumption and is not a legal conclusion. Google has not performed a legal analysis and makes no representation as to the accuracy of the date listed.)
Filing date
Publication date
Application filed by Konica Minolta Business Technologies Inc filed Critical Konica Minolta Business Technologies Inc
Priority to JP2008160678A priority Critical patent/JP4683077B2/ja
Publication of JP2010002615A publication Critical patent/JP2010002615A/ja
Application granted granted Critical
Publication of JP4683077B2 publication Critical patent/JP4683077B2/ja
Expired - Fee Related legal-status Critical Current
Anticipated expiration legal-status Critical

Links

Images

Landscapes

  • Developing For Electrophotography (AREA)
  • Dry Development In Electrophotography (AREA)

Abstract

【課題】長期的に安定したトナー現像を行うことができるハイブリッド現像用トナー、現像剤、現像装置および画像形成装置を提供すること。
【解決手段】少なくともバインダー樹脂および着色剤が含有されてなり、キャリアとの摩擦接触によって帯電されるトナー粒子;およびキャリアとの摩擦接触によってトナー粒子の帯電極性とは逆の極性に帯電される逆極性粒子;を含み、逆極性粒子をトナー粒子に対して少なくとも2水準の付着強度で付着させたことを特徴とするハイブリッド現像用トナー。該トナーおよびキャリアを含むハイブリッド現像用現像剤。該現像剤を備えた現像装置および画像形成装置。
【選択図】図1

Description

本発明は、ハイブリッド現像方式で使用されるのに適したトナー、現像剤、現像装置および画像形成装置に関する。
電子写真方式の画像形成装置に採用されている現像方式として、現像剤の主成分としてトナーのみを用いる一成分現像方式と、現像剤の主成分としてトナーとキャリアを用いる二成分現像方式が知られている。
一成分現像方式の現像装置は、トナーを担持して搬送するトナー担持部材と該トナー担持部材のトナー担持面に接触する摩擦荷電部材を備えている。トナー担持部材に担持されているトナーは、摩擦荷電部材の接触位置を通過する際、摩擦荷電部材と摩擦接触して薄層化されると共に所定の極性に帯電される。このように、一成分現像装置は、トナーの帯電を摩擦荷電部材との摩擦接触によって行っているため、構成が簡単・小型・安価であるという利点がある。しかし、摩擦荷電部材の接触位置で強いストレスを受けることからトナーが劣化し易く、そのためにトナーの帯電性が比較的早期に損なわれる。また、トナー担持部材と摩擦荷電部材との接触圧によって両者にトナーが付着してトナーを帯電する能力が低下し、結果的に、現像装置の寿命が比較的短くなる。
二成分現像方式の現像装置は、トナーとキャリアを摩擦接触させることによって両者を所定の極性に荷電するため、トナーの受けるストレスは一成分現像装置に比べて少ない。キャリアも、その表面積はトナーに比べて大きいことから、トナーが付着して汚れることも少ない。しかし、長期間の使用によりキャリアの表面にトナーの微粉砕物などが付着する汚れ(スペント)が発生し、そのためにトナーを帯電する能力が低下し、かぶりやトナー飛散の問題が生じる。二成分現像装置の長寿命化を図るために、現像装置に収容するキャリアの量を増やすことが考えられるが、これは現像装置の大型化を招く。
二成分現像装置に係わる上述の問題を解消するため、磁気ローラの外周面に保持されたトナーとキャリアを含む現像剤からトナーだけを選択的に現像ローラの外周面に供給し、この現像ローラの外周面に保持されたトナーを用いて感光体上の静電潜像(静電潜像画像部)を現像するハイブリッド現像方式が提案されている(特許文献1)。そのような現像方式では、キャリアとの摩擦接触によってトナーの帯電極性とは逆の極性に帯電される逆極性粒子を現像剤に添加して、キャリアに付着させる。これにより、当該逆極性粒子がキャリアの荷電サイトとして働き、キャリアのトナー帯電能を確保し、キャリア劣化を抑制できる。そのようなハイブリッド現像方式では、出力用紙に対する印字部比率が3%以上あるような原稿出力においては比較的長期に渡り、安定したトナー帯電性、トナーと現像ローラ間付着力が得られ画像が安定するものの、印字部比率が3%未満であるような原稿の長期連続出力時やフルカラーモードでモノクロ原稿を長期連続出力した場合のカラー現像器においては、逆極性粒子のトナー粒子への埋没やトナー粒子からの離脱に伴うトナーと現像ローラ間の付着力増加が起こり、長期的に安定したトナーの現像性が得られず、画像濃度が低下した。
そこで、ピーク粒径が0.8〜1.5μの逆極性粒子と、ピーク粒径が0.2〜0.6μmの粒子とを併用する技術が提案されている(特許文献2)。これによって、トナーへの逆極性粒子の埋没を抑えることができるというものである。そのような技術においては、文字画像のような画像面積比(白黒比)の小さな画像を連続して印字したとき、逆極性粒子のトナー粒子への埋没は抑制されるものの、現像ローラ表面において逆極性粒子の量が減少し、トナーの現像性が低下するため、画像濃度がやはり低下した。
特開2003−287959号公報 特開2007−127854号公報
本発明は、長期的に安定したトナー現像を行うことができるハイブリッド現像用トナー、現像剤、現像装置および画像形成装置を提供することを目的とする。
本発明のハイブリッド現像用トナーは、
少なくともバインダー樹脂および着色剤が含有されてなり、キャリアとの摩擦接触によって帯電されるトナー粒子;および
該トナー粒子に外添され、キャリアとの摩擦接触によってトナー粒子の帯電極性とは逆の極性に帯電される逆極性粒子;
を含み、逆極性粒子をトナー粒子に対して少なくとも2水準の付着強度で付着させている。
また、本発明のハイブリッド現像用現像剤は、上記トナーおよびキャリアを含む。
また、本発明のハイブリッド現像用現像装置は、トナーとキャリアを含む現像剤を用いて、静電潜像担持体上の静電潜像を可視像化する現像装置であって、
上記現像剤;
該現像剤を収容する現像槽の開口部に配置された第1の搬送部材;
第1の領域を介して該第1の搬送部材に対向し、第2の領域を介して静電潜像担持体に対向する第2の搬送部材;
第1の搬送部材と第2の搬送部材との間に第1の電界を形成して、第1の搬送部材が保持している現像剤中のトナーを第2の搬送部材に移動させる第1の電界形成手段;
第2の搬送部材と静電潜像担持体との間に第2の電界を形成して、第2の搬送部材が保持しているトナーを静電潜像担持体の静電潜像に移動させて静電潜像を可視像化する第2の電界形成手段を備えており、
第1の搬送部材と第2の搬送部材との間に形成される第1の電界が少なくとも直流電界を含み、
トナーに直流電界を適用し、該直流電界の強度を経時的に増大させながらトナー粒子から逆極性粒子を電界分離させたときに逆極性粒子の分離量の顕著な増大を示す少なくとも2水準の電界強度のうち、最小の電界強度と、2番目に小さい電界強度との間に、前記第1の電界の直流電界を設定する。
また、本発明の画像形成装置は、上記現像装置を備える。
本発明によれば、逆極性粒子をトナー粒子に対して2水準の付着強度で付着させるので、比較的低い付着強度の逆極性粒子がキャリアに移行し、キャリアの荷電サイトとして働く。そのため、キャリアのトナー帯電能が確保され、キャリア劣化を長期わたって抑制できる。比較的高い付着強度の逆極性粒子はトナー粒子とともに挙動し、現像ローラ表面においてトナー粒子のスペーサーとして機能する。そのため、トナーの現像性(流動性)が向上し、画像面積比(白黒比)の小さな画像を連続して印字しても、画像濃度の低下を防止できる。
〔ハイブリッド現像用トナー〕
本発明に係るハイブリッド現像用トナー(以下、単にトナーという)は、トナー粒子および該トナー粒子に外添される外添剤を含むものである。
トナー粒子は少なくともバインダー樹脂および着色剤を含有するもので、キャリアとの摩擦接触により所定の極性に帯電されるものである。トナー粒子は、さらに離型剤および/または荷電制御剤等の他の添加剤が含有されてもよい。
トナー粒子に含有されるバインダー樹脂は、特に限定的ではなく、例えば、スチレン系樹脂(スチレンまたはスチレン置換体を含む単重合体または共重合体、例えばスチレン・アクリル共重合体)、ポリエステル樹脂、エポキシ系樹脂、塩化ビニル樹脂、フェノール樹脂、ポリエチレン樹脂、ポリプロピレン樹脂、ポリウレタン樹脂、シリコーン樹脂、窒素含有アクリル樹脂またはそれらの樹脂を任意に混ぜ合わせたものが挙げられる。バインダー樹脂は、軟化温度が約80〜160℃の範囲、ガラス転移点が約40〜75℃の範囲であることが好ましい。
トナー粒子のバインダー樹脂は現像時におけるトナー粒子の帯電極性を考慮して決定されることが好ましい。例えば、負帯電性トナー粒子には、スチレン・アクリル共重合体、ポリエステルを単独または適宜混合して使用することが好ましい。また例えば、正帯電性トナー粒子には、スチレン・アクリル共重合体を使用することが好ましい。
着色剤は、トナーの分野で従来から着色剤として使用されている公知の材料が使用される。着色剤の具体例として、例えば、カーボンブラック、アニリンブラック、活性炭、マグネタイト、ベンジンイエロー、パーマネントイエロー、ナフトールイエロー、フタロシアニンブルー、ファーストスカイブルー、ウルトラマリンブルー、ローズベンガル、レーキーレッド等が挙げられる。着色剤の添加量は、一般に、バインダー樹脂100重量部に対して、2〜20重量部であることが好ましい。
離型剤は、トナーの分野で従来から離型剤として使用されている公知のものが使用される。離型剤の具体例として、例えば、ポリエチレン、ポリプロピレン、カルナバワックス、サゾールワックス、又はそれらを適宜組み合わせた混合物が用いられる。離型剤は、バインダー樹脂100重量部に対して、0.1〜10重量部の割合で用いることが好ましい。
荷電制御剤は、トナーの分野で従来から荷電制御剤として使用されている公知の材料が使用される。具体的には、正極性に帯電するトナー粒子には、例えばニグロシン系染料、4級アンモニウム塩系化合物、トリフェニルメタン系化合物、イミダゾール系化合物、ポリアミン樹脂が正荷電制御剤として使用できる。負極性に帯電するトナーには、Cr、Co、Al、Fe等の金属含有アゾ系染料、サリチル酸金属化合物、アルキルサリチル酸金属化合物、カーリックスアレーン化合物が負荷電制御剤として使用できる。荷電制御剤は、バインダー樹脂100重量部に対して、0.1〜10重量部の割合で用いることが好ましい。
トナー粒子の製造方法は、特に製造されず、例えば、いわゆる粉砕法、および懸濁重合法、乳化重合会合法、溶解懸濁法等の湿式法が挙げられる。トナー粒子の粒度分布がシャープで、画像が優れ、高い現像剤寿命が得られる点で、トナー粒子は乳化重合会合法で製造されたものが好ましい。トナー粒子の体積平均粒径は特に制限されず、例えば約3〜15μmである。トナー粒子の平均粒径は、コールターマルチサイザーIII(ベックマンコールター社製)により、100μmのアパチャーチューブを用いて測定された値を用いている。
乳化重合会合法によるトナー粒子の製造方法について説明する。乳化重合会合法によるトナー粒子の製造方法は、水系媒体中でトナー粒子を形成させる方法で、例えば特開2002−351142号公報等に開示されている。また、特開平5−265252号公報、特開平6−329947号公報、特開平9−15904号公報に開示される樹脂粒子を水系媒体中で塩析/融着させてトナー粒子分散液を製造する方法を挙げることができる。具体的には、水中で樹脂粒子および所望により着色剤粒子を乳化剤を用いて分散させた後、臨界凝集濃度以上の凝集剤を加えて塩析(凝集)させると同時に、形成された重合体自体のガラス転移温度以上で加熱融着させて融着粒子を形成しつつ徐々に粒子径を成長させ、目的の粒子径となったところで水を多量に加えて粒子径成長を停止し、さらに加熱、撹拌しながら粒子表面を平滑にして形状を制御し、トナー粒子分散液を調製するものである。凝集剤と同時にアルコールなど水に対して無限溶解する溶媒を加えてもよい。水系媒体としては、例えば、水、メタノール、エタノール、イソプロパノール、ブタノール、2−メチル−2−ブタノール、アセトン、メチルエチルケトン、テトラヒドロフラン、またはこれらを混合したものを挙げることができるが特に限定されるものではない。トナー粒子の製造にはこれらの中から適したものを選ぶことができる。水系媒体にはさらに他の有機溶媒を添加してもよい。有機溶媒としては、トルエン、キシレン、またはこれらを混合したものを挙げることができるが特に限定されるものではない。
トナー粒子に外添される外添剤としては、少なくとも逆極性粒子が使用される。
逆極性粒子は、キャリアとの摩擦接触によって、キャリアに対するトナー粒子の帯電極性とは逆の極性に帯電されるものである。キャリアに対する帯電極性が、逆極性粒子とトナー粒子とで異なることは、それらのキャリアに対する帯電量を測定することによって知見できる。例えば、キャリアおよび逆極性粒子に対して所定の混合を行い、逆極性粒子の帯電量をブローオフ法により測定する。一方、キャリアおよびトナー粒子に対しても所定の混合を行い、トナー粒子の帯電量をブローオフ法により測定する。その結果、逆極性粒子の帯電量とトナー粒子の帯電量とが異なる符号を有する場合、それらの粒子のキャリアに対する帯電極性は異なるものと知見できる。
ブローオフ法による帯電量は、帯電量測定装置「ブローオフ式TB−200」(東芝社製)により測定できる。
逆極性粒子は、例えばキャリアとの摩擦接触により負極性に帯電されるトナー粒子を用いる場合、キャリアとの摩擦接触により正極性に帯電される粒子が使用される。そのような粒子は、例えば、チタン酸ストロンチウム、チタン酸バリウム、チタン酸マグネシウム、チタン酸カルシウム、アルミナ等の無機粒子やアクリル樹脂、ベンゾグアナミン樹脂、ナイロン樹脂、ポリイミド樹脂、ポリアミド樹脂等の、熱可塑性樹脂あるいは熱硬化性樹脂で構成された樹脂粒子が使用できる。逆極性粒子を構成する樹脂に、キャリアとの接触により正極性に帯電する正荷電制御剤を含有させた粒子であってもよい。正荷電制御剤には、例えば、ニグロシン染料、四級アンモニウム塩等が使用できる。逆極性粒子は含窒素ポリマーで構成してもよい。含窒素ポリマーを構成するモノマー材料には、例えば、アクリル酸2−ジメチルアミノエチル、アクリル酸2−ジエチルアミノエチル、メタクリル酸2−ジメチルアミノエチル、メタクリル酸2−ジエチルアミノエチル、ビニールピリジン、N−ビニールカルバゾール、ビニールイミダゾール等が挙げられる。キャリアを構成する樹脂と逆極性粒子(正帯電性)を構成する材料との好ましい組み合わせは以下の通りである。キャリアを構成する樹脂とは、キャリアがバインダー型の場合のバインダー樹脂、およびコート型の場合のコート樹脂を包含して意味するものとする。
(キャリア構成樹脂−逆極性粒子(正帯電性))
アクリル樹脂−チタン酸ストロンチウム
シリコーン樹脂−チタン酸バリウム
メラミン樹脂−ジルコン酸カルシウム
ベンゾグアナミン樹脂−ジルコン酸マグネシウム
また例えば、キャリアとの摩擦接触により正極性に帯電されるトナー粒子を用いる場合、逆極性粒子は、キャリアとの摩擦接触により負極性に帯電される粒子が使用される。そのような粒子は、例えば、シリカ、酸化チタン等の無機粒子、また、フッ素樹脂、ポリオレフィン樹脂、シリコーン樹脂、ポリエステル樹脂等の、熱可塑性樹脂あるいは熱硬化性樹脂で構成された樹脂粒子が使用できる。キャリアとの接触により負極性に帯電する負荷電制御剤を、逆極性粒子を構成する樹脂に含有させた粒子であってもよい。負荷電制御剤には、例えば、サリチル酸系、ナフトール系のクロム錯体、アルミニウム錯体、鉄錯体、亜鉛錯体等を使用できる。逆極性粒子は、含フッ素アクリル系モノマーや含フッ素メタクリル系モノマーの共重合体粒子であってもよい。キャリアを構成する樹脂と逆極性粒子(負帯電性)を構成する材料との好ましい組み合わせは以下の通りである。
(キャリア構成樹脂−逆極性粒子(負帯電性))
アクリル樹脂−シリカ
フッ素樹脂−シリカ
ポリエステル−酸化アルミニウム
ポリオレフィン−ポリフッ化アクリルビーズ
逆極性粒子の帯電性および疎水性を制御するために、無機粒子の表面をシランカップリング剤、チタンカップリング剤、シリコーンオイル等で表面処理してもよい。特に、無機粒子に正極性帯電性を付与する場合、アミノ基含有カップリング剤で表面処理することが好ましい。粒子に負極性帯電性を付与する場合、フッ素基含有カップリング剤で表面処理することが好ましい。
本発明において逆極性粒子はトナー粒子に対して少なくとも2水準の付着強度で付着されている。すなわちトナー粒子に外添されて付着された逆極性粒子の中には、少なくとも比較的大きな付着強度で付着されているものと、比較的小さな付着強度で付着されているものとが存在する。
逆極性粒子の付着強度および付着状態は、トナー粒子から逆極性粒子を直流電界により分離するときの、電界強度と逆極性粒子の分離量との関係を調べることによって容易に知見できる。すなわち、トナーに直流電界を適用し、当該直流電界の強度を経時的に徐々に増大させながらトナー粒子から逆極性粒子を電界分離させたとき、少なくとも2水準の電界強度で逆極性粒子の分離量の顕著な増大を示せば、逆極性粒子がトナー粒子に対して少なくとも2水準の付着強度で付着されていたことがわかる。
少なくとも2水準の電界強度で逆極性粒子の分離量の顕著な増大を示すとは、電界強度を横軸に、各電界強度での逆極性粒子の分離量を縦軸に示してグラフを描いたとき、前後の分離量よりも大きな分離量を示すピークが少なくとも2つ現れる、という意味である。
そのような逆極性粒子の分離量と電界強度との関係を表すグラフ(以下、付着強度グラフという)の一例を図1に示す。図1では、電界強度を徐々に増大させたとき、逆極性粒子の分離量が増大するピークが電界強度x、xにおいてそれぞれP、Pとして現れている。
本明細書中、付着強度グラフにおいて、ピークを示す全ての電界強度のうち、最小の電界強度をx、第2のピークの電界強度をxと示すものとする。
本発明においてピークを示す電界強度のうち最小の電界強度xは通常1×10〜1×10V/mであり、好ましくは5×10〜1×10V/mである。xが小さすぎると、逆極性粒子のキャリアへの転移が多くなりすぎトナー帯電の耐久安定性が損なわれる。xが大きすぎると、逆極性粒子のキャリアへの転移が少なくなり、トナー帯電の耐久安定性が損なわれる。
ピークを示す電界強度のうち2番目に小さい電界強度xは通常、6×10V/m以上であり、好ましくは1×10V/m以上である。xが小さすぎると、耐久に伴いスペーサー機能を果たすべき粒子がトナーより分離して、現像性が低下する。
逆極性粒子の付着強度グラフは、例えば図2に示すような測定装置1を用いて作成できる。本発明のトナーはキャリアと混合されてなる現像剤として使用されるため、以下、現像剤から逆極性粒子の付着強度グラフを作成する方法について説明する。なお、以下の説明では逆極性粒子が正帯電性を有する場合について説明するが、負帯電性を有する場合については、以下の説明において極性を逆にするなどして適宜変形することによって以下の説明を準用できることは明らかである。
測定装置1は、図示しない駆動手段により50rpmの回転速度で回動する磁石ローラ2aおよび当該磁石ローラ2aを内部に固定されたスリーブローラ2bからなる現像剤搬送ローラ2;スリーブローラ2bに対して0.3mmの間隙をもって固定配置された電極3;ならびに当該電極3とスリーブローラ2bとの間に直流電圧を可変に印加できる直流電源4を備えたものである。具体的には、現像剤搬送ローラ2上に現像剤5を1gだけ保持させる。次いで、磁石ローラ2aを回転駆動させると同時に、直流電源4によって直流電圧を印加する。電圧印加は0Vから100Vステップで3000Vまで、各ステップ15秒間づつ行う。各ステップ毎に電極3上に移動した逆極性粒子の粒子数を測定する。粒子数の測定は堀場製作所製の粒子径分布測定装置(partica LA-950)を用いる。各ステップ毎の電界強度と粒子数とをプロットすることにより上記グラフを作成できる。現像剤中のトナー濃度は特に制限されず、例えば、後述の範囲内であってよい。なお、トナー粒子に対して後述する無機微粒子が外添されている場合であっても、当該無機微粒子と逆極性粒子とは、粒径と極性によって比較的容易に区別できる。
本発明のトナーは、外添剤が外添されていないトナー粒子に対して、(1)1種類以上の逆極性粒子を少なくとも2段階で添加・混合するか、または(2)平均粒径の異なる2種類以上の逆極性粒子を同時に添加・混合することによって得ることができる。
上記(1)の方法においては第1段階で添加・混合される逆極性粒子が比較的強い付着強度を達成し、第2段階以降で添加・混合される逆極性粒子が比較的弱い付着強度を達成する。
上記(1)の方法において、1種類の逆極性粒子を使用する場合(1a)、逆極性粒子の平均一次粒径は70〜600nm、特に100〜300nmが好ましい。逆極性粒子の第1段階での添加量はトナー粒子100重量部に対して0.2〜2重量部、特に0.5〜 1重量部が好ましい。逆極性粒子の第2段階以降での添加量はトナー粒子100重量部に対して0.2〜2重量部、特に0.5〜1重量部が好ましい。混合方法は従来からトナーの分野で使用されている方法が使用でき、例えば、タービュラーミキサー、ヘンシェルミキサー、ナウターミキサー、V型混合機などの種々の公知の混合装置が使用できる。具体的には、ヘンシェルミキサー(三井金属鉱山社製)を使用する場合、第1段階の混合を40〜60m/sで2〜10分間行った後、第2段階の混合を30〜60m/sで2〜10分間行う。
上記(1)の方法において、粒径の異なる2種類以上の逆極性粒子を使用する場合(1b)、粒径が比較的小さい逆極性粒子を第1段階で添加・混合した後、粒径が比較的大きい逆極性粒子を第2段階以降で添加・混合する。粒径が比較的大きい逆極性粒子を第1段階で添加・混合した後、粒径が比較的小さい逆極性粒子を第2段階以降で添加・混合すると、それらの逆極性粒子を2水準以上の付着強度でトナー粒子に付着させることができない。第1段階で添加される比較的小粒径の逆極性粒子の平均一次粒径は70〜180nm、特に80〜150nmが好ましい。第1段階で添加される逆極性粒子の添加量はトナー粒子100重量部に対して0.2〜2重量部、特に0.5〜1重量部が好ましい。第2段階以降で添加される比較的大粒径の逆極性粒子の平均一次粒径は190〜600nm、特に200〜400nmが好ましい。第2段階以降で添加される逆極性粒子の添加量はトナー粒子100重量部に対して0.2〜2重量部、特に0.5〜1重量部が好ましい。第1段階で添加される比較的小粒径の逆極性粒子と第2段階以降で添加される比較的大粒径の逆極性粒子との平均一次粒径の差は100〜500nm、特に150〜250nmが好ましい。混合方法は上記した混合装置が使用できる。具体的には、ヘンシェルミキサー(三井金属鉱山社製)を使用する場合、第1段階の混合を40〜60m/sで2〜10分間行った後、第2段階の混合を30〜60m/sで2〜10分間行う。
上記(2)の方法においては粒径が最も小さい逆極性粒子が比較的強い付着強度を達成し、当該最小逆極性粒子以外の逆極性粒子が比較的弱い付着強度を達成する。
上記(2)の方法において添加される最小の逆極性粒子の平均一次粒径は70〜180nm、特に80〜150nmが好ましい。そのような逆極性粒子の添加量はトナー粒子100重量部に対して0.2〜2重量部、特に0.5〜1重量部が好ましい。最小逆極性粒子以外の比較的大粒径の逆極性粒子の平均一次粒径は190〜600nm、特に200〜400nmが好ましい。そのような逆極性粒子の添加量はトナー粒子100重量部に対して0.2〜2重量部、特に0.5〜1重量部が好ましい。混合方法は上記した混合装置が使用できる。具体的には、ヘンシェルミキサー(三井金属鉱山社製)を使用する場合、粒径の異なる2種類以上の逆極性粒子を同時に添加した後、混合を40〜60m/sで2〜10分間行う。
本明細書中、平均一次粒径はpartica LA-950(堀場製作所製社製)によって測定された値を用いている。
本発明においてトナー粒子には上記した逆極性粒子だけでなく、比較的小粒径の無機微粒子が外添されてもよい。そのような無機微粒子として、例えば、シリカ、酸化チタン、酸化アルミニウム等の無機微粒子が使用できる。特にシランカップリング剤、チタンカップリング剤、およびシリコーンオイル等で疎水化処理して、無機微粒子を外添することが好ましい。無機微粒子は、トナー100重量部に対して、0.1〜5重量部の割合で添加させることが好ましい。無機微粒子の平均一次粒径は10nm以上70nm未満、特に10〜50nmであることが好ましい。
そのような無機微粒子が外添される場合、第1段階の混合で添加される逆極性粒子が比較的強い付着強度で付着させる観点から、上記(1)の方法においては、第1段階の混合が終了した後、第2段階の混合を行う前に添加されてもよいし、または第2段階の混合が終了した後で添加されてもよい。
また、上記(2)の方法において、粒径が最も小さい逆極性粒子を比較的強い付着強度で付着させる観点から、上記無機微粒子は、逆極性粒子の同時混合が終了した後で添加されるのが好ましい。
〔ハイブリッド現像用現像剤〕
本発明に係るハイブリッド現像用現像剤(以下、単に現像剤という)は、上記したトナーおよびキャリアを含むものである。
キャリアは、従来から一般に使用されている公知のキャリアを使用できる。バインダー型キャリアやコート型キャリアを用いてもよい。キャリア粒径は、限定的ではないが、約15〜100μmが好ましい。
バインダー型キャリアは、磁性体微粒子をバインダー樹脂中に分散させたものであり、表面に正極性または負極性に帯電する微粒子又はコーティング層を有するものが使用できる。バインダー型キャリアの極性等の帯電特性は、キャリア用バインダー樹脂、帯電性微粒子および表面コーティング層の種類ならびにそれらとトナー粒子との組み合わせによって制御できる。
バインダー型キャリアに用いられるバインダー樹脂としては、ポリスチレン系樹脂に代表されるビニル系樹脂、ポリエステル系樹脂、ナイロン系樹脂、ポリオレフィン系樹脂などの熱可塑性樹脂、フェノール樹脂やシリコーン樹脂等の硬化性樹脂が例示される。
バインダー型キャリアの磁性体微粒子としては、マグネタイト、ガンマ酸化鉄等のスピネルフェライト、鉄以外の金属(Mn、Ni、Mg、Cu等)を一種または二種以上含有するスピネルフェライト、バリウムフェライト等のマグネトプランバイト型フェライト、表面に酸化層を有する鉄や合金の粒子を用いることができる。キャリアの形状は、粒状、球状、針状のいずれであってもよい。特に高磁化を要する場合には、鉄系の強磁性微粒子を用いることが好ましい。化学的な安定性を考慮すると、マグネタイト、ガンマ酸化鉄を含むスピネルフェライトやバリウムフェライト等のマグネトプランバイト型フェライトの強磁性微粒子を用いることが好ましい。強磁性微粒子の種類及び含有量を適宜選択することにより、所望の磁化を有する磁性樹脂キャリアを得ることができる。磁性体微粒子は磁性樹脂キャリア中に50〜90重量%の量で添加することが適当である。
バインダー型キャリアの表面コート材としては、シリコーン樹脂、アクリル樹脂、エポキシ樹脂、フッ素系樹脂等が用いられる。これらの樹脂をキャリア表面にコートし硬化させてコート層を形成することにより、キャリアの電荷付与能力を向上できる。
バインダー型キャリアの表面への帯電性微粒子あるいは導電性微粒子の固着は、例えば、磁性樹脂キャリアと微粒子とを均一混合し、磁性樹脂キャリアの表面にこれら微粒子を付着させた後、機械的・熱的な衝撃力を与えることにより微粒子を磁性樹脂キャリア中に打ち込み、固定することで行われる。この場合、微粒子は、磁性樹脂キャリア中に完全に埋設されるのではなく、その一部が磁性樹脂キャリア表面から突出するように固定される。帯電性微粒子には、有機、無機の絶縁性材料が用いられる。具体的に、有機系の絶縁性材料としては、ポリスチレン、スチレン系共重合物、アクリル樹脂、各種アクリル共重合物、ナイロン、ポリエチレン、ポリプロピレン、フッ素樹脂およびこれらの架橋物などの有機絶縁性微粒子がある。電荷付与能力および帯電極性は、帯電性微粒子の素材、重合触媒、表面処理等に調整できる。無機系の絶縁性材料としては、シリカ、二酸化チタン等の負極性に帯電する無機微粒子や、チタン酸ストロンチウム、アルミナ等の正極性に帯電する無機微粒子が用いられる。
コート型キャリアは、磁性体からなるキャリアコア粒子を樹脂で被覆したキャリアであり、バインダー型キャリア同様に、キャリア表面に正極性または負極性に帯電する帯電性微粒子を固着することができる。コート型キャリアの極性等の帯電特性は、表面コーティング層の種類や帯電性微粒子の選択により調整できる。コーティング樹脂は、バインダー型キャリアのバインダー樹脂と同様の樹脂が使用可能である。
トナーとキャリアの混合比は所望のトナー帯電量が得られるよう調整されれば良く、トナー比はトナーとキャリアとの合計量に対して3〜50重量%、好ましくは6〜30重量%が好ましい。
トナー粒子、キャリア、逆極性粒子および無機微粒子の混合物における各粒子の帯電極性は、混合物を混合攪拌し、現像剤とした後、現像剤からトナー粒子、キャリア、逆極性粒子または同極性粒子を分離する為の電界の方向から容易に知ることができる。
〔画像形成装置〕
本発明の現像剤はハイブリッド現像装置および当該現像装置を備えた画像形成装置に使用される。ハイブリッド現像方式とは、二成分現像剤を第1の搬送部材(搬送ローラ)の外周面に保持して、第2の搬送部材(現像ローラ)との対向領域まで搬送し、トナーを選択的に第2の搬送部材の外周面に供給して、第2の搬送部材の外周面にトナー薄層を形成し、該トナー薄層を用いて静電潜像担持体上の静電潜像を現像するものである。本発明においては二成分現像剤として前記現像剤が使用される。
以下、添付図面を参照して本発明の好適な実施形態を説明する。なお、以下の説明では、特定の方向を意味する用語(例えば、「上」、「下」、「左」、「右」、およびそれらを含む他の用語、「時計回り方向」、「反時計回り方向」)を使用するが、それらの使用は図面を参照した発明の理解を容易にするためであって、それらの用語の意味によって本発明は限定的に解釈されるべきものでない。また、以下に説明する画像形成装置及び現像装置では、同一又は類似の構成部分には同一の符号を用いている。
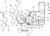
図3は、本発明に係る電子写真式画像形成装置の画像形成に関連する部分の一例を示す。画像形成装置は、複写機、プリンタ、ファクシミリ、およびそれらの機能を複合的に備えた複合機のいずれであってもよい。画像形成装置11は、静電潜像坦持体である感光体12を有する。実施形態において、感光体12は円筒体で構成されているが、本発明はそのような形態に限定されるものでなく、代わりに無端ベルト式の感光体も使用可能である。感光体12は、図示しないモータに駆動連結されており、モータの駆動に基づいて矢印14方向に回転するようにしてある。感光体12の周囲には、感光体12の回転方向に沿って、帯電ステーション16、露光ステーション18、現像ステーション20、転写ステーション22、およびクリーニングステーション24が配置されている。本実施形態では反転現像法を採用する場合について説明するが、いわゆる正規現像法を採用してもよい。
帯電ステーション16は、感光体12の外周面である感光体層を所定の電位に帯電する帯電装置26を備えている。実施形態では、帯電装置26は円筒形状のローラとして表されているが、これに代えて他の形態の帯電装置(例えば、回転型又は固定型のブラシ式帯電装置、ワイヤ放電式帯電装置)も使用できる。露光ステーション18は、感光体12の近傍又は感光体12から離れた場所に配置された露光装置28から出射された画像光30が、帯電された感光体12の外周面に向けて進行するための通路32を有する。露光ステーション18を通過した感光体12の外周面には、画像光が投射されて電位の減衰した部分とほぼ帯電電位を維持する部分からなる、静電潜像が形成される。実施形態では、電位の減衰した部分が静電潜像画像部、ほぼ帯電電位を維持する部分が静電潜像非画像部である。現像ステーション20は、粉体現像剤を用いて静電潜像を可視像化する現像装置34を有する。現像装置34の詳細は後に説明する。転写ステーション22は、感光体12の外周面に形成された可視像を紙やフィルムなどのシート38に転写する転写装置36を有する。実施形態では、転写装置36は円筒形状のローラとして表されているが、他の形態の転写装置(例えば、ワイヤ放電式転写装置)も使用できる。クリーニングステーション24は、転写ステーション22でシート38に転写されることなく感光体12の外周面に残留する未転写トナーを感光体12の外周面から回収するクリーニング装置40を有する。実施形態では、クリーニング装置40は板状のブレードとして示されているが、代わりに他の形態のクリーニング装置(例えば、回転型又は固定型のブラシ式クリーニング装置)も使用できる。
このような構成を備えた画像形成装置11の画像形成時、感光体12はモータ(図示せず)の駆動に基づいて時計周り方向に回転する。このとき、帯電ステーション16を通過する感光体外周部分は、帯電装置26で所定の電位に帯電される。帯電された感光体外周部分は、露光ステーション18で画像光30が露光されて静電潜像が形成される。静電潜像は、感光体12の回転と共に現像ステーション20に搬送され、そこで現像装置34によって現像剤像として可視像化される。可視像化された現像剤像は、感光体12の回転と共に転写ステーション22に搬送され、そこで転写装置36によりシート38に転写される。現像剤像が転写されたシート38は図示しない定着ステーションに搬送され、そこでシート38に現像剤像が固定される。転写ステーション22を通過した感光体外周部分はクリーニングステーション24に搬送され、そこでシート38に転写されることなく感光体12の外周面に残存する現像剤が回収される。
〔現像装置〕
現像装置34は、本発明の現像剤10と以下に説明する種々の部材を収容する現像槽(ハウジング)42を備えている。図面を簡略化することで発明の理解を容易にするため、現像槽42の一部は削除してある。現像槽42は感光体12に向けて開放された一連の開口部(44、52)を備えており、この開口部44の近傍に形成された空間46にトナー搬送部材(第2の搬送部材)である現像ローラ48が設けてある。現像ローラ48は、円筒状の部材(第2の回転円筒体)であり、感光体12と平行に且つ感光体12の外周面と所定の現像ギャップ50を介して、回転可能に配置されている。
現像ローラ48の背後には、開口部としての別の空間52が形成されている。空間52には、現像剤搬送部材(第1の搬送部材)である搬送ローラ54が、現像ローラ48と平行に且つ現像ローラ48の外周面と所定の供給回収ギャップ56を介して配置されている。搬送ローラ54は、回転不能に固定された磁石体58と、磁石体58の周囲を回転可能に支持された円筒スリーブ60(第1の回転円筒体)を有する。スリーブ60の上方には、現像槽42に固定され、スリーブ60の中心軸と平行に伸びる規制板62が、所定の規制ギャップ64を介して対向配置されている。
磁石体58は、搬送ローラ54の内面に対向し、搬送ローラ54の中心軸方向に伸びる、複数の磁極を有する。実施形態では、複数の磁極は、規制板62の近傍にある搬送ローラ54の上部内周面部分に対向する磁極S1、供給回収ギャップ56の近傍にある搬送ローラ54の左側内周面部分に対向する磁極N1、搬送ローラ54の下部内周面部分に対向する磁極S2、搬送ローラ54の右側内周面部分に対向する、2つの隣接する同極性の磁極N2,N3を含む。
搬送ローラ54の背後には、現像剤撹拌室66が形成されている。撹拌室66は、搬送ローラ54の近傍に形成された前室68と搬送ローラ54から離れた後室70を有する。前室68には図面の表面から裏面に向かって現像剤を攪拌しながら搬送する前攪拌搬送部材である前スクリュー72が回転可能に配置され、後室70には図面の裏面から表面に向かって現像剤を攪拌しながら搬送する後攪拌部材搬送部材である後スクリュー74が回転可能に配置されている。図示するように、前室68と後室70は、両者の間に設けた隔壁76で分離してもよい。この場合、前室68と後室70の両端近傍にある隔壁部分は除かれて連絡通路が形成されており、前室68の下流側端部に到達した現像剤が連絡通路を介して後室70へ送り込まれ、また後室70の下流側端部に到達した現像剤が連絡通路を介して前室68に送り込まれるようにしてある。
このように構成された現像装置34の動作を説明する。画像形成時、図示しないモータの駆動に基づいて、現像ローラ48とスリーブ60はそれぞれ矢印78,80方向に回転する。前スクリュー72は矢印82方向に回転し、後スクリュー74は矢印84方向に回転する。これにより、現像剤撹拌室66に収容されている現像剤10は、前室68と後室70を循環搬送されながら、攪拌される。その結果、現像剤に含まれるトナー(トナー粒子)とキャリアが摩擦接触し、互いに逆の極性に帯電される。
帯電された現像剤10は、前スクリュー72によって前室68を搬送される過程で搬送ローラ54に供給される。前スクリュー72から搬送ローラ54に供給された現像剤10は、磁極N3の近傍で、磁極N3の磁力によって、スリーブ60の外周面に保持される。スリーブ60に保持された現像剤10は、磁石体58によって形成された磁力線に沿って磁気ブラシを構成しており、スリーブ60の回転に基づいて反時計周り方向に搬送される。規制板62の対向領域(規制領域86)で磁極S1に保持されている現像剤10は、規制板62により、規制ギャップ64を通過する量が所定量に規制される。規制ギャップ64を通過した現像剤10は、磁極N1が対向する、現像ローラ48と搬送ローラ54が対向する領域(供給回収領域)88に搬送される。供給回収領域88のうち、主にスリーブ60の回転方向に関して上流側の領域(供給領域)90では、現像ローラ48とスリーブ60との間に形成された電界の存在により、キャリアに付着しているトナー(トナー粒子)が現像ローラ48に電気的に供給される。また、供給回収領域88のうち、主にスリーブ60の回転方向に関して下流側の領域(回収領域)92では、現像に寄与することなく供給回収領域88に送り戻された現像ローラ48上のトナー(トナー粒子)が、磁極N1の磁力線に沿って形成されている磁気ブラシに掻き取られてスリーブ60に回収される。キャリアは磁石体58の磁力によってスリーブ60の外周面に保持されており、スリーブ60から現像ローラ48に移動することはない。本発明において、付着強度が比較的小さい逆極性粒子はキャリアへと転移してキャリアとともに挙動してキャリアのトナー帯電能の低下を抑制し、付着強度が比較的大きい逆極性粒子はトナー粒子とともに挙動してトナー粒子と現像ローラの間の付着力を一定以下に保つスペーサーとして機能し、画像濃度の低下を抑制する。
供給回収領域88を通過した現像剤10は、磁石体58の磁力に保持され、スリーブ60の回転と共に磁極S2の対向部を通過して磁極N2とN3の対向領域(放出領域94)に到達すると、磁極N2とN3によって形成される反発磁界によってスリーブ60の外周面から前室68に放出され、前室68を搬送されている現像剤10に混合される。
供給領域90で現像ローラ48に保持されたトナー(トナー粒子)は、現像ローラ48の回転と共に反時計周り方向に搬送され、感光体12と現像ローラ48が対向する領域(現像領域)96で、感光体12の外周面に形成されている静電潜像画像部に付着する。実施形態の画像形成装置では、感光体12の外周面は帯電装置26で負極性の所定の電位Vが付与され、露光装置28で画像光30が投射された静電潜像画像部が所定の電位Vまで減衰し、露光装置28で画像光30が投射されていない静電潜像非画像部はほぼ帯電電位Vを維持している。したがって、現像領域96では、感光体12と現像ローラ48との間に形成されている電界の作用を受けて、負極性に帯電したトナーが静電潜像画像部に付着し、この静電潜像を現像剤像として可視像化する。現像ローラ48表面に薄層形態で保持されて現像領域に搬送されるトナー量は3〜10g/mであることが好ましい。
このようにして現像剤10からトナー(トナー粒子)が消費されると、消費された量に見合う量のトナーが現像剤10に補給されることが好ましい。そのために、現像装置34は、現像槽42に収容されているトナーとキャリアの混合比を測定する手段を備えている。また、後室70の上方にはトナー補給部98が設けてある。トナー補給部98は、トナーを収容するための容器100を有する。容器100の底部には開口部102が形成されており、この開口部102に補給ローラ104が配置されている。補給ローラ104は図示しないモータに駆動連結されており、トナーとキャリアの混合比を測定する手段の出力に基づいてモータが駆動し、トナーが後室70に落下補給するようにしてある。
〔電界形成手段〕
供給領域90で搬送ローラ54から現像ローラ48にトナー6を効率的に移動させ、かつ回収領域92で現像ローラ48から搬送ローラ54にトナー6を効率的に移動させるため、現像ローラ48と搬送ローラ54との間に第1の電界を、第1の電界形成手段110としての現像ローラ用の第1の電源および搬送ローラ用の第2の電源により形成する。
第1の電界は、少なくとも直流電界を含むものであり、好ましくは直流電界と交流電界とからなる複合電界である。
第1の電界に含まれる直流電界は、前記したようにトナーに直流電界を適用し、逆極性粒子の付着強度グラフを作成したときにピークを示す電界強度のうち、最小の電界強度xと2番目に小さい電界強度xとの間に、設定される。これによって、付着強度が比較的低い逆極性粒子をトナー粒子から分離させてキャリアに移行させつつ、付着強度が比較的高い逆極性粒子をトナー粒子に付着させたまま、トナー粒子を現像ローラ48に移行させることができる。キャリアに移行した逆極性粒子はキャリアの荷電サイトとして働くため、キャリアのトナー帯電能が確保され、キャリア劣化を長期わたって抑制できる。トナー粒子とともに現像ローラ表面に移行した逆極性粒子はトナー粒子のスペーサーとして機能するため、トナーの現像性(流動性)が向上し、画像面積比(白黒比)の小さな画像を連続して印字しても、画像濃度の低下を防止できる。
第1の電界に含まれる好ましい直流電界はx+5×10〜x−1×10V/m、特にx+7×10〜x−2×10V/mである。そのような直流電界は通常、6×10〜9×10V/m、特に1.5×10〜5×10V/mである。
第1の電界に含まれる直流電界は電位差を供給回収ギャップ56の距離で除することによって求めることができる。ここでの電位差とは現像ローラ電位と搬送ローラ電位との差である。現像ローラおよび搬送ローラ等のローラに直流電圧と交流電圧とが印加されるときのローラ電位は面積平均値を用いる。すなわち、直流電圧と交流電圧とが合成された合成波形において、直流電圧と平行な線であって、この線と合成波形とで囲まれる面積のうち、この線よりもプラス電圧側の面積とマイナス電圧側の面積とが同じになるような線が示す値をローラ電位とする。
供給回収ギャップ56の距離は通常、0.2〜0.4mm、好ましくは0.25〜0.35mmに設定される。
第1の電界の交流電界条件としては、本発明の目的が達成される限り特に制限されず、例えば、周波数は2〜9kHz、特に3〜6kHzであり、振幅は1000〜3000ボルト、特に1300〜2500ボルトであり、トナー供給デューティ比は50〜70%、特に55〜65%であることが好適である。
また現像領域96で現像ローラ48から感光体12の静電潜像にトナー6を効率的に移動させて静電潜像を可視像化するため、現像ローラ48と感光体12との間に第2の電界を、第2の電界形成手段としての現像ローラ用の第1の電源により形成する。
第2の電界は、少なくとも直流電界を含むものであり、所望により交流電界と直流電界とからなる複合電界であってもよい。
第2の電界の直流電界条件としては、現像ローラから感光体の静電潜像へのトナーの移動が達成される限り特に制限されず、例えば、現像ローラと感光体の静電潜像画像部との間の電位差は150〜500ボルト、特に200〜400ボルトが好適である。現像ローラと感光体との距離は通常、0.1〜0.25mm、好ましくは0.12〜0.2mmに設定される。
第2の電界の交流電界条件としては特に制限されず、例えば、周波数は2〜9kHz、特に3〜6kHzであり、振幅は1000〜2000ボルトであり、マイナスデューティ比は30〜50%、特に35〜45%であることが好適である。
第1の電界および第2の電界を形成するための電界形成手段の具体例として、例えば、図4A〜図8に示す電源が挙げられる。
図4Aに示す実施形態1の電界形成装置110は、現像ローラ48に接続された第1の電源112とスリーブ60に接続された第2の電源114を有する。第1の電源112は、現像ローラ48とグランド116との間に接続された直流電源118を有し、トナーの帯電極性と同一極性の第1の直流電圧VDC1(例えば、−200ボルト)を現像ローラ48に印加している。第2の電源114は、スリーブ60とグランド116との間に接続された直流電源120を有し、トナーの帯電極性と同一極性で且つ第1の直流電圧よりも高圧の第2の直流電圧VDC2(例えば、−400ボルト)をスリーブ60に印加する。この結果、供給領域90では、現像ローラ48とスリーブ60との間に形成された直流電界の作用を受けて、負極性に帯電しているトナーがスリーブ60から現像ローラ48に電気的に吸引される。このとき、正極性に帯電しているキャリアは、スリーブ60から現像ローラ48に吸引されることはない。また、現像領域96では、現像ローラ48に保持されている負極性トナーが、図4Bに示すように、現像ローラ48(VDC1:−200ボルト)と静電潜像画像部(V:−80ボルト)との電位差に基づき、静電潜像画像部に付着する。このとき、負極性トナーは、現像ローラ48(VDC1:−200ボルト)と静電潜像非画像部(V:−600ボルト)との電位差により、静電潜像非画像部に付着することはない。
実施形態2に係る図5Aの電界形成装置122において、第1の電源124は、実施形態1の電源と同様に、現像ローラ48とグランド126との間に接続された直流電源128を有し、トナーの帯電極性と同一極性の第1の直流電圧VDC1(例えば、−200ボルト)を現像ローラ48に印加している。第2の電源130は、スリーブ60とグランド126との間に直流電源132と交流電源134を有する。直流電源132は、トナーの帯電極性と同一極性で且つ第1の直流電圧よりも高圧の第2の直流電圧VDC2(例えば、−400ボルト)をスリーブ60に印加している。図5Bに示すように、交流電源134は、スリーブ60とグランド126との間にピーク・ツー・ピーク電圧VP−Pが例えば300ボルトの交流電圧VACを印加する。その結果、供給領域90では、現像ローラ48とスリーブ60との間に形成された脈流電界の作用を受けて、負極性に帯電しているトナーがスリーブ60から現像ローラ48に電気的に吸引される。このとき、正極性に帯電しているキャリアは、スリーブ60の内部の固定磁石の磁力によってスリーブ60に保持され、現像ローラ48に供給されることはない。また、現像領域96では、現像ローラ48に保持されている負極性トナーは、現像ローラ48(VDC1:−200ボルト)と静電潜像画像部(V:−80ボルト)との電位差に基づき、静電潜像画像部に付着する。
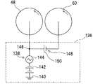
図6Aに示す電界形成装置136において、第1の電源138は、現像ローラ48とグランド140との間に直流電源142と交流電源144を有する。直流電源142は、トナーの帯電極性と同一極性の第1の直流電圧VDC1(例えば、−200ボルト)をスリーブ60および現像ローラ48に印加する。交流電源144は、スリーブ60および現像ローラ48とグランド146との間に振幅(ピーク・ツー・ピーク電圧)VP−Pが例えば1,600ボルトの交流電圧VACを印加する。第2の電源146は、現像ローラ48と交流電源144との間の端子148とスリーブ60との間に接続された直流電源150を有する。直流電源150は、所定の直流電圧VDC2を出力することができ、陽極が端子148、陰極がスリーブ60に接続されており、これにより、スリーブ60が現像ローラ48に対して負極性にバイアスされている(図6B参照)。したがって、供給領域90では、現像ローラ48とスリーブ60との間に形成された脈流電界の作用を受けて、負極性に帯電しているトナーがスリーブ60から現像ローラ48に電気的に吸引される。また、現像領域96では、現像ローラ48上の負極性トナーが、現像ローラ48(VDC1:−200ボルト)と静電潜像画像部(V:−80ボルト)との電位差に基づき、静電潜像画像部に付着する。
図7に示す電界形成装置152は、図4Aに示す実施形態1の電界形成装置110において、第1の電源112と第2の電源114にそれぞれ交流電源154,156を追加したものである。交流電源154,156の出力電圧はVAC1,VAC2である。電圧VAC1,VAC2は同一であってもよいし、違ってもよい。図8に示す電界形成装置158は、図4Aに示す実施形態の電源において、第1の電源112に交流電源160を追加したものである。交流電源160の出力電圧はVACである。これらの形態の電界形成装置152,158も、電界形成装置110,122,136と同様に、現像ローラ48とスリーブ60との間に形成された脈流電界の作用を受けて、供給領域90では負極性に帯電しているトナーをスリーブ60から現像ローラ48に供給し、現像領域96では負極性に帯電しているトナーを現像ローラ48から静電潜像画像部(V:−80ボルト)との電位差に基づき、静電潜像画像部に供給する。
上記画像形成装置および現像装置では、トナー粒子とキャリアとの摩擦接触によりトナー粒子は負極性、キャリアは正極性に帯電される。また、逆極性粒子はキャリアとの接触により正極性に帯電する。本発明に用いるトナー粒子、キャリア、および逆極性粒子の帯電性は、そのような組み合わせに限られるものでない。具体的には、トナー粒子とキャリアとの摩擦接触によりトナー粒子が正極性、キャリアが負極性に帯電され、逆極性粒子がキャリアとの接触により負極性に帯電する組み合わせであってもよい。
以下、実施例により本発明を詳しく説明するが、本発明は以下の実施例に制限されるものでないことは明らかである。「部」は「重量部」を意味するものとする。
(トナーA1)
湿式造粒法により作成された体積平均粒径6.5μmのトナー粒子100重量部に対し、逆極性粒子として平均一次粒径300nmのチタン酸ストロンチウム1重量部を添加し、ヘンシェルミキサー(三井金属鉱山社製)を用いて40m/sの速度で3分間混合した(第1混合)。次いで、混合物に対して、さらに平均一次粒径300nmのチタン酸ストロンチウム1重量部を添加し、ヘンシェルミキサー(三井金属鉱山社製)を用いて40m/sの速度で3分間混合して(第2混合)、負帯電性トナーを得た。バインダー樹脂はスチレンアクリル樹脂であった。
(トナーA2)
湿式造粒法により作成された体積平均粒径6.5μmのトナー粒子100重量部に対し、逆極性粒子として平均一次粒径300nmのチタン酸ストロンチウム1重量部および平均一次粒径100nmのチタン酸カルシウム0.5重量部を添加し、ヘンシェルミキサー(三井金属鉱山社製)を用いて40m/sの速度で3分間混合して、負帯電性トナーを得た。バインダー樹脂はスチレンアクリル樹脂であった。
(トナーB1)
湿式造粒法により作成された体積平均粒径6.5μmのトナー粒子100重量部に対し、逆極性粒子として平均一次粒径300nmのチタン酸ストロンチウム1重量部を添加し、ヘンシェルミキサー(三井金属鉱山社製)を用いて40m/sの速度で3分間混合して、負帯電性トナーを得た。バインダー樹脂はスチレンアクリル樹脂であった。
(帯電性)
上記で得られたいずれのトナー粒子も、キャリアと混合した後、ブローオフ帯電量を測定したところ、負の値を示した。
いずれのチタン酸ストロンチウムもチタン酸カルシウムも、キャリアと混合した後、ブローオフ帯電量を測定したところ、正の値を示した。
(キャリア)
磁性体からなるキャリアコア粒子にシリコーン樹脂コートがなされてなるコート型キャリアであって、平均粒径約35μmのキャリアを用いた。
(現像剤)
上記したトナーとキャリアとを混合して現像剤を得た。現像剤中のトナー濃度は(トナー重量)/(現像剤重量)で8wt%であった。
(逆極性粒子の付着強度)
逆極性粒子の分離量と電界強度との関係を表す付着強度グラフを、図2に示す測定装置を用いて前記した方法によって作成した。結果を図9に示した。
(評価)
所定のトナーを含んだ現像剤を図3に示す構成の画像形成装置に搭載し、耐久試験を行った。
現像条件は以下の通りであった。電界形成装置は、図8に示す形態を採用し、搬送ローラに直流電圧VDC2:−610ボルトを印加し、現像ローラには、直流電圧VDC1:−300ボルトと交流電圧を印加した。交流電圧は、周波数:3kHz、振幅VP−P:1,400ボルト、マイナスデューティ比:40%の矩形波であった。現像ギャップ50は0.15mmに設定し、供給回収ギャップ56は0.3mmに設定した。現像ローラと搬送ローラとの間に形成された直流電界(面積平均)は1.5×10V/mであった。規制ギャップ64は0.5mmに設定し、搬送ローラの現像剤搬送量は250g/mであった。搬送ローラおよび現像ローラの回転方向は、それらの対向部において互いに逆方向であった。感光体の帯電電位(非画像部)は−550ボルト、感光体に形成された静電潜像(画像部)の電位は−50ボルトであった。
・帯電量
画像比率5%のサンプル画像を100万枚耐久印字し、所定の印字枚数ごとに、現像ローラ上のトナー帯電量を測定した結果を図10に示した。
・画像濃度
画像比率1%のサンプル画像を100万枚耐久印字した後、現像ローラに印加される直流電圧を変化させ、画像上の透過濃度(TD)をマクベス透過濃度測定器により測定した結果を図11に示した。
逆極性粒子の分離量と電界強度との関係を表す付着強度グラフの模式図。 図1の付着強度グラフを作成するための測定装置の一例を示す模式図。 本発明に係る画像形成装置の一例の概略構成と本発明に係る現像装置の断面を示す図。 電界形成装置の一実施形態を示す図。 図4Aに示す電界形成装置からスリーブと現像スリーブに供給されている電圧の関係を示す図。 電界形成装置の他の実施形態を示す図。 図5Aに示す電界形成装置からスリーブと現像スリーブに供給されている電圧の関係を示す図。 電界形成装置の他の実施形態を示す図。 図6Aに示す電界形成装置からスリーブと現像スリーブに供給されている電圧の関係を示す図。 電界形成装置の他の実施形態を示す図。 電界形成装置の他の実施形態を示す図。 実施例で測定した付着強度グラフ。 実施例で測定した帯電量の推移を表すグラフ。 実施例で測定した現像ローラの印加電圧と透過濃度との関係を表すグラフ。
符号の説明
10:現像剤、11:画像形成装置、12:感光体、16:帯電ステーション、18:露光ステーション、20:現像ステーション、22:転写ステーション、24:クリーニングステーション、26:帯電装置、28:露光装置、30:画像光、32:通路、34:現像装置、36:転写装置、38:シート、40:クリーニング装置、42:現像槽(ハウジング)、44:開口部、46:第2の空間、48:現像ローラ、50:現像ギャップ、52:開口部(第2の空間)、54:搬送ローラ、56:供給回収ギャップ、58:磁石体、60:スリーブ、62:規制板、64:規制ギャップ、66:現像剤攪拌室、68:前室、70:後室、72:前スクリュー、74:後スクリュー、76:隔壁、86:規制領域、88:供給回収領域、90:供給領域、92:回収領域、94:放出領域、96:現像領域、98:トナー補給部、100:容器、102:開口部、104:補給ローラ、110:電界形成装置。

Claims (6)

  1. 少なくともバインダー樹脂および着色剤が含有されてなり、キャリアとの摩擦接触によって帯電されるトナー粒子;および
    該トナー粒子に外添され、キャリアとの摩擦接触によってトナー粒子の帯電極性とは逆の極性に帯電される逆極性粒子;
    を含み、逆極性粒子をトナー粒子に対して少なくとも2水準の付着強度で付着させたことを特徴とするハイブリッド現像用トナー。
  2. トナーに直流電界を適用し、該直流電界の強度を経時的に増大させながらトナー粒子から逆極性粒子を電界分離させたとき、少なくとも2水準の電界強度で逆極性粒子の分離量の顕著な増大を示すことを特徴とする請求項1に記載のハイブリッド現像用トナー。
  3. 外添剤が外添されていないトナー粒子に対して、1種類以上の逆極性粒子を少なくとも2段階で添加・混合するか、または平均粒径の異なる2種類以上の逆極性粒子を同時に添加・混合することによって得られた請求項1または2に記載のハイブリッド現像用トナー。
  4. 請求項1〜3のいずれかに記載のトナーおよびキャリアを含むハイブリッド現像用現像剤。
  5. トナーとキャリアを含む現像剤を用いて、静電潜像担持体上の静電潜像を可視像化する現像装置であって、
    請求項4に記載の現像剤;
    該現像剤を収容する現像槽の開口部に配置された第1の搬送部材;
    第1の領域を介して該第1の搬送部材に対向し、第2の領域を介して静電潜像担持体に対向する第2の搬送部材;
    第1の搬送部材と第2の搬送部材との間に第1の電界を形成して、第1の搬送部材が保持している現像剤中のトナーを第2の搬送部材に移動させる第1の電界形成手段;
    第2の搬送部材と静電潜像担持体との間に第2の電界を形成して、第2の搬送部材が保持しているトナーを静電潜像担持体の静電潜像に移動させて静電潜像を可視像化する第2の電界形成手段を備えており、
    第1の搬送部材と第2の搬送部材との間に形成される第1の電界が少なくとも直流電界を含み、
    トナーに直流電界を適用し、該直流電界の強度を経時的に増大させながらトナー粒子から逆極性粒子を電界分離させたときに逆極性粒子の分離量の顕著な増大を示す少なくとも2水準の電界強度のうち、最小の電界強度と、2番目に小さい電界強度との間に、前記第1の電界の直流電界を設定することを特徴とするハイブリッド現像用現像装置。
  6. 請求項5に記載のハイブリッド現像用現像装置を備えた画像形成装置。
JP2008160678A 2008-06-19 2008-06-19 ハイブリッド現像用現像装置および画像形成装置 Expired - Fee Related JP4683077B2 (ja)

Priority Applications (1)

Application Number Priority Date Filing Date Title
JP2008160678A JP4683077B2 (ja) 2008-06-19 2008-06-19 ハイブリッド現像用現像装置および画像形成装置

Applications Claiming Priority (1)

Application Number Priority Date Filing Date Title
JP2008160678A JP4683077B2 (ja) 2008-06-19 2008-06-19 ハイブリッド現像用現像装置および画像形成装置

Publications (2)

Publication Number Publication Date
JP2010002615A true JP2010002615A (ja) 2010-01-07
JP4683077B2 JP4683077B2 (ja) 2011-05-11

Family

ID=41584402

Family Applications (1)

Application Number Title Priority Date Filing Date
JP2008160678A Expired - Fee Related JP4683077B2 (ja) 2008-06-19 2008-06-19 ハイブリッド現像用現像装置および画像形成装置

Country Status (1)

Country Link
JP (1) JP4683077B2 (ja)

Cited By (1)

* Cited by examiner, † Cited by third party
Publication number Priority date Publication date Assignee Title
JP2013148611A (ja) * 2012-01-17 2013-08-01 Konica Minolta Inc 画像形成装置および電源制御装置

Citations (3)

* Cited by examiner, † Cited by third party
Publication number Priority date Publication date Assignee Title
JP2002062683A (ja) * 2000-08-22 2002-02-28 Minolta Co Ltd 静電潜像現像用トナー
JP2005091994A (ja) * 2003-09-19 2005-04-07 Konica Minolta Business Technologies Inc 静電荷像現像用トナー及び静電荷像現像用トナーの製造方法
JP2009003258A (ja) * 2007-06-22 2009-01-08 Fuji Xerox Co Ltd 電子写真用現像剤、画像形成方法及び画像形成装置

Patent Citations (3)

* Cited by examiner, † Cited by third party
Publication number Priority date Publication date Assignee Title
JP2002062683A (ja) * 2000-08-22 2002-02-28 Minolta Co Ltd 静電潜像現像用トナー
JP2005091994A (ja) * 2003-09-19 2005-04-07 Konica Minolta Business Technologies Inc 静電荷像現像用トナー及び静電荷像現像用トナーの製造方法
JP2009003258A (ja) * 2007-06-22 2009-01-08 Fuji Xerox Co Ltd 電子写真用現像剤、画像形成方法及び画像形成装置

Cited By (2)

* Cited by examiner, † Cited by third party
Publication number Priority date Publication date Assignee Title
JP2013148611A (ja) * 2012-01-17 2013-08-01 Konica Minolta Inc 画像形成装置および電源制御装置
US8811847B2 (en) 2012-01-17 2014-08-19 Konica Minolta Business Technologies, Inc. Image forming apparatus and power control device

Also Published As

Publication number Publication date
JP4683077B2 (ja) 2011-05-11

Similar Documents

Publication Publication Date Title
JP4508197B2 (ja) 現像装置および画像形成装置
JP4829154B2 (ja) 現像装置および画像形成装置
JP4600531B2 (ja) 現像装置および画像形成装置
JP4561819B2 (ja) ハイブリッド現像用現像剤、ハイブリッド現像装置および画像形成装置
JP4535077B2 (ja) 現像装置および画像形成装置
JP2009217246A (ja) ハイブリッド現像用現像剤および画像形成装置
JP2008224912A (ja) 現像装置および画像形成装置
JP4683077B2 (ja) ハイブリッド現像用現像装置および画像形成装置
JP4539714B2 (ja) ハイブリッド現像用キャリア、ハイブリッド現像装置および画像形成装置
JP4636091B2 (ja) 現像装置および画像形成装置
JP4941026B2 (ja) 現像装置および画像形成装置
JP5034739B2 (ja) 現像装置および画像形成装置
JP5130753B2 (ja) 現像装置および画像形成装置
JP4655116B2 (ja) ハイブリッド現像用トナー、ハイブリッド現像用現像剤および画像形成装置
JP5251648B2 (ja) 現像装置および画像形成装置
JP5251679B2 (ja) 現像方法および画像形成装置
JP4935436B2 (ja) 現像装置および画像形成装置
JP2010026388A (ja) ハイブリッド現像用現像剤および画像形成装置
JP5176351B2 (ja) 現像装置および画像形成装置
JP2009175496A (ja) 現像装置および画像形成装置
JP2008225356A (ja) 現像装置および画像形成装置
JP2008225329A (ja) 現像装置および画像形成装置
JP5114983B2 (ja) 現像装置および画像形成装置
JP2009198677A (ja) 現像装置および画像形成装置
JP2010026148A (ja) ハイブリッド現像用現像剤および画像形成装置

Legal Events

Date Code Title Description
A131 Notification of reasons for refusal

Free format text: JAPANESE INTERMEDIATE CODE: A131

Effective date: 20101026

A521 Written amendment

Free format text: JAPANESE INTERMEDIATE CODE: A523

Effective date: 20101217

TRDD Decision of grant or rejection written
A01 Written decision to grant a patent or to grant a registration (utility model)

Free format text: JAPANESE INTERMEDIATE CODE: A01

Effective date: 20110111

A01 Written decision to grant a patent or to grant a registration (utility model)

Free format text: JAPANESE INTERMEDIATE CODE: A01

A61 First payment of annual fees (during grant procedure)

Free format text: JAPANESE INTERMEDIATE CODE: A61

Effective date: 20110124

FPAY Renewal fee payment (prs date is renewal date of database)

Free format text: PAYMENT UNTIL: 20140218

Year of fee payment: 3

R150 Certificate of patent (=grant) or registration of utility model

Free format text: JAPANESE INTERMEDIATE CODE: R150

LAPS Cancellation because of no payment of annual fees