JP2010001604A - ピボット蝶番の取付構造 - Google Patents

ピボット蝶番の取付構造 Download PDF

Info

Publication number
JP2010001604A
JP2010001604A JP2008158865A JP2008158865A JP2010001604A JP 2010001604 A JP2010001604 A JP 2010001604A JP 2008158865 A JP2008158865 A JP 2008158865A JP 2008158865 A JP2008158865 A JP 2008158865A JP 2010001604 A JP2010001604 A JP 2010001604A
Authority
JP
Japan
Prior art keywords
door panel
horizontal
pivot
frame
fitting hole
Prior art date
Legal status (The legal status is an assumption and is not a legal conclusion. Google has not performed a legal analysis and makes no representation as to the accuracy of the status listed.)
Granted
Application number
JP2008158865A
Other languages
English (en)
Other versions
JP4907602B2 (ja
Inventor
Kuniaki Shimooke
邦明 下桶
Tadashi Ozawa
忠司 小澤
Current Assignee (The listed assignees may be inaccurate. Google has not performed a legal analysis and makes no representation or warranty as to the accuracy of the list.)
Daiken Corp
Original Assignee
Daiken Corp
Priority date (The priority date is an assumption and is not a legal conclusion. Google has not performed a legal analysis and makes no representation as to the accuracy of the date listed.)
Filing date
Publication date
Application filed by Daiken Corp filed Critical Daiken Corp
Priority to JP2008158865A priority Critical patent/JP4907602B2/ja
Publication of JP2010001604A publication Critical patent/JP2010001604A/ja
Application granted granted Critical
Publication of JP4907602B2 publication Critical patent/JP4907602B2/ja
Expired - Fee Related legal-status Critical Current
Anticipated expiration legal-status Critical

Links

Images

Landscapes

  • Hinges (AREA)

Abstract

【課題】戸パネルの不所望な変形を防止することによって戸パネルの意匠性が損なわれるのを防止できると共に、戸パネル固定部の「ガタツキ」を効果的に防止でき、しかも該戸パネル固定部を戸パネルに確実に固定できるピボット蝶番の取付構造を提供する。
【解決手段】開口部14の枠体16に固定される枠体側取付部材22と、戸パネル18に固定される戸パネル固定部32を有する戸パネル側取付部材24とを備えたピボット蝶番12の取付構造10であって、戸パネル18における枠体16への取付側の側面18aには、水平嵌合穴20aが形成されると共に、同側の底面18b及び天面の少なくとも一方には、戸パネル18の内部で水平嵌合穴20aと連通する垂直嵌合穴20bが形成されており、戸パネル固定部32が、水平嵌合穴20aに嵌挿される水平嵌合片32aと、垂直嵌合穴20bに嵌挿され、戸パネル18内で水平嵌合片32aに連結する垂直嵌合片32bとで構成されていることを特徴とする。
【選択図】図6

Description

本発明は、住宅内の部屋または収納等の開口部を開閉する戸パネルを回動自在に支持するためのピボット蝶番の取付構造に関する。
従来のピボット蝶番の取付構造の一例が特許文献1に開示されている。このピボット蝶番の取付構造1は、図9及び図10に示すように、開口部2に設けられた枠体3に取り付けられた枠体側取付部材4と、戸パネル5に取り付けられた戸パネル側取付部材6とで構成されている。
枠体側取付部材4は、枠体3に固定された枠体固定部4aと、枠体固定部4aの下部から水平方向へ延びて形成されたピボット支持部4bと、ピボット支持部4bの上面から上方へ突出して形成されたピボット4cとを有しており、枠体固定部4aが固定ねじ7を用いて枠体3に固定されている。
戸パネル側取付部材6は、戸パネル5の下端部に固定された戸パネル固定部6aと、戸パネル固定部6aの下部から水平方向へ延びて形成された軸受体支持部6bと、軸受体支持部6bの上面に取り付けられた軸受体6cとを有しており、軸受体支持部6bには、軸受体6cの内部空間と連通する貫通孔(図示省略)が形成されている。
そして、軸受体6cにピボット4cが下方から嵌入されており、戸パネル固定部6aが戸パネル5の下端面5aから幅方向端面5bに亘って開口された掘り込み部9に嵌入されており、戸パネル固定部6aが2本の固定ねじ8を用いて戸パネル5に固定されている。
特開2006−291545号公報
従来のピボット蝶番の取付構造1(図9)では、戸パネル5に形成された掘り込み部9が戸パネル5の下端面5aから幅方向端面5bに亘って開口されていたため、戸パネル5の厚み方向において対向する堀り込み部9の2つの壁部9a及び9bは、その厚みが薄く、応力によって変形し易いものとなっていた。そのため、戸パネル5の開閉動作を繰り返すと、図10に示すように、戸パネル固定部6aから壁部9a及び9bに作用する力によって壁部9a及び9bが外側へ変形され、戸パネル5の意匠性が損なわれるという問題があった。
また、このように壁部9a及び9bが外側へ変形されると、これらの内面と戸パネル固定部6aの外面との間に隙間が生じるため、堀り込み部9の内部において戸パネル固定部6aに「ガタツキ」が生じるおそれがあった。
さらに、従来のピボット蝶番の取付構造1では、掘り込み部9に戸パネル側取付部材6を固定する際に、戸パネル固定部6に固定ねじ8を貫通させ、当該固定ねじ8を戸パネル5にねじ込むようにしていたが、戸パネルがMDFなどの「ねじ保持力」が弱い材料からなる場合には、固定ねじ8を十分に保持することができず、戸パネル側取付部材6を戸パネル5に確実に固定できないという問題があった。
それゆえに、本発明の主たる課題は、戸パネルの不所望な変形を防止することによって戸パネルの意匠性が損なわれるのを防止できると共に、経年による戸パネル固定部の「ガタツキ」を効果的に防止でき、しかも該戸パネル固定部を戸パネルに対して確実に固定できるピボット蝶番の取付構造を提供することである。
請求項1に記載した発明は、
(a)開口部14に設けられた枠体16への固定用の枠体固定部26を有する枠体側取付部材22と、
(b)開口部14を開閉する矩形板状の戸パネル18への固定用の戸パネル固定部32(62)を有する戸パネル側取付部材24(60)とを備え、
(c)前記枠体側取付部材22又は前記戸パネル側取付部材24の一方はピボット30を有しており、且つ他方は前記ピボット30を回動自在に受け入れる軸受体36を有しているピボット蝶番12の取付構造10であって、
(d)前記戸パネル18における前記枠体16への取付側の側面18aには、水平嵌合穴20a(21a)が形成されると共に、前記戸パネル18における前記枠体16への取付側の底面18b及び天面の少なくとも一方には、前記戸パネル18の内部で前記水平嵌合穴20a(21a)と連通する垂直嵌合穴20b(21b)が形成されており、
(e)前記戸パネル固定部32(62)が、前記水平嵌合穴20a(21a)に嵌挿される水平嵌合片32a(62a)と、前記垂直嵌合穴20b(21b)に嵌挿され、前記戸パネル18内で前記水平嵌合片32a(62a)に連結する垂直嵌合片32b(62b)とで構成されている、
ことを特徴とするピボット蝶番12の取付構造10である。
本発明では、戸パネル18における前記枠体16への取付側の側面18aに水平嵌合穴20a(21a)が形成されると共に、戸パネルにおける前記枠体16への取付側の底面18b及び天面の少なくとも一方に戸パネル18の内部で水平嵌合穴20a(21a)と連通する垂直嵌合穴20b(21b)が形成されている。これらの嵌合穴20a(21a),20b(21b)は前記の通り戸パネル18の内部で連通しているので、戸パネル18における前記枠体16への取付側の側端面18aと底面18b或いは天面とが交差する角部18cは切り欠かれていない。従って、戸パネル18の厚み方向において対向し、水平嵌合穴20a(21a)及び垂直嵌合穴20b(21b)を構成する2つの壁部18x及び18yは、戸パネル18の角部18cにて連結・補強されることになり、厚み方向において対向する2つの壁部18x及び18yが不所望に変形されることがない、つまり、水平嵌合穴20a(21a)及び垂直嵌合穴20b(21b)の形状が変わることがない。このため、戸パネル18の意匠性が損なわれるのを防止できると共に、各嵌合穴20a(21a),20b(21b)と、これに嵌合した戸パネル固定部32(62)との間で「ガタツキ」が生じるのを防止することができる。
また、戸パネル固定部32(62)が、水平嵌合穴20a(21a)に嵌挿された水平嵌合片32a(62a)と、垂直嵌合穴20b(21b)に嵌挿され、戸パネル18内で水平嵌合片32a(62a)に連結する垂直嵌合片32b(62b)とで構成されているので、戸パネル18に取り付けた戸パネル固定部32(62)の水平方向への移動が垂直嵌合穴20b(21b)の内壁によって規制され、戸パネル固定部32(62)の垂直方向への移動が水平嵌合穴20a(21a)の内壁によって規制されるようになる。つまり、水平嵌合穴20a(21a)に嵌挿された水平嵌合片32a(62a)と垂直嵌合穴20b(21b)に嵌挿された垂直嵌合片32b(62b)とを戸パネル18内で連結するだけで、戸パネル固定部32(62)を戸パネル18に固定することができる。このため、戸パネル18がMDFのように「ねじ保持力」が弱い材料からなる場合であっても、戸パネル固定部32(62)を戸パネル18に固定することができる。
請求項2に記載した発明は、請求項1に記載のピボット蝶番の取付構造10において、「戸パネル側取付部材24が、ピボット30又は軸受体36の一方を備え、戸パネル固定部32に着脱可能に取り付けられる水平板部34を有する」ことを特徴とするものである。
従来のピボット蝶番では、予め工場で戸パネルに戸パネル側支時部材を固定して出荷する場合、戸パネル側取付部材のピボット或いは軸受体が戸パネルの側面から飛び出していたので、梱包が複雑になり手間が掛かると共に、輸送の際に無駄な空間が生じるという問題があった。
これに対し、本発明では、戸パネル側取付部材24が、ピボット30又は軸受体36の一方を備え、戸パネル固定部32(62)に着脱可能に取り付けられる水平板部34を有している、つまり、ピボット30又は軸受体36の一方を備える水平板部34が着脱可能であるため、工場出荷時には戸パネル18に戸パネル固定部32(62)のみを取り付け、施工現場で戸パネル固定部32(62)に水平板部34を取り付けるようにすることができる。このように、工場出荷時に水平板部34を取り外すことによって、工場出荷時の戸パネル18には側面からピボット30や軸受体36が飛び出しておらず、該戸パネル18の梱包作業性を向上させることができる。又、輸送の際にはフラットな戸パネル18を隙間なく段積みして輸送することができるので、輸送効率を向上させることができる。
請求項3に記載した発明は、請求項2に記載のピボット蝶番の取付構造10において、「戸パネル固定部32(62)には、水平嵌合片32a(62a)の表面側から操作して水平板部34の取付位置を調節する位置調節機構が設けられている」ことを特徴とするもので、かかる位置調節機構を設けることにより、枠体16に戸パネル18を取り付けた状態で、戸パネル18の幅方向端面から当該戸パネル18の位置調整を行なうことができるようになる。
本発明によれば、戸パネルの不所望な変形を防止することによって戸パネルの意匠性が損なわれるのを防止できると共に、経年による戸パネル固定部の「ガタツキ」を効果的に防止でき、しかも該戸パネル固定部を戸パネルに対して確実に固定できるピボット蝶番の取付構造を提供することができる。
以下、本発明を図示実施例に従って詳述する。図1は、本発明が適用されたピボット蝶番の取付構造(以下、「取付構造」と略す。)10を示す斜視図であり、図2は、この取付構造10を構成する一実施例(第1実施例)のピボット蝶番12を示す斜視図である。この取付構造10は、住宅内の部屋または収納等の開口部14に設けられた枠体16に対して戸パネル18を回動自在に取り付けるものである。
なお、図1に示す実施例では、開口部14の下端部に設けられた取付構造10を示しているが、同様の取付構造10が開口部14の上端部にも設けられている。このため、以下の説明では、開口部14の下端部に設けられた取付構造10を中心に説明すると共に、上端部に設けられたものについては当該説明を援用する。
枠体16は、図1に示すように、開口部14の内側縁に配設された「縦枠」であり、枠体16の表面における幅方向中央部には、溝16aが上下方向へ延びて形成されており、この溝16aには、棒状の戸当り16bが取り付けられている。
そして、この枠体16の高さ方向下端部における戸パネル取付側には、後述するピボット蝶番12における枠体側取付部材22の枠体固定部26を収納する掘り込み部16cが設けられている(図5参照)。
戸パネル18は、開口部14を閉塞可能な大きさに形成された板状部材であり、この戸パネル18の枠体16への取付側の側面18aには、後述する戸パネル側取付部材24の水平嵌合片32aが隙間なく嵌挿される水平嵌合穴20aが穿設されており、同じく枠体16への取付側の底面18bには、戸パネル18の内部で水平嵌合穴20aと連通し、戸パネル側取付部材24の垂直嵌合片32bが隙間なく嵌挿される垂直嵌合穴20bが穿設されている(図1及び図6参照)。
ここで、戸パネル18の厚み方向にて対向し、水平嵌合穴20a及び垂直嵌合穴20bを構成する2つの壁部18x及び18yは、戸パネル18の枠体16への取付側の側面18aと底面18bとが交差する角部18cによって連結され、且つ補強されている。
なお、戸パネル18の構造としては、1枚の板材からなる「単板構造」や、戸枠の表裏両面に表面板材を接合した「フラッシュ構造」等を任意に選択して用いることができる。又、この戸パネル18を構成する材料としては、合板、集成材、無垢材、MDFなどの木質材料を挙げることができるが、水平嵌合穴20a及び垂直嵌合穴20bを穿設することができ、且つ戸パネル18として十分な機械的強度を有する材料であれば、前記のものに限定されず如何なるものであってもよい。
ピボット蝶番12は、図1及び2に示すように、枠体16に取り付けられる枠体側取付部材22と、戸パネル18の高さ方向端部(図1の場合、下端部)に取り付けられる戸パネル側取付部材24とで構成されている。
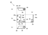
枠体側取付部材22は、図3に示すように、枠体固定部26と、ピボット支持部28と、ピボット30とを有している。
枠体固定部26は、縦方向に伸ばされた長方形を基本形状とする板状の部分であり、その表面には、固定ねじ31(図5参照)が挿通される複数(本実施例では4個)の貫通孔26aが形成されている。
ピボット支持部28は、図3に示すように、枠体固定部26の下端部から水平方向に延びてこれと一体的に形成された細板状の部分であり、その長手方向一方端部は枠体固定部26の幅方向一方端面よりも外側に突出しており、当該突出部分の上面にピボット30が取り付けられている。
ピボット30は、図3に示すように、ピボット支持部28の前記突出部分の上面から上方へ突出して形成された円柱状の突起部である。
戸パネル側取付部材24は、図4に示すように、大略、戸パネル固定部32と、水平板部34と、軸受体36とで構成されている。
戸パネル固定部32は、戸パネル18に堀設した水平嵌合穴20a及び垂直嵌合穴20bに嵌合・固定される部材で、前記水平嵌合穴20aに嵌合する水平嵌合片32aと、垂直嵌合穴20bに嵌合される垂直嵌合片32bとを有する。
水平嵌合片32aは、水平嵌合穴20aに嵌合する横臥楕円柱状に形成されたブロック状の部材で、図6に示すように、水平嵌合穴20aへの嵌挿方向奥側の端面には、水平嵌合穴20aの奥部に形成された係合穴20cに係合する抜け止め凸部32a1が突設されており、水平嵌合穴20aへの嵌挿方向手前側の端面上部には、水平嵌合穴20aの入口上部に堀設された係止受け部20dに嵌め込まれる板状の係止部32a2が設けられている。この係止部32a2には補助固定用のねじ38が挿通される貫通孔40が穿設されている。
また、水平嵌合片32aの底部は、垂直嵌合片32bが嵌合する形状に切り欠かれると共に、当該部分に嵌合した垂直嵌合片32bを固定するための垂直嵌合片固定用雌ねじ部42及び後述する水平板部34を固定するための水平板部固定用雌ねじ部44が螺設されている。
さらに、図示しないが、水平嵌合片32aの内部には、該水平嵌合片32aにねじ止めされる水平板部34の取付位置を前後左右に微調整する位置調節機構が設けられており、この位置調節機構が、水平嵌合片32aの水平嵌合穴20aへの嵌挿方向手前側の端面に設けられた調節ねじ46で調節できるようになっている。
垂直嵌合片32bは、垂直嵌合穴20bに嵌合する略楕円柱状に形成されたブロック状の部材で、該垂直嵌合穴20bの内部で水平嵌合片32aの下部に嵌め込まれ、該水平嵌合片32aと協働して戸パネル固定部32を構成する。
図6に示すように、この垂直嵌合片32bには、内部の肉が大きく切り取られ、高さ方向にて貫通した貫通孔48が形成されると共に、垂直嵌合片32bを水平嵌合片32aに固定する際に、固定ねじ50が挿通され、且つその頭部が係止されるねじ孔52が穿設されている。
水平板部34は、戸パネル固定部32に着脱可能に固定され、戸パネル18の底面18bに配置される板状の部材であり、その本体34aの外形は、水平板部34が戸パネル18の底面18bからはみ出ない大きさに設定されている。この水平板部34の本体34aには、図6に示すように、固定ねじ54が挿通される複数(本実施例では2個)の貫通孔56が形成されており、垂直嵌合片32bと連結する側の面には、垂直嵌合片32bの貫通孔48に嵌め込まれる嵌合壁34bが設けられている。
また、本体34aにおける長手方向一端部の側面は、戸パネル18の底面18bから突出するよう水平方向に延ばされて(図6に示す例の場合、水平板部34の左端部から後方へ延ばされて)軸受体支持部34cが形成されている。そして、この軸受体支持部34cには、ピボット30が挿通されるピボット挿通孔58が設けられると共に、軸受体36が取り付けられている。
軸受体36は、内部空間にピボット30を回動自在に受け入れる円筒状の部材で、その内径はピボット30の外径よりも僅かに大きく設定されており、外径は軸受体支持部34cの先端縁の径とほぼ同じに設定されている。又、軸受体36の高さは、ピボット30の高さよりも若干高く設定されている。
以上のように構成された取付構造10を用いて枠体16に戸パネル18を回動自在に取り付ける際には、まず始めに、枠体16の下端部に枠体側取付部材22を取り付けると共に、戸パネル18の下端部に戸パネル側取付部材24を取り付ける。また、枠体16の上端部に「他の枠体側取付部材」(図示省略)を取り付けると共に、戸パネル18の上端部に「他の戸パネル側取付部材」(図示省略)を取り付ける。
枠体16の下端部に枠体側取付部材22を取り付ける際には、図5に示すように、ピボット30を枠体16の戸パネル取付側の端面よりも前方に配置すると共に、枠体16の掘り込み部16cに枠体側取付部材22の枠体固定部26を嵌め込み、ピボット支持部28を床面Fに接触するように、或いは、床面Fから僅かに離間するように配置し、その状態で枠体固定部26を枠体16の表面に固定ねじ31を用いて固定する。
戸パネル18の下端部に戸パネル側取付部材24を取り付ける際には、図6に示すように、戸パネル側取付部材24の水平嵌合片32aを戸パネル18の水平嵌合穴20aに嵌挿し、戸パネル側取付部材24の垂直嵌合片32bを戸パネル18の垂直嵌合穴20bに嵌挿すると共に、固定ねじ50を用いて水平嵌合片32aに垂直嵌合片32bを固定する。これにより、戸パネル18への戸パネル固定部32の取り付けが完了する。
そして、垂直嵌合片32bの貫通孔48に水平板部34の嵌合壁34bを嵌め込み、水平板部34の貫通孔56に固定ねじ54を挿通すると共に、当該ねじ54を水平嵌合片32aの水平板部固定用雌ねじ部44に螺着する。これにより、戸パネル18への戸パネル側取付部材24の取り付けが完了する。
枠体側取付部材22及び戸パネル側取付部材24の取付けが完了した後、図7に示すように、軸受体36をピボット30に上方から被せることによって、戸パネル側取付部材24と枠体側取付部材22とを回動自在に連結する。また、このとき同時に、「他の枠体側取付部材」(図示省略)と「他の戸パネル側取付部材」(図示省略)とを回動自在に連結する。
なお、ピボット30に対する軸受体36の取付方法・態様については、上述のように「軸受体36をピボット30に上方から被せる」ものに限定されるものではなく、最終的に「軸受体36がピボット30を回動自在に受け入れる」構造を形成できるものであれば如何なるものであってもよい。
そして、ドライバー等の工具を用い、戸パネル18の幅方向端面に対して略面一に配置された水平嵌合片32aの調節ねじ46を回転させることによって、戸パネル固定部32に対する水平板部34の取付位置を前後左右へと移動させ、枠体16に対する戸パネル18の位置を前後左右方向にて調整する。これにより、枠体16に対する戸パネル18の取り付けが完了する。
なお、本実施例では、図2〜4に示すように、枠体側取付部材22のピボット支持部28に上方へ向けて凸となるピボット30を形成するとともに、戸パネル側取付部材24の軸受体支持部34cにピボット30を下方から受け入れる軸受体36を形成しているが、枠体側取付部材22に軸受体36を設けると共に、戸パネル側取付部材24にピボット30を設けるようにしてもよい。
次に、図8に示す第2実施例の取付構造について説明する。図8は、第2実施例の取付構造に使用されるピボット蝶番の戸パネル側取付部材60を示す分解斜視図である。第2実施例の取付構造では、戸パネル固定部62を構成する垂直嵌合片62bに位置調整機構(図示せず)が設けられている点で上記第1実施例と異なる。なお、これら以外の部分は前記第1実施例と同じであるので、上記第1実施例の説明を援用して本実施例の説明に代える。
本実施例の戸パネル側取付部材60は、図8に示すように、戸パネル固定部62を有する。この戸パネル固定部62は、戸パネル18に堀設した水平嵌合穴21a及び垂直嵌合穴21bに嵌合・固定される部材で、前記水平嵌合穴21aに嵌合する水平嵌合片62aと、垂直嵌合穴21bに嵌合される垂直嵌合片62bとを有する。
水平嵌合片62aは、水平嵌合穴21aに嵌合する横臥切欠楕円柱状に形成されたブロック状の部材で、図8に示すように、内部の肉が大きく切り取られ、水平方向にて貫通した貫通孔64が形成されている。この貫通孔64は、後述する垂直嵌合片62bの水平嵌合片62a当接側の端面に設けられた調節ねじ72を調節する際にドライバー等の工具を差し込むためのものである。つまり、このような貫通孔64を設けることによって戸パネル18の幅方向端面側から後述する位置調節機構の調節ねじ72を操作することができる。
また、この水平嵌合片62aの水平嵌合穴21aへの取付状態における上部には、水平嵌合片62aを垂直嵌合片62bに固定する際に、固定ねじ66が挿通され、且つその頭部が係止されるねじ孔68が穿設されており、下部には、水平嵌合穴21aの入口下部に堀設された係止受け部21dに嵌め込まれる板状の係止部62a1が設けられている。そして、この係止部62a1には補助固定用のねじ38が挿通される貫通孔70が穿設されている。
垂直嵌合片62bは、垂直嵌合穴21bに嵌合する切欠楕円柱状に形成されたブロック状の部材で、該垂直嵌合穴21bの内部で水平嵌合片62aと連結され、該水平嵌合片32aと協働して戸パネル固定部62を構成する。
この垂直嵌合片62bの内部には、図示しないが、該垂直嵌合片62bにねじ止めされる水平板部34の取付位置を前後左右に微調整する位置調節機構が設けられており、この位置調節機構が、垂直嵌合片62bの水平嵌合片62a当接側の端面に設けられた調節ねじ72で調節できるようになっている。又、垂直嵌合片62bの水平嵌合片62a当接側の端面上部には、固定ねじ66が螺着される水平嵌合片固定用雌ねじ部74が設けられている。
本発明の一実施例(第1実施例)のピボット蝶番の取付構造を示す斜視図である。 本発明の一実施例(第1実施例)のピボット蝶番を示す斜視図である。 枠外側取付部材を示す(a)平面図、(b)正面図、(c)底面図、(d)右側面図である。 戸パネル側取付部材を示す(a)平面図、(b)正面図、(c)底面図、(d)右側面図である。 枠体側取付部材の取付態様を示す分解斜視図である。 戸パネル側取付部材の取付態様を示す分解斜視図である。 ピボット蝶番の取付構造を示す分解斜視図である。 他の実施例(第2実施例)の要部(戸パネル側取付部材の戸パネル固定部)を示す分解斜視図である。 従来技術を示す分解斜視図である。 従来技術において戸パネルが変形した状態を示す斜視図である。
符号の説明
10…(ピボット蝶番の)取付構造
12…ピボット蝶番
14…開口部
16…枠体
18…上枠
20a,21a…水平嵌合穴
20b,21b…垂直嵌合穴
22…枠体側取付部材
24,60…戸パネル側取付部材
26…枠体固定部
28…ピボット支持部
30…ピボット
32,62…戸パネル固定部
32a,62a…水平嵌合片
32b,62b…垂直嵌合片
34…水平板部
36…軸受体

Claims (3)

  1. 開口部に設けられた枠体への固定用の枠体固定部を有する枠体側取付部材と、前記開口部を開閉する矩形板状の戸パネルへの固定用の戸パネル固定部を有する戸パネル側取付部材とを備え、前記枠体側取付部材又は前記戸パネル側取付部材の一方はピボットを有しており、且つ他方は前記ピボットを回動自在に受け入れる軸受体を有しているピボット蝶番の取付構造であって、
    前記戸パネルにおける前記枠体への取付側の側面には、水平嵌合穴が形成されると共に、前記戸パネルにおける前記枠体への取付側の底面及び天面の少なくとも一方には、前記戸パネルの内部で前記水平嵌合穴と連通する垂直嵌合穴が形成されており、
    前記戸パネル固定部が、前記水平嵌合穴に嵌挿される水平嵌合片と、前記垂直嵌合穴に嵌挿され、前記戸パネル内で前記水平嵌合片に連結する垂直嵌合片とで構成されていることを特徴とするピボット蝶番の取付構造。
  2. 前記戸パネル側取付部材が、前記ピボット又は前記軸受体の一方を備え、前記戸パネル固定部に着脱可能に取り付けられる水平板部を有することを特徴とする請求項1に記載のピボット蝶番の取付構造。
  3. 前記戸パネル固定部には、前記水平嵌合片の表面側から操作して前記水平板部の取付位置を調節する位置調節機構が設けられていることを特徴とする請求項2に記載のピボット蝶番の取付構造。


JP2008158865A 2008-06-18 2008-06-18 ピボット蝶番の取付構造 Expired - Fee Related JP4907602B2 (ja)

Priority Applications (1)

Application Number Priority Date Filing Date Title
JP2008158865A JP4907602B2 (ja) 2008-06-18 2008-06-18 ピボット蝶番の取付構造

Applications Claiming Priority (1)

Application Number Priority Date Filing Date Title
JP2008158865A JP4907602B2 (ja) 2008-06-18 2008-06-18 ピボット蝶番の取付構造

Publications (2)

Publication Number Publication Date
JP2010001604A true JP2010001604A (ja) 2010-01-07
JP4907602B2 JP4907602B2 (ja) 2012-04-04

Family

ID=41583535

Family Applications (1)

Application Number Title Priority Date Filing Date
JP2008158865A Expired - Fee Related JP4907602B2 (ja) 2008-06-18 2008-06-18 ピボット蝶番の取付構造

Country Status (1)

Country Link
JP (1) JP4907602B2 (ja)

Cited By (2)

* Cited by examiner, † Cited by third party
Publication number Priority date Publication date Assignee Title
JP2009150048A (ja) * 2007-12-18 2009-07-09 Daiken Corp ピボット蝶番の取付構造
US9169996B2 (en) 2010-03-03 2015-10-27 Koninklijke Philips N.V. Luminaire having a set of lamellae

Citations (2)

* Cited by examiner, † Cited by third party
Publication number Priority date Publication date Assignee Title
JP2006291545A (ja) * 2005-04-11 2006-10-26 Tsuchikawa Zenji ピボット蝶番
JP2009150048A (ja) * 2007-12-18 2009-07-09 Daiken Corp ピボット蝶番の取付構造

Patent Citations (2)

* Cited by examiner, † Cited by third party
Publication number Priority date Publication date Assignee Title
JP2006291545A (ja) * 2005-04-11 2006-10-26 Tsuchikawa Zenji ピボット蝶番
JP2009150048A (ja) * 2007-12-18 2009-07-09 Daiken Corp ピボット蝶番の取付構造

Cited By (2)

* Cited by examiner, † Cited by third party
Publication number Priority date Publication date Assignee Title
JP2009150048A (ja) * 2007-12-18 2009-07-09 Daiken Corp ピボット蝶番の取付構造
US9169996B2 (en) 2010-03-03 2015-10-27 Koninklijke Philips N.V. Luminaire having a set of lamellae

Also Published As

Publication number Publication date
JP4907602B2 (ja) 2012-04-04

Similar Documents

Publication Publication Date Title
JP5039516B2 (ja) 開閉建具の開口縦枠取付構造
JP4907602B2 (ja) ピボット蝶番の取付構造
JP4268157B2 (ja) 床構造体及びテラスデッキ並びに係合具付き根太
JP7606907B2 (ja) 開き戸枠及び開き戸構造
JP5118958B2 (ja) 開戸構造
JP5350172B2 (ja) ドア開口縦縁部構造及びドア構造並びに下地枠
JP5236272B2 (ja) ピボット蝶番の取付構造
JP5137077B2 (ja) 部材連結構造及びこれを適用したパネルシステム
JP2010084412A (ja) 蝶番の固定構造
JP4215209B2 (ja) デッキ床
JP4640352B2 (ja) ドア取付用縦枠構造及びドア取付用縦枠施工方法
JP7811758B2 (ja) 吊元側軸受け具及び折戸装置
JP5838362B2 (ja) サッシ枠用額縁
JP4611086B2 (ja) ガラリ構造
JP2025026559A (ja) ドア枠
JP5292275B2 (ja) 開き戸装置における開放規制装置
JP4443338B2 (ja) 面格子
JPH0420119Y2 (ja)
JP4654753B2 (ja) 収納家具及び収納家具を用いた壁の補強構造
JP3944857B2 (ja) ドアクローザの取付構造
US20090282758A1 (en) Structure and corner interface
JP2024092868A (ja) フロアパネル
JP2022053610A (ja) 戸パネル
JP2022053609A (ja) パネル
JP2020165089A (ja) 開口枠取付方法及び開口枠並びに蝶番固定方法

Legal Events

Date Code Title Description
A977 Report on retrieval

Free format text: JAPANESE INTERMEDIATE CODE: A971007

Effective date: 20110727

A131 Notification of reasons for refusal

Free format text: JAPANESE INTERMEDIATE CODE: A131

Effective date: 20110816

A521 Written amendment

Free format text: JAPANESE INTERMEDIATE CODE: A523

Effective date: 20111013

TRDD Decision of grant or rejection written
A01 Written decision to grant a patent or to grant a registration (utility model)

Free format text: JAPANESE INTERMEDIATE CODE: A01

Effective date: 20111213

A01 Written decision to grant a patent or to grant a registration (utility model)

Free format text: JAPANESE INTERMEDIATE CODE: A01

A61 First payment of annual fees (during grant procedure)

Free format text: JAPANESE INTERMEDIATE CODE: A61

Effective date: 20120111

FPAY Renewal fee payment (event date is renewal date of database)

Free format text: PAYMENT UNTIL: 20150120

Year of fee payment: 3

R150 Certificate of patent or registration of utility model

Ref document number: 4907602

Country of ref document: JP

Free format text: JAPANESE INTERMEDIATE CODE: R150

Free format text: JAPANESE INTERMEDIATE CODE: R150

LAPS Cancellation because of no payment of annual fees