JP2010000890A - ポジションスイッチ装置 - Google Patents

ポジションスイッチ装置 Download PDF

Info

Publication number
JP2010000890A
JP2010000890A JP2008161111A JP2008161111A JP2010000890A JP 2010000890 A JP2010000890 A JP 2010000890A JP 2008161111 A JP2008161111 A JP 2008161111A JP 2008161111 A JP2008161111 A JP 2008161111A JP 2010000890 A JP2010000890 A JP 2010000890A
Authority
JP
Japan
Prior art keywords
double
movable contact
shift
mode
contacts
Prior art date
Legal status (The legal status is an assumption and is not a legal conclusion. Google has not performed a legal analysis and makes no representation as to the accuracy of the status listed.)
Granted
Application number
JP2008161111A
Other languages
English (en)
Other versions
JP5137197B2 (ja
Inventor
Tomoki Mori
朋己 森
Current Assignee (The listed assignees may be inaccurate. Google has not performed a legal analysis and makes no representation or warranty as to the accuracy of the list.)
Mannoh Industrial Co Ltd
Original Assignee
Mannoh Industrial Co Ltd
Priority date (The priority date is an assumption and is not a legal conclusion. Google has not performed a legal analysis and makes no representation as to the accuracy of the date listed.)
Filing date
Publication date
Application filed by Mannoh Industrial Co Ltd filed Critical Mannoh Industrial Co Ltd
Priority to JP2008161111A priority Critical patent/JP5137197B2/ja
Publication of JP2010000890A publication Critical patent/JP2010000890A/ja
Application granted granted Critical
Publication of JP5137197B2 publication Critical patent/JP5137197B2/ja
Active legal-status Critical Current
Anticipated expiration legal-status Critical

Links

Images

Classifications

    • FMECHANICAL ENGINEERING; LIGHTING; HEATING; WEAPONS; BLASTING
    • F16ENGINEERING ELEMENTS AND UNITS; GENERAL MEASURES FOR PRODUCING AND MAINTAINING EFFECTIVE FUNCTIONING OF MACHINES OR INSTALLATIONS; THERMAL INSULATION IN GENERAL
    • F16HGEARING
    • F16H59/00Control inputs to control units of change-speed- or reversing-gearings for conveying rotary motion
    • F16H59/02Selector apparatus
    • F16H59/0204Selector apparatus for automatic transmissions with means for range selection and manual shifting, e.g. range selector with tiptronic

Landscapes

  • Engineering & Computer Science (AREA)
  • General Engineering & Computer Science (AREA)
  • Mechanical Engineering (AREA)
  • Arrangement Or Mounting Of Control Devices For Change-Speed Gearing (AREA)

Abstract

【課題】耐久性に優れ接点のチャタリングのないシフトレバー装置のためのポジションスイッチ装置を提供する。
【解決手段】シフトレバー装置のリテーナ1の片側に配置されたスイッチボックス10の内部に、表裏とも同一位置に機能が同一の複数の接点S1〜S5を形成した両面基板12と、この両面基板12の両面に同時に接触しながらスライドできる可動コンタクトプレート13とを収納する。またこのスイッチボックス10の側方には、シフトレバー4のシフト方向の動きに追従して可動コンタクトプレート13をシフト方向にスライドさせるコントロールレバー18を配置する。
【選択図】図3

Description

本発明は、自動車のシフトレバー装置に組み込んでシフトポジションを検出するポジションスイッチ装置に関するものであり、特にAMT(オートメイテッド・マニュアル・トランスミッション)シフトレバー装置のためのポジションスイッチ装置に関するものである。
周知のとおりシフトレバー装置にはMT(マニュアル・トランスミッション)とAT(オートマチック・トランスミッション)とがあり、また特許文献1に示されるように、ATモードとMTモードとを変更可能とした形式も普及している。しかし近年における燃料の高騰やドライバーの人材不足により、特に商用車には燃費がよく熟練ドライバーでなくても容易に扱え、かつ安全性に優れたトランスミッションが求められている。そこでクラッチの操作を電気的に制御したオートメイテッド・マニュアル・トランスミッション(本明細書においてはAMTと記す。なおMMTとも呼ばれることもある。)が注目され、既に一部の商用車に採用されている。
AMTシフトレバー装置は従来のシフトレバー装置とは異なり、シフトケーブルでトランスミッションとつながっている訳ではなく、電気信号をオンオフするスイッチとしての機能を有するものである。AMTシフトレバーの多くはATモードとMTモードとを備えているため、従来はATモード用のポジション検出スイッチとMTモード用のポジション検出スイッチとの2個のスイッチを、シフトレバー装置のリテーナの左右各側面に組み込んでいた。
しかしながら、2個のスイッチをリテーナ内部の別の場所にそれぞれ組み込むには、多くのスペースを必要とし、小型化を図るうえで障害になること、各々のスイッチ間を繋ぐハーネスが長くなり、配策作業が行いにくいこと、従ってコストアップの要因となることなどの問題があった。
またこのようなスイッチの接点には、数百万回のオンオフを繰り返しても磨耗等によるチャタリング(接点圧の不安定)が生じない高度の耐久性が要求されるが、従来型のポジションスイッチ装置はこの点においても不安があった。
特開2006−224763号公報
従って本発明の第1の目的は、上記した従来の問題点を解決し、耐久性に優れ接点のチャタリングのないシフトレバー装置のためのポジションスイッチ装置を提供することである。また本発明の第2の目的は、2個のスイッチを別の場所にそれぞれ組み込む必要をなくし、小型化とコストダウンを図ることができるシフトレバー装置のためのポジションスイッチ装置を提供することである。
上記の課題を解決するためになされた本発明のポジションスイッチ装置は、シフトレバー装置のリテーナの片側に配置されたスイッチボックスの内部に、表裏とも同一位置に機能が同一の複数の接点を形成した両面基板と、この両面基板の両面に同時に接触しながらスライドできる可動コンタクトプレートとを収納するとともに、このスイッチボックスの側方には、シフトレバーのシフト方向の動きに追従して可動コンタクトプレートをシフト方向にスライドさせるコントロールレバーを配置したことを特徴とするものである。
なお請求項2のように、両面基板の複数の接点が、シフト方向に直線的に配置されたものであることが好ましく、請求項3のように、両面基板の複数の接点が、ATモードのR、N、Dの各ポジションに対応する接点と、MTモードのM+、M、M−の各ポジションに対応する接点とを含み、かつそれらの一部を共用した接点を持つことが好ましい。
さらに請求項4のように、両面基板は中央にスリットが形成されたものであり、可動コンタクトプレートはこのスリットを介して両面基板の両面に延びている構造とすることが好ましく、請求項5のように、可動コンタクトプレートは、スイッチボックスに形成された長孔から突出する突起を備えたものであり、コントロールレバーがこの突起と係合して可動コンタクトプレートをシフト方向にスライドさせるものであることが好ましい・
本発明のポジションスイッチ装置においては、可動コンタクトプレートは常に両面基板を挟みながらスイッチボックスの内部をスライドする。しかも両面基板には表裏とも同一位置に機能が同一の接点が配置されている。このために仮に磨耗その他の原因によって片側の接点の接点圧が不安定となっても、反対側の接点でカバーすることができ、耐久性に優れる。
また複数の接点が、ATモードのR、N、Dの各ポジションに対応する接点と、MTモードのM+、M、M−の各ポジションに対応する接点とを含み、かつそれらの一部を共用させたものとしておくことにより、従来のようにATモード用とMTモード用の2個のスイッチを異なる位置に組み込む必要がなくなり、小型化とコストダウンを図ることができる。
以下に本発明の好ましい実施形態を、図面を参照しつつ説明する。
図1は本発明のポジションスイッチ装置が組み込まれたシフトレバー装置の全体斜視図、図2はその平面図、図3は内部構造を示す断面図である。これらの図において、1はボックス型をした樹脂製のリテーナであり、その内部下方にはシフト操作用の軸2が配置されている。またこの軸2の中心部にはほぼ水平にセレクト操作用の軸3が貫通しており、シフトレバー4の下端がこの軸3に枢着されている。この構造により、シフトレバー4は車体前後方向のシフト方向及び車体幅方向のセレクト方向の何れの方向にも操作することができる。
また図2に示すように、リテーナ1の上面にはゲートプレート5が配置されており、以下に述べるゲートパターンのゲート溝6が形成されている。シフトレバー4はこのゲート溝6を貫通しているので、ゲート溝6に沿った所定のゲートパターンに規制されながら操作されるようになっている。ゲート溝6の形状は、R、N、Dの3レンジが左側にほぼシフト方向に沿って配置され、またM+、M、M−の3レンジが右側にそれぞれシフト方向に配置され、さらにDレンジとMレンジとがセレクト方向に連続するように隣接配置された形状である。
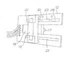
従って、シフトレバー4は左側のATモードにセレクトされた状態においてはR、N、Dの各ポジションを取ることができ、右側のMTモードにセレクトされた状態においてはM+、M、M−の各ポジションを取ることができる。シフトレバー4がこれらのうちいずれのポジションにあるかを検出するために、図3に示すようにリテーナ1の一方の側面に、本発明のポジションスイッチ装置が組み込まれている。このポジションスイッチ装置は、スイッチボックス10の内部に組み込まれたスイッチ機構と、スイッチボックス10の側方に配置されたスイッチ操作用のコントロールレバー11とからなる。
図4はスイッチボックス10の内部機構の断面図である。スイッチボックス10の内部には、図5の斜視図に示すような両面基板12と、可動コンタクトプレート13とからなるスイッチ機構が収納されている。両面基板12はスイッチボックス10の中央部に垂直に固定されたものであり、図5に示すようなコ字状であって中央にスリット14が形成されている。上側には4つの接点S1,S2,S3,S4がシフト方向に直線的に一列に形成されており、下側には単一の接点S5が横長に形成されている。これらの接点は、両面基板12の表裏両面に面対称となるように形成されている。そして両面基板12の表裏の同一位置の接点は、同一の機能を有するものとなっている。このため、表裏何れの接点が可動コンタクトプレート13(の接点)と接触しても、同一の電気信号を出力することが可能である。各接点は樹脂性の両面基板12の表裏表面に銅箔によりパターン形成されたものである。
図6に示すように、接点S1,S2,S3はそれぞれATモードのR、N、Dの各ポジションを検出するものであり、また接点S2,S3,S4はそれぞれMTモードのM+、M、M−の各ポジションを検出するものである。接点S5は接地極である。このように接点S2とS3はATモードのN、DとMTモードのM+、Mとの検出を兼ねるものであり、接点を共有させることによりスイッチの小型化を図っている。なお、シフトレバー4がATモードにあるかMTモードにあるかは、後述するようにスイッチボックス10の下側に設けたモード検出スイッチ15により検出される。
可動コンタクトプレート13は、両面基板12の両面に同時に接触しながらスライドできる樹脂製部材であり、図4に示すように両面基板12のスリット14を介して両面基板12の両面に延びている。また可動コンタクトプレート13は両面基板12の接点Sと接触する上下の2位置に、可動接点S6,S6を備えている。これらの可動接点S6,S6は相互に接続された同一の接点であり、可動コンタクトプレート13の左右両側に形成されている。
可動コンタクトプレート13はスイッチボックスに形成された長孔16から突出する突起17を片側に備えたものである。一方、スイッチボックス10の側方には、シフトレバー4のシフト方向の動きに追従して可動コンタクトプレート13をシフト方向にスライドさせるためのコントロールレバー18が配置されている。コントロールレバー18は図7に示される形状のもので、下部は図3に示すようにシフト操作用の軸2に嵌っている。なお軸2とコントロールレバー18との嵌合部は断面が非円形とされているため、コントロールレバー18は常にシフト操作用の軸2と一体となってシフト方向に揺動する。そして上部の縦長孔19に可動コンタクトプレート13の突起17が嵌り、シフトレバー4のシフト方向の動きに追従して可動コンタクトプレート13をシフト方向にスライドさせることができる。
なお、コントロールレバー18の中央部には扇形の貫通孔20が形成されているが、これは図3に示すようにシフトレバー4の側面に形成された突起21が、この貫通孔20を貫通し、スイッチボックス10の下面に配置されたモード検出スイッチ15をオンオフさせるために設けられたものである。すなわち、シフトレバー4がMTモード側にセレクト操作されるとモード検出スイッチ15がオンとなり、ATモード側にセレクト操作されるとオフとなる。
このように構成された本発明のポジションスイッチ装置は、シフトレバー4がATモード側にあるかMTモード側にあるかをモード検出スイッチ15により検出し、またシフトレバー4のシフト方向の動きに連動させてコントロールレバー18を動かして可動コンタクトプレート13をシフト方向にスライドさせ、接点S1,S2,S3によってATモードのR、N、Dの各ポジションを検出し、また接点S2,S3,S4によってMTモードのM+、M、M−の各ポジションを検出するものである。接点S2,S3は共用されているが、モード検出スイッチ15の出力と組み合わせることによって、シフトレバー4がどのポジションにあるかの電気信号をトランスミッションに送ることができる。
上記したように、本発明のポジションスイッチ装置はリテーナ1の片側に配置されてコントロールレバー18により可動コンタクトプレート13をスライドさせる構造のものであるが、両面基板12の表裏とも同一位置に機能が同一の接点が配置されており、可動コンタクトプレート13は常に両面基板12を両側から挟みながらスライドする。このため接点圧を安定させることができるうえに、仮に片側の接点圧が不安定となっても、反対側の接点でカバーすることができ、数百万回の繰り返し使用に耐えることができる耐久性に優れる利点がある。また従来のようにリテーナ内の異なる位置にATモード用とMTモード用の2個のスイッチを異なる位置に組み込む必要がないから、シフトレバー装置の小型化とコストダウンを図ることができる利点がある。
本発明のポジションスイッチ装置が組み込まれたシフトレバー装置の全体斜視図である。 本発明のポジションスイッチ装置が組み込まれたシフトレバー装置の平面図である。 は内部構造を示す断面図である。 スイッチボックスの内部機構の断面図である。 両面基板の斜視図である。 接点の配置説明図である。 コントロールレバーの正面図と断面図である。
符号の説明
1 リテーナ
2 シフト操作用の軸
3 セレクト操作用の軸
4 シフトレバー
5 ゲートプレート
6 ゲート溝
10 スイッチボックス
11 コントロールレバー
12 両面基板
13 可動コンタクトプレート
14 スリット
15 モード検出スイッチ
16 長孔
17 突起
18 コントロールレバー
19 縦長孔
20 扇形の貫通孔
21 突起

Claims (5)

  1. シフトレバー装置のリテーナの片側に配置されたスイッチボックスの内部に、表裏とも同一位置に機能が同一の複数の接点を形成した両面基板と、この両面基板の両面に同時に接触しながらスライドできる可動コンタクトプレートとを収納するとともに、このスイッチボックスの側方には、シフトレバーのシフト方向の動きに追従して可動コンタクトプレートをシフト方向にスライドさせるコントロールレバーを配置したことを特徴とするポジションスイッチ装置。
  2. 両面基板の複数の接点が、シフト方向に直線的に配置されたことを特徴とする請求項1記載のポジションスイッチ装置。
  3. 両面基板の複数の接点が、ATモードのR、N、Dの各ポジションに対応する接点と、MTモードのM+、M、M−の各ポジションに対応する接点とを含み、かつそれらの一部を共用した接点を持つことを特徴とする請求項1記載のポジションスイッチ装置。
  4. 両面基板は中央にスリットが形成されたものであり、可動コンタクトプレートはこのスリットを介して両面基板の両面に延びていることを特徴とする請求項1記載のポジションスイッチ装置。
  5. 可動コンタクトプレートは、スイッチボックスに形成された長孔から突出する突起を備えたものであり、コントロールレバーがこの突起と係合して可動コンタクトプレートをシフト方向にスライドさせることを特徴とする請求項1記載のポジションスイッチ装置。
JP2008161111A 2008-06-20 2008-06-20 ポジションスイッチ装置 Active JP5137197B2 (ja)

Priority Applications (1)

Application Number Priority Date Filing Date Title
JP2008161111A JP5137197B2 (ja) 2008-06-20 2008-06-20 ポジションスイッチ装置

Applications Claiming Priority (1)

Application Number Priority Date Filing Date Title
JP2008161111A JP5137197B2 (ja) 2008-06-20 2008-06-20 ポジションスイッチ装置

Publications (2)

Publication Number Publication Date
JP2010000890A true JP2010000890A (ja) 2010-01-07
JP5137197B2 JP5137197B2 (ja) 2013-02-06

Family

ID=41582969

Family Applications (1)

Application Number Title Priority Date Filing Date
JP2008161111A Active JP5137197B2 (ja) 2008-06-20 2008-06-20 ポジションスイッチ装置

Country Status (1)

Country Link
JP (1) JP5137197B2 (ja)

Cited By (2)

* Cited by examiner, † Cited by third party
Publication number Priority date Publication date Assignee Title
DE112010005086T5 (de) 2010-01-06 2012-11-15 Canon Kabushiki Kaisha Kameraplattformsystem
WO2018038274A1 (ja) * 2016-08-26 2018-03-01 株式会社東海理化電機製作所 シフト装置

Citations (5)

* Cited by examiner, † Cited by third party
Publication number Priority date Publication date Assignee Title
JPS56144444U (ja) * 1980-03-31 1981-10-31
JPH0735225A (ja) * 1993-05-19 1995-02-07 Matsushita Electric Works Ltd ポジション信号発生スイッチ
JPH10159970A (ja) * 1996-11-29 1998-06-16 Aisin Aw Co Ltd ニュートラルスタートスイッチ一体型電子制御ユニット
JP2000108707A (ja) * 1998-08-03 2000-04-18 Kojima Press Co Ltd シフトレバー装置
JP2000127791A (ja) * 1998-10-21 2000-05-09 Nissan Motor Co Ltd 自動変速機のインヒビタスイッチ

Patent Citations (5)

* Cited by examiner, † Cited by third party
Publication number Priority date Publication date Assignee Title
JPS56144444U (ja) * 1980-03-31 1981-10-31
JPH0735225A (ja) * 1993-05-19 1995-02-07 Matsushita Electric Works Ltd ポジション信号発生スイッチ
JPH10159970A (ja) * 1996-11-29 1998-06-16 Aisin Aw Co Ltd ニュートラルスタートスイッチ一体型電子制御ユニット
JP2000108707A (ja) * 1998-08-03 2000-04-18 Kojima Press Co Ltd シフトレバー装置
JP2000127791A (ja) * 1998-10-21 2000-05-09 Nissan Motor Co Ltd 自動変速機のインヒビタスイッチ

Cited By (2)

* Cited by examiner, † Cited by third party
Publication number Priority date Publication date Assignee Title
DE112010005086T5 (de) 2010-01-06 2012-11-15 Canon Kabushiki Kaisha Kameraplattformsystem
WO2018038274A1 (ja) * 2016-08-26 2018-03-01 株式会社東海理化電機製作所 シフト装置

Also Published As

Publication number Publication date
JP5137197B2 (ja) 2013-02-06

Similar Documents

Publication Publication Date Title
KR100226121B1 (ko) 차량의 변속조작장치
CA2875921C (en) Shift device for vehicle
US20190353241A1 (en) Shift control apparatus for electronic shift system
US20180172140A1 (en) Vehicle shift lever assembly
JP4500327B2 (ja) シフト装置
JP5842001B2 (ja) シフト切り替え装置
EP3499093B1 (en) Gearshift control mechanism, automobile, and gear control method
EP3054196B1 (en) Shift device
JP6060962B2 (ja) 車両用シフト装置
JP5137197B2 (ja) ポジションスイッチ装置
JP6610633B2 (ja) 車両用シフタ装置
JP2007045390A (ja) シフト装置
JP6610634B2 (ja) 車両用シフタ装置
JP5033105B2 (ja) 位置検出装置
JP5880397B2 (ja) 車両のシフト装置
JP6003785B2 (ja) 車両のシフト装置
US10941854B2 (en) Operating device
JP6595107B2 (ja) 車両用入力装置
JP4969343B2 (ja) 車両用変速操作装置
KR101575224B1 (ko) 자동차용 메뉴얼모드 스위치
JP2013001368A (ja) シフトレンジ操作装置
JP3705315B2 (ja) 自動変速機の変速操作入力装置
EP3431317B1 (en) Shift device
JP6079769B2 (ja) 車両用シフト装置
CN111911617B (zh) 用于车辆的换挡杆装置

Legal Events

Date Code Title Description
A621 Written request for application examination

Free format text: JAPANESE INTERMEDIATE CODE: A621

Effective date: 20110510

A977 Report on retrieval

Free format text: JAPANESE INTERMEDIATE CODE: A971007

Effective date: 20120529

A131 Notification of reasons for refusal

Free format text: JAPANESE INTERMEDIATE CODE: A131

Effective date: 20120807

A521 Request for written amendment filed

Free format text: JAPANESE INTERMEDIATE CODE: A523

Effective date: 20121004

TRDD Decision of grant or rejection written
A01 Written decision to grant a patent or to grant a registration (utility model)

Free format text: JAPANESE INTERMEDIATE CODE: A01

Effective date: 20121109

A01 Written decision to grant a patent or to grant a registration (utility model)

Free format text: JAPANESE INTERMEDIATE CODE: A01

A61 First payment of annual fees (during grant procedure)

Free format text: JAPANESE INTERMEDIATE CODE: A61

Effective date: 20121109

R150 Certificate of patent or registration of utility model

Ref document number: 5137197

Country of ref document: JP

Free format text: JAPANESE INTERMEDIATE CODE: R150

Free format text: JAPANESE INTERMEDIATE CODE: R150

FPAY Renewal fee payment (event date is renewal date of database)

Free format text: PAYMENT UNTIL: 20151122

Year of fee payment: 3

R250 Receipt of annual fees

Free format text: JAPANESE INTERMEDIATE CODE: R250

R250 Receipt of annual fees

Free format text: JAPANESE INTERMEDIATE CODE: R250

R250 Receipt of annual fees

Free format text: JAPANESE INTERMEDIATE CODE: R250

R250 Receipt of annual fees

Free format text: JAPANESE INTERMEDIATE CODE: R250