JP2009537288A - 非侵襲性生命兆候監視方法、装置及びシステム - Google Patents
非侵襲性生命兆候監視方法、装置及びシステム Download PDFInfo
- Publication number
- JP2009537288A JP2009537288A JP2009513537A JP2009513537A JP2009537288A JP 2009537288 A JP2009537288 A JP 2009537288A JP 2009513537 A JP2009513537 A JP 2009513537A JP 2009513537 A JP2009513537 A JP 2009513537A JP 2009537288 A JP2009537288 A JP 2009537288A
- Authority
- JP
- Japan
- Prior art keywords
- detection
- detection device
- user
- notification
- receiving
- Prior art date
- Legal status (The legal status is an assumption and is not a legal conclusion. Google has not performed a legal analysis and makes no representation as to the accuracy of the status listed.)
- Pending
Links
Images
Classifications
-
- A—HUMAN NECESSITIES
- A61—MEDICAL OR VETERINARY SCIENCE; HYGIENE
- A61B—DIAGNOSIS; SURGERY; IDENTIFICATION
- A61B5/00—Measuring for diagnostic purposes; Identification of persons
- A61B5/0002—Remote monitoring of patients using telemetry, e.g. transmission of vital signals via a communication network
-
- A—HUMAN NECESSITIES
- A61—MEDICAL OR VETERINARY SCIENCE; HYGIENE
- A61B—DIAGNOSIS; SURGERY; IDENTIFICATION
- A61B5/00—Measuring for diagnostic purposes; Identification of persons
- A61B5/68—Arrangements of detecting, measuring or recording means, e.g. sensors, in relation to patient
- A61B5/6801—Arrangements of detecting, measuring or recording means, e.g. sensors, in relation to patient specially adapted to be attached to or worn on the body surface
- A61B5/6802—Sensor mounted on worn items
- A61B5/681—Wristwatch-type devices
-
- A—HUMAN NECESSITIES
- A61—MEDICAL OR VETERINARY SCIENCE; HYGIENE
- A61B—DIAGNOSIS; SURGERY; IDENTIFICATION
- A61B5/00—Measuring for diagnostic purposes; Identification of persons
- A61B5/68—Arrangements of detecting, measuring or recording means, e.g. sensors, in relation to patient
- A61B5/6801—Arrangements of detecting, measuring or recording means, e.g. sensors, in relation to patient specially adapted to be attached to or worn on the body surface
- A61B5/6813—Specially adapted to be attached to a specific body part
- A61B5/6822—Neck
Landscapes
- Health & Medical Sciences (AREA)
- Life Sciences & Earth Sciences (AREA)
- Engineering & Computer Science (AREA)
- Heart & Thoracic Surgery (AREA)
- Molecular Biology (AREA)
- Biophysics (AREA)
- Pathology (AREA)
- Biomedical Technology (AREA)
- Veterinary Medicine (AREA)
- Medical Informatics (AREA)
- Physics & Mathematics (AREA)
- Surgery (AREA)
- Animal Behavior & Ethology (AREA)
- General Health & Medical Sciences (AREA)
- Public Health (AREA)
- Computer Networks & Wireless Communication (AREA)
- Measuring And Recording Apparatus For Diagnosis (AREA)
Abstract
【課題】電力を高効率で使用し、正確かつ即時に被監視者に関する生体情報と状態を能動的に提供する、非侵襲性生命兆候監視装置の提供。
【解決手段】非侵襲性生命兆候監視装置は、付着要素を介して第一使用者に付着された検出デバイスと、検出デバイスからの信号及びメッセージを無線受信するため、第二使用者により保持される受信デバイスを含む。前記検出デバイスは、第一使用者から生体信号を収集するための検出ユニットと、前記付着要素上に取り付けられ、前記付着要素との接続関係に対応する結合状態及び解放状態を備えた検知機構と、前記検出デバイスの動作を制御し、かつ収集された生体信号があらかじめ設定された生理条件に適合しないとき警告メッセージを発する制御ユニットを含み、そのうち前記制御ユニットは、前記検知機構が解放状態下にあるとき解放状態の通知を発し、且つ前記検知機構の状態に基づき、前記制御ユニットが前記検出デバイスを異なる動作モードに入らせる。さらに、前記警告メッセージを受信すると、前記受信デバイスが前記第二使用者に対し収集された生体信号とあらかじめ設定された生理条件間の不適合を示すための警告通知を送信し、かつ解放状態の通知を受信すると、前記受信デバイスが前記第二使用者に対し解放通知を送信する。
【選択図】図1
【解決手段】非侵襲性生命兆候監視装置は、付着要素を介して第一使用者に付着された検出デバイスと、検出デバイスからの信号及びメッセージを無線受信するため、第二使用者により保持される受信デバイスを含む。前記検出デバイスは、第一使用者から生体信号を収集するための検出ユニットと、前記付着要素上に取り付けられ、前記付着要素との接続関係に対応する結合状態及び解放状態を備えた検知機構と、前記検出デバイスの動作を制御し、かつ収集された生体信号があらかじめ設定された生理条件に適合しないとき警告メッセージを発する制御ユニットを含み、そのうち前記制御ユニットは、前記検知機構が解放状態下にあるとき解放状態の通知を発し、且つ前記検知機構の状態に基づき、前記制御ユニットが前記検出デバイスを異なる動作モードに入らせる。さらに、前記警告メッセージを受信すると、前記受信デバイスが前記第二使用者に対し収集された生体信号とあらかじめ設定された生理条件間の不適合を示すための警告通知を送信し、かつ解放状態の通知を受信すると、前記受信デバイスが前記第二使用者に対し解放通知を送信する。
【選択図】図1
Description
本発明は生命兆候監視方法、装置及びシステムに関し、特に、即時警告を正確に提供する非侵襲性生命兆候監視方法、装置及びシステムに関する。
病院や家庭での介護の需要は、現代社会において高齢化問題が重大な課題になって以来徐々に増加している。しかしながら介護は、特に長期的または終日の介護で、人的サポートや財源が必要であり、この問題を解決するため多くの考案が開示されている。
それら解決策の中でも、人々の暮らしにすでに深く影響を与えている電子設備が上述のような問題の解決のため医療分野で導入されており、人の付き添いに代わって監視装置や通信技術が採用され、それにより一人で複数の患者の介護を行うという目標も容易に達成することができる。
従来、監視は患者の音声や画像を別の場所にいる介護者に例えばマイクロフォンやカメラを使って伝送することに焦点が置かれている。最もよく見受けられる応用が乳児の世話である。親またはベビーシッターは乳児のそばに付き添っている必要がなく、例えば別の部屋でスピーカや画面などの受信装置を使って仕事をすることができ、受信装置に異常が示されたときのみ十分な注意を向ければよい。
別の応用が成人の世話である。例えば、病室には看護部に緊急状況を通知するための救急ボタンが常設されており、通知を受けて医療関係者が即時に対応することができる。
上述の通り、上記のような応用は受動的な通知に基づいている。すなわち、例えば乳児が泣くことなく窒息したような場合、この死亡につながる状況に世話をする人が気付きにくい。または患者が病室に一人でいるとき、場合によっては救助を呼ぶための救急ボタンを押すことができないことがある。このため、改良が必要である。
問題を解決するため、生理的パラメータの監視が被験者の身体的状況を知るための主要な方法となっている。一般に生理的パラメータの監視はたくさんのセンサーを被監視者に付着させて生理的パラメータを収集し、それらをリモートの受信装置に送信して生理的パラメータに異常が発生したとき、監視要員が適切に動作するよう構成されている。さらに、監視要員に異常状況を通知するため警告システムを含む場合もある。
しかしながら、この種の装置の欠点は複雑なセンサーの配置であり、これは使用者にとって明らかに負担となり、使用者が自分で容易に完了することができない場合さえある。また、警告システムは常に選択された生理的パラメータが正常範囲を超えたときのみ作動されるように設定されているため、これは監視要員にとってやはり受動的な通知であるが、逆にリアルタイムの送信は大きな電力量を消費する必要があり、これはほとんどの応用において、特に電池で作動する装置にとって、望ましくない。このため、両方の観点から困難である。加えて、センサーが人体から偶発的に外れてしまった場合も警告システムが作動し、この状況においても生理的パラメータが異常を示すため、監視要員にとって使用者に発生した真の危険と区別することが難しい。
上述に鑑みて、本発明の主な目的は、電力を高効率で使用し、正確かつ即時に被監視者に関する生体情報と状態を能動的に提供する、非侵襲性生命兆候監視装置を提供することにある。
本発明の別の目的は、センサーの脱落を検出し、不正確な警告を減少することができる検知機構を備えた非侵襲性生命兆候監視装置を提供することにある。
本発明のさらに別の目的は、受信端の監視要員が能動的に検出端に必要な情報を送信するよう要求することができ、電力を無駄にすることなく使用者の真の生体状況を監視要員が容易に知ることができる、非侵襲性生命兆候監視装置を提供することにある。
本発明の非侵襲性生命兆候監視装置は、付着要素を介して第一使用者に付着された検出デバイスと、検出デバイスからの信号及びメッセージを無線受信するため、第二使用者により保持される受信デバイスを含む。前記検出デバイスは、第一使用者から生体信号を収集するための検出ユニットと、前記付着要素上に取り付けられ、該付着要素との接続関係に対応する結合状態及び解放状態を備えた検知機構と、検出デバイスの動作を制御し、かつ収集された生体信号があらかじめ設定された生理条件に適合しないとき警告メッセージを発する制御ユニットを含み、そのうち前記制御ユニットは、前記検知機構が解放状態下にあるとき解放状態の通知を発し、且つ前記検知機構の状態に基づいて、前記制御ユニットが前記検出デバイスを異なる動作モードに入らせ、さらに、前記警告メッセージを受信すると、前記受信デバイスが前記第二使用者に対し収集された生体信号とあらかじめ設定された生理条件間の不適合を示すための警告通知を送信し、かつ解放状態の通知を受信すると、前記受信デバイスが前記第二使用者に対し解放通知を送信する。
好ましくは、前記生体信号は心拍信号及び(または)パルス信号とし、かつ前記検出ユニットは発光素子及び受光素子を備えた光学検出ユニットとし、そのうち前記発光素子と前記受光素子の数量は共に変更可能であり、且つ前記光学検出ユニットは、前記第一使用者の指、耳、または額に、挟着、包囲または粘着によって付着される。
さらに好ましくは、前記装置はさらに、前記第一使用者に付着され、別の種類の生体信号を前記第一使用者から収集するためのピエゾ式検出素子を含むことができ、そのうち、前記ピエゾ式検出素子は皮膚表面の振動及び(または)皮膚の伸縮によって生成される信号の検出に用いられ、且つ前記ピエゾ式検出素子は、粘着、包囲または束縛により前記第一使用者の胸部または頚部に付着される。
さらに好ましくは、前記装置はさらに、前記第一使用者に付着され、前記第一使用者から別の種類の生体信号を収集するための非侵襲性生理用電極を含むことができる。
さらに好ましくは、前記装置はさらに、移動検知素子を含むことができ、そのうち前記移動検知素子は前記検出デバイス内部に配置され、且つ前記移動検知素子により収集された信号はその他信号の判断基準として使用される。
さらに好ましくは、前記装置はさらに、前記第一使用者による、または前記第一使用者周辺の環境による音声の出力を前記第二使用者に提供するための音声検知素子を含むことができる。
さらに好ましくは、前記装置はさらに、体温情報及び(または)環境温度情報を提供するための温度検知素子を含むことができる。
また、前記検知機構の前記結合状態は、前記制御ユニットを作動させて結合状態の通知を送信させることができ、且つ前記検知機構は前記付着要素と前記検出デバイスの間、及び(または)前記付着要素と前記第一使用者の間に配置される。
加えて、検出デバイスはさらに救難メッセージを発するため第一使用者により使用されるボタンを含むことができ、そして前記受信デバイスは、救難メッセージを受信した後、救難通知を送信し、かつ同時に救急システムに救助要請メッセージを送信する。
好ましくは、前記受信デバイスにより送信される通知は音声、照明、画像及び(または)振動として実施する。
さらに好ましくは、前記検出デバイスにより送信される信号とメッセージは、複数の受信デバイスにより受信され、及び(または)単一の前記受信デバイスは複数の検出デバイスからの信号とメッセージを受信することができる。
本発明の別の態様により、非侵襲性生命兆候監視装置が提供される。前記装置は、第一使用者から生体信号を収集するため付着要素を介して第一使用者に付着された検出デバイスを含み、該検出デバイスは前記付着要素上に取り付けられ、該付着要素との接続関係に対応する結合状態及び解放状態を備えた検知機構を含み、そのうち前記検知機構の状態に基づき、前記検出デバイスが異なる動作モードに入るよう変化され、さらに第二使用者により保持され、前記検出デバイスに特定の生体信号を送信するよう要求する要請メッセージを送信するため前記第二使用者によって用いられる操作インターフェースを含む受信デバイスを含む。
好ましくは、異なる動作モードが異なる電源供給状態を有する。
本発明のさらに別の態様により、生体信号監視のための非侵襲性の方法は、a)付着要素及び受信デバイスを備えた検出デバイスを提供する、b)結合状態及び解放状態を備え、前記検出デバイス上に設けられた検知機構を提供する、c)前記付着要素により前記検出デバイスを使用者に付着する、d)生体信号を収集する、e)前記検知機構の状態を監視する、f)前記検出デバイスが前記解放状態を検知すると、解放状態の通知を前記受信デバイスに送信する、そしてg)前記受信デバイスが前記解放状態の通知を受信すると、解放状態を示すため解放通知を送信する、というステップを含む。
さらに好ましくは、前記方法がさらに、h)結合状態が検出されると、前記検出デバイスにより前記受信デバイスに結合状態の通知を送信する、及びi)前記結合状態の通知を受信した後、前記受信デバイスにより結合通知を送信する、というステップを含む。
本発明のさらに別の態様により、生体信号監視のための非侵襲性の方法は、a)付着要素及び受信デバイスを備えた検出デバイスを提供する、b)前記受信デバイス上に操作インターフェースを提供する、c)前記付着要素により前記検出デバイスを使用者に付着する、d)生体信号を収集する、e)前記検出デバイスに特定の生体信号を送信するよう要求するため、前記操作インターフェースを介して要請メッセージを送信する、及びf)前記検出デバイスが前記要請メッセージを受信した後、要求された生体信号を前記受信デバイスに送信する、というステップを含む。
本発明のさらに別の態様により、非侵襲性生命兆候監視システムは、少なくとも1つの非侵襲性生命兆候監視装置と、少なくとも1つの管理コンソールを含む。前記監視装置は、付着要素を介して使用者に付着され、第一使用者から生体信号を収集するための検出ユニットを備えた検出デバイスと、付着要素上に取り付けられ、該付着要素との接続関係に対応する結合状態及び解放状態を備えた検知機構と、検出デバイスの動作を制御し、かつ収集された生体信号があらかじめ設定された生理条件に適合しないとき警告メッセージを発する制御ユニットと、前記検出デバイスからの前記生体信号及びメッセージを無線受信するための受信デバイスを含み、そのうち前記制御ユニットは、前記検知機構が解放状態下にあるとき解放状態の通知を発し、前記制御ユニットが前記検知機構の状態に基づいて前記検出デバイスを異なる動作モードに入らせ、前記警告メッセージを受信すると、前記受信デバイスが収集された信号とあらかじめ設定された生理条件間の不適合を示す警告通知を前記管理コンソールに送信し、かつ、前記解放状態の通知を受信すると、前記受信デバイスが前記検出デバイスの付着状況を示す解放通知を前記管理コンソールに送信する。
好ましくは、前記生命兆候監視装置はは有線または無線ネットワークシステムであるネットワークシステムを介して前記管理コンソールに接続される。
さらに好ましくは、前記管理コンソールは前記検出デバイスからの生体信号を要求する要請メッセージを送信することができ、前記要請メッセージは前記受信デバイスに、そして前記検出デバイスに送信され、前記検出デバイスは前記要請メッセージを受信した後、前記生体信号を返す。
以下、例として挙げる本発明の最良の実施例と図面に基づき、本発明についてより詳細に説明し、更なる理解を促す。
本発明は非侵襲的かつ即時に生命兆候を監視するための装置であって、異常な生命兆候の発生を通知する警告通知だけでなく、検出デバイスの脱落を表す通知をも提供し、警告通知の正確性を確認することができる装置を提供する。また、受信デバイスを通して監視要員が能動的に検出デバイスに関連の情報を送信するよう要求することができ、完全かつ有効な双方向通信を達成することができる。
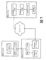
図1の本発明に基づく非侵襲性生命兆候監視装置の概略図を示す。この図に示すように、前記非侵襲性生命兆候監視装置100は、使用者に付着される検出デバイス108と、監視要員により監視される受信デバイス102の2つの主要な部材を含み、前記検出デバイス108は付着要素110を介して前記使用者に付着される。前記検出デバイス108は、少なくとも1つの生体信号検出素子116〜128、検知機構114、制御ユニット112を含み、前記受信デバイス102は表示要素104と操作インターフェース106を含む。
本発明の目的に基づき、前記検出デバイスと前記受信デバイスは前記使用者及び該使用者のそばに付き添っていない前記監視要員上にそれぞれ配置され、それらの間での通信は無線で実施される必要がある。
さらに、前記検出デバイスは前記付着要素を介して前記使用者に付着され、この付着の達成と前記使用者の負担減少のため、前記検出デバイスは小型で軽量になるよう実施される。異なる付着位置に基づき、前記付着要素は、異なる種類の実施が可能であり、例えば、ベルト(図2A)、パッチ(図2B)、または吊り下げバンド(図2C)とすることができる。但し、種類はこれらに限られず、前記使用者の負担を増加しないことを主な原則とする。
前記検出要素が前記使用者から生体信号を収集するために用いられる。本発明において、前記生体信号は心拍とすることができ、これは生体において最も代表的であり、且つ最も容易に取得することができる生体信号であるためである。
監視に用いる生体信号として心拍を選択する理由は次のとおりである。一般に、どのような身体的状況が発生するかを問わず、心拍は直接影響を受ける。さらに、心拍は容易に取得できる生体信号であり、つまり前記使用者が心拍の検出要素を専門の訓練なく容易に配置を完了することが可能であることを意味する。このほか、心拍の取得には血管の収縮、心拍による心音、パルスによる皮膚振動等、多くの方法がある。且つ、前記心拍検出要素の配置にはほぼ制限がない。
上述の説明のほか、心拍は身体や手足の動きなどの外部要素によって影響を受けにくい安定した生体信号であるため、生命兆候の監視のための生体信号として心拍を採用することは有利である。
また、心拍は人の生命の安定性を代表するのに最良の値であることが重要である。特に、慢性病の高齢者、何らかの劇症の疾病の危険にある患者、あるいは話ができない乳児の判定を行うとき、安定した状態下での健康状態の確認方法が非常に重要である。
このため、心拍/パルス信号は実際に制限をあまり受けずに人体の生命兆候を正確に表すことができる生体信号なのである。
使用される前記検出要素については、多くの選択がある。
(1)光学検出ユニット
光学検出ユニットは発光素子と受光素子の組み合わせである。心臓が拍動するとき、心臓に接続する血管にはそれぞれ収縮があるため、血管を通過する放射された光の吸収の変動は、血管の収縮頻度を表すことができ、心拍数を知ることができる。
(2)ピエゾ式検出素子
ピエゾ式検出素子は心臓の拍動及び(または)血管収縮によって引き起こされる皮膚表面での振動を検出し、振動の変化を電流変化に変換し、心拍/パルスの変化の算出に用いることができる。
(3)生理用電極
ECG(心電計)電極を用いることができる。ここでは心拍/パルスの変化を知る必要があるのみであるため、ECG電極の配置位置はECGモニタリングほど重要ではなく、使用者が配置する際にも困難はない。
(1)光学検出ユニット
光学検出ユニットは発光素子と受光素子の組み合わせである。心臓が拍動するとき、心臓に接続する血管にはそれぞれ収縮があるため、血管を通過する放射された光の吸収の変動は、血管の収縮頻度を表すことができ、心拍数を知ることができる。
(2)ピエゾ式検出素子
ピエゾ式検出素子は心臓の拍動及び(または)血管収縮によって引き起こされる皮膚表面での振動を検出し、振動の変化を電流変化に変換し、心拍/パルスの変化の算出に用いることができる。
(3)生理用電極
ECG(心電計)電極を用いることができる。ここでは心拍/パルスの変化を知る必要があるのみであるため、ECG電極の配置位置はECGモニタリングほど重要ではなく、使用者が配置する際にも困難はない。
当然、心拍/パルス以外のその他生理的パラメータも監視及び(または)判断の補助に用いることができ、それらを相互参照することを通してよりよい結果を取得することができる。一つの選択肢が移動検知素子であり、使用者の移動情報を提供する。前記移動検知素子は前記検出デバイス108内に位置する(図1においては128として表示されるとおり)ことができ、或いはその他検出要素に組み込む(図1においては126として表示されるとおり)こともできる。また、使用者の位置を提供するためGPSを利用することもできる。別の選択肢が温度検知素子124であり、体温または(及び)環境温度情報を提供し、判断の補助に用いる。当然、これらは例示のみであり、制限ではない。
図2A〜2Fに本発明に基づく非侵襲性生命兆候監視装置における前記検出デバイス及び前記付着要素のさまざまな実施の種類を示す。そのうち、異なる生体信号の種類及び異なる検出要素に基づき、同時に使用者の快適性、利便性及び動きやすさを考慮して、前記検出デバイス及び前記付着要素の組み合わせは多くの選択が可能である。例えば、クリップタイプの検出要素を備えた腕時計タイプの検出デバイス(図2D)、検出要素と検出デバイスが組み合わされたリングタイプ(図2E)、或いは耳クリップ検出要素を備え、耳付近に設置されるパッチタイプの検出デバイス(図2F)などとして実施することができる。さらに、検出デバイスの配置位置が制限されない場合、付着要素は頭部、胸部、腕、手首用のベルト(図2A)、ほぼすべての皮膚表面用の粘着パッチ、及び吊り下げバンド(図2C)など、一般的な種類として実施することができる。または、図2Aと2Bの検出要素をベルトまたはパッチに直接組み込んだり、或いは図2Bと2Cを組み合わせて別の種類の実施としたりすることもできる。このため、これらの例はすべて例示としてのものであり、制限ではない。
前記検出デバイス内の制御ユニットは、前記検出デバイスの動作を制御するために用いられる。このため、本発明に基づく非侵襲性生命兆候監視装置により提供される上述の警告機能は、前記制御ユニットによって制御される。警告メッセージ生成のプロセスを図3に示す。まず、生体信号を収集した後、収集された信号があらかじめ設定された生理条件と比較される。そして、収集された信号があらかじめ設定された条件に適合しない場合、前記制御ユニットが即時に警告メッセージを前記受信デバイスに送信し、その警告メッセージを受信した後、前記受信デバイスが監視要員に通知するための警告通知を発する。ここで、この通知は音声、照明、振動、画像などさまざまな種類で実施することができる。
前記検出デバイスと前記受信デバイスは相互に無線通信を行うため、特に前記検出デバイスを携帯型として実施した場合において、電池の消費が重大な問題となる。このため、それがリアルタイムワイヤレス伝送として実施される場合、軽量及び体積減少の原則と長期間の電源供給とが対立する。例えば、装置を軽量且つ小型に維持するために、電池寿命時間が24時間以下になってしまったり、或いは十分な電力を提供するために体積と重量を犠牲にすることは避けられない。従って、本発明は異なる操作要求に適応するため、異なる電力消費条件の異なる操作モードを提供する。
まず、信号収集において、前記制御ユニットは間欠的な収集を行うよう設計されており、検出を行わない期間中、前記検出デバイスはスリープモードなどの節電モードに入り、電力消費が減少される。
データ伝送に関して、本発明によれば、やはり異なるモードを備えており、例えば、一般モードとイベント作動モードがあるが、これらに限らないものとする。
一般モードでは、収集された生体信号が前記受信デバイスに間欠的に送信される。このとき、送信間隔もまた異なる選択ができ、例えば、測定の開始時の送信間隔はより集中的な頻度とし、信号が安定するにつれて、送信間隔を延長することができる。生体信号の伝送のほか、前記検出デバイスと前記受信デバイス間では、相互間の無線通信を確認するため、接続確認メッセージの伝送が常に行割れている必要がある。従って、前記生体信号は接続確認メッセージと共に伝送することができ、例えば、接続確認メッセージの伝送の毎回、2回毎、3回毎などとすることができる。ただし、生体信号があらかじめ設定された条件に適合しないことが発見された場合、前記検出デバイスが生体信号の伝送処理を行っているか否かを問わず、前記検出デバイスは即時に警告メッセージを発して前記受信デバイスに送信することに注意する。
イベント作動モードでも、前記検出デバイスが前記検出要素を介して生体信号を間欠的に収集する。しかし、このモードで異なるのは、生体信号が定期的に送信されない点である。つまり、検出された生体情報は検出端で保持され、受信端には伝送されない。ただし、生体情報の異常が発生した場合、前記検出デバイスが即時に作動して警告メッセージを送信し、警告通知が発せられる。このため、このモードでは、前記検出デバイスが警告メッセージと接続確認メッセージのみを送信するため、電力消費が最低レベルに減少される。ここで、警告及び救助機能はやはり維持されることが重要である。
先行技術においては常に、収集された生体信号があらかじめ設定された生理条件に適合しないとき、警告メッセージが前記検出デバイスにより送信される、或いは前記検出デバイスそのものが警告通知を発する。しかしながら、前記検出デバイスの脱落は考慮されていない。問題は、特に、前記使用者が眠っている、または意識を失っているとき、前記検出デバイスが使用者の身体から脱落することがあり、このとき、収集された生体信号は現在の生理条件に適合せず、必ず検出デバイスにより警告メッセージが発せられる。しかし、残念なことに、介護者や医療関係者などの監視要員は、真の異常と誤警告間の違いを区別することができないため、監視要員は安全を考慮して監視されている人物に即時に駆けつけるに違いない。このため、このような状況では人力が無駄になる。このほか、警告が直接救急医療サービスシステムに接続されている場合、より大きな人力の無駄を招いてしまう。
このため、即時性と節電機能のほか、情報の正確性も生命兆候のモニタリングでは重要な役割を果たす。従って、本発明は誤警告を防止する設計を提示しており、それを達成するため、前記検出デバイスはさらに図1に示すように検知機構114を含む。前記検出デバイスは前記付着要素を介して使用者に付着されるため、脱落は前記付着要素が使用者から離れているか、及び(または)前記検出デバイスが前記付着要素から離れているかによって決定される。このため、前記検知機構114は前記付着要素110上に取り付けられ、前記付着要素と前記検出デバイスの間、及び(または)前記付着要素と前記使用者の間に配置される。
図4A〜4Eに前記検知機構114の可能な実施例を示す。異なる付着要素に基づき、前記検知機構114は異なるタイプで実施され、且つ異なる位置に配置される。例えば、前記付着要素が粘着パッチである場合、図4Aに示すように、前記検知機構114は前記付着要素と使用者及び(または)前記付着要素と前記検出デバイスの間に配置して実施することができ、前記付着要素が使用者から離れた、及び(または)前記検出デバイスが前記付着要素から離脱した場合、前記検知機構114が離脱をすぐに検知し、即時に解放の状況に対応することができる。この実施例において、好ましくは、前記検知機構114は圧力検知機構として実施することができる。そして、図4Bに示すように、前記付着要素は吊り下げバンドとして実施し、前記検知機構114はバンドの破損の検知または使用者からのバンドの離脱の検知のため、吊り下げバンドと装置間の結合点及び(または)吊り下げバンド内(図示しない)に配置するよう設計することができる。このほか、前記付着要素が例えば図4Cから図4Eまでに示すように、拘束ベルト、腕時計タイプベルト、またはリングタイプベルトなどの巻きつけベルトとして実施される場合、前記検知機構114は、バックル位置及び(または)使用者の皮膚に接触するベルトの表面に配置するよう設計することができる。このため、前記検知機構の種類は、例えば乳児や高齢者など、異なるタイプの使用者に合わせて調整することができる。
前記検知機構の通知プロセスを図5に示す。前記検知機構は前記制御ユニットに接続され、前記制御ユニットが前記検知機構の結合状態と解放状態に応答できるようにする。図5Aに示すように、前記検知機構が解放されると、前記制御ユニットが作動されて前記受信デバイスに解放状態の通知を送信し、同時に、前記検出デバイスはスリープモードなどの低電力消費モードに入る。そして、前記受信デバイスは解放状態の通知を受信すると、例えば、音声、画像、照明、振動等の解放通知を生成し、前記監視要員に前記検出デバイスが使用者から外れたことを通知する。このため、前記検出デバイスの脱落が正確に検出され、当然誤警告を回避することができる。
反対に、図5Bに示すように、前記検知機構を組み合わせたとき応答を生成することもできる。例えば、前記検知機構の前記結合状態は、前記制御ユニットを作動させて結合状態の通知を前記受信デバイスへ送信させることができ、結合状態の通知を受信した後、前記受信デバイスは前記監視要員に知らせるための結合通知を発することができる。このため、前記結合通知が解放通知の後に生成された場合、前記監視要員は前記検出デバイスが前記使用者自身または他者によってを問わず、再構成されたことに気づくことができる。さらに、解放通知の後に結合通知がない場合、前記監視要員は前記検出デバイスの再構成を助けるため人を送ることができる。ここで、前記検出デバイスの電力消費を同時に低下させることができる前記解放状態の通知とは反対に、前記結合状態の通知は前記制御ユニットを作動させて前記検出デバイスを通常の動作モードに戻すよう回復させることもできる。加えて、前記検知機構の結合状態は、測定の開始時に監視が自動的に開始されるよう、前記制御ユニットを作動させて前記検出デバイスの動作を開始させることができる。
従って、前記検知機構の警告プロセスは、前記解放通知を警告通知から区別することができさえすれば、あらゆる種類の要求に基づき変化させることができる。
加えて、警告、解放及び結合通知のほか、前記非侵襲性生命兆候監視装置はまたその他種類の通知を用いることもでき、例えば、電力状態、検出要素の接続状態、及び(または)動作状態を通知する通知などで、監視要員により多くの情報を提供することができる。且つ、通知方法も多様な色の照明を使用したり、照明の点滅を利用したり、音声及び(または)画像の変化を用いたりなど、異なる選択ができる。
前記検出デバイスの説明に基づき、前記受信デバイスは対応する設計とすることができる。
前記受信デバイス102は、使用者に関する生体情報と状態、及び前記検出デバイスの状態を示す表示要素104と、監視要員の操作を促進する操作インターフェース106を含む。ここで、特に、前記操作インターフェース106を介して前記監視要員は遠隔操作で使用者に関する生体情報や、環境に関する情報、及び前記検出デバイスの状態など、前記検出デバイスに必要な情報を送信するよう要求することができる。
前記監視要員からの要求に対して前記検出デバイスから送信される情報の内容は異なる選択が可能である。
1つの実施例において、前記検出デバイスは監視期間中の生体情報のサマリーのみを送信するよう設計され、前記監視要員がより詳細な生体情報を必要とする場合、前記監視要員は前記操作インターフェースを介して前記検出デバイスに詳細な生体情報を送信するよう要求することができる。このため、前記検出デバイスは前記要請メッセージを受信すると、要求された情報を送信する。特に、本発明に基づき、通常の動作モードでは、前記検出デバイスの一部の検出要素のみ動作するように設計し、元々動作しない検出要素は監視要員が要求を発したときのみ起動されるように設計することもできる。例えば、前記検出デバイスはマイクロフォンなどの音声検知素子(図1で122で示されるとおり)を含むことができ、要請メッセージが受信されたときのみ動作して、使用者または使用者の周囲の環境の音が要求に応じて前記受信デバイスに送信されるようにすることができる。つまり、前記監視要員は監視期間中ずっと音声を知る必要はないが、警告状況が発生した場合、監視要員は前記音声検知素子を起動させ、例えば、乳児が泣いているか、または使用者の呼吸音があるかなど、より多くの情報を収集することができる。
別の実施例において、上述のように、節電のため、本発明に基づく前記検出デバイスは生体信号が正常である状態においては定期的送信を行わないが、監視要員が即時に情報を知る必要があるとき、監視要員は前記操作インターフェースを介して要請メッセージを前記検出デバイスに送信することができ、前記検出デバイスは前記要請メッセージを受信すると即時に作動され、即時生体情報を送信する。このため、前記監視要員は節電状態下でも即時の情報を得ることができる。
さらに、前記操作インターフェースを介して監視要員は送信される情報の内容を指定することもできる。例えば、前記検出デバイスがマイクロフォンなどの音声検出要素を含む場合、送信される情報はマイクロフォンによって収集された音声を含み、或いは前記検出デバイスが温度検知素子(図1では124で示されるとおり)を含む場合、監視要員は体温や環境温度などの即時の温度情報を知ることができる。
従って、本発明の設計に基づき、監視要員により要求される即時情報は制限されることなく多様な種類とすることができる。
図6のフローチャートに前記受信デバイスが能動的に情報の送信を要求するプロセスを示す。図に示すように、まず監視要員が操作インターフェースを介して情報の内容を選択する。そして前記検出デバイスは要請メッセージを受信すると、要求された生体信号を収集し、それを受信デバイスに送信する。最後に、受信された生体情報が表示要素に表示される。
監視要員が操作インターフェースを用いて検出デバイスに情報の送信を要求するのとは逆に、図7に示すように、監視されている使用者も検出デバイスを介して受信デバイスを持っている監視要員を呼び出すことができる。このとき、前記検出デバイスはさらにボタン(図1で130で示されるとおり)を含むことができ、例えば使用者の気分がすぐれないときや危険があるときなどの必要時に、使用者はボタンを押して前記検出デバイスを作動させ、救難メッセージを送信することができ、前記受信デバイスがその救難メッセージを受信すると、監視要員に通知するため救難通知が生成される。同時に、救難通知を生成するほか、前記受信デバイスは救助要請メッセージを送信することで救急医療サービスシステムに知らせ、待ち時間を短縮することもできる。この設計は特に一人暮らしの高齢者に恩恵があり、自動警告プロセスに加え、高齢者がボタンを押すことで能動的に救難メッセージを送信することができ、安全性が向上される。
図8Aから8Cに本発明に基づく受信デバイスの可能な実施例を示す。受信デバイスは、例えば病院内で移動する看護師など、移動を必要とする可能性のある監視要員により使用されるため、監視要員が受信デバイスのそばにいる必要がないよう、受信デバイスを携帯型デバイスとして実施することがより望ましい。このため、図に示すように、前記受信デバイスは、例えばハンドヘルド型デバイス(図8A)、腕時計(図8B)、首に吊り下げるデバイス(図8C)などのように、連びやすく、操作しやすいデバイスとして実施することができる。さらに、操作を促進するため、ヘッドセットやタッチペンなとの補助ツールを提供することもできる。
このほか、高齢者コミュニティの保健介護センターや、育児監視センターなどで介護者は1人以上の世話をする必要がある場合があるため、図9に示すように、受信デバイスは複数の検出デバイスから同時に信号とメッセージを受信することができるように実施することができる。このため、介護者は複数の患者を監覘するために複数の受信デバイスを持ち連ぶ必要がない。且つ、さらに好ましくは、介護者がコンピュータのディスプレイを介して監視を継続することができるよう、携帯型受信デバイスもコンピュータ接続可能に実施することができる。
また、携帯型としての実施のほか、前記受信デバイスはまた、例えば、ドングル付きのパーソナルコンピュータ、PDAまたはデスクトップなど、処理デバイスを備えた無線通話機として実施することもできる。この実施例により、応用範囲がより広がる。例えば、前記通話機は当番の看護師が順番に監視を行うことができるよう、看護部にある直接監視用のコンピュータ上にインストールすることができる。または、前記通話機は移動性と利便性を高めるため、携帯型コンピュータ装置に結合することもできる。
当然、本発明に基づき、図10に示すように、1つの検出デバイスによって送信される信号及びメッセージは複数の受信デバイスで受信することもできる。この実施例では、警告通知が複数の受信デバイス上に表示されるため、患者に対してより完全かつ確実な看護を提供する。
好ましくは、長期間の監視を考慮し、前記受信デバイスはさらにメモリコンポーネントを含むことができ、前記検出デバイスにより送信される情報を後の医師による観察のために保存することができる。このほか、前記検出デバイスもメモリコンポーネントを含むことができ、例えばデータ送信前のバッファとすることができる。
本発明の別の態様に基づき、図11に示すように、非侵襲性生命兆候監視システム画提供される。このシステムでは、上述の説明のとおり非侵襲性生命兆候監視装置のほか、管理コンソールも含まれ、図10に示すように、そのうち前記生命兆候監視装置は、例えば有線または無線ネットワークを経由して、或いは直接接続を介して、管理コンソールが即時に患者の生命兆候を監視することができるよう、管理コンソールに接続される。このとき、前記管理コンソールは、同じ建物内の監視センター、遠隔地の監視センター、救急医療サービスシステムとすることができるが、これらに限らない。このため、検出デバイスからの信号とメッセージは受信デバイスにより受信され、そして前記受信デバイスが、必要に応じて、通知のため監視システムに前記メッセージを送信する、或いはさらに好ましくは、前記検出デバイスは同時に受信デバイスと監視システムに通知をすることもできる。好ましくは、検出デバイスにGPSを装備した場合、患者をより容易に見つけることができる。このほか、管理コンソールのそばにいる監視者が検出デバイスに即時生体情報を送信するよう要求することもできる。このため、双方向の看護システムを完成することができる。
ここで、受信デバイスがネットワークを介して管理コンソールと通信する場合、例えば、前記受信デバイスが直接ネットワーク機能を有するか、或いは前記受信デバイスをコンピュータに接続し、そのネットワーク機能を利用するようにすることができる。
前述において、本発明は、生体信号を収集するため、容易な取り付けに有利である非侵襲性検出要素を用いた非侵襲性生命兆候監視装置を提供する。さらに、軽量のデバイスは付着要素を介し、使用者が負担を感じることなく、良好な移動性を有することができるよう、使用者に付着することができる。加えて、前記付着要素は、デバイスが外れてしまうことにより引き起こされる誤警告を回避することができるよう、検出デバイスが人体から外れた場合それを検知し、通知を送信する検知機構を装備して設計される。また、警告のほか、前記受信デバイスは能動的に前記検出デバイスに情報を送信するよう操作インターフェースを介して要求することができ、前記受信デバイスと前記検出デバイスは制限されることなく双方向の通信を行うことができる。加えて、前記受信デバイスが管理コンソールに接続されているため、正確で即時かつ便利な非侵襲性生命兆候監視システムが達成される。
上述の例及び開示は例示を意図しており、網羅を意図したものではない。これらの例及び説明は、当技術分野における通常の技術の一つに対し多くの変化や代替を提案するものである。これら代替及び変化はすべて本発明の特許請求の範囲内に含まれるものとする。当技術分野を熟知した人物が、ここで説明される特定の実施例の他の同等物に気付いた場合、それら同等物も本発明の特許請求の範囲によって包含されることが意図される。
100 非侵襲性生命兆候監視装置
102 受信デバイス
104 表示要素
106 操作インターフェース
108 検出デバイス
110 付着要素
112 制御ユニット
114 検知機構
116 光学検出ユニット
118 ピエゾ式検出素子
120 生理用電極
122 音声検知素子
124 温度検知素子
126 移動検知素子
128 移動検知素子
130 ボタン
102 受信デバイス
104 表示要素
106 操作インターフェース
108 検出デバイス
110 付着要素
112 制御ユニット
114 検知機構
116 光学検出ユニット
118 ピエゾ式検出素子
120 生理用電極
122 音声検知素子
124 温度検知素子
126 移動検知素子
128 移動検知素子
130 ボタン
Claims (30)
- 非侵襲性生命兆候監視装置であって、付着要素を介して第一使用者に付着された検出デバイスと、前記検出デバイスからの信号及びメッセージを無線受信するため、第二使用者により保持される受信デバイスを含み、
前記検出デバイスが、
第一使用者から生体信号を収集するための検出ユニットと、
前記付着要素上に取り付けられ、前記付着要素との接続関係に対応する結合状態及び解放状態を備えた検知機構と、
検出デバイスの動作を制御するための制御ユニットを含み、そのうち、前記制御ユニットは収集された生体信号があらかじめ設定された生理条件に適合しないとき警告メッセージを発し、前記制御ユニットは前記検知機構が解放状態下にあるとき解放状態の通知を発し、且つ前記検知機構の状態に基づき前記制御ユニットが前記検出デバイスを異なる動作モードに入らせ、
前記受信デバイスが、
前記警告メッセージを受信すると、前記受信デバイスが前記第二使用者に対し収集された生体信号とあらかじめ設定された生理条件間の不適合を示すための警告通知を送信し、且つ、
前記解放状態の通知を受信すると、前記受信デバイスが前記第二使用者に対し解放通知を送信する、
ことを特徴とする、非侵襲性生命兆候監視装置 - 前記付着要素が、巻き付けベルト、粘着パッチ、または吊り下げベルトとして実施されることを特徴とする、請求項1に記載の非侵襲性生命兆候監視装置。
- 好ましくは、前記生体信号が心拍信号及び(または)パルス信号であることを特徴とする、請求項1に記載の非侵襲性生命兆候監視装置。
- 前記検出ユニットは発光素子及び受光素子を備えた光学検出ユニットであり、目つ前記発光素子及び前記受光素子の数量は共に変更可能であり、そのうち前記光学検出ユニットは、前記第一使用者の指、耳、または額に、挟着、包囲または粘着によって付着されることを特徴とする、請求項1に記載の非侵襲性生命兆候監視装置。
- さらに、前記第一使用者から別の種類の生体信号を収集するため、前記第一使用者に付着されたピエゾ式検出素子を含むことを特徴とする、請求項1に記載の非侵襲性生命兆候監視装置。
- 前記ピエゾ式検出素子が皮膚表面の振動及び(または)皮膚の伸縮によって生成される信号の検出に用いられ、且つ前記ピエゾ式検出素子は、粘着、包囲または束縛により前記第一使用者の胸部または頚部に付着されることを特徴とする、請求項5に記載の非侵襲性生命兆候監視装置。
- さらに、前記第一使用者から別の種類の生体信号を収集するため、前記第一使用者に付着された非侵襲性生理用電極を含むことを特徴とする、請求項1に記載の非侵襲性生命兆候監視装置。
- さらに移動検知素子を含むことを特徴とする、請求項1に記載の非侵襲性生命兆候監視装置。
- 前記移動検知素子は前記検出デバイス内部に配置され、且つ前記移動検知素子により収集された信号がその他信号の判断基準として使用されることを特徴とする、請求項8に記載の非侵襲性生命兆候監視装置。
- さらに前記第一使用者による、または前記第一使用者周辺の環境による音声の出力を前記第二使用者に提供するための音声検知素子を含むことを特徴とする、請求項1に記載の非侵襲性生命兆候監視装置。
- さらに体温情報及び(または)環境温度情報を提供するための温度検知素子を含むことを特徴とする、請求項1に記載の非侵襲性生命兆候監視装置。
- 前記検知機構の前記結合状態が、前記制御ユニットを作動させて結合状態の通知を送信させ、前記前記検知機構は前記付着要素と前記検出デバイスの間、及び(または)前記付着要素と前記第一使用者の間に配置されることを特徴とする、請求項1に記載の非侵襲性生命兆候監視装置。
- 前記検出デバイスがさらに、前記第一使用者が救難メッセージを発するためのボタンを含み、前記受信デバイスが、前記救難メッセージを受信した後に救難通知を送信し、かつ同時に救急システムに救助要請メッセージを送信することを特徴とする、請求項1に記載の非侵襲性生命兆候監視装置。
- 前記受信デバイスがさらに表示要素と操作インターフェースを含み、前記第二使用者が前記操作インターフェースを用い、前記検出デバイスに前記第一使用者の特定の生体信号を送信するよう要求する要請メッセージを送信することができることを特徴とする、請求項1に記載の非侵襲性生命兆候監視装置。
- 前記受信デバイスにより送信される通知は、音声、照明、画像及び(または)振動として実施することを特徴とする、請求項1に記載の非侵襲性生命兆候監視装置。
- 前記検出デバイスにより送信される前記信号及びメッセージが、複数の受信デバイスにより受信されることを特徴とする、請求項1に記載の非侵襲性生命兆候監視装置。
- 前記受信デバイスが複数の検出デバイスから信号及びメッセージを受信することを特徴とする、請求項1に記載の非侵襲性生命兆候監視装置。
- 非侵襲性生命兆候監視装置であって、第一使用者から生体信号を収集するため、付着要素を介して第一使用者に付着された検出デバイスと、第二使用者により保持される受信デバイスを含み、
前記検出デバイスが付着要素上に取り付けられ、前記付着要素との接続関係に対応する結合状態及び解放状態を備えた検知機構を含み、そのうち、前記検知機構の状態に基づいて前記検出デバイスが異なる動作モードに入るよう変化され、
前記受信デバイスが、前記検出デバイスに特定の生体信号を送信するよう要求する要請メッセージを送信するため、前記第二使用者に用いられる操作インターフェースを含むことを特徴とする、非侵襲性生命兆候監視装置。 - 前記異なる動作モードが異なる電源供給状態を有することを特徴とする、請求項18に記載の非侵襲性生命兆候監視装置。
- 前記検知機構の前記解放状態が前記検出デバイスを作動させて解放状態の通知を送信させ、そして前記受信デバイスが前記解放状態の通知を受信した後に解放通知を送信し、且つ、前記検知機構の前記結合状態が前記検出デバイスを作動させて結合状態の通知を送信させることを特徴とする、請求項18に記載の非侵襲性生命兆候監視装置。
- 前記検出デバイスは、収集された生体信号があらかじめ設定された生理条件に適合しないとき警告メッセージを送信し、前記受信デバイスは前記警告メッセージを受信して、警告通知を送信することを特徴とする、請求項18に記載の非侵襲性生命兆候監視装置。
- 非侵襲性生体信号監視方法であって、
a)付着要素及び受信デバイスを備えた検出デバイスを提供する、
b)結合状態及び解放状態を備え、前記検出デバイス上に設けられた検知機構を提供する、
c)前記付着要素により前記検出デバイスを使用者に付着する、
d)生体信号を収集する、
e)前記検知機構の状態を監視する、
f)前記検出デバイスが前記解放状態を検知すると、解放状態の通知を前記受信デバイスに送信する、
g)前記受信デバイスが前記解放状態の通知を受信すると、解放状態を示すため解放通知を送信する、
というステップを含むことを特徴とする、非侵襲性生体信号監視方法。 - 前記検知機構が、前記付着要素と前記検出デバイス及び(または)
前記付着要素と前記使用者の間に配置されたことを特徴とする、請求項22に記載の非侵襲性生体信号監視方法。 - さらに、
h)結合状態が検出されると、前記検出デバイスにより前記受信デバイスに結合状態の通知を送信する、そして
i)前記結合状態の通知を受信した後、前記受信デバイスにより結合通知を送信する、というステップを含むことを特徴とする、請求項22に記載の非侵襲性生体信号監視方法。 - 非侵襲性生体信号監視方法であって、
a)付着要素及び受信デバイスを備えた検出デバイスを提供する、
b)前記受信デバイス上に操作インターフェースを提供する、
c)前記付着要素により前記検出デバイスを使用者に付着する、
d)生体信号を収集する、
e)前記検出デバイスに特定の生体信号を送信するよう要求するため、前記操作インターフェースを介して要請メッセージを送信する、
f)前記検出デバイスが前記要請メッセージを受信した後、要求された生体信号を前記受信デバイスに送信する、
というステップを含むことを特徴とする、非侵襲性生体信号監視方法。 - 前記生体信号が、心拍/パルス信号、音声信号、温度信号、移動信号を含むグループの少なくとも1つであることを特徴とする、請求項25に記載の非侵襲性生体信号監視方法。
- 非侵襲性生命兆候監視システムであって、少なくとも1つの非侵襲性生命兆候監視装置と、少なくとも1つの管理コンソールを含み、
前記非侵襲性生命兆候監視装置が、付着要素を介して使用者に付着された検出デバイスと、前記検出デバイスからの前記生体信号及びメッセージを無線受信するための受信デバイスを含み、
前記検出デバイスが第一使用者から生体信号を収集するための検出ユニットと、
前記付着要素上に取り付けられ、前記付着要素との接続関係に対応する結合状態及び解放状態を備えた検知機構と、
前記検出デバイスの動作を制御するための制御ユニットを含み、そのうち、前記制御ユニットは収集された生体信号があらかじめ設定された生理条件に適合しないとき警告メッセージを発し、前記制御ユニットは前記検知機構が解放状態下にあるとき解放状態の通知を発し、且つ前記検知機構の状態に基づいて前記制御ユニットが前記検出デバイスを異なる動作モードに入らせ、
前記受信デバイスが前記警告メッセージを受信すると、収集された信号とあらかじめ設定された生理条件間の不適合を示す警告通知を前記管理コンソールに送信し、且つ、前記受信デバイスが解放状態の通知を受信すると、検出デバイスの付着状況を示すため前記管理コンソールに解放通知を送信することを特徴とする、非侵襲性生命兆候監視システム。 - 前記生命兆候監視装置が、有線または無線ネットワークシステムであるネットワークシステムを介して前記管理コンソールに接続されることを特徴とする、請求項27に記載の非侵襲性生命兆候監視システム。
- 前記管理コンソールが、前記検出デバイスからの生体信号を要求するための要請メッセージを送信することを特徴とする、請求項27に記載の非侵襲性生命兆候監視システム。
- 前記要請メッセージが前記受信デバイスに、そして前記検出デバイスに送信され、且つ前記検出デバイスは前記要請メッセージを受信した後、前記生体信号を返すことを特徴とする、請求項29に記載の非侵襲性生命兆候監視システム。
Applications Claiming Priority (2)
| Application Number | Priority Date | Filing Date | Title |
|---|---|---|---|
| CN2006100827077A CN101073494B (zh) | 2006-05-18 | 2006-05-18 | 非侵入式生命迹象监测设备、系统及方法 |
| PCT/CN2007/001619 WO2007137498A1 (en) | 2006-05-18 | 2007-05-18 | non-invasive vital sign monitoring apparatus and system |
Publications (1)
| Publication Number | Publication Date |
|---|---|
| JP2009537288A true JP2009537288A (ja) | 2009-10-29 |
Family
ID=38778113
Family Applications (1)
| Application Number | Title | Priority Date | Filing Date |
|---|---|---|---|
| JP2009513537A Pending JP2009537288A (ja) | 2006-05-18 | 2007-05-18 | 非侵襲性生命兆候監視方法、装置及びシステム |
Country Status (4)
| Country | Link |
|---|---|
| US (1) | US20090264714A1 (ja) |
| JP (1) | JP2009537288A (ja) |
| CN (1) | CN101073494B (ja) |
| WO (1) | WO2007137498A1 (ja) |
Cited By (9)
| Publication number | Priority date | Publication date | Assignee | Title |
|---|---|---|---|---|
| JP2013517092A (ja) * | 2010-01-19 | 2013-05-16 | エイブリィ デニソン コーポレーション | 遠隔式生理学的モニタリング |
| WO2015151453A1 (ja) * | 2014-03-31 | 2015-10-08 | 株式会社リアルデザイン | 終末期の終末前予測システム |
| JPWO2013171833A1 (ja) * | 2012-05-14 | 2016-01-07 | 日立アプライアンス株式会社 | 省電力制御システム、機器制御装置、および、省電力制御方法 |
| US9538465B2 (en) | 2013-11-20 | 2017-01-03 | Samsung Electronics Co., Ltd. | Sensor node and gateway mutually communicating in wireless sensor network |
| JP2017000650A (ja) * | 2015-06-16 | 2017-01-05 | セイコーエプソン株式会社 | 身体情報測定装置、身体情報測定システムおよびデータ処理方法 |
| JP2017035321A (ja) * | 2015-08-11 | 2017-02-16 | 日本光電工業株式会社 | 生体情報測定装置、及びプログラム |
| JP2018504192A (ja) * | 2014-12-30 | 2018-02-15 | ゼネラル・エレクトリック・カンパニイ | 複数のケーブルレス医療センサ用汎用ディスプレイユニット |
| JP2018201902A (ja) * | 2017-06-06 | 2018-12-27 | 三菱電機ビルテクノサービス株式会社 | 生体情報発信装置 |
| KR20230140666A (ko) * | 2022-03-29 | 2023-10-10 | 주식회사 헬스리안 | 심전도 측정 장치 및 방법 |
Families Citing this family (86)
| Publication number | Priority date | Publication date | Assignee | Title |
|---|---|---|---|---|
| US7182738B2 (en) | 2003-04-23 | 2007-02-27 | Marctec, Llc | Patient monitoring apparatus and method for orthosis and other devices |
| US8836513B2 (en) | 2006-04-28 | 2014-09-16 | Proteus Digital Health, Inc. | Communication system incorporated in an ingestible product |
| JP2008539047A (ja) | 2005-04-28 | 2008-11-13 | プロテウス バイオメディカル インコーポレイテッド | ファーマインフォーマティックスシステム |
| US9198608B2 (en) | 2005-04-28 | 2015-12-01 | Proteus Digital Health, Inc. | Communication system incorporated in a container |
| US8912908B2 (en) | 2005-04-28 | 2014-12-16 | Proteus Digital Health, Inc. | Communication system with remote activation |
| US8802183B2 (en) | 2005-04-28 | 2014-08-12 | Proteus Digital Health, Inc. | Communication system with enhanced partial power source and method of manufacturing same |
| US8730031B2 (en) | 2005-04-28 | 2014-05-20 | Proteus Digital Health, Inc. | Communication system using an implantable device |
| EP1920418A4 (en) | 2005-09-01 | 2010-12-29 | Proteus Biomedical Inc | IMPLANTABLE WIRELESS COMMUNICATION SYSTEMS |
| CN101496042A (zh) | 2006-05-02 | 2009-07-29 | 普罗秋斯生物医学公司 | 患者定制的治疗方案 |
| ATE535057T1 (de) | 2006-10-17 | 2011-12-15 | Proteus Biomedical Inc | Niederspannungsoszillator für medizinische einrichtungen |
| EP2083680B1 (en) | 2006-10-25 | 2016-08-10 | Proteus Digital Health, Inc. | Controlled activation ingestible identifier |
| EP2069004A4 (en) | 2006-11-20 | 2014-07-09 | Proteus Digital Health Inc | PERSONAL HEALTH SIGNAL RECEIVERS WITH ACTIVE SIGNAL PROCESSING |
| MY165368A (en) | 2007-02-01 | 2018-03-21 | Proteus Digital Health Inc | Ingestible event marker systems |
| EP3236524A1 (en) | 2007-02-14 | 2017-10-25 | Proteus Digital Health, Inc. | In-body power source having high surface area electrode |
| US9270025B2 (en) | 2007-03-09 | 2016-02-23 | Proteus Digital Health, Inc. | In-body device having deployable antenna |
| WO2008112577A1 (en) | 2007-03-09 | 2008-09-18 | Proteus Biomedical, Inc. | In-body device having a multi-directional transmitter |
| US8115618B2 (en) | 2007-05-24 | 2012-02-14 | Proteus Biomedical, Inc. | RFID antenna for in-body device |
| ES2928197T3 (es) | 2007-09-25 | 2022-11-16 | Otsuka Pharma Co Ltd | Dispositivo intracorpóreo con amplificación de señal de dipolo virtual |
| AT506185B1 (de) * | 2008-01-09 | 2012-01-15 | Nanoident Technologies Ag | Erfassungsvorrichtung für vitalzeichen |
| US20090192364A1 (en) * | 2008-01-29 | 2009-07-30 | Voto Andrew M | Infant monitoring system |
| EP2268261B1 (en) | 2008-03-05 | 2017-05-10 | Proteus Digital Health, Inc. | Multi-mode communication ingestible event markers and systems, and methods of using the same |
| CN102159134B (zh) | 2008-07-08 | 2015-05-27 | 普罗透斯数字保健公司 | 可摄取事件标记数据框架 |
| CA2734251A1 (en) | 2008-08-13 | 2010-02-18 | Proteus Biomedical, Inc. | Ingestible circuitry |
| EP2349445A4 (en) | 2008-11-13 | 2012-05-23 | Proteus Biomedical Inc | INTAKEABLE THERAPEUTIC ACTIVATION SYSTEM AND METHOD |
| DE102008054442A1 (de) * | 2008-12-10 | 2010-06-17 | Robert Bosch Gmbh | Verfahren zur ferndiagnostischen Überwachung und Unterstützung von Patienten sowie Einrichtung und telemedizinisches Zentrum |
| EP2358270A4 (en) | 2008-12-11 | 2014-08-13 | Proteus Digital Health Inc | EVALUATION OF STOMACH DARM FUNCTIONS USING PORTABLE ELECTRIC VISCEROGRAPHY SYSTEMS AND METHOD OF USE THEREOF |
| TWI424832B (zh) | 2008-12-15 | 2014-02-01 | Proteus Digital Health Inc | 與身體有關的接收器及其方法 |
| US9659423B2 (en) | 2008-12-15 | 2017-05-23 | Proteus Digital Health, Inc. | Personal authentication apparatus system and method |
| US9439566B2 (en) | 2008-12-15 | 2016-09-13 | Proteus Digital Health, Inc. | Re-wearable wireless device |
| SG172847A1 (en) | 2009-01-06 | 2011-08-29 | Proteus Biomedical Inc | Pharmaceutical dosages delivery system |
| CA2750158A1 (en) | 2009-01-06 | 2010-07-15 | Proteus Biomedical, Inc. | Ingestion-related biofeedback and personalized medical therapy method and system |
| WO2010111403A2 (en) | 2009-03-25 | 2010-09-30 | Proteus Biomedical, Inc. | Probablistic pharmacokinetic and pharmacodynamic modeling |
| BR122013009559A2 (pt) | 2009-04-28 | 2019-08-06 | Proteus Digital Health, Inc. | Marcadores de evento de ingerível altamente confiável e métodos para usar os mesmos |
| WO2010132331A2 (en) | 2009-05-12 | 2010-11-18 | Proteus Biomedical, Inc. | Ingestible event markers comprising an ingestible component |
| US8558563B2 (en) | 2009-08-21 | 2013-10-15 | Proteus Digital Health, Inc. | Apparatus and method for measuring biochemical parameters |
| TWI517050B (zh) | 2009-11-04 | 2016-01-11 | 普羅托斯數位健康公司 | 供應鏈管理之系統 |
| UA109424C2 (uk) | 2009-12-02 | 2015-08-25 | Фармацевтичний продукт, фармацевтична таблетка з електронним маркером і спосіб виготовлення фармацевтичної таблетки | |
| MX2012008922A (es) | 2010-02-01 | 2012-10-05 | Proteus Digital Health Inc | Sistema de recoleccion de datos. |
| SG10201502720VA (en) | 2010-04-07 | 2015-05-28 | Proteus Digital Health Inc | Miniature ingestible device |
| TWI557672B (zh) | 2010-05-19 | 2016-11-11 | 波提亞斯數位康健公司 | 用於從製造商跟蹤藥物直到患者之電腦系統及電腦實施之方法、用於確認將藥物給予患者的設備及方法、患者介面裝置 |
| JP2014504902A (ja) | 2010-11-22 | 2014-02-27 | プロテウス デジタル ヘルス, インコーポレイテッド | 医薬品を有する摂取可能なデバイス |
| US9439599B2 (en) | 2011-03-11 | 2016-09-13 | Proteus Digital Health, Inc. | Wearable personal body associated device with various physical configurations |
| AU2012268763A1 (en) * | 2011-06-10 | 2013-04-11 | Aliphcom | Power management in a data-capable strapband |
| US8446275B2 (en) | 2011-06-10 | 2013-05-21 | Aliphcom | General health and wellness management method and apparatus for a wellness application using data from a data-capable band |
| US9258670B2 (en) | 2011-06-10 | 2016-02-09 | Aliphcom | Wireless enabled cap for a data-capable device |
| US20120316458A1 (en) * | 2011-06-11 | 2012-12-13 | Aliphcom, Inc. | Data-capable band for medical diagnosis, monitoring, and treatment |
| WO2015112603A1 (en) | 2014-01-21 | 2015-07-30 | Proteus Digital Health, Inc. | Masticable ingestible product and communication system therefor |
| US9756874B2 (en) | 2011-07-11 | 2017-09-12 | Proteus Digital Health, Inc. | Masticable ingestible product and communication system therefor |
| RU2014106126A (ru) | 2011-07-21 | 2015-08-27 | Протеус Диджитал Хелс, Инк. | Устройство, система и способ мобильной связи |
| CN102298719B (zh) * | 2011-08-17 | 2014-10-08 | 南京护鹰电子科技有限公司 | 一种防脱落无线传输标签腕带装置与方法 |
| CN102360072B (zh) * | 2011-09-08 | 2013-08-14 | 中国人民解放军第四军医大学 | 一种测定生命探测雷达性能的信号标定仪机械振动装置 |
| US9235683B2 (en) | 2011-11-09 | 2016-01-12 | Proteus Digital Health, Inc. | Apparatus, system, and method for managing adherence to a regimen |
| CN102525436B (zh) * | 2012-03-07 | 2014-10-15 | 希盟(中国)科技有限公司 | 一种佩带于额头的微型智能健康监护系统及其监护方法 |
| EP2874886B1 (en) | 2012-07-23 | 2023-12-20 | Otsuka Pharmaceutical Co., Ltd. | Techniques for manufacturing ingestible event markers comprising an ingestible component |
| SG11201503027SA (en) | 2012-10-18 | 2015-05-28 | Proteus Digital Health Inc | Apparatus, system, and method to adaptively optimize power dissipation and broadcast power in a power source for a communication device |
| CN103040205B (zh) * | 2012-11-30 | 2016-04-20 | 宁波市鄞州酬勤电子电器厂 | 多功能拐杖 |
| CN103024654A (zh) * | 2012-11-30 | 2013-04-03 | 宁波市鄞州酬勤电子电器厂 | 多功能智能扩音器 |
| CN103024653A (zh) * | 2012-11-30 | 2013-04-03 | 宁波市鄞州酬勤电子电器厂 | 多功能智能扩音器 |
| CN103040209B (zh) * | 2012-11-30 | 2016-06-29 | 宁波市鄞州酬勤电子电器厂 | 多功能伞柄 |
| JP2016508529A (ja) | 2013-01-29 | 2016-03-22 | プロテウス デジタル ヘルス, インコーポレイテッド | 高度に膨張可能なポリマーフィルムおよびこれを含む組成物 |
| JP6498177B2 (ja) | 2013-03-15 | 2019-04-10 | プロテウス デジタル ヘルス, インコーポレイテッド | 本人認証装置システムおよび方法 |
| US10175376B2 (en) | 2013-03-15 | 2019-01-08 | Proteus Digital Health, Inc. | Metal detector apparatus, system, and method |
| WO2014197402A1 (en) | 2013-06-04 | 2014-12-11 | Proteus Digital Health, Inc. | System, apparatus and methods for data collection and assessing outcomes |
| TWI569611B (zh) * | 2013-03-29 | 2017-02-01 | Gemtek Technology Co Ltd | A system with separate computing units |
| CN103310110A (zh) * | 2013-06-25 | 2013-09-18 | 四川品杰科技有限公司 | 基于北斗定位终端的急救医疗服务平台 |
| US9796576B2 (en) | 2013-08-30 | 2017-10-24 | Proteus Digital Health, Inc. | Container with electronically controlled interlock |
| WO2015042411A1 (en) | 2013-09-20 | 2015-03-26 | Proteus Digital Health, Inc. | Methods, devices and systems for receiving and decoding a signal in the presence of noise using slices and warping |
| US9577864B2 (en) | 2013-09-24 | 2017-02-21 | Proteus Digital Health, Inc. | Method and apparatus for use with received electromagnetic signal at a frequency not known exactly in advance |
| US10084880B2 (en) | 2013-11-04 | 2018-09-25 | Proteus Digital Health, Inc. | Social media networking based on physiologic information |
| CN106465459B (zh) * | 2014-10-15 | 2019-11-29 | 华为技术有限公司 | 一种用于可穿戴设备脱落检测的方法及可穿戴设备 |
| US11051543B2 (en) | 2015-07-21 | 2021-07-06 | Otsuka Pharmaceutical Co. Ltd. | Alginate on adhesive bilayer laminate film |
| CN105243780A (zh) * | 2015-09-11 | 2016-01-13 | 中山大学 | 一种儿童安全监控方法及系统 |
| CN106683335A (zh) * | 2015-11-10 | 2017-05-17 | 西安中兴新软件有限责任公司 | 一种告警方法及设备 |
| KR102431455B1 (ko) | 2015-12-14 | 2022-08-12 | 삼성전자주식회사 | 인체 통신을 이용하여 헬스 정보를 송수신하는 방법 및 장치 |
| WO2017147977A1 (zh) * | 2016-02-29 | 2017-09-08 | 孙碧茜 | 一种贴片式健康监测设备 |
| SG10202101937PA (en) | 2016-07-22 | 2021-03-30 | Proteus Digital Health Inc | Electromagnetic sensing and detection of ingestible event markers |
| WO2018081337A1 (en) | 2016-10-26 | 2018-05-03 | Proteus Digital Health, Inc. | Methods for manufacturing capsules with ingestible event markers |
| TWI604822B (zh) * | 2016-11-03 | 2017-11-11 | ECG detection of arrhythmia patch detection device and its group of devices | |
| CN106846751A (zh) * | 2017-04-01 | 2017-06-13 | 王幼安 | 依靠互联网+实现的应急救援方法 |
| GB2568496A (en) * | 2017-11-17 | 2019-05-22 | Michael Gale John | Alarm system |
| CN108550246A (zh) * | 2018-03-30 | 2018-09-18 | 芜湖天科生物科技有限公司 | 一种便携式分体急救呼叫装置 |
| CN112788980A (zh) * | 2018-12-28 | 2021-05-11 | 深圳迈瑞生物医疗电子股份有限公司 | 监控平台、便携式监护设备及监护系统的控制方法 |
| CN111329510A (zh) * | 2019-04-15 | 2020-06-26 | 复旦大学附属儿科医院 | 一种无线心脏杂音检测系统及方法 |
| US11100779B1 (en) * | 2020-11-04 | 2021-08-24 | New Century Products Limited | Comprehensive care device |
| CN113208637A (zh) * | 2021-05-10 | 2021-08-06 | 重庆大学 | 用于运动康复生理参数传感检测装置的工作状态辨识系统 |
| CN115381416A (zh) * | 2022-09-19 | 2022-11-25 | 浙江大学 | 基于物联网技术的居家智能监测系统及护理检测方法 |
Citations (5)
| Publication number | Priority date | Publication date | Assignee | Title |
|---|---|---|---|---|
| JPH1080407A (ja) * | 1996-09-11 | 1998-03-31 | Noboru Akasaka | 在宅ケアシステム |
| JPH10295652A (ja) * | 1996-12-05 | 1998-11-10 | Sarcos Inc | 集団遠隔監視装置 |
| JP2001078974A (ja) * | 1999-09-13 | 2001-03-27 | Nippon Koden Corp | 生体信号等の通信システム |
| JP2001236583A (ja) * | 2000-12-19 | 2001-08-31 | Matsushita Electric Ind Co Ltd | 安否確認システム |
| WO2005122879A1 (en) * | 2004-06-15 | 2005-12-29 | Philips Intellectual Property & Standards Gmbh | Sensor for acquiring physiological signals of a patient |
Family Cites Families (10)
| Publication number | Priority date | Publication date | Assignee | Title |
|---|---|---|---|---|
| US5204670A (en) * | 1988-08-29 | 1993-04-20 | B. I. Incorporated | Adaptable electric monitoring and identification system |
| US5966226A (en) * | 1996-10-11 | 1999-10-12 | Oerlikon-Contraves Ag | Combat communication system |
| US5771001A (en) * | 1996-11-18 | 1998-06-23 | Cobb; Marlon J. | Personal alarm system |
| US6471087B1 (en) * | 1997-07-31 | 2002-10-29 | Larry Shusterman | Remote patient monitoring system with garment and automated medication dispenser |
| US20020013538A1 (en) * | 1997-09-30 | 2002-01-31 | David Teller | Method and apparatus for health signs monitoring |
| US7285090B2 (en) * | 2000-06-16 | 2007-10-23 | Bodymedia, Inc. | Apparatus for detecting, receiving, deriving and displaying human physiological and contextual information |
| JP2002017693A (ja) * | 2000-07-10 | 2002-01-22 | Amenitex Inc | 携帯無線電話型バイタルチェッカー |
| US6454798B1 (en) * | 2000-12-21 | 2002-09-24 | Sulzer Carbomedics Inc. | Polymer heart valve with helical coaption surface |
| US6853304B2 (en) * | 2002-05-07 | 2005-02-08 | Dmatek Ltd. | Monitoring device |
| JP2007502136A (ja) * | 2003-08-14 | 2007-02-08 | スイスコム モービル アーゲー | モバイル通信装置とその制御方法 |
-
2006
- 2006-05-18 CN CN2006100827077A patent/CN101073494B/zh not_active Expired - Fee Related
-
2007
- 2007-05-18 US US12/300,128 patent/US20090264714A1/en not_active Abandoned
- 2007-05-18 JP JP2009513537A patent/JP2009537288A/ja active Pending
- 2007-05-18 WO PCT/CN2007/001619 patent/WO2007137498A1/en not_active Ceased
Patent Citations (5)
| Publication number | Priority date | Publication date | Assignee | Title |
|---|---|---|---|---|
| JPH1080407A (ja) * | 1996-09-11 | 1998-03-31 | Noboru Akasaka | 在宅ケアシステム |
| JPH10295652A (ja) * | 1996-12-05 | 1998-11-10 | Sarcos Inc | 集団遠隔監視装置 |
| JP2001078974A (ja) * | 1999-09-13 | 2001-03-27 | Nippon Koden Corp | 生体信号等の通信システム |
| JP2001236583A (ja) * | 2000-12-19 | 2001-08-31 | Matsushita Electric Ind Co Ltd | 安否確認システム |
| WO2005122879A1 (en) * | 2004-06-15 | 2005-12-29 | Philips Intellectual Property & Standards Gmbh | Sensor for acquiring physiological signals of a patient |
Cited By (12)
| Publication number | Priority date | Publication date | Assignee | Title |
|---|---|---|---|---|
| JP2013517092A (ja) * | 2010-01-19 | 2013-05-16 | エイブリィ デニソン コーポレーション | 遠隔式生理学的モニタリング |
| JPWO2013171833A1 (ja) * | 2012-05-14 | 2016-01-07 | 日立アプライアンス株式会社 | 省電力制御システム、機器制御装置、および、省電力制御方法 |
| US9538465B2 (en) | 2013-11-20 | 2017-01-03 | Samsung Electronics Co., Ltd. | Sensor node and gateway mutually communicating in wireless sensor network |
| WO2015151453A1 (ja) * | 2014-03-31 | 2015-10-08 | 株式会社リアルデザイン | 終末期の終末前予測システム |
| JP2015192802A (ja) * | 2014-03-31 | 2015-11-05 | 株式会社リアルデザイン | 終末期の終末前予測システム |
| JP2018504192A (ja) * | 2014-12-30 | 2018-02-15 | ゼネラル・エレクトリック・カンパニイ | 複数のケーブルレス医療センサ用汎用ディスプレイユニット |
| JP2017000650A (ja) * | 2015-06-16 | 2017-01-05 | セイコーエプソン株式会社 | 身体情報測定装置、身体情報測定システムおよびデータ処理方法 |
| JP2017035321A (ja) * | 2015-08-11 | 2017-02-16 | 日本光電工業株式会社 | 生体情報測定装置、及びプログラム |
| JP2018201902A (ja) * | 2017-06-06 | 2018-12-27 | 三菱電機ビルテクノサービス株式会社 | 生体情報発信装置 |
| JP7138416B2 (ja) | 2017-06-06 | 2022-09-16 | 三菱電機ビルソリューションズ株式会社 | 生体情報発信装置及び生体情報発信方法 |
| KR20230140666A (ko) * | 2022-03-29 | 2023-10-10 | 주식회사 헬스리안 | 심전도 측정 장치 및 방법 |
| KR102669215B1 (ko) * | 2022-03-29 | 2024-05-24 | 주식회사 헬스리안 | 심전도 측정 장치 및 방법 |
Also Published As
| Publication number | Publication date |
|---|---|
| CN101073494B (zh) | 2010-09-08 |
| US20090264714A1 (en) | 2009-10-22 |
| WO2007137498A1 (en) | 2007-12-06 |
| CN101073494A (zh) | 2007-11-21 |
Similar Documents
| Publication | Publication Date | Title |
|---|---|---|
| JP2009537288A (ja) | 非侵襲性生命兆候監視方法、装置及びシステム | |
| US20240341600A1 (en) | Wireless patient monitoring system | |
| US20230329649A1 (en) | Patient position detection system | |
| US9044136B2 (en) | Wearable mini-size intelligent healthcare system | |
| El-Bendary et al. | Fall detection and prevention for the elderly: A review of trends and challenges | |
| US20050080322A1 (en) | Monitoring method and monitoring system for assessing physiological parameters of a subject | |
| TWI681753B (zh) | 可穿戴式心臟監測裝置、心臟監測系統及其方法 | |
| JP2009528141A (ja) | ネックカラー部に配される電子機器を有するバイオメトリックモニタ | |
| CN101442931A (zh) | 用于对患者的健康状态进行监控的通信系统、通信设备、传感器设备以及方法 | |
| JP2004181218A (ja) | 乳幼児の状況監視システムおよび状況監視方法 | |
| CN211674200U (zh) | 用于老年人日常照护的智能健康监测系统 | |
| CN204990645U (zh) | 一种护理病房呼叫装置 | |
| KR101192848B1 (ko) | 절전형 생체신호 모니터링 시스템 | |
| CN111643062A (zh) | 一种智能座椅健康监测系统和方法 | |
| JP2006051317A (ja) | 感情伝達システム | |
| CN118298587A (zh) | 一种智慧养老无线通信呼叫系统 | |
| JP2002017693A (ja) | 携帯無線電話型バイタルチェッカー | |
| JPH0975310A (ja) | 患者モニタ装置 | |
| CN110111531B (zh) | 用于向人员报警的系统 | |
| US20200121198A1 (en) | Multi-parameter vital signs monitoring device for early warning score system | |
| TW201742598A (zh) | 穿戴式睡眠呼吸狀態監測裝置 | |
| CN120260857A (zh) | 基于智慧病房的病人护理实现方法 | |
| TWI322005B (ja) | ||
| JP2018198009A (ja) | 医療業務支援装置、医療業務支援システム及び医療業務支援方法 | |
| CN213241413U (zh) | 一种多功能监护装置 |
Legal Events
| Date | Code | Title | Description |
|---|---|---|---|
| A521 | Request for written amendment filed |
Free format text: JAPANESE INTERMEDIATE CODE: A523 Effective date: 20090812 |
|
| A977 | Report on retrieval |
Free format text: JAPANESE INTERMEDIATE CODE: A971007 Effective date: 20111006 |
|
| A131 | Notification of reasons for refusal |
Free format text: JAPANESE INTERMEDIATE CODE: A131 Effective date: 20120214 |
|
| A02 | Decision of refusal |
Free format text: JAPANESE INTERMEDIATE CODE: A02 Effective date: 20120717 |
