JP2009200375A - 移動用変圧器 - Google Patents

移動用変圧器 Download PDF

Info

Publication number
JP2009200375A
JP2009200375A JP2008042421A JP2008042421A JP2009200375A JP 2009200375 A JP2009200375 A JP 2009200375A JP 2008042421 A JP2008042421 A JP 2008042421A JP 2008042421 A JP2008042421 A JP 2008042421A JP 2009200375 A JP2009200375 A JP 2009200375A
Authority
JP
Japan
Prior art keywords
transformer
transport vehicle
container
main body
winding
Prior art date
Legal status (The legal status is an assumption and is not a legal conclusion. Google has not performed a legal analysis and makes no representation as to the accuracy of the status listed.)
Granted
Application number
JP2008042421A
Other languages
English (en)
Other versions
JP4919985B2 (ja
Inventor
Sho Ito
紹 伊藤
Current Assignee (The listed assignees may be inaccurate. Google has not performed a legal analysis and makes no representation or warranty as to the accuracy of the list.)
Chugoku Electric Power Co Inc
Original Assignee
Chugoku Electric Power Co Inc
Priority date (The priority date is an assumption and is not a legal conclusion. Google has not performed a legal analysis and makes no representation as to the accuracy of the date listed.)
Filing date
Publication date
Application filed by Chugoku Electric Power Co Inc filed Critical Chugoku Electric Power Co Inc
Priority to JP2008042421A priority Critical patent/JP4919985B2/ja
Publication of JP2009200375A publication Critical patent/JP2009200375A/ja
Application granted granted Critical
Publication of JP4919985B2 publication Critical patent/JP4919985B2/ja
Expired - Fee Related legal-status Critical Current
Anticipated expiration legal-status Critical

Links

Images

Landscapes

  • Housings And Mounting Of Transformers (AREA)

Abstract

【課題】移動用変圧器を運搬車両に着脱自在に構成することで、移動用変圧器を簡単にトラック等の運搬車両に搭載することができ、かつその移動用変圧器を必要な場所に容易に設置する。
【解決手段】運搬車両Tに積載して移動することができる移動用変圧器であって、鉄心に巻線を巻装し、巻線を収容する本体タンクと、本体タンク外部へ巻線の端子を引き出すブッシング3,4と、本体タンク内を冷却する放熱器5とから成る変圧器本体1と、変圧器本体1を載せる略長方形状の板材のコンテナ台座7と、コンテナ台座7の一側に運搬車両Tの荷台に牽引して積載する際に掛け止める係止構造8と、コンテナ台座7の後方側に案内車輪9をそれぞれ具備したコンテナ2とを備えた。
【選択図】図3

Description

本発明は、電力系統又は変電所において事故が生じた際に、変圧器をトラック等に積載して移動使用可能に構成した移動用変圧器に関する。
電力系統又は変電所において事故が生じた際、更に工事用電源或いは災害時の緊急電源確保のために使用される移動用変圧器が提案されている。この移動用変圧器は、トラック又はトレーラーに積載したまま移動可能な変圧器で、配電用変圧器の特別高圧(110kV〜22kV)で受電した電気を配電電圧(22kV〜6kV)に降圧する変圧器の事故時や変電所機器の点検・修理などの場合に電気を供給するために、幾つかの変電所の共通予備として使用することができる。図7の側面図に示すように、従来は車両Tに移動変圧器51を一体化した構造のものが提案されている。
例えば、変圧器、開閉器、ケーブル及び保護装置を収納し、柱上変圧器の吊り替えを無停電で行う移動用変圧器については、特許文献1の特開平10−224918号の「移動用変圧器装置」のように、車両の荷台に搭載され、変圧器、開閉器、ケーブル及び保護装置を収納した箱体と、この箱体の下面の四隅を含む数個所に固着された足ゴムと、箱体の上面に設けられた複数個の吊り金具と、それぞれの両端が各吊り金具と荷台に接続され、箱体を前記荷台に固定した複数本のワイヤとを備えたものが提案されている。
特開平10−224918号公報
また、特許文献2の特開平10−201019号の「トレーラ式工事用変圧器」のように、柱上変圧器に対し並列となるよう配電線に接続される工事用変圧器であって、トレーラが設けられ、トレーラ上にはコンテナが搭載され、コンテナ内に柱上変圧器本体が収納され、柱上変圧器本体には高圧側入力部と低圧側出力部とが設けられたものも提案されている。
特開平10−201019号公報
しかし、特許文献1の「移動用変圧器装置」のような自走式の移動変圧器は、事故時の即応性確保のため、トラックのような専用車両に常時積載した状態で保管していた。このような自走式移動変圧器の稼動は非常に少なく、トラックの車両部分が本来の輸送業務に供していないため無駄であった。トラックの車両部分は稼動の有無に関わらず定期点検費用が発生するという問題があった。
また、特許文献1の「移動用変圧器装置」は変圧器、開閉器、ケーブル、保護装置を収容した箱を車両の荷台に搭載したものであり、その固定は上部に複数放置した吊り金具と荷台とをワイヤーで接続するものであった。箱の積み下ろしは車両単体ではできないため、クレーンやユニックが必要となり、その搭載作業が大がりなりやすいという問題があった。
本発明は、かかる問題点を解決するために創案されたものである。すなわち、本発明の目的は、移動用変圧器を運搬車両に着脱自在に構成することで、移動用変圧器を簡単にトラック等の運搬車両に搭載することができ、かつその移動用変圧器を必要な場所に容易に設置することができる移動用変圧器を提供することにある。
本発明によれば、運搬車両(T)に積載して移動することができる移動用変圧器であって、鉄心に巻線を巻装し、該巻線を収容する本体タンクと、該本体タンク外部へ該巻線の端子を引き出すブッシング(3,4)と、該本体タンク内を冷却する放熱器(5)とから成る変圧器本体(1)と、前記変圧器本体(1)を載せる略長方形状の板材のコンテナ台座(7)と、該コンテナ台座(7)の一側に前記運搬車両(T)の荷台に牽引して積載する際に掛け止める係止構造(8)と、該コンテナ台座(7)の後方側に案内車輪(9)をそれぞれ具備したコンテナ(2)と、を備えた、ことを特徴とする移動用変圧器が提供される。
前記コンテナ台座(7)の前方側に伸縮自在になる支持脚(11)を設けることが好ましい。
また、運搬車両(T)に積載して移動することができる移動用変圧器であって、鉄心に巻線を巻装し、該巻線を収容する本体タンクと、該本体タンク外部へ該巻線の端子を引き出すブッシング(3,4)と、該本体タンク内を冷却する放熱器(5)とから成る変圧器本体(1)と、前記変圧器本体(1)を載せる略長方形状の板材のコンテナ台座(7)と、前記コンテナ台座(7)の前方側と後方側にそれぞれ設けた、昇降自在になる昇降装置(13)と、各昇降装置(13)の下端に取り付けた車輪(14)と、を備えたものにすることができる。
上記構成の発明では、移動変圧器をトラック等の運搬車両(T)に着脱自在に構成することで、必要に応じて移動用変圧器を運搬車両(T)に簡単に搭載することができる。この運搬車両(T)に搭載するときも、運搬車両(T)自体で本発明の移動変圧器をコンテナ(2)ごと運搬車両(T)に搭載することができ、クレーンやユニックを使用しないでも、容易かつ迅速にその搭載作業を完了させることができる。
また、変圧器本体(1)を載せる略長方形状の板材のコンテナ台座(7)と、コンテナ台座(7)の前方側と後方側にそれぞれ設けた、昇降自在になる昇降装置(13)と、各昇降装置(13)の下端に取り付けた車輪(14)と、を備えた構造のものでは、変圧器本体(1)を常時水平に維持しながら上下動させることができるので、変圧器本体(1)を傾斜させることがないので絶縁油が漏洩することがない。
本発明の移動用変圧器は、変圧器本体を載せる略長方形状の板材のコンテナ台座と、コンテナ台座の一側に運搬車両の荷台に牽引して積載する際に掛け止める係止構造と、コンテナ台座の後方側に車輪をそれぞれ具備したコンテナとを備えたものであり、運搬車両に容易に積載して移動することができる構造のものである。
以下、本発明の好ましい実施の形態を図面を参照して説明する。
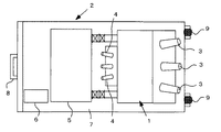
図1は実施例1の移動用変圧器を示す側面図である。図2は実施例1の移動用変圧器を示す平面図である。図3は実施例1の移動用変圧器をトラックに搭載した状態を示す側面図である。
本発明の移動用変圧器は、鉄心に巻線を巻装し、この巻線を収容するために変圧器油を充填した外箱となる本体タンクとから成る変圧器本体1と、この変圧器本体1を載せるコンテナ2とを備えたものである。変圧器油は高電圧に対して絶縁すると共に、冷却効果を奏するものである。この変圧器油に代えて絶縁ガスを充填するものでもよい。図示例は巻線に数個のタップが付いたものであり、電圧を調節することができる負荷時タップ切換変圧器を示しているが、このような構造には限定されないことは勿論である。
本発明の移動用変圧器には本体タンクと導線引出部の絶縁のために第一ブッシング3と第二ブッシング4を備えている。更に、コンテナ2上には、上述した変圧器本体1の他に、放熱器5、制御盤6等を積載してある。これらの付属品については、運搬車両Tの車幅より内部になるように配置することは勿論である。
実施例1の移動用変圧器は、変圧器本体1を載せる略長方形状の板材のコンテナ台座7と、このコンテナ台座7の一側に運搬車両Tの荷台に牽引して積載する際に掛け止める係止構造8と、コンテナ台座7の後方側に案内車輪9をそれぞれ具備したコンテナ2とを備えたものである。
コンテナ台座7は、上述した変圧器本体1と放熱器5等の重量のある装置を載せるために強固な材質の略長方形状の板材から成る。このコンテナ台座7の横幅は、これをトラック等の運搬車両Tに積載した際に、運搬車両Tの車幅(例えば2m50cm)より狭くする。これは道路交通法との関係から移動用変圧器を載せたコンテナ台座7を積載した運搬車両Tの幅長が2m50cmを超えないようにして、その陸運局への登録に際しての緩和申請を不要とするためである。
係止構造8は、コンテナ台座7の一側に運搬車両Tの荷台に牽引して積載する際に、後述するようなアームロール10を掛けとめる部分である。この係止構造8は、変圧器本体1等を載せる運搬車両Tの構造により、種々の構造に変形することができ、図示例に限定されない。
案内車輪9は、コンテナ台座7の後方側に取り付けたもので、本発明の移動用変圧器を運搬車両Tのアームロール10で、コンテナ2を縣吊し、運搬車両Tの荷台へ引き寄せる際に、この案内車輪9で移動用変圧器を支持するようになっている。
コンテナ台座7の前方側には伸縮自在になる支持脚11を設ける。この支持脚11は、本発明の移動用変圧器を運搬車両Tから降ろして設置する際、移動用変圧器を水平に維持するために、案内車輪9と同じ高さに調整したものである。この支持脚11には、油圧式等の高さ調節機構(図示していない)を備えている。
図4は実施例1の移動用変圧器をトラックに搭載する状態を示す側面図であり、(a)は搭載する前の状態、(b)は搭載している状態、(c)は搭載が完了して車両移動中の状態である。
このように構成した実施例1の移動用変圧器は、先ず運搬車両Tを移動用変圧器に近づける(図4(a)参照)。
次に、運搬車両Tからアームロール10の掛止具12をコンテナ2の係止構造8に近づけ、掛け止めたらこの掛止具12を運搬車両Tの前方ヘ移動させるように牽引する(図4(b)参照)。このときに、移動用変圧器は傾斜するので内部に変圧器油を充填したものでは漏洩のおそれがある。そこで、実施例1ではガス絶縁式の移動用変圧器が好ましい。
最後に、移動用変圧器をコンテナ2ごと運搬車両Tに搭載したらコンテナ2と運搬車両Tとを強固に固定する。その状態で運搬車両Tを目的地へ移動させる(図4(c)参照)。運搬車両Tが目的地に到着したら、上述した手順と逆の手順で移動用変圧器を降ろして設置する。
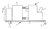
図5は実施例2の移動用変圧器を示す側面図である。
実施例2の移動用変圧器は、変圧器本体1を載せる略長方形状の板材のコンテナ台座7と、コンテナ台座7の前方側と後方側にそれぞれ設けた、昇降自在になる昇降装置13と、各昇降装置13の下端に取り付けた車輪14とを備えたものである。実施例2の移動用変圧器では、変圧器本体1を常時水平に維持しながら上下動させることができ、変圧器本体1を傾斜させることがないので絶縁油が漏洩することがない。
図6は実施例2の移動用変圧器をトラックに搭載する状態を示す側面図であり、(a)は移動用変圧器に車両を近づける状態、(b)は搭載している状態、(c)は搭載が完了して車両移動中の状態である。
このように構成した実施例2の移動用変圧器は、図6に示すように、先ず運搬車両Tを移動用変圧器に近づける(図6(a)参照)。更に、運搬車両Tをコンテナ2の下部にまで進入させる(図6(b)参照)。
次に、移動用変圧器をコンテナ2ごと運搬車両Tに搭載したら、コンテナ2と運搬車両Tとを強固に固定し、更に、車輪14の昇降装置13を縮めて搭載が完了する。その状態で目的地に移動する(図6(c)参照)。運搬車両Tが目的地に到着したら、上述した状態と逆の手順で移動用変圧器を降ろして設置する。
なお、本発明は、移動用変圧器に、移動変圧器を運搬車両Tに着脱自在に構成することで、移動用変圧器を簡単にトラック等の運搬車両Tに搭載することができ、かつその移動用変圧器を必要な場所に容易に設置できれば、上述した発明の実施の形態に限定されず、本発明の要旨を逸脱しない範囲で種々変更できることは勿論である。
本発明の移動用変圧器は、工夫したコンテナの上に変圧器を載置したものを車両を脱着自在にして運搬できるものであれば、コンテナの上に載置するものは変圧器以外のものにも利用することができる。
実施例1の移動用変圧器を示す側面図である。 実施例1の移動用変圧器を示す平面図である。 実施例1の移動用変圧器をトラックに搭載した状態を示す側面図である。 実施例1の移動用変圧器をトラックに搭載する状態を示す側面図であり、(a)は搭載する前の状態、(b)は搭載している状態、(c)は搭載が完了して車両移動中の状態である。 実施例2の移動用変圧器を示す側面図である。 実施例2の移動用変圧器をトラックに搭載する状態を示す側面図であり、(a)は移動用変圧器に車両を近づける状態、(b)は搭載している状態、(c)は搭載が完了して車両移動中の状態である。 従来の車両と一体化した移動変圧器を示す側面図である。
符号の説明
1 変圧器本体
2 コンテナ
3 第一ブッシング
4 第二ブッシング
5 放熱器
7 コンテナ台座
8 係止構造
9 案内車輪
11 支持脚
13 昇降装置
14 車輪
T 運搬車両

Claims (3)

  1. 運搬車両(T)に積載して移動することができる移動用変圧器であって、
    鉄心に巻線を巻装し、該巻線を収容する本体タンクと、該本体タンクの外部へ該巻線の端子を引き出すブッシング(3,4)と、該本体タンク内を冷却する放熱器(5)とから成る変圧器本体(1)と、
    前記変圧器本体(1)を載せる略長方形状の板材のコンテナ台座(7)と、該コンテナ台座(7)の一側に前記運搬車両(T)の荷台に牽引して積載する際に掛け止める係止構造(8)と、該コンテナ台座(7)の後方側に案内車輪(9)をそれぞれ具備したコンテナ(2)と、を備えた、ことを特徴とする移動用変圧器。
  2. 前記コンテナ台座(7)の前方側に伸縮自在になる支持脚(11)を設けた、ことを特徴とする請求項1の移動用変圧器。
  3. 運搬車両(T)に積載して移動することができる移動用変圧器(1)であって、
    鉄心に巻線を巻装し、該巻線を収容する本体タンクと、該本体タンク外部へ該巻線の端子を引き出すブッシング(3,4)と、該本体タンク内を冷却する放熱器(5)とから成る変圧器本体(1)と、
    前記変圧器本体(1)を載せる略長方形状の板材のコンテナ台座(7)と、
    前記コンテナ台座(7)の前方側と後方側にそれぞれ設けた、昇降自在になる昇降装置(13)と、
    各昇降装置(13)の下端に取り付けた車輪(14)と、を備えた、ことを特徴とする移動用変圧器。
JP2008042421A 2008-02-25 2008-02-25 移動用変圧器 Expired - Fee Related JP4919985B2 (ja)

Priority Applications (1)

Application Number Priority Date Filing Date Title
JP2008042421A JP4919985B2 (ja) 2008-02-25 2008-02-25 移動用変圧器

Applications Claiming Priority (1)

Application Number Priority Date Filing Date Title
JP2008042421A JP4919985B2 (ja) 2008-02-25 2008-02-25 移動用変圧器

Publications (2)

Publication Number Publication Date
JP2009200375A true JP2009200375A (ja) 2009-09-03
JP4919985B2 JP4919985B2 (ja) 2012-04-18

Family

ID=41143538

Family Applications (1)

Application Number Title Priority Date Filing Date
JP2008042421A Expired - Fee Related JP4919985B2 (ja) 2008-02-25 2008-02-25 移動用変圧器

Country Status (1)

Country Link
JP (1) JP4919985B2 (ja)

Cited By (4)

* Cited by examiner, † Cited by third party
Publication number Priority date Publication date Assignee Title
KR101198950B1 (ko) * 2010-03-18 2012-11-08 서울전력주식회사 병충해방제용 변압기
CN106876095A (zh) * 2017-03-23 2017-06-20 广东电网有限责任公司江门供电局 满足道路挂牌运输要求的110Kv/40MVA移动变压器车
CN108584680A (zh) * 2018-06-29 2018-09-28 国网上海市电力公司 一种变电站电抗器铁芯的吊装装置
WO2026047799A1 (ja) * 2024-08-26 2026-03-05 株式会社Tmeic 電気設備

Citations (3)

* Cited by examiner, † Cited by third party
Publication number Priority date Publication date Assignee Title
JPS60181116A (ja) * 1984-02-02 1985-09-14 バイエル・アクチエンゲゼルシヤフト ポリ尿素エラストマーの製造方法
JPH02135536A (ja) * 1988-08-23 1990-05-24 Internatl Business Mach Corp <Ibm> チエツクポイント再試行機構
JP2000134729A (ja) * 1998-10-23 2000-05-12 Koken:Kk 自揚式移動設備据え付け撤去方法及び自揚式発電方法並びに自揚式移動設備

Patent Citations (3)

* Cited by examiner, † Cited by third party
Publication number Priority date Publication date Assignee Title
JPS60181116A (ja) * 1984-02-02 1985-09-14 バイエル・アクチエンゲゼルシヤフト ポリ尿素エラストマーの製造方法
JPH02135536A (ja) * 1988-08-23 1990-05-24 Internatl Business Mach Corp <Ibm> チエツクポイント再試行機構
JP2000134729A (ja) * 1998-10-23 2000-05-12 Koken:Kk 自揚式移動設備据え付け撤去方法及び自揚式発電方法並びに自揚式移動設備

Cited By (4)

* Cited by examiner, † Cited by third party
Publication number Priority date Publication date Assignee Title
KR101198950B1 (ko) * 2010-03-18 2012-11-08 서울전력주식회사 병충해방제용 변압기
CN106876095A (zh) * 2017-03-23 2017-06-20 广东电网有限责任公司江门供电局 满足道路挂牌运输要求的110Kv/40MVA移动变压器车
CN108584680A (zh) * 2018-06-29 2018-09-28 国网上海市电力公司 一种变电站电抗器铁芯的吊装装置
WO2026047799A1 (ja) * 2024-08-26 2026-03-05 株式会社Tmeic 電気設備

Also Published As

Publication number Publication date
JP4919985B2 (ja) 2012-04-18

Similar Documents

Publication Publication Date Title
JP3056719B2 (ja) 自揚式移動設備据え付け撤去方法及び自揚式発電方法並びに自揚式移動設備
JP4919985B2 (ja) 移動用変圧器
CN103754148A (zh) 全自动特高电压试验车
JP2009064936A (ja) 変圧器輸送組立方法およびu字形鉄心組立装置
JP4966246B2 (ja) 移動用ガス絶縁開閉装置及びその現地運用方法
JP2011142764A (ja) 移動用変圧器搭載車両
CN206163970U (zh) 一种110kV电压等级、主变容量50MVA的移动变电站
CN113526298B (zh) 建筑楼用的运输车及其施工方法
WO2010113704A1 (ja) コンテナクレーン
WO2014195981A1 (en) Mobile station for telecommunicacions
JP2013103712A (ja) 線材コイル等積載用可動ラック装置、及びトラック又はトレーラー
JP6143103B2 (ja) カーテンウォール取付方法及びこれに用いるカーテンウォール揚重ボックス
JP6344778B2 (ja) 架線バイパス工事用資材取り付けユニット及び架線バイパス工事用資材取り付けユニットを運搬するための台車
JP5781344B2 (ja) 移動用変圧器装置
CN108082309A (zh) 一种运输装置及预装式变电站
CN105356348A (zh) 变电车
KR102918896B1 (ko) 2축 트레일러를 구비한 전력용 변압기 및 이를 포함하는 모듈형 변전소 시스템
JPH07220958A (ja) 電柱取付型工事用変圧器
JP2007196246A (ja) コイルカーとフロアプレートの連結装置
JP4661010B2 (ja) 配電用変電所
JPH05135957A (ja) 分解輸送誘導電器の組立方法
JPH0562838A (ja) 分解輸送形単相変圧器
CN105438632A (zh) 箱体运输辅助支架
JP5225402B2 (ja) 移動用変圧器
KR101639610B1 (ko) 해양구조물용 변압기 및 그 이동방법

Legal Events

Date Code Title Description
A621 Written request for application examination

Free format text: JAPANESE INTERMEDIATE CODE: A621

Effective date: 20101214

A131 Notification of reasons for refusal

Free format text: JAPANESE INTERMEDIATE CODE: A131

Effective date: 20111118

A521 Request for written amendment filed

Free format text: JAPANESE INTERMEDIATE CODE: A523

Effective date: 20111221

RD02 Notification of acceptance of power of attorney

Free format text: JAPANESE INTERMEDIATE CODE: A7422

Effective date: 20111221

TRDD Decision of grant or rejection written
A01 Written decision to grant a patent or to grant a registration (utility model)

Free format text: JAPANESE INTERMEDIATE CODE: A01

Effective date: 20120125

A01 Written decision to grant a patent or to grant a registration (utility model)

Free format text: JAPANESE INTERMEDIATE CODE: A01

A61 First payment of annual fees (during grant procedure)

Free format text: JAPANESE INTERMEDIATE CODE: A61

Effective date: 20120131

R150 Certificate of patent or registration of utility model

Ref document number: 4919985

Country of ref document: JP

Free format text: JAPANESE INTERMEDIATE CODE: R150

Free format text: JAPANESE INTERMEDIATE CODE: R150

FPAY Renewal fee payment (event date is renewal date of database)

Free format text: PAYMENT UNTIL: 20150210

Year of fee payment: 3

FPAY Renewal fee payment (event date is renewal date of database)

Free format text: PAYMENT UNTIL: 20150210

Year of fee payment: 3

R250 Receipt of annual fees

Free format text: JAPANESE INTERMEDIATE CODE: R250

R250 Receipt of annual fees

Free format text: JAPANESE INTERMEDIATE CODE: R250

R250 Receipt of annual fees

Free format text: JAPANESE INTERMEDIATE CODE: R250

R250 Receipt of annual fees

Free format text: JAPANESE INTERMEDIATE CODE: R250

R250 Receipt of annual fees

Free format text: JAPANESE INTERMEDIATE CODE: R250

R250 Receipt of annual fees

Free format text: JAPANESE INTERMEDIATE CODE: R250

LAPS Cancellation because of no payment of annual fees