JP2009166312A - エンボス用積層カード - Google Patents

エンボス用積層カード Download PDF

Info

Publication number
JP2009166312A
JP2009166312A JP2008005583A JP2008005583A JP2009166312A JP 2009166312 A JP2009166312 A JP 2009166312A JP 2008005583 A JP2008005583 A JP 2008005583A JP 2008005583 A JP2008005583 A JP 2008005583A JP 2009166312 A JP2009166312 A JP 2009166312A
Authority
JP
Japan
Prior art keywords
embossed
card
laminated
colored layer
sheet
Prior art date
Legal status (The legal status is an assumption and is not a legal conclusion. Google has not performed a legal analysis and makes no representation as to the accuracy of the status listed.)
Granted
Application number
JP2008005583A
Other languages
English (en)
Other versions
JP5141260B2 (ja
Inventor
Hiromitsu Tanaka
弘充 田中
Takehiro Shimizu
剛宏 清水
Current Assignee (The listed assignees may be inaccurate. Google has not performed a legal analysis and makes no representation or warranty as to the accuracy of the list.)
Dai Nippon Printing Co Ltd
Original Assignee
Dai Nippon Printing Co Ltd
Priority date (The priority date is an assumption and is not a legal conclusion. Google has not performed a legal analysis and makes no representation as to the accuracy of the date listed.)
Filing date
Publication date
Application filed by Dai Nippon Printing Co Ltd filed Critical Dai Nippon Printing Co Ltd
Priority to JP2008005583A priority Critical patent/JP5141260B2/ja
Publication of JP2009166312A publication Critical patent/JP2009166312A/ja
Application granted granted Critical
Publication of JP5141260B2 publication Critical patent/JP5141260B2/ja
Active legal-status Critical Current
Anticipated expiration legal-status Critical

Links

Images

Landscapes

  • Credit Cards Or The Like (AREA)

Abstract

【課題】エンボス文字の着色部が磨耗しても外観が醜くならないエンボス用積層カードを提供する。
【解決手段】一又は複数枚で構成されたコアシートの表裏に透明な保護シートが積層されたエンボス予定部を有する積層カードにおいて、前記エンボス予定部のエンボスの凸部が形成される面の保護シートの裏側には着色層が形成され、前記着色層は、積層カードに施されるエンボス部の着色層と同系色の印刷インキによって形成されたエンボス用積層カードを提供する。
【選択図】 図1

Description

本発明は、エンボス文字の着色部が磨耗しても外観が醜くならないエンボス用積層カードに関する。
クレジットカードや会員カードには、エンボス文字(カードのおもて面に形成された突出した文字や記号)を形成したカードが多く利用されている。
カードにエンボスを形成する目的は、エンボス文字の痕跡を伝票にコピーし、カードが利用された証拠を残すためである。
クレジットカード加盟店には、インプリンタと呼ばれる売上げ伝票発行器が配備され、顧客がクレジットカードを利用して支払いを行った場合は、顧客のクレジットカードをインプリンタの所定の位置に装着して、その上に売上伝票を載せ、売上伝票の上から加圧ローラで売上げ伝票にクレジットカードのエンボス文字を写し取る。
売上伝票にはカード上に形成されたエンボス文字の印影が複写カーボンや発色カプセルなどによってコピーされる。売上伝票の利用金額欄に金額を記載し、顧客にサインをもらって、売上伝票の一部を顧客控として顧客に渡し、加盟店には加盟店控を残し、残りの伝票をクレジットカード会社に送付する。
キャッシュカードの場合は、現金自動預け払い機(ATM)等にキャッシュカードを挿入すると、ATMはキャッシュカードを取り込み、巻紙にカードに形成されたエンボス文字の印影を目視可能に写し取り、キャッシュカードがATMで利用された証拠を残す。
前述のように、エンボス文字はカードが利用された証拠を物理的に写し取る手段として有効に利用されている。
また、クレジットカードなどは、国際的に使用されるために、ISO(International Organization for Standardization)規格に準拠して作られる。
カードメーカーでは、不透明なコア材の表裏に所定の印刷を行い、透明な保護シートを貼り合わせて所定の厚みとし、最表面に磁気ストライプやICモジュールを形成してISO規格に準拠したカードとして発行している。
ISO規格に準拠させるために、カードの厚さを0.76mm±10%とする。
多くのクレジットカードは、三層またはそれ以上の枚数のシートを貼り合わせ、積層する。カードへの印刷を容易にするためコアシートを複数構成とし、また、カード上に印刷された印刷情報を磨耗から保護するために保護シートで印刷部を被覆する。
また、多くの場合、カードに形成されたエンボス文字はエンボス文字の頂上を着色する。
前述のカード加盟店の中にはインプリンタを設置していない店があり、このような加盟店では、カードに形成されたエンボス文字を目で確認しながら売上げ伝票にカード番号を転記する。そこで、エンボスされた文字を着色して見易くし、誤った番号を伝票に記載しないようにしている。
過去に、「チッピング用カード及びこのカードへのチッピング装置」が提供されている(例えば、特許文献1参照)。
特許文献1によれば、一般会員用、準特別会員用、特別会員用などといった複数種類のカードを同時に取り扱うカード発行装置にあっては、異なる種類のカードに対し、文字部分におけるチッピングの色(前述のエンボス文字の頂上を着色した色)も、例えば、金、銀、白とするなどそれぞれ異ならせたいとする場合があり、このように異なる色でチッピングしようとすれば、例えば、カードの種類ごとにリボンを交換する(A)、必要とする色の数だけチッピング装置を設ける(B)、1本のリボンに複数色の領域を交互に設けたいわゆるマルチカラーリボンを採用する(C)などの手段が挙げられる。
しかしながら、上述のAの場合にあってはカードの種類を変えるごとにリボンを交換する手間が生じ、Bの場合は装置が大がかりとなって費用がかかる一方で、チッピング装置の台数を限定すると利用できる色の種類が限られてしまう。
また、Cの場合はチッピング装置にリボン色を検出するセンサや制御機能の追加が必要となることに加え、リボンが高価になり、リボンに無駄となる領域が生じて色の変更や追加が困難となり、さらにはリボンの種類が増えてしまうといった問題点がある。
ということで、従来の装置の増設や変更を伴わずにカードの種類に応じて着色することができるチッピング方法として、カードのエンボス形成部分に着色用のチッピングシートを剥離可能に貼り付け、チッピングシートのカード側の面に着色塗料が塗布されたチッピング用カードを提供するとしている。
特開2000−158862号公報
エンボス文字の頂上に施された着色材料は、カードをカードケースに収納する際の摩擦や、前述のインプリンタによる複写時に少しずつ削り取られて次第に薄くなってゆく。
使用頻度が多いカードは、エンボス文字の頂上に施された着色材料が無くなって、カードの基材の色が露出する。
特許文献1に記載の技術は、エンボス文字の着色材料が複数存在するときに、従来のエンボス装置をそのまま利用でき、着色リボンを交換する必要が生じないことを特徴としているが、エンボス文字の着色部の保護に関するものではない。
美しいデザインのカードに形成されたエンボス文字の着色材料が、磨耗によって無くなり、醜い状態になっていることはカードを発行する側にとっては耐え難いことである。
そこで本発明は、エンボス文字の着色部が磨耗しても外観が醜くならないエンボス用積層カードを提供することを目的とする。
前記課題の目的を達成するために、本発明のエンボス用積層カードの第一の態様は、一又は複数枚で構成されたコアシートの表裏に透明な保護シートが積層されたエンボス予定部を有する積層カードにおいて、前記エンボス予定部のエンボスの凸部が形成される面の保護シートの裏側には着色層が形成され、前記着色層は、積層カードに施されるエンボス部の着色層と同系色の印刷インキによって形成されたことを特徴とするものである。
また、第二の態様は、第一の態様において、積層カードのエンボスの凸部が形成される面に印刷される表図柄印刷層は、表保護シートの表出面に形成されたことを特徴とするものである。
本発明のエンボス用積層カードによって、使用頻度が高いカードで、エンボス文字の着色部が消滅しても、カードの保護シートの裏側に印刷された同系色の着色層により補完され、エンボスカードの外観が醜くなることがない。
以下、図面を参照して、本発明のエンボス用積層カードについて説明する。
図1は、本発明のエンボス用積層カードの一例について説明するための図,図2は、図1のA−A線断面について説明するための図,図3は、図1のB−B線断面について説明するための図,図4は、本発明のエンボス用積層カードの他の一例について説明するための図,図5は、図1のA−A線断面の他の一例について説明するための図,である。
図1を参照して、本発明のエンボス用積層カードの一例について説明する。
本発明のエンボス用積層カード1は、一枚又は複数枚で構成されたコアシート(図示せず)の表裏に透明な保護シート(図示せず)が積層されたエンボス予定部12を有する積層カードである。
前記エンボス予定部12のエンボスの凸部が形成される面(おもて面)の保護シートの裏側には着色層(図示せず)が形成される。
前記着色層は、積層カードに施されるエンボス部の着色層と同系色の印刷インキによって形成される。
また、積層カードのエンボスの凸部が形成される面に印刷される表図柄印刷層(図示せず)は、表保護シートの表出面に形成される。
本発明のエンボス用積層カード1には、カード情報記録部3として磁気ストライプや、図示しないがICモジュールを形成、または、搭載することができる。
前述のカード情報記録部3としての磁気ストライプは、図1に示すように、表印刷図柄11で遮蔽されてその存在が視認できないようになっている。
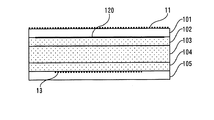
図2,図5を参照して、図1のA−A線断面について説明する。
図1に示すエンボス用積層カードは、カードの表(おもて)面の最表面に表図柄印刷層が形成されたエンボス用積層カードの一例を示している。
図2に示すエンボス用積層カード1のコアシートは三枚のコアシート102,103,104で構成され、コアシート102の上面には透明な表保護シート101が積層され、コアシート104の下面には透明な裏保護シート105が積層された積層カードである。
また、図5に示すエンボス用積層カード1のコアシートは二枚のコアシート102,104で構成され、コアシート102の上面には透明な表保護シート101が積層され、コアシート104の下面には透明な裏保護シート105が積層された積層カードである。
エンボス用積層カードの最表面には前述の如く表図柄印刷層11が形成され、表保護シート101の裏側のエンボス予定部12には、着色層120が印刷されている。
前記着色層120は、積層カードに施されるエンボス部の着色層と同系色の印刷インキによって形成される。
また、裏保護シート105とコアシート104の間には裏図柄印刷層13が形成されている。
前述の着色層120,裏図柄印刷層13は、それぞれコアシート102,コアシート104側に印刷される。
図示しないがコアシートは、一枚で構成されてもよく、前述のように二枚,三枚で構成されてもよい。コアシートは通常、光を遮蔽させるために不透過度が高い乳白色のシートで構成される。
図3を参照して、図1のB−B線断面について説明する。
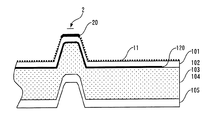
図3は、図1のエンボス文字、「1」の部分の断面を示したものである。
エンボス用積層カードは、図2,図5で説明したように、コアシートが三枚で構成された場合、二枚で構成された場合、何れの場合も、コアシート102,104の外側表面に透明な表保護シート101,105が積層される。
エンボス用積層カードの表保護シート101の表出面には表図柄印刷層11が形成され、表保護シート101の裏側のエンボス予定部には、着色層120が印刷される。
前記着色層120は、積層カードに施されるエンボス部の着色層20と同系色の印刷インキによって形成される。
エンボス部の着色層20の色は事前に決定されるために、使用される転写箔を入手し、エンボス予定部に印刷されるインキは転写箔の色に合せて調合され、スクリーン印刷方式などで印刷される。
エンボス予定部には、エンボス時に衝撃が加わるために着色層120に使用されるインキには、表用コアシート102や表保護シート101によく接着するメジウム樹脂が選定される。
図3において、使用頻度が高いカードは、摩擦によってエンボス部の着色層20は次第に薄くなって最後には消滅する。
そのときに、表保護シート101の裏側に形成された表図柄印刷層11のインキが露出し、表図柄印刷層11のインキが磨り減って消滅すると着色層120が視認されるようになる。前述の着色層120は、表保護シート101で保護されているために容易に磨耗せずに長期にわたって消えることはない。
即ち、エンボス文字の頂上は一度は表図柄印刷層11のインキ色になるが、最終的には
エンボス部の着色層20と同系色に戻る。
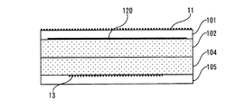
図4を参照して、本発明のエンボス用積層カードの他の一例について説明する。
図4に示すエンボス用積層カードは、三枚で構成されたコアシート102,103,104の、コアシート102の外側表面に透明な表保護シート101が積層され、コアシート104の外側表面に透明な裏保護シート105が積層された積層カードである。
図4に示すエンボス用積層カードは、図1においてカードの表(おもて)面の表図柄印刷層が表保護シート101の裏側に形成されたエンボス用積層カードのA−A線断面を示している。
前述の如くエンボス用積層カードの表保護シートの裏側に表図柄印刷層11が形成され、エンボス予定部には、着色層120が印刷されている。
前記着色層120は、積層カードに施されるエンボス部の着色層と同系色の印刷インキによって形成される。
また、裏保護シート105と裏用コアシート104の間には裏図柄印刷層13が形成されている。
前述の着色層120,裏図柄印刷層13は、それぞれ表用コアシート102,裏用コアシート104側に印刷される。
図示しないが、コアシートは、一枚で構成されてもよい。
コアシート102,103,104は通常、光を遮蔽させるために不透過度が高い乳白色のシートで構成される。
使用頻度が高いカードは、摩擦によってエンボス部の着色層は次第に薄くなって最後には消滅する。そのときに、図4に示す表保護シート101の裏側に形成された表図柄印刷層11が表出する。
図3の例も同様であるが、多くの場合、表図柄印刷層11はオフセットインキで構成される。
一方、積層カードにエンボスが行われたときに、エンボスの凸部の頂上付近では基材のシートが伸びて面積が広くなる。
前述のオフセットインキで構成された表図柄印刷層11は柔軟性に欠けるために、エンボスの凸部の頂上付近にはひび割れが生じ、そのひび割れの間から表図柄印刷層11の裏側に形成された着色部120のインキが露出する状態になる。
即ち、エンボス文字の凸部の頂上は構造的には表図柄印刷層11のインキ色になっているが、実質はエンボス部の着色層20と同系色に見えている。
(材料)
図2を一部参照して、本発明のエンボス用積層カードに使用される材料の一例について説明する。
ただし、以下に記載する材料に拘るものではない。
表保護シート101,裏保護シート105には透明の非結晶性ポリエステル系樹脂,透明なポリ乳酸系樹脂,透明なポリ塩化ビニル樹脂等を、表用コアシート102,コアシート103,裏用コアシート104には乳白色の非結晶性ポリエステル系樹脂,透明なポリ乳酸系樹脂,透明なポリ塩化ビニル樹脂等を使用する。
非結晶性ポリエステル系樹脂は、一般的には芳香族ジカルボン酸とジオールとの脱水縮合体であって、共重合ポリエステルの中でも特に結晶性が低い非結晶性の芳香族ポリエステル樹脂からなる。ジカルボン酸としてはテレフタル酸,イソフタル酸,アジピン酸,ナフタレンジカルボン酸等があり、ジオールとしてはエチレングリコール,ジエチレングリコール,トリエチレングリコール,1,4−シクロヘキサンジメタノール等がある。ジカルボン酸成分とジオール成分の組合せは適宜行われる。
前記非結晶性ポリエステル系樹脂として、ポリエチレンテレフタレートにおけるエチレングリコール成分の30モル%を1,4−シクロヘキサンジメタノールで置換した商品(商品名「PETG」)がイーストマンケミカル社から市販されており、これらを使用することができる。
ポリ乳酸系樹脂は、例えば、ポリー3ーヒドロキシアルカノエート、或いは3又は4ーヒドロキシアルカノエートの共重合体、又はこれらの混合物と、ジカルボン酸とグリコールを重縮合して成る脂肪族ポリエステル、又は/及び、乳酸を原料としてこれを直接又は二量体の開環重合してなるポリ乳酸を、二種又は三種ブレンドして使用する。
ポリ塩化ビニル樹脂については公知の市販材料を使用する。
エンボス予定部に印刷する着色層に使用するインキには、通常、アクリル系樹脂と酢酸ビニル系樹脂をそれぞれ15質量部,顔料など5質量部をスクリーン印刷用溶剤に溶かしたスクリーン印刷用インキを使用する。
表図柄印刷部,裏図柄印刷部に使用する印刷インキには、市販されている紫外線硬化型のオフセットインキ、または、市販されているスクリーン用印刷インキを使用する。
カード情報記録部に使用される磁気記録材料には、音響用に使用される保磁力が300エルステッドのフェライト、または、磁気カード用に使用される650エルステッドのフェライトを塗料用に調合して使用する。
または、前述のフェライトを使用した転写用磁気材料を使用する。
前述のエンボス用積層カードを構成する材料の厚さについては、特に限定しないが、例えば、コアシートを三枚構成とした場合、表保護シート101と裏保護シート105は、0.05mm、表用コアシート102と裏用コアシート104は、0.10mm程度(紙用印刷機がそのまま使用できる厚さ)、コアシート103は、0.46mmとし、出来上がったカードの厚さが、0.76mmとなるようにする。
積層方法は、熱融着方式、接着剤を使用した方式、何れの方式によって行ってもよい。
前述のコアシートが一枚で構成される場合は、着色層120をコアシートに枚葉スクリーン印刷機などを使用して印刷し、表図柄印刷を転写紙上に行って表裏保護シートでコアシートを挟んで積層し、転写紙を剥がしてカードとする。
また、コアシートが複数枚で構成される場合は、着色層120を表用コアシートに印刷し、表図柄印刷を転写紙上に行って表裏保護シートで複数枚のコアシートを挟んで積層し、転写紙を剥がしてカードとする。
本発明のカードは、クレジットカード,会員カード,電子マネーなどに利用される。
本発明のエンボス用積層カードの一例について説明するための図である。 図1のA−A線断面について説明するための図である。 図1のB−B線断面について説明するための図である。 本発明のエンボス用積層カードの他の一例について説明するための図である。 図1のA−A線断面の他の一例について説明するための図である。
符号の説明
1 エンボス用積層カード
2 エンボス文字
3 カード情報記録部
11 表図柄印刷層,表印刷図柄
12 エンボス予定部
13 裏図柄印刷層,裏印刷図柄
20 エンボス部の着色層
101 表保護シート(エンボスの凸部が形成される面の保護シート)
102 表用コアシート
103 コアシート
104 裏用コアシート
105 裏保護シート
120 着色層

Claims (2)

  1. 一又は複数枚で構成されたコアシートの表裏に透明な保護シートが積層されたエンボス予定部を有する積層カードにおいて、
    前記エンボス予定部のエンボスの凸部が形成される面の保護シートの裏側には着色層が形成され、
    前記着色層は、積層カードに施されるエンボス部の着色層と同系色の印刷インキによって形成されたことを特徴とするエンボス用積層カード。
  2. 請求項1に記載のエンボス用積層カードにおいて、
    積層カードのエンボスの凸部が形成される面に印刷される表図柄印刷層は、表保護シートの表出面に形成されたことを特徴とするエンボス用積層カード。
JP2008005583A 2008-01-15 2008-01-15 エンボス文字形成用積層カード Active JP5141260B2 (ja)

Priority Applications (1)

Application Number Priority Date Filing Date Title
JP2008005583A JP5141260B2 (ja) 2008-01-15 2008-01-15 エンボス文字形成用積層カード

Applications Claiming Priority (1)

Application Number Priority Date Filing Date Title
JP2008005583A JP5141260B2 (ja) 2008-01-15 2008-01-15 エンボス文字形成用積層カード

Publications (2)

Publication Number Publication Date
JP2009166312A true JP2009166312A (ja) 2009-07-30
JP5141260B2 JP5141260B2 (ja) 2013-02-13

Family

ID=40968068

Family Applications (1)

Application Number Title Priority Date Filing Date
JP2008005583A Active JP5141260B2 (ja) 2008-01-15 2008-01-15 エンボス文字形成用積層カード

Country Status (1)

Country Link
JP (1) JP5141260B2 (ja)

Citations (4)

* Cited by examiner, † Cited by third party
Publication number Priority date Publication date Assignee Title
JPH01122981U (ja) * 1988-02-15 1989-08-21
JPH03169690A (ja) * 1989-11-30 1991-07-23 Toshiba Corp 携帯可能媒体
JPH05318973A (ja) * 1992-05-15 1993-12-03 Toppan Printing Co Ltd エンボスを有するカード及びその検査方法
JPH09300863A (ja) * 1996-05-20 1997-11-25 Dainippon Printing Co Ltd 磁気カード

Patent Citations (4)

* Cited by examiner, † Cited by third party
Publication number Priority date Publication date Assignee Title
JPH01122981U (ja) * 1988-02-15 1989-08-21
JPH03169690A (ja) * 1989-11-30 1991-07-23 Toshiba Corp 携帯可能媒体
JPH05318973A (ja) * 1992-05-15 1993-12-03 Toppan Printing Co Ltd エンボスを有するカード及びその検査方法
JPH09300863A (ja) * 1996-05-20 1997-11-25 Dainippon Printing Co Ltd 磁気カード

Also Published As

Publication number Publication date
JP5141260B2 (ja) 2013-02-13

Similar Documents

Publication Publication Date Title
JP5158980B2 (ja) 両面2重直接熱画像要素及び両面2重直接熱取引レシートの生成方法
US6830795B1 (en) Stripe coated linerless labels
JPH06130899A (ja) 文書を保護する透明な不正行為防止シール
US20110132783A1 (en) Durable packaging assembly for articles
JP5916028B2 (ja) Rfidタグ製造用紙、rfidタグの製造方法
JP2009096027A (ja) カード
JP5141260B2 (ja) エンボス文字形成用積層カード
JP3896766B2 (ja) 透明磁気カード
JP2005153445A (ja) 偽造防止策が施されたidカード
JPH0852930A (ja) 隠蔽カード
JP5083538B2 (ja) 偽造防止媒体
JP5371043B2 (ja) 改ざん防止印刷物
JP4003632B2 (ja) 可変情報印刷物
CN214312394U (zh) 一种具有兑奖功能的多重防伪标签
JP2009184171A (ja) 積層カード
JP5082957B2 (ja) レーザー印字用カード
JP2002024782A (ja) 磁気カード
JP6551124B2 (ja) 隠蔽カード
JP5169700B2 (ja) 隠蔽印刷層を備えた黒色カード
CN213635078U (zh) 点阵式磁性防伪标签
JP2007018036A (ja) 商品タグ発行機
JP2004090451A (ja) レーザマーキング用記録シートおよびその使用方法
JP4797497B2 (ja) 商品タグ発行機
WO2025164348A1 (ja) フィルム包材の製造方法、フィルム包材および長尺フィルム
JP4439138B2 (ja) 透過素材を用いたカード

Legal Events

Date Code Title Description
A621 Written request for application examination

Free format text: JAPANESE INTERMEDIATE CODE: A621

Effective date: 20101109

A131 Notification of reasons for refusal

Free format text: JAPANESE INTERMEDIATE CODE: A131

Effective date: 20120411

A977 Report on retrieval

Free format text: JAPANESE INTERMEDIATE CODE: A971007

Effective date: 20120412

A521 Written amendment

Free format text: JAPANESE INTERMEDIATE CODE: A523

Effective date: 20120607

A02 Decision of refusal

Free format text: JAPANESE INTERMEDIATE CODE: A02

Effective date: 20120626

A521 Written amendment

Free format text: JAPANESE INTERMEDIATE CODE: A523

Effective date: 20120924

A911 Transfer of reconsideration by examiner before appeal (zenchi)

Free format text: JAPANESE INTERMEDIATE CODE: A911

Effective date: 20121002

TRDD Decision of grant or rejection written
A01 Written decision to grant a patent or to grant a registration (utility model)

Free format text: JAPANESE INTERMEDIATE CODE: A01

Effective date: 20121023

A01 Written decision to grant a patent or to grant a registration (utility model)

Free format text: JAPANESE INTERMEDIATE CODE: A01

A61 First payment of annual fees (during grant procedure)

Free format text: JAPANESE INTERMEDIATE CODE: A61

Effective date: 20121105

FPAY Renewal fee payment (event date is renewal date of database)

Free format text: PAYMENT UNTIL: 20151130

Year of fee payment: 3

R150 Certificate of patent or registration of utility model

Ref document number: 5141260

Country of ref document: JP

Free format text: JAPANESE INTERMEDIATE CODE: R150

Free format text: JAPANESE INTERMEDIATE CODE: R150