JP2008124231A - 電子部品連およびその製造方法 - Google Patents
電子部品連およびその製造方法 Download PDFInfo
- Publication number
- JP2008124231A JP2008124231A JP2006306205A JP2006306205A JP2008124231A JP 2008124231 A JP2008124231 A JP 2008124231A JP 2006306205 A JP2006306205 A JP 2006306205A JP 2006306205 A JP2006306205 A JP 2006306205A JP 2008124231 A JP2008124231 A JP 2008124231A
- Authority
- JP
- Japan
- Prior art keywords
- electronic component
- chip electronic
- metal wire
- holding portion
- chip
- Prior art date
- Legal status (The legal status is an assumption and is not a legal conclusion. Google has not performed a legal analysis and makes no representation as to the accuracy of the status listed.)
- Withdrawn
Links
- 238000004519 manufacturing process Methods 0.000 title claims abstract description 11
- 239000002184 metal Substances 0.000 claims abstract description 51
- 238000005452 bending Methods 0.000 claims description 9
- 239000004020 conductor Substances 0.000 claims description 6
- 239000000463 material Substances 0.000 claims description 4
- 238000004080 punching Methods 0.000 claims description 3
- 238000000034 method Methods 0.000 abstract description 6
- 229910000679 solder Inorganic materials 0.000 abstract description 5
- 239000003990 capacitor Substances 0.000 description 8
- WABPQHHGFIMREM-UHFFFAOYSA-N lead(0) Chemical compound [Pb] WABPQHHGFIMREM-UHFFFAOYSA-N 0.000 description 6
- 238000003825 pressing Methods 0.000 description 3
- 230000000694 effects Effects 0.000 description 2
- 238000003780 insertion Methods 0.000 description 2
- 230000037431 insertion Effects 0.000 description 2
- 239000011347 resin Substances 0.000 description 2
- 229920005989 resin Polymers 0.000 description 2
- 238000004804 winding Methods 0.000 description 2
- 230000015572 biosynthetic process Effects 0.000 description 1
- 239000003985 ceramic capacitor Substances 0.000 description 1
- 230000003247 decreasing effect Effects 0.000 description 1
- 238000012986 modification Methods 0.000 description 1
- 230000004048 modification Effects 0.000 description 1
- 239000002699 waste material Substances 0.000 description 1
Images
Classifications
-
- Y—GENERAL TAGGING OF NEW TECHNOLOGICAL DEVELOPMENTS; GENERAL TAGGING OF CROSS-SECTIONAL TECHNOLOGIES SPANNING OVER SEVERAL SECTIONS OF THE IPC; TECHNICAL SUBJECTS COVERED BY FORMER USPC CROSS-REFERENCE ART COLLECTIONS [XRACs] AND DIGESTS
- Y02—TECHNOLOGIES OR APPLICATIONS FOR MITIGATION OR ADAPTATION AGAINST CLIMATE CHANGE
- Y02P—CLIMATE CHANGE MITIGATION TECHNOLOGIES IN THE PRODUCTION OR PROCESSING OF GOODS
- Y02P70/00—Climate change mitigation technologies in the production process for final industrial or consumer products
- Y02P70/50—Manufacturing or production processes characterised by the final manufactured product
Landscapes
- Fixed Capacitors And Capacitor Manufacturing Machines (AREA)
Abstract
【課題】 極小の角型のチップ電子部品を用いた梯子状の電子部品連と、この電子部品連を製造する方法を提案する。
【解決手段】 この電子部品連1は、略直方体の素子の両端に端子電極を備えた角型のチップ電子部品2と、前記チップ電子部品2の端子電極と接続する保持部4が一定の間隔で形成された2本の金属線3とを有する梯子状の電子部品連である。チップ電子部品2の端子電極は略コ字状の保持部4によって挟んで保持され、半田付け(図示せず)によって固定されている。
【選択図】 図1
【解決手段】 この電子部品連1は、略直方体の素子の両端に端子電極を備えた角型のチップ電子部品2と、前記チップ電子部品2の端子電極と接続する保持部4が一定の間隔で形成された2本の金属線3とを有する梯子状の電子部品連である。チップ電子部品2の端子電極は略コ字状の保持部4によって挟んで保持され、半田付け(図示せず)によって固定されている。
【選択図】 図1
Description
本発明は、2本の金属線の間に一定の間隔で電子部品が固着された梯子状の電子部品連とその製造方法に関するものである。
近年、電子部品を回路基板へ実装する方法としてリードレスのチップ部品を表面実装する方法が主流になっており、リード線付の電子部品の需要は減少してきている。しかしながら、特定の分野においてはリード線付の電子部品への需要が根強くある。例えば中間周波トランスはボビンやコアにコンデンサが組み込まれた構造を有しているが、これに用いられるコンデンサはリード線をボビンやコアの端子に巻きつけて電気的に接続させるため、リード線付のコンデンサを用いるほうが好ましいものである。
リード付の電子部品には、アキシャルリード型の電子部品やラジアルリード型の電子部品等がある。そしてこれらのリード付の電子部品は自動挿入対応部品として提供するために、テーピング等によって多数個連ねた電子部品連の形で提供される。このような電子部品連には、特公昭45−010465号公報に開示されているような、2本の金属線の間に一定の間隔で電子部品が整列して多数個連なっている梯子状の電子部品連がある。この電子部品連は、円筒状のセラミックコンデンサ等のチップ電子部品の端子電極に金属線を巻き付けて梯子状に形成したもので、キャリアとなる金属線がリード線として使われるものである。
このような電子部品連は、キャリアとなる金属線がそのままリード線になるので、テープの廃材等が出ない。また、アキシャルリードのように実装時にリード線を折り曲げる工程が特に必要にならないので、自動挿入に容易に対応することが可能である。なお、円筒コンデンサは中空構造なので強度が比較的弱く、クラックが起こりやすい。そのため、実開昭56−024130号公報に開示されているように、比較的強度が高く、単位体積当りの静電容量が高い平板または角型のコンデンサを用いた電子部品連が提案されている。
しかしながら、角型のチップ電子部品に金属線を巻きつけた場合、円筒型のチップ電子部品に金属線を巻きつけた場合に比べて十分な固定ができないという問題があった。これは、角型のチップ電子部品金属線を巻きつけると、図7に示すように、金属線23とチップ電子部品22の表面との間に隙間GPができてしまうため、その分固定力が弱くなるためである。このような場合、ある程度大きなチップ電子部品であれば、比較的柔軟な材質の金属線や太さの細い金属線を用いることで対応可能であるが、近年の小型化の進んだチップ電子部品ではその寸法が金属線の太さに近くなるため、それにも限界があった。
特に近年の積層コンデンサ等の角型のチップ電子部品は、1.6mm×0.8mm、1.0mm×0.5mm、さらには0.6mm×0.3mmや0.4mm×0.2mmという極めて小さな寸法のものが主流になってきている。このようなきわめて小さなチップ電子部品に例えば0.2mmφの金属線を巻きつけて固定することは非常に困難であった。
本発明では、このような微小の角型のチップ電子部品を用いた梯子状の電子部品連と、この電子部品連を製造する方法を提案するものである。
本発明では、略直方体の素子の両端に端子電極を備えた角型のチップ電子部品が、2本の金属線の間に一定の間隔で複数配設され、それぞれの前記端子電極がそれぞれ当接する金属線に導電材料で固着された梯子状の電子部品連において、前記金属線はそれぞれ略コ字状の保持部を一定の間隔で有しており、前記チップ電子部品の前記端子電極は、前記保持部によって挟持されていることを特徴とする電子部品連を提案する。
上記の手段によれば、保持部によってチップ電子部品の端子電極を挟んで保持するので、金属線に十分な固定が可能となり、角型のチップ電子部品を用いた梯子状の電子部品連を得ることができる。
また、本発明では、略直方体の素子の両端に端子電極を備えた角型のチップ電子部品が、2本の金属線の間に一定の間隔で複数配設され、それぞれの前記端子電極がそれぞれ当接する金属線に導電材料で固着された梯子状の電子部品連の製造方法において、金属線を用意するステップと、前記金属線それぞれに折り曲げ加工または平打ち加工によって加工部を一定間隔で形成するステップと、前記加工部を形成した2本の前記金属線を、前記加工部が対向するように平行に並べるステップと、前記加工部を略コ字状に成形して保持部を形成するステップと、前記チップ電子部品の端子電極を前記金属線の前記保持部に圧接させて挟持させるステップと、前記保持部と前記チップ電子部品の端子電極を導電材料で固着するステップと、を有することを特徴とする電子部品連の製造方法を提案する。
上記の解決手段によれば、角型のチップ電子部品を挟んで保持することにより固定するので、角型のチップ電子部品を用いた梯子状の電子部品連を容易に得ることができる。また、チップ電子部品が微小であっても、梯子状の電子部品連を容易に得ることができる。なお、前記加工部を略コ字状に成形して保持部を形成するステップと、前記チップ電子部品の端子電極を前記金属線の前記保持部に圧接させて挟持させるステップとを同時に行っても良い。
本発明によれば、微小の角型のチップ電子部品を用いた梯子状の電子部品連を容易に得ることができる。
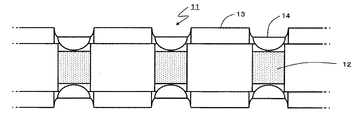
本発明の電子部品連に係る実施形態を、図面に基づいて説明する。図1に本発明の電子部品連の第一の実施形態を示す。この電子部品連1は、略直方体の素子の両端に端子電極を備えた角型のチップ電子部品2と、前記チップ電子部品2の端子電極と接続する保持部4が一定の間隔で形成された2本の金属線3とを有する梯子状の電子部品連である。チップ電子部品2の端子電極と保持部4は半田や導電性樹脂等の導電材料(図示せず)によって固定されている。なお、金属線3の保持部4の間隔すなわちチップ電子部品2の間隔は、個別部品分割したときに必要な長さのリード線が形成されるように設定される。
チップ電子部品2は、角型の素子の両端すなわち相対向する2つの面に端子電極が形成されているもので、積層コンデンサ、積層コイル、積層サーミスタや積層バリスタ等の積層電子部品や、チップ抵抗器などがある。端子電極はその形成面と隣接する面まで延長して形成されていても良い。チップ電子部品2の大きさは、1.6mm×0.8mm、1.0mm×0.5mm、さらには0.6mm×0.3mmや0.4mm×0.2mm等があるが、この第一の実施形態では1.0mm×0.5mm以上の角型チップ電子部品に最適である。
金属線3は、図2に示すように、折り曲げ加工によってS字状に形成された加工部4‘が一定の間隔で並んでいる。この加工部4’は、さらに折り曲げ線BLで折り曲げられて略コ字状(またはU字状)の保持部4に形成される。この略コ字状に折り曲げられた保持部4でチップ電子部品2の端子電極を挟んで保持する。金属線3の太さは、0.2mmφ〜1.0mmφ等があるが、中間周波トランスのボビンやコアの端子に巻きつける等の用途では、0.3mmφ以下が好ましい。また、加工部4‘の形状はS字状に限らず、8の字状や渦巻状等、折り曲げ加工によって形成できる形状であれば良い。
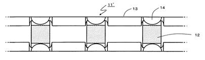
次に本発明の電子部品連の第二の実施形態について説明する。図3に示す電子部品連11について第一の実施形態と異なる点は、保持部14が折り曲げ加工ではなく、平打ち加工によって形成されたものである点である。チップ電子部品12が0.6mm×0.3mmや0.4mm×0.2mmと小さくなってくると、金属線13が例えば0.2mmφの太さであれば、その太さに近くなってくる。そのため、保持部14は、折り曲げ加工よりも平打ち加工で形成する方が有利である。
金属線13は、図4に示すように、平打ち加工によって形成された加工部14‘が一定の間隔で並んでいる。この加工部14’は、さらに折り曲げ線BLで折り曲げられて略コ字状(またはU字状)の保持部14に形成される。この略コ字状に折り曲げられた保持部14でチップ電子部品12の端子電極を挟んで保持する。
この加工部14‘は例えばポンチ等で金属線13を叩いて潰して形成される。そのため、ポンチを当てた側は凹んでいることが多い。チップ電子部品12を挟んで保持する効果を充分に得るためには、折り曲げ部分を長く取れるようにするため、ポンチを当てた側と反対方向に加工部14’を折り曲げて保持部14を形成するのが好ましい。よって、図3に示すように、チップ電子部品12の端子電極に保持加工部14‘のポンチを当てた側の反対面に折り曲げて保持部14を形成し、チップ電子部品12の端子電極を保持させるのが好ましい。
なお、加工部14‘のポンチを当てた面がチップ電子部品12の端子電極形成面の寸法よりも大きい場合は、図5に示した電子部品連11‘のように、ポンチを当てた面側に加工部14’を折り曲げて保持部14を形成し、折り曲げ部分と凹みで保持するようにしても良い。この場合、金属キャップと同じような保持状態となるので、チップ電子部品12を挟んで保持する効果がより高くなる。なお、平打ち加工した保持部14はその厚みが金属線13の太さより小さくなるので強度が低くなるが、半田や導電性樹脂等の導電材料(図示せず)によって補強されるので、特に問題はない。
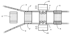
次に本発明の電子部品連の製造方法について、図6に基づいて、第一の実施形態の電子部品連を例にとって説明する。まず、金属線3(例えば0.2mmφ)を2本用意する。この2本の金属線3のそれぞれに折り曲げ加工を行い、一定の間隔でS字形状の加工部4‘を形成する。続いてこの2本の金属線3を、互いの加工部4’が対向するように平行に並べる。
続いて図6に示すように、チップ電子部品2(例えば1.6mm×0.8mmの積層コンデンサ)の端子電極を、2本の金属線3の各々の加工部4‘に接触させる。その後、押圧部材PTによってチップ電子部品2の端子電極と加工部4’とを圧接させ、加工部4‘を略コ字状に折り曲げて保持部4を形成して挟持させる。この押圧部材PTは、加工部4’を折り曲げる形状例えば略コ字状の溝を備えた部材でも良いし、ゴム等の弾性体の板でも良い。また、加工部4‘を予め略コ字状に折り曲げて保持部4を形成してからチップ電子部品2の端子電極に圧接させて挟持させても良い。
続いて保持部4と端子電極を半田5によって半田付けする。このようにして、梯子状の電子部品連を得ることができる。
以上、本発明の電子部品連とその製造方法について説明してきたが、本発明の範囲内であれば、電子部品の種類、金属線の材質等種々の変更が可能である。
1、11、11‘ 電子部品連
2、12、22 チップ電子部品
3、13、23 金属線
4、14 保持部
4‘、14’ 加工部
5 半田
2、12、22 チップ電子部品
3、13、23 金属線
4、14 保持部
4‘、14’ 加工部
5 半田
Claims (2)
- 略直方体の素子の両端に端子電極を備えた角型のチップ電子部品が、2本の金属線の間に一定の間隔で複数配設され、それぞれの前記端子電極がそれぞれ当接する金属線に導電材料で固着された梯子状の電子部品連において、
前記金属線はそれぞれ略コ字状の保持部を一定の間隔で有しており、前記チップ電子部品の前記端子電極は、前記保持部によって挟持されている
ことを特徴とする電子部品連。 - 略直方体の素子の両端に端子電極を備えた角型のチップ電子部品が、2本の金属線の間に一定の間隔で複数配設され、それぞれの前記端子電極がそれぞれ当接する金属線に導電材料で固着された梯子状の電子部品連の製造方法において、
金属線を用意するステップと、
前記金属線それぞれに折り曲げ加工または平打ち加工によって加工部を一定間隔で形成するステップと、
前記加工部を形成した2本の前記金属線を、前記加工部が対向するように平行に並べるステップと、
前記加工部を略コ字状に成形して保持部を形成するステップと、
前記チップ電子部品の端子電極を前記金属線の前記保持部に圧接させて挟持させるステップと、
前記保持部と前記チップ電子部品の端子電極を導電材料で固着するステップと、
を有することを特徴とする電子部品連の製造方法。
Priority Applications (2)
| Application Number | Priority Date | Filing Date | Title |
|---|---|---|---|
| JP2006306205A JP2008124231A (ja) | 2006-11-13 | 2006-11-13 | 電子部品連およびその製造方法 |
| CNA2007101851932A CN101183608A (zh) | 2006-11-13 | 2007-11-12 | 带装电子部件及其制造方法 |
Applications Claiming Priority (1)
| Application Number | Priority Date | Filing Date | Title |
|---|---|---|---|
| JP2006306205A JP2008124231A (ja) | 2006-11-13 | 2006-11-13 | 電子部品連およびその製造方法 |
Publications (1)
| Publication Number | Publication Date |
|---|---|
| JP2008124231A true JP2008124231A (ja) | 2008-05-29 |
Family
ID=39448821
Family Applications (1)
| Application Number | Title | Priority Date | Filing Date |
|---|---|---|---|
| JP2006306205A Withdrawn JP2008124231A (ja) | 2006-11-13 | 2006-11-13 | 電子部品連およびその製造方法 |
Country Status (2)
| Country | Link |
|---|---|
| JP (1) | JP2008124231A (ja) |
| CN (1) | CN101183608A (ja) |
Cited By (3)
| Publication number | Priority date | Publication date | Assignee | Title |
|---|---|---|---|---|
| JP2011165984A (ja) * | 2010-02-10 | 2011-08-25 | Mitsubishi Materials Corp | 電子部品製造装置 |
| EP2390194A1 (en) * | 2010-05-25 | 2011-11-30 | Commissariat à l'Énergie Atomique et aux Énergies Alternatives | Apparatus for assembling chip devices on wires |
| JP2023045716A (ja) * | 2021-09-22 | 2023-04-03 | Tdk株式会社 | 金属端子付き電子部品の製造方法 |
Families Citing this family (1)
| Publication number | Priority date | Publication date | Assignee | Title |
|---|---|---|---|---|
| CN101431868B (zh) * | 2008-12-11 | 2012-03-21 | 田先平 | 与绕组一体的多层pcb的制作方法 |
-
2006
- 2006-11-13 JP JP2006306205A patent/JP2008124231A/ja not_active Withdrawn
-
2007
- 2007-11-12 CN CNA2007101851932A patent/CN101183608A/zh active Pending
Cited By (4)
| Publication number | Priority date | Publication date | Assignee | Title |
|---|---|---|---|---|
| JP2011165984A (ja) * | 2010-02-10 | 2011-08-25 | Mitsubishi Materials Corp | 電子部品製造装置 |
| EP2390194A1 (en) * | 2010-05-25 | 2011-11-30 | Commissariat à l'Énergie Atomique et aux Énergies Alternatives | Apparatus for assembling chip devices on wires |
| US8782880B2 (en) | 2010-05-25 | 2014-07-22 | Commissariat A L'energie Atomique Et Aux Energies Alternatives | Apparatus for assembling chip devices on wires |
| JP2023045716A (ja) * | 2021-09-22 | 2023-04-03 | Tdk株式会社 | 金属端子付き電子部品の製造方法 |
Also Published As
| Publication number | Publication date |
|---|---|
| CN101183608A (zh) | 2008-05-21 |
Similar Documents
| Publication | Publication Date | Title |
|---|---|---|
| US6927660B2 (en) | Coil device with edgewise winding | |
| US9349524B2 (en) | Wire-wound electronic component | |
| CN101796599A (zh) | 磁性零件 | |
| JP2009099913A (ja) | 多端子型固体電解コンデンサ | |
| US9620266B2 (en) | Electrical device | |
| JPS6230306A (ja) | 直接搭載電気部品の製造用接続ストリツプ及び該電気部品の製造方法 | |
| JP2016119386A (ja) | 表面実装インダクタおよびその製造方法 | |
| JP2008124231A (ja) | 電子部品連およびその製造方法 | |
| US7154367B1 (en) | Wire wound choke coil | |
| CN211126138U (zh) | 压接端子及智能功率模块 | |
| JP2012138640A (ja) | チョークコイル | |
| JP6460211B2 (ja) | コイル部品及びその製造方法 | |
| HK1115670A (en) | Belt electronic parts and manufacturing method thereof | |
| JP6175870B2 (ja) | 面実装バルントランス | |
| KR100689353B1 (ko) | 권선형 초크 코일 | |
| JPH11191515A (ja) | リード付き電子部品 | |
| JPS61177704A (ja) | チツプ型インダクタの製造方法 | |
| JP3165822U (ja) | 巻線チップチョークコイル | |
| JP3687769B2 (ja) | ケース外装型電子部品の製造方法 | |
| WO2019065044A1 (ja) | 蓄電モジュール | |
| JPH10106889A (ja) | チップ型固体電解コンデンサ | |
| EP1732089B1 (en) | Wire wound choke coil | |
| JP2006344829A (ja) | 巻線型チョークコイル | |
| JP2012186217A (ja) | 電子機器および電子機器の製造方法 | |
| JPH0660133U (ja) | ケース外装型電子部品 |
Legal Events
| Date | Code | Title | Description |
|---|---|---|---|
| A300 | Application deemed to be withdrawn because no request for examination was validly filed |
Free format text: JAPANESE INTERMEDIATE CODE: A300 Effective date: 20100202 |