JP2008009863A - 印刷受注装置、方法およびプログラム - Google Patents

印刷受注装置、方法およびプログラム Download PDF

Info

Publication number
JP2008009863A
JP2008009863A JP2006181535A JP2006181535A JP2008009863A JP 2008009863 A JP2008009863 A JP 2008009863A JP 2006181535 A JP2006181535 A JP 2006181535A JP 2006181535 A JP2006181535 A JP 2006181535A JP 2008009863 A JP2008009863 A JP 2008009863A
Authority
JP
Japan
Prior art keywords
workflow
company
printed matter
order receiving
printing
Prior art date
Legal status (The legal status is an assumption and is not a legal conclusion. Google has not performed a legal analysis and makes no representation as to the accuracy of the status listed.)
Granted
Application number
JP2006181535A
Other languages
English (en)
Other versions
JP4940787B2 (ja
Inventor
Toshikazu Aizawa
俊和 相澤
Current Assignee (The listed assignees may be inaccurate. Google has not performed a legal analysis and makes no representation or warranty as to the accuracy of the list.)
Fujifilm Business Innovation Corp
Original Assignee
Fuji Xerox Co Ltd
Priority date (The priority date is an assumption and is not a legal conclusion. Google has not performed a legal analysis and makes no representation as to the accuracy of the date listed.)
Filing date
Publication date
Application filed by Fuji Xerox Co Ltd filed Critical Fuji Xerox Co Ltd
Priority to JP2006181535A priority Critical patent/JP4940787B2/ja
Publication of JP2008009863A publication Critical patent/JP2008009863A/ja
Application granted granted Critical
Publication of JP4940787B2 publication Critical patent/JP4940787B2/ja
Expired - Fee Related legal-status Critical Current
Anticipated expiration legal-status Critical

Links

Images

Classifications

    • YGENERAL TAGGING OF NEW TECHNOLOGICAL DEVELOPMENTS; GENERAL TAGGING OF CROSS-SECTIONAL TECHNOLOGIES SPANNING OVER SEVERAL SECTIONS OF THE IPC; TECHNICAL SUBJECTS COVERED BY FORMER USPC CROSS-REFERENCE ART COLLECTIONS [XRACs] AND DIGESTS
    • Y02TECHNOLOGIES OR APPLICATIONS FOR MITIGATION OR ADAPTATION AGAINST CLIMATE CHANGE
    • Y02PCLIMATE CHANGE MITIGATION TECHNOLOGIES IN THE PRODUCTION OR PROCESSING OF GOODS
    • Y02P90/00Enabling technologies with a potential contribution to greenhouse gas [GHG] emissions mitigation
    • Y02P90/30Computing systems specially adapted for manufacturing

Landscapes

  • Management, Administration, Business Operations System, And Electronic Commerce (AREA)

Abstract

【課題】各企業間をまたがるワークフローを構築することができ、動的な特定の条件に限定したディスカウント情報を提示できることが可能な印刷受注装置、方法およびプログラムを提供する。
【解決手段】顧客は受注サイトに対して見積りを依頼し、受注サイトは見積り条件と登録された工程定義とに基づいてプロトタイプを作成し、プロトタイプに従ってワークフローを構築するための実際の工程を検索するとともに、見積り条件を少しずつ変更した類似条件を設定し、類似条件に適合する工程も検索し、検索された工程からディスカウント情報を作成する。検索された工程および作成されたディスカウント情報からワークフローを構築し、ワークフローの工程の情報から見積りを自動計算し、受注サイトは見積りおよびディスカウント情報を顧客に対して提示する。顧客は見積りを吟味した結果、納得がいった場合は、受注サイトに対して印刷物の発注を行う。
【選択図】図1

Description

本発明は、印刷受注装置、方法およびプログラムに関し、特に、顧客端末および印刷会社端末とネットワークを介して接続し、顧客からの印刷物の注文を受け付け、印刷会社に印刷物の生産を指示する印刷受注装置、方法およびプログラムに関する。
従来、印刷業界において、印刷会社に印刷物の発注を行う際には、以下のような手順となっていた。顧客が発注内容を印刷会社に伝えるとともに料金の見積りを依頼する。この時、顧客は複数の印刷会社に料金の見積りを依頼する。次に、印刷会社が注文内容を基に料金の見積りを行い、見積り書を作成して顧客に提出する。そして、顧客は複数の印刷会社から提出された見積り書を比較検討することによって、どの印刷会社に発注するかを決定する。
近年、ネットワークによるコンピュータ間の接続が一般的になりつつあり、印刷業界においても、このようなネットワーク技術を利用して、顧客と印刷会社との間の印刷物の受発注、印刷会社で行われる印刷物作成のワークフローの管理等を容易に行う技術が開示されている。
例えば、顧客から送信される印刷用のデータの種類に応じて、印刷料金の見積りを行うことができる印刷システム、サーバ、クライアント、印刷方法および記憶媒体並びにプログラムがある(例えば、特許文献1参照。)。
更に、例えば、顧客から送信される印刷用のデータの種類に応じて、印刷料金の見積りを行うことができる印刷システム、サーバ、クライアント、印刷方法および記憶媒体並びにプログラムがある(例えば、特許文献2参照。)。
更に、例えば、印刷物の作成を依頼する顧客はネットワークを介して何時でも適正な見積りを迅速に得ることができ、また、業者は見積り受け付け、作成および通知処理を自動で行え、双方の事務処理の効率化および省力化を図ることができる印刷物の見積り生成システムおよび受注・発注処理の実行方法がある(例えば、特許文献3参照。)。
更に、例えば、代理店と印刷受注管理センターを専用の回線で結び、代理店に設置のタッチパネル式専用端末で印刷物の発注処理を可能とするタッチパネル型印刷受注コンピュータシステムがある(例えば、特許文献4参照。)。
特開2003−16322号公報 特開2003−22173号公報 特開2003−223575号公報 特開2004−102699号公報
しかし、従来における印刷物作成のワークフローは、印刷物の発注から印刷、納品までの全工程が個々の印刷会社毎にひとまとめになっており、細分化された工程を顧客自身が自由に組み合わせてワークフローを構築するような工程単位での受注が不可能であり、顧客は印刷会社単位での発注しかできなかった。
なお、工程単位での受注ができない理由として、工程の中では独自の規格等で自動化・効率化等が開発されていることから、各工程により自動化・効率化のレベルが異なるため、印刷業界において印刷作成のワークフローが標準化されていなかったという技術的な理由も挙げられる。
また、従来における印刷物の受発注では、印刷会社の営業社員と顧客との商談では、価格交渉が重要となるが、提示可能なディスカウント情報が標準化されていない場合、すべての営業社員がディスカウント情報を共有できていなかったために契約が成立しない場合がある。例えば、ある工程で使用する装置がある特定の期間に稼動する予定がないので、その期間に装置が稼動するような発注を行うという条件や、ある工程で使用する装置で使用される消耗品の在庫が過剰に残っているため、その消耗品を使用するような発注を行うという条件で、ディスカウントを行うといったディスカウント情報の標準化を行い、営業社員が共有することで印刷会社の機会損失を減らすことが可能になる。顧客は印刷の条件と多少異なる(品質、納期の変更)ものの利点があると判断すれば、コスト削減のためにディスカウントを希望する顧客も多いことから、このようなディスカウント情報は商談の上で重要な情報となっている。
しかし、従来におけるネットワークを利用した印刷物の受発注では、営業社員が提示するような動的な特定の条件に限定したディスカウント情報を顧客に提示することは困難であり、このようなディスカウント情報を提示できないことによって商談が成立しない、即ち受注件数が減少することは印刷会社の経営にとっては深刻な問題になりかねない。
そこで、本発明は、各企業間をまたがるワークフローを構築することができ、動的な特定の条件に限定したディスカウント情報を提示できることが可能な印刷受注装置、方法およびプログラムを提供することを目的とする。
上記目的を達成するため、請求項1の発明は、利用者からの条件に基づいて複数の工程からなる印刷物を生産するためのワークフローを構築し、該利用者からの印刷物の生産の注文を受注する印刷受注装置において、前記工程に関する情報を示す工程定義を登録する登録手段と、前記利用者からの印刷物の生産の条件に基づき、該条件に適合する工程および処理順序からなる第1のワークフローを作成するワークフロー作成手段と、前記ワークフロー作成手段で作成した第1のワークフローに適合する第1の工程を前記登録手段に登録されている工程定義から検索する第1の工程検索手段と、前記第1のワークフローおよび前記第1の工程検索手段で検索した第1の工程に基づき、第2のワークフローを構築するワークフロー構築手段と、前記印刷物の生産の条件に類似した類似条件に適合する第2の工程を前記登録手段に登録されている工程定義から検索する第2の工程検索手段とを具備し、前記ワークフロー構築手段は、前記第2の工程検索手段で検索した第2の工程が割引対象の工程である場合、該第2の工程を含む第3のワークフローを構築することを特徴とする。
また、請求項2の発明は、請求項1の発明において、前記ワークフロー構築手段で構築したワークフローの費用を計算する見積り計算手段と、前記第3のワークフローの費用が前記第2のワークフローの費用よりも安価である場合、該第3のワークフローの見積りを前記利用者に提示する見積り提示手段とを更に具備することを特徴とする。
また、請求項3の発明は、請求項2の発明において、前記見積り提示手段で提示した前記第3のワークフローおよび前記第2のワークフローから前記顧客が選択したワークフローによる印刷物の生産の注文を受注する受注手段と、前記受注手段で受注したワークフローを構築する各工程を担当する印刷会社に対して生産を指示する生産指示手段とを更に具備することを特徴とする。
また、請求項4の発明は、利用者からの条件に基づいて複数の工程からなる印刷物を生産するためのワークフローを構築し、該利用者からの印刷物の生産の注文を受注する印刷受注方法において、登録手段が前記工程に関する情報を示す工程定義を登録し、ワークフロー作成手段が前記利用者からの印刷物の生産の条件に基づき、該条件に適合する工程および処理順序からなる第1のワークフローを作成し、第1の工程検索手段が前記作成した第1のワークフローに適合する第1の工程を前記登録されている工程定義から検索し、ワークフロー構築手段が前記第1のワークフローおよび前記検索した第1の工程に基づき、第2のワークフローを構築し、第2の工程検索手段が前記印刷物の生産の条件に類似した類似条件に適合する第2の工程を前記登録されている工程定義から検索し、前記検索した第2の工程が割引対象の工程である場合、前記ワークフロー構築手段が該第2の工程を含む第3のワークフローを構築することを特徴とする。
また、請求項5の発明は、請求項4の発明において、見積り計算手段が前記構築したワークフローの費用を計算し、前記第3のワークフローの費用が前記第2のワークフローの費用よりも安価である場合、見積り提示手段が該第3のワークフローの見積りを前記利用者に提示することを特徴とする。
また、請求項6の発明は、請求項5の発明において、受注手段が前記提示した前記第3のワークフローおよび前記第2のワークフローから前記顧客が選択したワークフローによる印刷物の生産の注文を受注し、生産指示手段が前記受注したワークフローを構築する各工程を担当する印刷会社に対して生産を指示することを特徴とする。
また、請求項7の発明は、利用者からの条件に基づいて複数の工程からなる印刷物を生産するためのワークフローを構築し、該利用者からの印刷物の生産の注文を受注する印刷受注プログラムにおいて、前記工程に関する情報を示す工程定義を登録する処理と、前記利用者からの印刷物の生産の条件に基づき、該条件に適合する工程および処理順序からなる第1のワークフローを作成する処理と、前記作成した第1のワークフローに適合する第1の工程を前記登録されている工程定義から検索する処理と、前記第1のワークフローおよび前記検索した第1の工程に基づき、第2のワークフローを構築する処理と、前記印刷物の生産の条件に類似した類似条件に適合する第2の工程を前記登録されている工程定義から検索する処理と、前記検索した第2の工程が割引対象の工程である場合、該第2の工程を含む第3のワークフローを構築する処理とをコンピュータに動作させることを特徴とする。
また、請求項8の発明は、請求項7の発明において、前記構築したワークフローの費用を計算する処理と、前記第3のワークフローの費用が前記第2のワークフローの費用よりも安価である場合、該第3のワークフローの見積りを前記利用者に提示する処理とをコンピュータに動作させることを特徴とする。
また、請求項9の発明は、請求項6の発明において、前記提示した前記第3のワークフローおよび前記第2のワークフローから前記顧客が選択したワークフローによる印刷物の生産の注文を受注する処理と、前記受注したワークフローを構築する各工程を担当する印刷会社に対して生産を指示する処理とをコンピュータに動作させることを特徴とする。
本発明によれば、動的な特定の条件に限定したディスカウント情報を顧客に対して提示することができ、より安価な条件を顧客に提示することにより受注量を増やすことができるとともに、印刷会社は都合の良い条件(例えば、消耗品、納期、複数の顧客を1つのジョブにまとめる等)で工程を実行でき、顧客はコストを削減することができるという効果を奏する。
以下、本発明に係る印刷受注装置、方法およびプログラムの実施の形態について添付図面を参照して詳細に説明する。
本発明では、一つの仕事が印刷の各工程を効率良く流れていくことができるための印刷全工程に亘って規格・統合化された共通の指示書であるJDF[Job Definition Format]を用いる。このJDF形式の指示書に印刷物制作に関わるデザイン作業から配送までといったあらゆる工程の指示を記載することによって、一つの仕事を一つの指示書で管理していくことができる。
図1は、本発明に係る印刷受注装置1を利用した印刷業における印刷受注システム2の一例を示すシステム構成図である。
顧客端末3および印刷会社端末4にはWebブラウザが組み込まれ、顧客端末3および印刷会社端末4は一般的なコンピュータと同様にディスプレイ、キーボードおよび本体を有し、本体にはCPUを中心にROM、RAM、ディスク装置、ネットワーク5に接続するための通信インターフェース等が設けられている。
印刷受注装置1は、通信手段6、Webサーバ手段7、データベース8、プロトタイプ作成手段9、工程検索手段10、ディスカウント情報作成手段11、ワークフロー構築手段12、見積り計算手段13、受注手段14、生産指示手段15、進捗確認手段16、分析手段17を具備して構成される。
なお、印刷受注装置1はハードウェア的には一般的なWebサーバで実現でき、各構成要素が有する処理機能は、Webサーバ上で本発明に係る印刷受注装置プログラムを実行することによって発揮される。また、各処理機能をIC等を用いてハードウェアによる構築で構成することも可能であり、更に、アプリケーションサーバ1台につき1つの処理機能を常駐させて構成することも可能である。
通信手段6は、ネットワーク5に接続するための通信インターフェースであり、顧客端末3および印刷会社端末4との通信のやり取りは通信手段を介して行う。
Webサーバ手段7は、HTTP等のプロトコルで印刷受注装置1に対してアクセスしてくる顧客端末3、印刷会社端末4等に対して送信するHTML等のWebページを蓄積しておき、顧客端末3または印刷会社端末4のWebブラウザの要求に応じて、これらのWebページを送信する処理を行う。なお、顧客端末3に対しては、顧客からの見積り依頼の受付、顧客への見積りの提示、顧客からの印刷物の注文の受付等を行うWebサイト(以後、このWebサイトのことを受注サイトと称する)を送信する。
データベース8は、印刷会社端末4から登録される工程の性能、課金、入出力、スケジュール等の情報を示す工程定義を登録する。
プロトタイプ作成手段9は、顧客の条件に適合する工程の種類および工程の処理順序からなる仮想的なワークフロー(以後、プロトタイプと称する)を作成する処理を行う。
工程検索手段10は、データベース8に登録されている工程定義に基づき、プロトタイプ作成手段9で作成したプロトタイプに適合する工程(即ち、プロトタイプに含まれる工程に適合する実際の工程)を検索する処理を行う。更に、顧客の条件を少しずつ変更した条件(以後、類似条件と称する)を設定し、類似条件に適合するディスカウント情報を作成するための工程も検索する。
ディスカウント情報作成手段11は、工程検索手段10で検索した類似条件に適合する工程からディスカウント情報を作成する処理を行う。
ワークフロー構築手段12は、工程検索手段10で検索した工程、およびディスカウント情報作成手段11で作成したディスカウント情報からワークフローを構築する処理を行う。
見積り計算手段13は、ワークフロー構築手段12で構築したワークフローの工程の情報およびディスカウント情報から見積りを自動計算する処理を行う。なお、各工程が地理的に分散している場合は仕掛品の保管、配送費用等の計算も行う。
受注手段14は、顧客からの注文を受け付ける処理を行う。
生産指示手段15は、受注手段14で顧客からの注文を受け付けると、各工程を担当する印刷会社に対して生産を指示する処理を行う。
進捗確認手段16は、印刷会社の生産の進捗を確認する処理を行う。
分析手段17は、実際に生産で使用したワークフローを分析する処理を行う。なお、分析手段16による分析の結果はワークフロー構築手段にフィードバックされ、ワークフロー構築手段17は分析の結果を今後のワークフロー構築に役立てる。
次に、印刷受注装置1が顧客に対して提供する受注サイトについて図2を参照して説明する。
顧客からアクセスされると、印刷受注装置1は受注サイトの入り口であるトップページを顧客に対して送信する。顧客は、図2に示すように、このトップページ内に配置された静的サービス(例えば、顧客の認証、見積りの依頼・選択・変更、発注、進捗確認等)を通じて印刷受注装置に動的サービス(例えば、ワークフロー構築、分析、生産指示/工程管理)を要求する。
例えば、顧客が見積りの依頼を要求した際には、プロトタイプ作成手段9、工程検索手段10、ディスカウント情報作成手段11、ワークフロー構築手段12および見積り計算手段13が起動して、各印刷会社(印刷会社A、印刷会社B、印刷会社C、…)によって登録された工程定義からワークフローの構築を行い、構築されたワークフローに基づく見積りが受注サイトに掲載され、顧客が受注サイトに掲載された見積りの選択を行うことができる。
また、顧客が掲載された見積りに納得がいかないときには、見積りの変更を要求することができ、顧客が見積もりの変更を要求した際には、プロトタイプ作成手段9、工程検索手段10、ディスカウント情報作成手段11、ワークフロー構築手段12および見積り計算手段13が起動して、ワークフローの再構築を行い、再構築されたワークフローに基づく見積りが受注サイトに掲載される。
そして、顧客が掲載された見積りに納得し、印刷物の発注を行った際には、受注手段14が起動して、顧客からの印刷物の発注を受け付け、生産指示手段15が起動して、ワークフロー内の工程を担当する各印刷会社に対して生産指示を行い、印刷会社の工程管理を行う。ここで、印刷会社が印刷物の生産を行っている間に、顧客は工程の進捗情報の確認を要求することができ、顧客が進捗情報の確認を要求した際には、工程の進捗情報が受注サイトに掲載され、顧客が進捗情報を確認することができる。
そして、生産された印刷物が顧客に納品されると、顧客は印刷物の出来等を受注サイトを介して評価することで、分析手段が起動して、これらの評価を実際に行ったワークフローとともにデータベース化し、これらのデータベース化された情報を以後のワークフロー構築の際にフィードバックしてワークフローの効率化を促進させることになる。
次に、印刷受注装置1で行われる印刷物の受注手順について図3を参照して説明する。
顧客は受注サイトに対して見積りを依頼する。見積りの依頼を受け付けた受注サイトは、印刷会社Aによって登録された工程定義、印刷会社Bによって登録された工程定義および印刷会社Cによって登録された工程定義からワークフローの構築を行い、構築されたワークフローに基づく見積りを顧客に提示する。顧客は見積りの選択または変更(変更する場合は受注サイトでワークフローの再構築が行われる)を行い、受注サイトに対して印刷物を発注する。印刷物の発注を受け付けた受注サイトは、ワークフロー内の工程を担当する各印刷会社に対して生産指示を行い、印刷会社の工程管理を行う。
図3では、印刷会社Aが1番目の工程を担当するので、印刷会社Aが1番目の工程の作業を行っている間は1番目の工程の管理を行い、1番目の工程が終了すると、印刷会社Bが2番目の工程を担当するので、印刷会社Bが2番目の工程の作業を行っている間は2番目の工程の管理を行い、2番目の工程が終了すると、印刷会社Cが3番目の工程を担当するので、印刷会社Cが3番目の工程の作業を行っている間は3番目の工程の管理を行う。
印刷会社が工程の作業を行っている間に、顧客は受注サイトに対して工程の進捗情報の確認を要求すると、工程の進捗情報の確認の要求を受け付けた受注サイトは、今まで行ってきた工程の管理を顧客に提示する。
印刷会社が全ての工程の作業を終了すると、印刷物は顧客に納品される。顧客は印刷物の出来等を受注サイトを介して評価し、これらの評価は実際に行ったワークフローとともにデータベース化される。
次に、顧客が印刷物の見積りを依頼してから印刷物の発注までの受注サイト上の処理の流れについて図4を参照して説明する。
顧客は受注サイトに対して見積りを依頼する際に、印刷物に関する条件(以後、見積り条件と称する)を指定する。具体的には、見積り条件として依頼内容(印刷物の種類、入稿するデータ等)、印刷条件(品質・仕上がり具合等)、費用条件(費用)および納期条件(納期)を入力する。なお、入力した各見積り条件に優先順位(重み付け)を指定することもできる。
受注サイトは見積りの依頼とともに見積り条件を受け付けると、プロトタイプ作成手段9が起動し、受け付けた見積り条件と、印刷会社によって登録された工程定義とに基づいてプロトタイプを作成する。
プロトタイプ作成手段9がプロトタイプを作成すると、工程検索手段10が起動し、作成されたプロトタイプに従って、工程定義からワークフローを構築するための実際の工程を検索するとともに、見積り条件を少しずつ変更した類似条件を設定し、類似条件に適合するディスカウント情報を作成するための工程も検索する。
工程検索手段10が類似条件に適合する工程を検索すると、ディスカウント情報作成手段11が起動し、検索された工程からディスカウント情報を作成する。
工程検索手段10がプロトタイプに従って工程を検索するとともに、ディスカウント情報作成手段11がディスカウント情報を作成すると、ワークフロー構築手段12が起動し、検索された工程および作成されたディスカウント情報からワークフローを構築する。
ワークフロー構築手段12がワークフローを構築すると、見積り計算手段13が起動し、構築されたワークフローの工程の情報から見積りを自動計算する。
見積り計算手段13が見積りを計算すると、受注サイトは見積りおよびディスカウント情報を顧客に対して提示する。
顧客は、提示された見積りおよび見積りに含まれるディスカウント情報を吟味し、見積りの選択を行う。なお、顧客は見積りを吟味した結果、納得がいかない場合は、見積り条件を変更する等して見積りの変更を依頼することもできる。
顧客は見積りを吟味した結果、納得がいった場合は、受注サイトに対して印刷物の発注を行い、この時、受注サイトでは受注手段14が起動し、顧客からの印刷物の発注を受け付ける。
受注手段14が印刷物の発注を受け付けると、生産指示手段15が起動し、ワークフローに基づいてジョブを生成し、各工程を担当する印刷会社に対して生産の指示を行い、各印刷会社は指示に従って印刷物の生産を開始する。
次に、印刷会社によって登録される工程定義について図5を参照して説明する。
印刷会社は所有する印刷装置から印刷物を制作する際の基本単位の印刷工程(以後、単に工程と称する)を工程定義としてデータベース8に登録する。具体的には、工程に関する情報として工程タイプ、識別情報(ID・名称・所属(企業、部門)等)、工程情報(装置・作業者・作業手順・資源等)、ワークフロー情報(入力・出力・連携情報等)、性能情報(作業時間・費用等)、スケジュールおよび地理情報を登録する。
ここで、印刷会社は正規の工程(即ち、正規料金で行う工程)を登録する他に、特定の条件に限定したディスカウント対象の工程(即ち、割引料金で行う工程)も登録することができる。例えば、稼動予定がない装置の稼動率を上げるために当該装置を使用する工程の費用をディスカウント料金に設定した工程定義、ある消耗品の在庫が過剰に余っているため当該消耗品を使用する工程の費用をディスカウント料金に設定した工程定義、量産効果によるコスト減を実現するために他の顧客から受注したスケジューリング済みのジョブとまとめて実行する工程の費用をディスカウント料金に設定した工程定義を登録することができる。
なお、データベース8からの工程定義の削除は自由なので、ディスカウント対象の工程を受注した際に、当該工程をもう受注する必要がなければ、当該工程の工程定義をデータベース8から削除すれば良い。
図5(a)に示すように、前工程の中間生成品の状態、必要な新規の原材料をワークフロー情報の「入力」として登録し、また、当該工程によって生成された中間生成品の状態をワークフロー情報の「出力」として登録する。
なお、工程情報の「装置」・「作業者」・「作業手順」が変わることで、作業時間・費用が変わるため、別の工程として登録する必要がある。
なお、スケジュールは別のデータベーステーブルとして外部参照しても良い。
また、図5(b)に示すように、複数の工程を連結して1つの工程として登録することもできる。
従って、上述した各情報に基づいて顧客の条件に適合する工程を検索し、最終的には顧客の条件に適合するワークフローを構築することができる。
次に、印刷物の見積りを行う際の印刷受注装置の各処理機能が行う動作について図6を参照して説明する。
顧客から見積りが依頼されると、プロトタイプ作成手段9は見積りの依頼とともに見積り条件を受け付け、受け付けた見積り条件に適合するプロトタイプを作成する。
工程検索手段10はプロトタイプ作成手段9で作成したプロトタイプに適合する工程の検索条件を設定し、データベース8に登録されている工程定義に基づき、設定した検索条件に適合する工程およびスケジュールを検索し、更に、見積り条件における印刷条件を少しずつ変更した類似条件を設定し、データベース8に登録されている工程定義に基づき、設定した類似条件に適合する工程を検索するとともに、見積り条件における印刷条件は適合するものの納期条件が異なるスケジュールを検索する。
ディスカウント情報作成手段11は工程検索手段10で検索した類似条件に適合する工程に基づいてディスカウント情報を作成する。更に、ディスカウント情報作成手段11は工程検索手段10で検索した納期条件が異なるスケジュールに基づいてディスカウント情報を作成する。
ワークフロー構築手段12は見積り条件に適合する順で工程検索手段10で検索した工程を組み合わせてワークフローを構築するとともに、ディスカウント情報を組み合わせたワークフローも構築する。
見積り計算手段13はワークフロー構築手段12で構築したワークフローから見積り(費用・納期)を計算する。
ワークフロー構築手段12は見積り計算手段13で計算した見積りが見積り条件における費用条件・納期条件に適合するか判定し、適合すると判定したワークフローの見積りを顧客に対して出力する。
また、ワークフロー構築手段12は見積り計算手段13で計算したディスカウント情報を組み合わせたワークフローの費用と、見積り条件に適合する工程を組み合わせたワークフローの費用と比較し、ディスカウント情報を組み合わせたワークフローの費用の方が安価であることを確認した場合、ディスカウント情報を組み合わせたワークフローの見積りを顧客に対して出力する。
次に、見積り条件における印刷条件を少しずつ変更した類似条件の設定について図7を参照して説明する。
図7に示すように、顧客は以下のような見積り条件における印刷条件で見積り依頼を受注サイトに対して依頼する。
《見積り条件(印刷条件)》
・用紙:(表紙:A用紙、本文:B用紙)
・色:フルカラー
・綴じ:無線綴じ
プロトタイプ作成手段9は上記の印刷条件に適合するプロトタイプを作成する。
工程検索手段10は上記の印刷条件を少しずつ変更した類似条件を設定する。具体的には、印刷条件の条件を1つ変更した類似条件、および印刷条件の条件を2つ変更した類似条件を設定する。例えば、図7に示すように、条件を1つ変更した類似条件として、表紙に用いる用紙の条件を未設定とする類似条件、色の条件を未設定とする類似条件を設定し、条件を2つ変更した類似条件として、表紙に用いる用紙の条件と本文に用いる用紙の条件とを未設定とする類似条件、本文に用いる用紙の条件と色の条件とを未設定とする類似条件を設定する。
工程検索手段10は、プロトタイプに適合する工程の検索条件、および類似条件を設定し、データベースから、検索条件に適合する工程、および類似条件に適合する工程を検索する。
ディスカウント情報作成手段11は工程検索手段10で検索した類似条件に適合する工程に基づいてディスカウント情報を作成する。
そして、ディスカウント情報を組み合わせたワークフローの費用と、プロトタイプに適合する工程を組み合わせたワークフローの費用とを比較し、ディスカウント情報を組み合わせたワークフローの費用がプロトタイプに適合する工程を組み合わせたワークフローの費用よりも安価であることを確認した場合、ディスカウント情報を組み合わせたワークフローの費用を顧客に対して提示する。
従って、印刷会社は消耗品の在庫状況、装置の稼動状況等に関する動的な特定の条件に限定したディスカウント情報(例えば、現状では稼動予定がない装置を使用した工程を発注することで費用を割引する、ある消耗品を使用する工程を発注することで費用を割引にする等)を工程定義として登録することで、印刷受注装置はディスカウント情報に類似する工程を発注する予定の顧客に対して当該ディスカウント情報を提示することが可能になる。
次に、見積り条件における納期条件を変更した類似条件の設定について図8を参照して説明する。
図8に示すように、顧客は以下のような見積り条件における納期条件で見積り依頼を受注サイトに対して依頼する。
《見積り条件(納期条件)》
・納期:○月○日
・工数:○日
プロトタイプ作成手段9は上記の納期条件に適合するプロトタイプを作成する。
工程検索手段10は上記の納期条件を変更した類似条件を設定し、プロトタイプに適合する工程の検索条件、および類似条件を設定し、データベース8から、検索条件に適合するスケジュール、および類似条件に適合するスケジュールを検索する。
ディスカウント情報作成手段11は工程検索手段10で検索した類似条件に適合するスケジュールに基づいてディスカウント情報を作成する。
工程の費用が検索条件に適合するスケジュールによる工程の費用と比較し、類似条件に適合するスケジュールによる工程の費用が検索条件に適合するスケジュールによる工程の費用よりも安価であることを確認した場合、類似条件に適合するスケジュールに基づいてディスカウント情報を作成する。
そして、ディスカウント情報を組み合わせたワークフローの費用と、プロトタイプに適合する工程を組み合わせたワークフローの費用とを比較し、ディスカウント情報を組み合わせたワークフローの費用がプロトタイプに適合する工程を組み合わせたワークフローの費用よりも安価であることを確認した場合、ディスカウント情報を組み合わせたワークフローの費用を顧客に対して提示する。
従って、印刷会社は装置のジョブ処理状況、装置空き状況等に関する動的な特定の条件に限定したディスカウント情報(例えば、他の顧客から受注したジョブとまとめて工程を実行する量産効果によって費用を割引する、装置の空きスケジュールに合わせて工程を実行することで費用を割引する等)を工程定義として登録することで、印刷受注装置1はディスカウント情報に類似する工程を発注する予定の顧客に対して当該ディスカウント情報を提示することが可能になる。
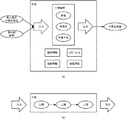
次に、ワークフローの構築について図9を参照して説明する。
見積り条件13を受け付けたプロトタイプ作成手段9はデータベース8に登録されている工程定義の工程タイプを参照して見積り条件に適合するプロトタイプを作成する。図9では、仮想的な工程1・仮想的な工程2・仮想的な工程3を連結したプロトタイプを作成している。
工程検索手段10はデータベース8に登録されている工程定義の工程情報・性能情報・スケジュールを参照してプロトタイプ作成手段9で作成したプロトタイプに適合する工程を検索するとともに、見積り条件を少しずつ変更した類似条件に適合する工程を検索する。図9では、プロトタイプを構成する仮想的な工程1のタイプに適合する工程をデータベース8から検索し、更に、仮想的な工程2のタイプに適合する工程をデータベース8から検索し、更に、仮想的な工程3に適合する工程をデータベース8から検索し、類似条件に適合する工程をデータベース8から検索する。
ディスカウント情報作成手段11は工程検索手段10で検索した類似条件に適合する工程の検索結果からディスカウント情報を作成する。図9では、プロトタイプを構成する仮想的な工程1のタイプに対するディスカウント情報を作成し、更に、仮想的な工程2のタイプに対するディスカウント情報を作成し、更に、仮想的な工程3のタイプに対するディスカウント情報を作成する。
ワークフロー構築手段12は工程検索手段10でプロトタイプに適合する工程の検索結果、および各工程に対するディスカウント情報を組み合わせてワークフローを構築する。図9では、工程の検索結果から見積り条件に適合する実際の工程1(ディスカウント情報を含む)・実際の工程2(ディスカウント情報を含む)・実際の工程3(ディスカウント情報を含む)を連結したワークフローを構築している。
見積り計算手段13はワークフロー構築手段12で構築したワークフローの工程の情報から見積りを計算する。
次に、見積りの計算について図10を参照して説明する。
図10に示すような工程1・工程2・工程3から構築されるワークフローの見積りを一例として説明する。
このワークフローは、印刷会社Aで工程1と工程2とが実施され、工程2の終了後に印刷会社Bへの配送が実施され、印刷会社Bで工程3が実施されるものである。また、このワークフローでは、工程1から工程2の間には仕掛品1−2(生産工程の途中にあって未完製の製品)が発生し、工程2から工程3の間には仕掛品2−3が発生する。
見積り計算手段13は工程の性能情報および工程のスケジュール(空き時間等)を考慮して各工程の作業時間・作業費用(人件費、装置稼動費、材料費、消耗品費等を含む)を算出する。図10では、工程1の作業時間・作業費用、工程2の作業時間・作業費用、および工程3の作業時間・作業費用を算出している。
更に、見積り計算手段13は各工程の地理情報を考慮し、工程間が地理的に離れている場合は仕掛品の保管時間と保管費用・配送時間と配送費用を算出する。図10では、仕掛品1−2の保管時間と保管費用・配送時間と配送費用、および仕掛品2−3の保管時間と保管費用・配送時間と配送費用を算出している。
そして、見積り計算手段13は、工程1、工程2および工程3の作業時間と、仕掛品1−2および仕掛品2−3の保管時間・配送時間とを合計して印刷物の納期を計算するとともに、工程1、工程2および工程3の作業費用と、仕掛品1−2および仕掛品2−3の保管費用・配送費用とを合計して印刷物の費用を計算し、計算した納期・費用を見積りとして顧客に提示する。
次に、顧客が行う見積もりの選択について図11を参照して説明する。
受注サイトは見積りが計算されると、顧客端末3に図11に示すようなWebページ(以後、見積りページと称する)18を送信し、顧客端末3は受注サイトから送信された見積りページ18をディスプレイに表示する。見積りページ18には、ワークフローを構築する工程のタイプ、各工程のタイプに適合する実際の工程(即ち、工程検索手段で検索した工程)、各工程に対するディスカウント情報、実際の工程の作業時間、実際の工程の費用が表示され、更に、各工程の作業時間を合計した合計作業時間、印刷物の納期、各工程の費用を合計した合計費用が表示される。
顧客は見積りページ18に表示されているワークフローの工程内容・納期・費用を確認し、このワークフローが依頼した見積り条件と適合するか否か確認する。ここで、顧客がこの見積りで納得した場合は、見積りページ18に表示されている「発注」のボタンを操作等すると、このワークフローによる印刷物の作成が受注サイトに対して発注される。
また、顧客がこの見積りに納得しない場合、他の工程に変更することができる。例えば、図11に示す見積りページ18の「テンプレート入稿」のタイプにおいて、「工程1A」から「工程1B」に変更すると、「工程1A」の作業時間・費用の表示から「工程1B」の作業時間・費用の表示に変わり、「工程1B」→「工程2A」→「工程3A」のワークフローにおける合計作業時間、納期、合計費用の表示に変わる。
また、ディスカウント情報が存在する実際の工程は太字で表示され、例えば、図11に示す見積りページでは、「テンプレート入稿」のタイプにおける「工程1B」が太字で表示されているので「工程1B」に対するディスカウント情報が存在することを示し、顧客が現在選択(チェックボックスにチェックが入力)されている「工程1A」から「工程1B」に変更すると、「テンプレート入稿」の欄に「工程1B」に対するディスカウント情報が表示されることになり、「テンプレート印刷」のタイプにおける「工程2A」および「工程2B」が太字で表示されているので「工程2A」に対するディスカウント情報および「工程2B」に対するディスカウント情報が存在することを示し、「工程2A」が選択されている現在では「工程2A」に対するディスカウント情報が「テンプレート印刷」の欄に表示されていて、顧客が「工程2A」から「工程2B」に変更すると、「テンプレート印刷」の欄に「工程2B」に対するディスカウント情報が表示されることになり、「テンプレート配送」のタイプにおける「工程3C」が太字で表示されているので「工程3C」に対するディスカウント情報が存在することを示し、顧客が現在選択されている「工程3A」から「工程3C」に変更すると、「テンプレート配送」の欄に「工程3C」に対するディスカウント情報が表示されることになる。
ディスカウント情報には主にディスカウント条件が表示されている。例えば、図11に示す見積りページ18に表示されている「テンプレート印刷」のタイプにおける「工程2A」に対するディスカウント条件として、「用紙○○」から「用紙□□」への変更、「カラー」から「2色」への変更が表示されている。即ち、顧客の見積り条件では「工程2A」において「用紙○○」の使用が指定されているが、多少用紙の品質は変わるものの「用紙□□」の使用に変更することで、「工程2A」の正規料金をディスカウントすることを示し、また、顧客の見積もり条件では「工程2A」においてカラー印刷が指定されているが、2色印刷に変更することで、「工程2A」の正規料金をディスカウントすることを示している。
顧客はディスカウント情報として表示されたディスカウント条件を選択(チェックボックスにチェックを入力)すると、費用の表示がそのディスカウント情報に対応する工程の正規料金を割引したディスカウント料金に変わり、それによりワークフローにおける合計費用の表示も変わる。例えば、図11に示す見積りページの「テンプレート印刷」のタイプにおける「工程2A」に対するディスカウント条件である「用紙○○→□□」を選択すると、「テンプレート印刷」の費用の欄に「工程2A」の正規料金を割引したディスカウント料金が表示され、それにより「工程1B」→「工程2A(ディスカウント条件)」→「工程3A」のワークフローにおける合計費用の表示に変わる。また、「カラー→2色」を選択すると、同様にディスカウント料金が表示され、合計費用の表示も変わる。なお、「用紙○○→□□」と「カラー→2色」とを同時に選択することも可能であり(両方のチェックボックスにチェックを入力)、2つの条件を適用したことによるディスカウント料金が表示され、合計費用の表示も変わる。
顧客は見積りページ18に表示されているディスカウント条件を適用した場合のワークフローの工程内容・納期・費用(ディスカウント料金)を確認し、この見積りで納得した場合は、見積もりページ18に表示されている「発注」のボタンを操作等すると、ディスカウント条件を適用した場合のワークフローによる印刷物の作成が受注サイトに対して発注される。
このように、工程のタイプ毎に実際の工程を選択することができ、更に、各工程に対するディスカウント条件が提示されることで、ディスカウント条件の適用を選択することができるので、結果的に、顧客は、工程単位で所望の工程を設定し、更に、工程単位で所望のディスカウント条件の適用を設定することができるようになる。
次に、印刷物の発注から納品までの処理の流れについて図12を参照して説明する。
顧客が受注サイトに対して印刷物の発注(ワークフローは印刷会社A→印刷会社B→印刷会社C)を行うと、受注サイトは顧客からの発注を受け付け、印刷会社A、印刷会社Bおよび印刷会社Cに対して印刷物の生産を指示し、印刷会社Aは受注サイトからの指示に従って工程を開始する。印刷会社Aは工程の作業の進捗状況を受注サイトに対して報告し、工程が終了すると、工程の終了を受注サイトに対して報告し、中間生成品を印刷会社Bに搬送する。
中間生成品が印刷会社Bに搬送されると、印刷会社Bは受注サイトからの指示に従って工程を開始する。印刷会社Bは工程の作業の進捗状況を受注サイトに対して報告し、工程が終了すると、工程の終了を受注サイトに対して報告し、中間生成品を印刷会社Cに搬送する。
中間生成品が印刷会社Cに搬送されると、印刷会社Cは受注サイトからの指示に従って工程を開始する。印刷会社Cは工程の作業の進捗状況を受注サイトに対して報告し、工程が終了すると、印刷物の納品を行う。
また、顧客は印刷物の生産の進捗状況を確認し、不具合等が発生した場合には受注サイトに対して再見積りの依頼および再発注を行うことができる。
即ち、工程を行っている印刷会社が随時進捗状況を報告することで、顧客は受注サイトにて印刷物の生産の進捗状況をリアルタイムで確認することができる。
次に、ワークフローの分析について図13を参照して説明する。
実際に行ったワークフローの生産結果とともに、当該ワークフローに対する顧客の評価等をデータベース化し、分析手段はこれらの情報と工程定義とに基づき、見積り精度、工程のスケジューリングの効率化等を分析する。そして、ワークフロー構築手段は分析手段の分析結果を参照してワークフローの構築を行う。
次に、見積り依頼から印刷物の納品までの処理の具体例を図14乃至図18を参照して説明する。
図14に示すように、A社の「入稿」の工程定義と「製版」の工程定義、B社の「入稿」の工程定義と「製版」の工程定義、C社の「カラー印刷」の工程定義、D社の「モノクロ印刷」の工程定義、E社の「カラー印刷」の工程定義と「モノクロ印刷」の工程定義、F社の「製本」の工程定義と「納品」の工程定義、G社の「製本」の工程定義と「納品」の工程定義がデータベースに登録されている。
顧客は以下のような見積り条件で見積り依頼を受注サイトに対して依頼する。
《見積り条件》
・印刷物の種類:パンフレット(表紙:カラー印刷、本文:モノクロ印刷)
・費用:100万円
・納期:3月31日
受注サイトは見積り依頼を受け付けると、上記の見積り条件に適合するプロトタイプを作成する。
《プロトタイプ》
・1番目の工程:入稿
・2番目の工程:製版
・3番目の工程:表紙の印刷と本文の印刷(並行作業)
・4番目の工程:製本
・5番目の工程:納品
受注サイトは上記のプロトタイプの工程に適合する実際の工程をデータベース8から検索する。
《検索された実際の工程》
・入稿:A社の「入稿」、B社の「入稿」
・製版:A社の「製版」、B社の「製版」
・表紙の印刷:C社の「カラー印刷」
・本文の印刷:D社の「モノクロ印刷」
・製本:F社の「製本」、G社の「製本」
・納品:F社の「納品」、G社の「納品」
また、受注サイトは上記の見積り条件を少しずつ変更した類似条件に適合する工程をデータベース8から検索する。
《検索された類似条件に適合する工程》
・表紙の印刷:E社の「カラー印刷」
・本文の印刷:E社の「モノクロ印刷」
受注サイトは類似条件に適合する工程に基づいてディスカウント情報を作成する。図15に示すように、類似条件に適合する工程として検索されたE社の「カラー印刷」に基づいてE社の「カラー印刷」に対するディスカウント情報を作成し、類似条件に適合する工程として検索されたE社の「モノクロ印刷」に基づいてE社の「モノクロ印刷」に対するディスカウント情報を作成する。
受注サイトは、検索された実際の工程、および作成されたディスカウント情報を組み合わせて見積り条件に適合するワークフローを構築する。図16に示すように、見積り条件に適合しないと判断したB社の「製版」とG社の「納品」とはワークフローには構築されていない。
受注サイトは構築されたワークフローから全ての工程の組み合わせの納期・費用の見積りを計算する。
《見積りするワークフロー》
1.A社の「入稿」→A社の「製版」→C社の「表紙の印刷(カラー)」→D社の「本文の印刷(モノクロ)」→F社の「製本」→F社の「納品」
2.A社の「入稿」→A社の「製版」→C社の「表紙の印刷(カラー)」→D社の「本文の印刷(モノクロ)」→G社の「製本」→F社の「納品」
3.A社の「入稿」→A社の「製版」→C社の「表紙の印刷(カラー)」→E社の「本文の印刷(モノクロ)<ディスカウント>」→F社の「製本」→F社の「納品」
4.A社の「入稿」→A社の「製版」→C社の「表紙の印刷(カラー)」→E社の「本文の印刷(モノクロ)<ディスカウント>」→G社の「製本」→F社の「納品」
5.A社の「入稿」→A社の「製版」→E社の「表紙の印刷(カラー)<ディスカウント>」→D社の「本文の印刷(モノクロ)」→F社の「製本」→F社の「納品」
6.A社の「入稿」→A社の「製版」→E社の「表紙の印刷(カラー)<ディスカウント>」→D社の「本文の印刷(モノクロ)」→G社の「製本」→F社の「納品」
7.A社の「入稿」→A社の「製版」→E社の「表紙の印刷(カラー)<ディスカウント>」→E社の「本文の印刷(モノクロ)<ディスカウント>」→F社の「製本」→F社の「納品」
8.A社の「入稿」→A社の「製版」→E社の「表紙の印刷(カラー)<ディスカウント>」→E社の「本文の印刷(モノクロ)<ディスカウント>」→G社の「製本」→F社の「納品」
9.B社の「入稿」→A社の「製版」→C社の「表紙の印刷(カラー)」→D社の「本文の印刷(モノクロ)」→F社の「製本」→F社の「納品」
10.B社の「入稿」→A社の「製版」→C社の「表紙の印刷(カラー)」→D社の「本文の印刷(モノクロ)」→G社の「製本」→F社の「納品」
11.B社の「入稿」→A社の「製版」→C社の「表紙の印刷(カラー)」→E社の「本文の印刷(モノクロ)<ディスカウント>」→F社の「製本」→F社の「納品」
12.B社の「入稿」→A社の「製版」→C社の「表紙の印刷(カラー)」→E社の「本文の印刷(モノクロ)<ディスカウント>」→G社の「製本」→F社の「納品」
13.B社の「入稿」→A社の「製版」→E社の「表紙の印刷(カラー)<ディスカウント>」→D社の「本文の印刷(モノクロ)」→F社の「製本」→F社の「納品」
14.B社の「入稿」→A社の「製版」→E社の「表紙の印刷(カラー)<ディスカウント>」→D社の「本文の印刷(モノクロ)」→G社の「製本」→F社の「納品」
15.B社の「入稿」→A社の「製版」→E社の「表紙の印刷(カラー)<ディスカウント>」→E社の「本文の印刷(モノクロ)<ディスカウント>」→F社の「製本」→F社の「納品」
16.B社の「入稿」→A社の「製版」→E社の「表紙の印刷(カラー)<ディスカウント>」→E社の「本文の印刷(モノクロ)<ディスカウント>」→G社の「製本」→F社の「納品」
受注サイトは計算した見積りを顧客に提示する。
顧客は受注サイトから提示された見積りおよびディスカウント情報を吟味しながら、見積もりの選択を行う。即ち、顧客は上記ワークフローの1〜16から発注するワークフローを選択することになる。図17では、ワークフロー3(A社の「入稿」→A社の「製版」→C社の「表紙の印刷(カラー)」→E社の「本文の印刷(モノクロ)<ディスカウント>」→F社の「製本」→F社の「納品」)が選択されている。
顧客は決定したワークフローによる印刷物の生産を発注する。
受注サイトは顧客からの発注を受け付けると、発注されたワークフローに基づいてジョブを生成する。
受注サイトはジョブを生成すると、各工程を担当する印刷会社に対して工程の指示を行う。図18では、A社に対して「入稿」と「製版」の工程の指示を行い、C社に対して「表紙の印刷(カラー)」の工程の指示を行い、E社に対して「本文の印刷(モノクロ)」の工程の指示を行い、F社に対して「製本」と「納品」の工程の指示を行う。そして、F社から顧客に対して生産された印刷物が納品される。
本発明は、上記し、且つ図面に示した実施例に限定することなく、その要旨を変更しない範囲内で適宜変形して実施できるものである。
本発明に係る印刷受注装置を利用した印刷業における印刷受注システムの一例を示すシステム構成図である。 印刷受注装置が顧客に対して提供する受注サイトについて説明する図である。 印刷受注装置で行われる印刷物の受注手順について説明する図である。 顧客が印刷物の見積りを依頼してから印刷物の発注までの受注サイト上の処理の流れについて説明する図である。 印刷会社によって登録される工程定義について説明する図である。 印刷物の見積りを行う際の印刷受注装置の各処理機能が行う動作について説明する図である。 見積り条件における印刷条件を少しずつ変更した類似条件の設定について説明する図である。 見積り条件における納期条件を変更した類似条件の設定について説明する図である。 ワークフローの構築について説明する図である。 見積りの計算について説明する図である。 顧客が行う見積もりの選択について説明する図である。 印刷物の発注から納品までの処理の流れについて説明する図である。 ワークフローの分析について説明する図である。 見積り依頼から印刷物の納品までの処理の具体例を説明する図である。 見積り依頼から印刷物の納品までの処理の具体例を説明する図である。 見積り依頼から印刷物の納品までの処理の具体例を説明する図である。 見積り依頼から印刷物の納品までの処理の具体例を説明する図である。 見積り依頼から印刷物の納品までの処理の具体例を説明する図である。
符号の説明
1 印刷受注装置
2 印刷受注システム
3 顧客端末
4 印刷会社端末
5 ネットワーク
6 通信手段
7 Webサーバ手段
8 データベース
9 プロトタイプ作成手段
10 工程検索手段
11 ディスカウント情報作成手段
12 ワークフロー構築手段
13 見積り手段
14 受注手段
15 生産指示手段
16 進捗確認手段
17 分析手段
18 見積りページ

Claims (9)

  1. 利用者からの条件に基づいて複数の工程からなる印刷物を生産するためのワークフローを構築し、該利用者からの印刷物の生産の注文を受注する印刷受注装置において、
    前記工程に関する情報を示す工程定義を登録する登録手段と、
    前記利用者からの印刷物の生産の条件に基づき、該条件に適合する工程および処理順序からなる第1のワークフローを作成するワークフロー作成手段と、
    前記ワークフロー作成手段で作成した第1のワークフローに適合する第1の工程を前記登録手段に登録されている工程定義から検索する第1の工程検索手段と、
    前記第1のワークフローおよび前記第1の工程検索手段で検索した第1の工程に基づき、第2のワークフローを構築するワークフロー構築手段と、
    前記印刷物の生産の条件に類似した類似条件に適合する第2の工程を前記登録手段に登録されている工程定義から検索する第2の工程検索手段と
    を具備し、
    前記ワークフロー構築手段は、
    前記第2の工程検索手段で検索した第2の工程が割引対象の工程である場合、該第2の工程を含む第3のワークフローを構築する
    ことを特徴とする印刷受注装置。
  2. 前記ワークフロー構築手段で構築したワークフローの費用を計算する見積り計算手段と、
    前記第3のワークフローの費用が前記第2のワークフローの費用よりも安価である場合、該第3のワークフローの見積りを前記利用者に提示する見積り提示手段と
    を更に具備することを特徴とする請求項1記載の印刷受注装置。
  3. 前記見積り提示手段で提示した前記第3のワークフローおよび前記第2のワークフローから前記顧客が選択したワークフローによる印刷物の生産の注文を受注する受注手段と、
    前記受注手段で受注したワークフローを構築する各工程を担当する印刷会社に対して生産を指示する生産指示手段と
    を更に具備することを特徴とする請求項2記載の印刷受注装置。
  4. 利用者からの条件に基づいて複数の工程からなる印刷物を生産するためのワークフローを構築し、該利用者からの印刷物の生産の注文を受注する印刷受注方法において、
    登録手段が前記工程に関する情報を示す工程定義を登録し、
    ワークフロー作成手段が前記利用者からの印刷物の生産の条件に基づき、該条件に適合する工程および処理順序からなる第1のワークフローを作成し、
    第1の工程検索手段が前記作成した第1のワークフローに適合する第1の工程を前記登録されている工程定義から検索し、
    ワークフロー構築手段が前記第1のワークフローおよび前記検索した第1の工程に基づき、第2のワークフローを構築し、
    第2の工程検索手段が前記印刷物の生産の条件に類似した類似条件に適合する第2の工程を前記登録されている工程定義から検索し、
    前記検索した第2の工程が割引対象の工程である場合、前記ワークフロー構築手段が該第2の工程を含む第3のワークフローを構築する
    ことを特徴とする印刷受注方法。
  5. 見積り計算手段が前記構築したワークフローの費用を計算し、
    前記第3のワークフローの費用が前記第2のワークフローの費用よりも安価である場合、見積り提示手段が該第3のワークフローの見積りを前記利用者に提示する
    ことを特徴とする請求項4記載の印刷受注方法。
  6. 受注手段が前記提示した前記第3のワークフローおよび前記第2のワークフローから前記顧客が選択したワークフローによる印刷物の生産の注文を受注し、
    生産指示手段が前記受注したワークフローを構築する各工程を担当する印刷会社に対して生産を指示する
    ことを特徴とする請求項5記載の印刷受注方法。
  7. 利用者からの条件に基づいて複数の工程からなる印刷物を生産するためのワークフローを構築し、該利用者からの印刷物の生産の注文を受注する印刷受注プログラムにおいて、
    前記工程に関する情報を示す工程定義を登録する処理と、
    前記利用者からの印刷物の生産の条件に基づき、該条件に適合する工程および処理順序からなる第1のワークフローを作成する処理と、
    前記作成した第1のワークフローに適合する第1の工程を前記登録されている工程定義から検索する処理と、
    前記第1のワークフローおよび前記検索した第1の工程に基づき、第2のワークフローを構築する処理と、
    前記印刷物の生産の条件に類似した類似条件に適合する第2の工程を前記登録されている工程定義から検索する処理と、
    前記検索した第2の工程が割引対象の工程である場合、該第2の工程を含む第3のワークフローを構築する処理と
    をコンピュータに動作させることを特徴とする印刷受注プログラム。
  8. 前記構築したワークフローの費用を計算する処理と、
    前記第3のワークフローの費用が前記第2のワークフローの費用よりも安価である場合、該第3のワークフローの見積りを前記利用者に提示する処理と
    をコンピュータに動作させることを特徴とする請求項7記載の印刷受注プログラム。
  9. 前記提示した前記第3のワークフローおよび前記第2のワークフローから前記顧客が選択したワークフローによる印刷物の生産の注文を受注する処理と、
    前記受注したワークフローを構築する各工程を担当する印刷会社に対して生産を指示する処理と
    をコンピュータに動作させることを特徴とする請求項8記載の印刷受注プログラム。
JP2006181535A 2006-06-30 2006-06-30 印刷受注装置、印刷受注プログラム Expired - Fee Related JP4940787B2 (ja)

Priority Applications (1)

Application Number Priority Date Filing Date Title
JP2006181535A JP4940787B2 (ja) 2006-06-30 2006-06-30 印刷受注装置、印刷受注プログラム

Applications Claiming Priority (1)

Application Number Priority Date Filing Date Title
JP2006181535A JP4940787B2 (ja) 2006-06-30 2006-06-30 印刷受注装置、印刷受注プログラム

Publications (2)

Publication Number Publication Date
JP2008009863A true JP2008009863A (ja) 2008-01-17
JP4940787B2 JP4940787B2 (ja) 2012-05-30

Family

ID=39067988

Family Applications (1)

Application Number Title Priority Date Filing Date
JP2006181535A Expired - Fee Related JP4940787B2 (ja) 2006-06-30 2006-06-30 印刷受注装置、印刷受注プログラム

Country Status (1)

Country Link
JP (1) JP4940787B2 (ja)

Cited By (9)

* Cited by examiner, † Cited by third party
Publication number Priority date Publication date Assignee Title
JP2014109855A (ja) * 2012-11-30 2014-06-12 Canon Inc 印刷受発注システム及びその制御方法
WO2020130024A1 (en) 2018-12-20 2020-06-25 Canon Kabushiki Kaisha Information processing apparatus, controlling method for information processing apparatus, and program
WO2020138130A1 (en) 2018-12-27 2020-07-02 Canon Kabushiki Kaisha Information processing apparatus, controlling method for information processing apparatus, and program
KR102153938B1 (ko) * 2019-09-25 2020-09-11 유에프테크(주) 기계 시스템의 통합 거래 서비스 제공 서버 및 방법
KR20200113374A (ko) * 2019-03-25 2020-10-07 주식회사 분팟 인쇄물 제작 서비스 제공 시스템 및 방법
WO2020226083A1 (en) 2019-05-08 2020-11-12 Canon Kabushiki Kaisha Information processing apparatus, control method for information processing apparatus, and storage medium
US11397547B2 (en) 2020-03-05 2022-07-26 Canon Kabushiki Kaisha Job processing system, control method for job processing system, and storage medium for notifying of a quality of a resultant product
US11720297B2 (en) 2020-06-17 2023-08-08 Canon Kabushiki Kaisha Information processing apparatus, method of controlling information processing apparatus, and storage medium
JP2024010322A (ja) * 2022-07-12 2024-01-24 宝印刷株式会社 書面交付請求システム及び書面交付請求方法

Families Citing this family (1)

* Cited by examiner, † Cited by third party
Publication number Priority date Publication date Assignee Title
JP7735745B2 (ja) 2021-09-10 2025-09-09 富士フイルムビジネスイノベーション株式会社 ワークフロー処理装置及びプログラム

Citations (12)

* Cited by examiner, † Cited by third party
Publication number Priority date Publication date Assignee Title
JPH02310774A (ja) * 1989-05-26 1990-12-26 Hitachi Ltd 知的仕様編集方法
JPH11338928A (ja) * 1998-05-27 1999-12-10 Toppan Printing Co Ltd 作業進捗管理方法及びオンライン印刷システム
JP2002230372A (ja) * 2001-02-02 2002-08-16 Fujitsu General Ltd 印刷業の管理システム、プログラム及び記憶媒体
JP2002297973A (ja) * 2001-03-30 2002-10-11 Fujitsu General Ltd 印刷工程資源の稼働管理システム、プログラム及び記録媒体
JP2003016315A (ja) * 2001-06-29 2003-01-17 Lion Corp 容器包装製品開発システム
JP2003036162A (ja) * 2001-04-09 2003-02-07 Fuji Photo Film Co Ltd 印刷物生産支援装置、印刷物生産支援システム、印刷物生産支援プログラム、および印刷物生産支援方法
JP2003233665A (ja) * 2002-02-07 2003-08-22 Fujitsu General Ltd 印刷業における作業情報の通知管理システム、プログラム及び記録媒体
JP2003242209A (ja) * 2002-02-14 2003-08-29 Yubunsha:Kk 印刷業務管理システム、プログラムおよびその方法
JP2004046578A (ja) * 2002-07-12 2004-02-12 Fujitsu General Ltd カラーマネジメントシステム、カラーマネジメントプログラム及び記録媒体
JP2005276170A (ja) * 2004-02-23 2005-10-06 Ricoh Co Ltd プロセス管理装置、ユーザ端末装置、プロセス管理プログラム、ユーザ端末プログラム、記録媒体、プロセス管理方法及びプロセス実行方法
JP2005316904A (ja) * 2004-04-30 2005-11-10 Canon Inc 印刷制御装置及び印刷制御方法並びにプログラム
JP2006139358A (ja) * 2004-11-10 2006-06-01 Hitachi Ltd 業務支援装置

Patent Citations (12)

* Cited by examiner, † Cited by third party
Publication number Priority date Publication date Assignee Title
JPH02310774A (ja) * 1989-05-26 1990-12-26 Hitachi Ltd 知的仕様編集方法
JPH11338928A (ja) * 1998-05-27 1999-12-10 Toppan Printing Co Ltd 作業進捗管理方法及びオンライン印刷システム
JP2002230372A (ja) * 2001-02-02 2002-08-16 Fujitsu General Ltd 印刷業の管理システム、プログラム及び記憶媒体
JP2002297973A (ja) * 2001-03-30 2002-10-11 Fujitsu General Ltd 印刷工程資源の稼働管理システム、プログラム及び記録媒体
JP2003036162A (ja) * 2001-04-09 2003-02-07 Fuji Photo Film Co Ltd 印刷物生産支援装置、印刷物生産支援システム、印刷物生産支援プログラム、および印刷物生産支援方法
JP2003016315A (ja) * 2001-06-29 2003-01-17 Lion Corp 容器包装製品開発システム
JP2003233665A (ja) * 2002-02-07 2003-08-22 Fujitsu General Ltd 印刷業における作業情報の通知管理システム、プログラム及び記録媒体
JP2003242209A (ja) * 2002-02-14 2003-08-29 Yubunsha:Kk 印刷業務管理システム、プログラムおよびその方法
JP2004046578A (ja) * 2002-07-12 2004-02-12 Fujitsu General Ltd カラーマネジメントシステム、カラーマネジメントプログラム及び記録媒体
JP2005276170A (ja) * 2004-02-23 2005-10-06 Ricoh Co Ltd プロセス管理装置、ユーザ端末装置、プロセス管理プログラム、ユーザ端末プログラム、記録媒体、プロセス管理方法及びプロセス実行方法
JP2005316904A (ja) * 2004-04-30 2005-11-10 Canon Inc 印刷制御装置及び印刷制御方法並びにプログラム
JP2006139358A (ja) * 2004-11-10 2006-06-01 Hitachi Ltd 業務支援装置

Cited By (13)

* Cited by examiner, † Cited by third party
Publication number Priority date Publication date Assignee Title
JP2014109855A (ja) * 2012-11-30 2014-06-12 Canon Inc 印刷受発注システム及びその制御方法
US11809758B2 (en) 2018-12-20 2023-11-07 Canon Kabushiki Kaisha Information processing apparatus, controlling method for information processing apparatus, and computer program for transmiting quality request data and quality reports to produce print data that satisfy quality requirements of user
WO2020130024A1 (en) 2018-12-20 2020-06-25 Canon Kabushiki Kaisha Information processing apparatus, controlling method for information processing apparatus, and program
WO2020138130A1 (en) 2018-12-27 2020-07-02 Canon Kabushiki Kaisha Information processing apparatus, controlling method for information processing apparatus, and program
US11650768B2 (en) 2018-12-27 2023-05-16 Canon Kabushiki Kaisha Information processing apparatus, controlling method for information processing apparatus, and non-transitory computer-readable memory that stores a computer-executable program for the controlling method
KR20200113374A (ko) * 2019-03-25 2020-10-07 주식회사 분팟 인쇄물 제작 서비스 제공 시스템 및 방법
KR102234001B1 (ko) 2019-03-25 2021-03-31 주식회사 분팟 인쇄물 제작 서비스 제공 시스템 및 방법
WO2020226083A1 (en) 2019-05-08 2020-11-12 Canon Kabushiki Kaisha Information processing apparatus, control method for information processing apparatus, and storage medium
US11847358B2 (en) 2019-05-08 2023-12-19 Canon Kabushiki Kaisha Information processing apparatus, control method for information processing apparatus, and storage medium
KR102153938B1 (ko) * 2019-09-25 2020-09-11 유에프테크(주) 기계 시스템의 통합 거래 서비스 제공 서버 및 방법
US11397547B2 (en) 2020-03-05 2022-07-26 Canon Kabushiki Kaisha Job processing system, control method for job processing system, and storage medium for notifying of a quality of a resultant product
US11720297B2 (en) 2020-06-17 2023-08-08 Canon Kabushiki Kaisha Information processing apparatus, method of controlling information processing apparatus, and storage medium
JP2024010322A (ja) * 2022-07-12 2024-01-24 宝印刷株式会社 書面交付請求システム及び書面交付請求方法

Also Published As

Publication number Publication date
JP4940787B2 (ja) 2012-05-30

Similar Documents

Publication Publication Date Title
JP4990541B2 (ja) 印刷デバイスを管理するための方法および装置
KR102225729B1 (ko) 복수 온라인 쇼핑몰 상품 등록을 위한 상품정보 가공 장치 및 방법
CA2392968A1 (en) Sourcing system and method
WO2008057935A2 (en) Construction bidding system and method
JP7223452B2 (ja) 情報処理システム、情報処理方法、及びプログラム
JP2016048543A (ja) プロジェクト進捗状況管理システムおよびコンピュータプログラム
US20120218594A1 (en) Method and system for fulfilling a customer&#39;s print job needs by selecting and assigning the print job to one or more qualified printers from a group of participating printers
Karim et al. An on-time delivery improvement model for manufacturing organisations
JP4940787B2 (ja) 印刷受注装置、印刷受注プログラム
KR102572171B1 (ko) 산업재 및 소비재 통합 구매 서비스 제공 시스템
JP4720669B2 (ja) 印刷受注装置、方法およびプログラム
Dietrich et al. Serving the services industry: the emerging science of service management opens opportunities for operations research and management science.
JP5719414B2 (ja) アフターサービス管理システム、サーバー、方法、及び、プログラム
US20110270765A1 (en) Self Dispatching Method for Services
JP2008197726A (ja) 求人求職支援サーバ
JP6991179B2 (ja) 取引管理装置、取引管理方法及び取引管理プログラム
JP2004280610A (ja) 受発注支援システム、管理サーバおよび受発注支援プログラム
JP2005346220A (ja) ソリューション設計方法及びソリューション設計計算機システム並びに記録媒体
JP2001331619A (ja) 人材管理システム及び人材管理方法
Cholette et al. Increasing procurement efficiency through optimal e-commerce enablement scheduling
JP2001344487A (ja) インターネットを用いた電子購買方法および電子購買システム
JP2003022385A (ja) 増改築見積発行システム,情報処理装置,増改築見積発行方法及びプログラム並びに記録媒体
JP7577923B2 (ja) 情報処理装置、及び情報処理プログラム
JP3604624B2 (ja) 建設資材販売管理システム
JP2006277520A (ja) 統合業務システム

Legal Events

Date Code Title Description
A621 Written request for application examination

Free format text: JAPANESE INTERMEDIATE CODE: A621

Effective date: 20090210

A977 Report on retrieval

Free format text: JAPANESE INTERMEDIATE CODE: A971007

Effective date: 20110209

A131 Notification of reasons for refusal

Free format text: JAPANESE INTERMEDIATE CODE: A131

Effective date: 20110315

A521 Request for written amendment filed

Free format text: JAPANESE INTERMEDIATE CODE: A523

Effective date: 20110513

TRDD Decision of grant or rejection written
A01 Written decision to grant a patent or to grant a registration (utility model)

Free format text: JAPANESE INTERMEDIATE CODE: A01

Effective date: 20120131

A01 Written decision to grant a patent or to grant a registration (utility model)

Free format text: JAPANESE INTERMEDIATE CODE: A01

A61 First payment of annual fees (during grant procedure)

Free format text: JAPANESE INTERMEDIATE CODE: A61

Effective date: 20120213

R150 Certificate of patent or registration of utility model

Ref document number: 4940787

Country of ref document: JP

Free format text: JAPANESE INTERMEDIATE CODE: R150

Free format text: JAPANESE INTERMEDIATE CODE: R150

FPAY Renewal fee payment (event date is renewal date of database)

Free format text: PAYMENT UNTIL: 20150309

Year of fee payment: 3

S533 Written request for registration of change of name

Free format text: JAPANESE INTERMEDIATE CODE: R313533

R350 Written notification of registration of transfer

Free format text: JAPANESE INTERMEDIATE CODE: R350

LAPS Cancellation because of no payment of annual fees