JP2006294167A - フレキシブル光ディスク用姿勢制御兼光学補正板 - Google Patents
フレキシブル光ディスク用姿勢制御兼光学補正板 Download PDFInfo
- Publication number
- JP2006294167A JP2006294167A JP2005115812A JP2005115812A JP2006294167A JP 2006294167 A JP2006294167 A JP 2006294167A JP 2005115812 A JP2005115812 A JP 2005115812A JP 2005115812 A JP2005115812 A JP 2005115812A JP 2006294167 A JP2006294167 A JP 2006294167A
- Authority
- JP
- Japan
- Prior art keywords
- optical disk
- optical
- correction plate
- flexible
- flexible optical
- Prior art date
- Legal status (The legal status is an assumption and is not a legal conclusion. Google has not performed a legal analysis and makes no representation as to the accuracy of the status listed.)
- Withdrawn
Links
Images
Landscapes
- Optical Head (AREA)
Abstract
【課題】フレキシブル光ディスクを、薄い基板専用の記録再生装置を用いることなく既存の光ディスク用のドライブで記録再生できるようにする。
【解決手段】フレキシブル光ディスク31を姿勢制御兼光学補正板32に載置して、既存の光ディスクのドライブに設置する。姿勢制御兼光学補正板32は、光学ガラスの表面、裏面及び外側面に導電性コート33を形成したもので、光ディスクドライブのスピンドル35に固定したとき、導電性コート333がスピンドル35と電気的に接続され帯電防止する。
【選択図】図4
【解決手段】フレキシブル光ディスク31を姿勢制御兼光学補正板32に載置して、既存の光ディスクのドライブに設置する。姿勢制御兼光学補正板32は、光学ガラスの表面、裏面及び外側面に導電性コート33を形成したもので、光ディスクドライブのスピンドル35に固定したとき、導電性コート333がスピンドル35と電気的に接続され帯電防止する。
【選択図】図4
Description
本発明は、光記録媒体を用いた記録再生の分野に関し、特に薄くてフレキシブルな光記録媒体への記録再生方法に関する。
光記録媒体(光ディスク)は持ち運びの可能なメモリ媒体として重要な位置を占めているが、最近の情報通信機器の発達により、これまで以上にその簡易性や大記憶容量化に期待が集まっている。例えば企業や銀行等、膨大で重要なデータを扱う場所では、従来のように磁気テープやハードディスクのみに頼るデータ管理システムではなく、メンテナンスが容易で且つ信頼性の高い光ディスクを組み込んだデータ管理システムが注目されている。そのような管理システムでは、データの書換えが頻繁に行われる部分にはハードディスクを設け、アクセスは少ないが情報の長期保存が求められる部分には光ディスクが設けられる等の工夫がされている。
ここで、光ディスクで大容量化を図るためには、トラック間隔(トラックピッチ)を狭くし且つ記録マークの間隔を狭くする必要がある。しかしながら、トラック間隔や記録マークの間隔がレーザー光のスポット径λ/NA(λ:レーザー光の波長、NA:絞り込みレンズの開口数)より小さくなると、光スポット内に複数の記録マークが入ってしまうので、個々の記録マークの分別ができなくなる。即ち特別な方法を取らない限り光ディスクの記録容量はレーザー光の波長と開口数で制限される。
この問題を解決する方法として、光学超解像、磁気超解像方式やスーパーレンズ、ホログラムなど様々な試みがされているが、最も効率的な方法として、光ディスク基板の厚みを薄くして体積当たりの容量を増やす方法がある。例えば、特開2003−331561号公報、特開2003−91970号公報にあるように、薄い基板とその薄い基板を面ぶれが少なく安定に回転させるためのスタビライザーを組み合わせることにより、体積当たりの記録容量を数倍にすることが可能となる。
上記スタビライザーを用いる方法は、薄い基板の光ディスクの使用を可能にするが、スタビライザーを組み込んだ専用の記録再生装置を必要とする。
本発明は、厚さ100μm程度の薄い基板の光ディスク(以下、フレキシブル光ディスクという)を、薄い基板専用の記録再生装置を用いることなく既存の光ディスク用のドライブで記録再生できるようにするための手段を提供することを目的とする。
本発明では、フレキシブル光ディスクとほぼ同じ大きさの光透過性の円盤状姿勢制御兼光学補正板を用い、この姿勢制御兼光学補正板上にフレキシブル光ディスクを載置する。そして、光ピックアップからのレーザー光を姿勢制御兼光学補正板越しにフレキシブル光ディスクに照射することにより、従来の光ディスクとの互換性を持たせる。例えば100μm厚のフレキシブル光ディスクと500μm厚の姿勢制御兼光学補正板を用意し、前者を後者の上に偏心が小さくなるように載せる。この方法により、既存のDVD用のドライブを用いて、フレキシブル光ディスク上に刻まれた情報の再生を行うことが可能になる。
ここで、姿勢制御兼光学補正板はフレキシブル光ディスクと接触するため、塵埃の影響が問題になる。例えばフレキシブル光ディスクの厚さを100μmとした場合、既存のDVDドライブで情報の記録再生ができるようにするために用いる姿勢制御兼光学補正板の厚さは500μmとなる。このためフレキシブル基板のレーザー入射側表面に集光されるレーザースポットと、通常の600μm厚のDVD基板表面に集光されるレーザースポットとを比較すると、前者の方がかなり小さい。従って、塵埃に対する許容度が前者の場合低くなるため、塵埃対策が必須となる。
また、光学ガラスは通常1014Ω以上の表面電気抵抗を有するため、姿勢制御兼光学補正板を光学ガラスだけで構成すると、姿勢制御兼光学補正板あるいはフレキシブル基板に静電気が発生すると、両者が強く密着してしまい、別のフレキシブル光ディスクに交換する際に問題が生じる。また、姿勢制御兼光学補正板へのフレキシブル基板の置き方によっては、フレキシブル光ディスクにしわが発生し、フォーカス追従ができなくなる。
本発明は、このような問題に対する対策を検討することによって完成されたものである。
すなわち、本発明では、フレキシブル光ディスクへの記録再生のために、フレキシブル光ディスク載置面と、光ディスクドライブのスピンドルに嵌る中心開口とを備えた透明ガラス基板からなり、光ディスクドライブのスピンドルに固定されたとき、情報の記録再生に用いられるレーザー光が透明ガラス基板を介して光ディスク載置面に載置されたフレキシブル光ディスクに照射されるフレキシブル光ディスク用姿勢制御兼光学補正板を用いることによって既存の光ディスクドライブにおける通常の光ディスクとの互換性を確保する。このとき、姿勢制御兼光学補正板は、透明ガラス基板の表面、裏面及び外側面に導電性コートが形成され、光ディスクドライブのスピンドルに固定されたとき、透明ガラス基板の表面、裏面及び外側面に形成された導電性コートがスピンドルと電気的に接続されるようにする。これによって静電気の発生が抑制され、塵埃が付着しにくくなる。
姿勢制御兼光学補正板は、その上にフレキシブル光ディスクを載置したものが既存の光ディスクと同等物となるように、透明ガラス基板と、当該透明ガラス基板のフレキシブル光ディスク載置面に載置されたフレキシブル光ディスクとからなる構造物が、光ディスクドライブで使用される光ディスクと光学的に同等となる厚さを有する。透明ガラス基板の厚さは具体的には、0.4〜1.1mmとすればよい。
導電性コートを導電性フィラーを含む帯電防止膜とする場合には、帯電防止膜は少なくとも光ディスクドライブのクランパーによって押えられる領域を除いて形成するのが好ましい。導電性コートをスパッタによって形成された導電性薄膜とする場合には、透明ガラス基板の全面に形成するのが好ましい。いずれのコートも紫外線領域(400nm)から赤色光領域(780nm)まで吸収率が20%以下になるようにし、その表面抵抗が1012Ω以下になるようにする。また光ディスク、姿勢制御兼光学補正板、ドライブは電気的に繋がっているようにし、且つドライブはグランドに接地されるようにする。
一方、特開平5−298746号公報には、光ディスクの光入射側の基板面上に帯電防止膜を塗布し、且つこの塗布部とターンテーブルを接地することによって塵埃を低減することが記載されている。しかし、この技術は、厚さ100μm程度の薄いフレキシブル光ディスクを既存の光ディスク用のドライブで記録再生することを目的とするものではなく、フレキシブル光ディスク用姿勢制御兼光学補正板を使用して既存のドライブと互換性を確保することについては記載がない。フレキシブル光ディスク用姿勢制御兼光学補正板を使用するに当たっての問題点についても記載がない。従って、特開平5−298746号公報は、本発明のフレキシブル光ディスク用姿勢制御兼光学補正板を示唆するものではない。
本発明によると、フレキシブル光ディスク、姿勢制御兼光学補正板、スピンドルがほぼ同電位となり、静電気を低減することができるため、フレキシブル光ディスクの情報記録再生に悪影響を及ぼす塵埃の付着を低減でき、またフレキシブル光ディスクの姿勢制御兼光学補正板への張り付きを押えることができる。従って、フレキシブル光ディスクへの記録再生を、既存の光ディスク用ドライブを用いて行うことが可能になる。
以下に本発明の実施例を示す。ここで説明する実施例は、一例として5XMOのパターンを転写したフレキシブル光ディスクに対してのものであるが、他のMO(光磁気記録媒体)、相変化媒体、色素媒体、ROM媒体に関しても同様な効果が得られる。また姿勢制御兼光学補正板として用いる光学ガラスへのコート、フレキシブル光ディスクへの保護膜の形成もその一例を示したものである。
最初に、フレキシブル光ディスクについて説明する。以下の方法でフレキシブル光ディスクを作成した。厚さ100μmのポリカーボネートシートと5XMO用スタンパを用意し、アイトリックス社製ナノプリント用プレス機によって、スタンパに刻んであるピット及び溝をポリカーボネートに転写形成した。転写に際してはポリカーボネートを150mm×150mmのサイズに予めカットしておき、10tのプレス圧によって転写した。次に、スパッタ装置の基板キャリアに合うように、大きさ90mmφ、中心穴径15mmφに形を適切にカットした。それをスパッタ装置の基板キャリアにセッティングし、5×10−5Pa以下の真空度にした後、スパッタ膜を形成した。スパッタ膜はエンハンス膜SiN(膜厚60nm)、記録膜TbFeCo(30nm)、誘電体層SiN(5nm)、反射膜Al合金(30nm)の順に形成した。次に、約5μmの紫外線硬化樹脂をスピンコート法によって形成した。なお、紫外線硬化樹脂はディスクの機械的バランスを保つためフレキシブル光ディスクの両面にコートした。このコートによりフレキシブル光ディスクの両面とも表面抵抗は1012Ωとなった。上記プロセスによって得られた円盤状光ディスクを、フレキシブル光ディスクという。
次に、姿勢制御兼光学補正板の実施例、及びその作製方法について説明する。5XMOのサイズとほぼ同じ91mmφ、中心穴径15mmφ、厚さ1.1mmの光学ガラス(BK7)を用意した。次に上記光学ガラス上に、スピンコート法によって導電性フィラーを含む紫外線硬化樹脂をコートした(以下、このコートを帯電防止コートという)。帯電防止コートは、既存の光ディスクドライブ付属の金属製スピンドルの光ディスク保持部の外径よりもやや内側から形成し、クランパー直下の領域には帯電防止コートを形成しなかった。
スピンコートプロセスを図1に示した。開始後の2秒の加速時間1内で、基板回転数を0から30rpm(回転数1)まで上昇させた。次に、8秒の回転時間1中の内6秒間に渡り、ノズルから樹脂の吐出を行った。樹脂の吐出位置は基板半径25mmの位置で行ったが、上記回転により基板半径約30mmにまで樹脂が延展した。次に、ノズルをディスク上から十分遠く退避させた後、1秒の加速時間2内で、回転数を回転数1の30rpmから回転数2の2000rpmまで上昇させた。次に、紫外線硬化樹脂の厚さをディスク面上で一様にするため、6秒の回転時間2の間、回転数2を保った。最後に、2秒の減速時間中に回転数を0に下げた(終了)。次に、上記塗布プロセスで樹脂が塗布された基板を紫外線照射装置に移動し、60rpmの回転をさせながら5秒間の紫外線照射を行うことにより、樹脂を硬化させた。
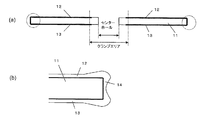
以上のような塗布プロセス及び紫外線硬化プロセスは、ガラス姿勢制御兼光学補正板の両面に対して行った。図2は、上記プロセスの結果得られた姿勢制御兼光学補正板の模式図である。図2(a)は塗布後の断面図、図2(b)は図2(a)に円で囲んで示した外周端面部の断面図である。図示したように、光学ガラス基板11の外周端面部には樹脂の回り込みが発生するため、上面の帯電防止コート12と下面の帯電防止コート13が基板外周端面部の帯電防止コート14を介して繋がった。以上により、帯電防止コート塗布前の表面電気抵抗が1014Ω以上であったのに対し、コート後は1010Ωになった。
ここで、帯電防止コートをクランパーからの力がかかるクランプエリアに形成しなかったのは、クランパーの着脱を繰返すうちにクランプエリアに形成した塗膜が応力を受けて剥がれ、塵埃が発生するのを防止するためである。光学ガラス基板上面(クランパー側)の帯電防止コートがクランパーと接触していなくとも、光学ガラス基板下面に形成された帯電防止コートがスピンドルの光ディスク保持部と接触すれば、結果的に光学ガラス基板の上下面の帯電防止コートがスピンドルの光ディスク保持部を介して接地されることになるため、問題ない。
本発明による姿勢制御兼光学補正板の別の実施例について説明する。本実施例では、91mmφ、中心穴径15mmφ、厚さ1.1mmの光学ガラス(BK7)にマグネトロンスパッタ法によって導電性薄膜を形成した。スパッタ方によって形成する導電性薄膜は、塗布によって形成する帯電防止コートと異なり堅牢であるため、クランパーからの力が反復してかかっても剥がれる心配はない。そこで本実施例では、センターホールを含め光学ガラスの全面に導電性薄膜を形成した。
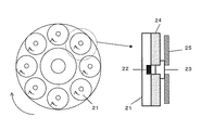
成膜対象となる光学ガラス基板を、スパッタキャリアに8箇所有るパレット上にセットした。図3に示したように、パレット21には永久磁石22が埋め込まれており、磁性SUS430で作製された内周マスク23とパレット−内周マスク間にあるダミー基板24を磁力で保持する。ダミー基板24は、パレット21がスパッタされないようにするために使用した。次に、内周マスク23上に両面テープでガラス基板25を固定した。スパッタキャリアは90rpmで回転し、且つスパッタキャリア上の8個のパレット21は歯車でスパッタキャリアとつながれており、スパッタキャリアの回転と連動して自転するようになっている。スパッタキャリアが一回転するとパレット21が5回転するようにセットした。
以上のような配置にすると、スパッタ粒子の回り込みが大きく発生するようになり、ガラス基板の外周端、及びセンターホール端にもスパッタ成膜されるようになった。導電性薄膜としては、表1に示すように、Si,Al,APC(Ag−Pd−Cu合金),Pdを種々の膜厚で成膜した。なお、両面テープが粘着した場所はアルコールで洗浄し、ガラス基板の両面に対して成膜を行った。
表1に、Si,Al,APC(Ag−Pd−Cu合金),Pd、その多元合金、及び帯電防止コートの表面抵抗と、光学ガラスの透過率を1.0としたときの透過率を示す。Al膜を除く金属薄膜では、帯電防止コートに比べるとその表面抵抗が2桁から3桁良くなるが、一方帯電防止コートと比べると透過率が落ちた。ここでAl膜の表面抵抗が他の金属膜と比較して高いのは、表面に酸化膜ができるためと考えられる。また他の金属膜でも、厚さが1nm以下になると通常のスパッタでは孤立した島状に金属粒子が分布するようになるため、表面抵抗値が急に高くなる(2桁以上高くなる)。このため、帯電防止対策と情報再生強度を両立させるためには、純Alを除く金属薄膜(Ag,Pd,Si及びそれらの合金とAlSi合金)を膜厚1〜5nm形成するか、または帯電防止コートを施すのが適切である。
こうして作製した本発明の姿勢制御兼光学補正板を市販の光ディスクドライブのスピンドルのディスク保持部に、帯電防止コートあるいは金属薄膜(以下、両者をまとめて導電性コートという)が電気的に連結されるように設置した。
図4は、帯電防止コートを施した姿勢制御兼光学補正板を用いた場合の、光学ガラスへの帯電防止コートの形成状態とスピンドルへの設置状態を示す概略図である。図4(a)は、姿勢制御兼光学補正板の平面図、図4(b)はスピンドルのディスク保持部への設置状態を示す断面模式図である。フレキシブル光ディスク31、帯電防止コート33を施した姿勢制御兼光学補正板32、及びドライブのスピンドル35が電気的に連結されていることを示す。フレキシブル光ディスク31及び姿勢制御兼光学補正板32は、クランパー34によってスピンドル35に固定される。なお、図4(a)には光学ガラスのクランパーエリア外全面に帯電防止コート33を施した姿勢制御兼光学補正板32が示されているが、仮に部分的なコートであっても、フレキシブル光ディスク31、姿勢制御兼光学補正板32、ドライブのスピンドル35が電気的に連結されていれば本発明の効果は得られる。
図5は、クランパーの移動機構の一例を示す概略図である。図5(a)は概略斜視図、図5(b)は概略側面図である。クランパー及びスピンドルは十分導電性を有する材質で作製され、同じく十分な導電性の有るドライブ本体と電気的に接続されている。クランパーはドライブ本体の天板に、クランパー自身の回転を妨げないように装着されており、スピンドルは光ディスクがドライブ内に挿入される前には、光ディスクの挿入を妨げないような位置に降りている。光ディスクがドライブ内に挿入される際には、上下動機構によりスピンドルが上昇して光ディスクのセンターホールを受け止め、続いて天板に装着されているクランパーが光ディスクの所定の場所に嵌め合う。上下動機構、クランパー及びピックアップは光ディスクの記録再生が適切に行われる位置に固定される。
このような光ディスクドライブにフレキシブル光ディスクを装填するに当たっては、まず、本発明のフレキシブル基板用姿勢制御兼光学補正板をスピンドルに装填し、その後、姿勢制御兼光学補正板の上にフレキシブル光ディスクを装填する。上記光ディスクのクランピング過程により、帯電防止対策が施されている姿勢制御兼光学補正板とドライブ本体が電気的に接続される。
図6は、姿勢制御兼光学補正板上にフレキシブル光ディスクを装填する機構の例を示す図である。この例では、フレキシブル光ディスクを支え保管するトレイを多数収納するカートリッジを用意する。カートリッジは、カートリッジエレベータにより上下して、目的とするフレキシブル光ディスクが保管されているトレイの高さをトレイ取り出し機の高さに合わせる。次に、トレイ取り出し機は、カートリッジから、目的とするフレキシブル光ディスクの入ったトレイを引き出す。引き出されたトレイ上のフレキシブル光ディスクは、ディスク着脱機により吸着して取り出され、姿勢制御兼光学補正板上に運ばれる。その後、ディスク着脱機は、吸着したフレキシブル光ディスクを姿勢制御兼光学補正板上に乗せ、吸着を解除する。こうして、光ディスクドライブのスピンドルに装填された姿勢制御兼光学補正板上にフレキシブル光ディスクが装着される。姿勢制御兼光学補正板上のフレキシブル光ディスクを収納するときは、上記の逆のプロセスによりカートリッジのトレイに収納する。
本発明の効果を検証するために、市販の5XMOドライブの外枠を外し、上述したフレキシブル基板用姿勢制御兼光学補正板がむき出しになるようにして、オフィス環境で1週間放置することにより塵埃検査を行った。比較用に導電性コートを施さない光学ガラス基板も用意し、導電性コートを施したものと同条件にして1週間放置した。
まず、姿勢制御兼光学補正板をオフィス環境で放置する前に、フレキシブル光ディスクを、導電性コートを施した姿勢制御兼光学補正板上(条件1とする)と、施さなかったガラス基板上(条件2とする)に載置して読み取り動作を行い、塵埃検査としてのエラーレート測定を行った。初めに10枚のフレキシブル光ディスクを準備し、これらのディスクに対して条件1用のドライブを用いてサーティファイを行い、PDL(プライマリディフェクトリスト)を登録した。これによりスタンパに起因する共通欠陥を取り除くようにした。次に、疑似ランダムデータをライトし、後にリードして、初期状態のエラーレート測定を各ディスクに対して行った。表2は上記過程によって得られた10枚のディスクのPDL数とエラーレートを示した表である。特に問題となるディスクは無く、エラーレートは10−5前半〜10−6後半の値だった。
また、ドライブ間の特性相違を調べるため、これら10枚のディスクからNo.3とNo.9のディスクを用いて条件1、2用のドライブにかけた時のそれぞれのエラーレートを測定した。その結果を示したのが表3である。ドライブ2の方が若干特性は良いものの、塵埃に対するディスク特性を比較する上で特に問題のないことが分かった。
次に、フレキシブル光ディスクを姿勢制御兼光学補正板から外して別の専用のカートリッジに保存した。ここで、このカートリッジは十分塵埃に対する対策が取られている。一方、条件1,2の姿勢制御兼光学補正板は、ドライブに設置したまま1週間オフィス環境で放置した。放置後の測定に際しては、用意した10枚のディスクの内適当なもの2枚を選別し、条件1,2の姿勢制御兼光学補正板上に設置した。次にリードオンリーの状態でこれら2枚のディスクのエラー測定を行った。本実施例ではディスクNo.3とNo.9を選び、それぞれ条件1、条件2用のディスクとして用いた。
測定結果を以下に述べる。まずエラーレートに関しては、表4に示したように、条件1の場合、初期状態での値が2.78×10−5であったのに対して、塵埃試験後には4.5×10−5になった。一方、条件2の場合初期状態での値が1.19×10−5であったのに対して、塵埃試験後には2.00×10−3になった。
図7に、条件1、2に対してのディスク内周部での和信号(ホトディテクターで受光したディスクからのレーザー反射信号)を示した。図7(a)は条件1のものであり、図7(b)は条件2のものである。条件1に比べ条件2の方に顕著にレベル変動が有り、塵埃または基板の上下変動が多くあることが分かった。
図8は、面ぶれ及びフォーカスサーボの周波数特性を表す図である。
通常、基板が回転しているときのz軸方向の変位(y(t)とする)は、
y(t) = δsinωt (δ;最大変位量、ω;角速度)
と表される。このときのz軸方向の加速度(aとする)は一般に面ぶれ加速度と呼ばれ、
a = y(t)″= -δω2sinωt
と表される。変位δをデシベルで表現すると、
δ = 20log(a/ω2) = -40log(f) -40log(2π) + 20log(a)
と表される(図8中、実線)。
通常、基板が回転しているときのz軸方向の変位(y(t)とする)は、
y(t) = δsinωt (δ;最大変位量、ω;角速度)
と表される。このときのz軸方向の加速度(aとする)は一般に面ぶれ加速度と呼ばれ、
a = y(t)″= -δω2sinωt
と表される。変位δをデシベルで表現すると、
δ = 20log(a/ω2) = -40log(f) -40log(2π) + 20log(a)
と表される(図8中、実線)。
ドライブでは、フォーカスサーボにより、上記ディスクの面ぶれ(面ぶれ加速度)に対してアクチュエーター及び対物レンズが余裕を持って追従できるような特性にする(図8中、一点鎖線)。従って、ドライブのフォーカスサーボにより面ぶれ(面ぶれ加速度)が十分低減されるため、正しくレーザービームが情報面にフォーカスされる。
ところが基板厚が0.1mm程度のフレキシブル光ディスクでは、姿勢制御兼光学補正板に静電気が蓄積された状態でフレキシブルディスクを載置すると、姿勢制御兼光学補正板とフレキシブル光ディスクの間に、空気が閉じこめられた小さな領域(以後、“エア噛み”という)がいくつも発生する。またこのエア噛みは、スピンドルを回転しても消えずに姿勢制御兼光学補正板とフレキシブル光ディスクの間に残るため、“エア噛み”によって局所的な面ぶれが発生する。従ってこのときの変位量は、
y(t) = δsinωt +(局所的な面ぶれによる高次の変位量)
と表される。即ち、第2項(局所的な面ぶれによる高次の変位量)の時間に対する2回微分による面ぶれ加速度が新たに加わるため(図8中、点線)、ドライブによるフォーカス追従が困難になってくる。以上から、姿勢制御兼光学補正板とフレキシブル光ディスクには上記静電気を起源とする“エア噛み”を対策することが、安定なフォーカシングを行うための重要な課題である。
y(t) = δsinωt +(局所的な面ぶれによる高次の変位量)
と表される。即ち、第2項(局所的な面ぶれによる高次の変位量)の時間に対する2回微分による面ぶれ加速度が新たに加わるため(図8中、点線)、ドライブによるフォーカス追従が困難になってくる。以上から、姿勢制御兼光学補正板とフレキシブル光ディスクには上記静電気を起源とする“エア噛み”を対策することが、安定なフォーカシングを行うための重要な課題である。
図9に、静止時レーザー変位計で測定した、厚板光ディスク(0.6mm厚)とフレキシブル光ディスク(0.1mm厚、但し姿勢制御兼光学補正板あり)の半径30mmにおける変位量を示す。図から明らかなように、厚板光ディスクの場合、ほぼ正弦波カーブで表現できるのに対して、フレキシブル光ディスクの場合には正弦波カーブの他に別な変位が乗っていることが分かる。また図9から、この変位量は10〜20μm(P−P)で、大きさが約5mm〜10mm(横軸フルスケールがディスク1周に当たり約190mm)であることが分かる。
ここで姿勢制御兼光学補正板に、本発明のように金属薄膜あるいは帯電防止コートにより静電気対策を行い、これにフレキシブル光ディスクを乗せて変位量測定を行った。測定に際してはステッピングモーター制御によるディスク周方向をスキャンするφステージと、ディスク半径方向をスキャンするX軸ステージを組み合わせることによりディスク全体を測定した。ここでディスク周方向に関しては約0.12°毎に、ディスク半径方向に関しては2mm毎にスキャンした。その結果を表5にまとめた。表5から、静電気対策を施した姿勢制御兼光学補正板を用いることにより、フレキシブル光ディスクの局所面ぶれは、その高さ、数とも小さくなることが分かる。
ここで、記録再生機のフォーカスエラー信号を調べると、エア噛みは面ぶれとして観察される。この面ぶれ量が記録再生機のフォーカス追従量よりも大きくなると、情報再生信号の劣化が起きたり、場合によってはトラック追従さえ不可能になる。
一例として、図10に、1.2mm厚の通常のDVDと、100μm厚のフレキシブル光ディスクのフォーカスエラー信号を比較して示す。但し、フレキシブル光ディスクは、帯電防止策を施していない厚さ500μmの光学ガラスに載せて、ドライブのスピンドルに固定した。測定は、半径30mmの位置で線速7m/sで行った。図10(a)は、通常のDVDのフォーカスエラー信号を表し、図10(b)はフレキシブル光ディスクのフォーカスエラー信号を表す。図から明らかなように、フレキシブルディスクのフォーカスエラー信号の方が通常のDVDよりも極めて大きく、エア噛みが大きく発生していることが判る。
これに対して、帯電防止対策を施した本発明の姿勢制御兼光学補正板(厚さ500μm)にフレキシブル光ディスクを載置した場合のフォーカスエラー信号の最大値を、表6にまとめた。帯電防止対策を施した姿勢制御兼光学補正板を使用すると、帯電防止対策を施していない姿勢制御兼光学補正板を使用した場合に比較して、フォーカスエラー信号が小さくなっていることが分かる。これは、帯電防止対策を施すことによってエア噛みの発生が低減したためと考えられる。
以上の結果から、姿勢制御兼光学補正板に導電性コートを施し、且つフレキシブル光ディスク、姿勢制御兼光学補正板、ドライブを電気的に連結することにより、姿勢制御兼光学補正板またはフレキシブル光ディスクに付着する塵埃を効果的に減らすことができ、また姿勢制御兼光学補正板とフレキシブル光ディスクの間に空気が閉じこめられる“エア噛み”の発生を抑制することができることが示された。
11:光学ガラス基板、12:上面の帯電防止コート、13:下面の帯電防止コート、14:基板外周端面部の帯電防止コート、21:パレット、22:永久磁石、23:内周マスク、24:ダミー基板、25:ガラス基板、31:フレキシブル光ディスク、32:姿勢制御兼光学補正板、33:帯電防止コート、34:クランパー、35:スピンドル
Claims (6)
- フレキシブル光ディスク載置面と、光ディスクドライブのスピンドルに嵌る中心開口とを備えた透明ガラス基板からなり、光ディスクドライブのスピンドルに固定されたとき、情報の記録再生に用いられるレーザー光が前記透明ガラス基板を介して前記光ディスク載置面に載置されたフレキシブル光ディスクに照射されるフレキシブル光ディスク用姿勢制御兼光学補正板であって、
前記透明ガラス基板の表面、裏面及び外側面に導電性コートが形成され、光ディスクドライブのスピンドルに固定されたとき、前記透明ガラス基板の表面、裏面及び外側面に形成された導電性コートが前記スピンドルと電気的に接続されることを特徴とするフレキシブル光ディスク用姿勢制御兼光学補正板。 - 請求項1記載のフレキシブル光ディスク用姿勢制御兼光学補正板において、前記透明ガラス基板は、当該透明ガラス基板と、当該透明ガラス基板の前記フレキシブル光ディスク載置面に載置されたフレキシブル光ディスクとからなる構造物が、光ディスクドライブで使用される光ディスクと光学的に同等となる厚さを有することを特徴とするフレキシブル光ディスク用姿勢制御兼光学補正板。
- 請求項2記載のフレキシブル光ディスク用姿勢制御兼光学補正板において、前記透明ガラス基板の厚さは0.4〜1.1mmであることを特徴とするフレキシブル光ディスク用姿勢制御兼光学補正板。
- 請求項1、2又は3記載のフレキシブル光ディスク用姿勢制御兼光学補正板において、前記導電性コートは導電性フィラーを含む帯電防止膜からなり、当該帯電防止膜は光ディスクドライブのクランパーによって押えられる領域を除いて形成されていることを特徴とするフレキシブル光ディスク用姿勢制御兼光学補正板。
- 請求項1、2又は3記載のフレキシブル光ディスク用姿勢制御兼光学補正板において、前記導電性コートはスパッタによって形成された導電性薄膜であり、前記透明ガラス基板の全面に形成されていることを特徴とするフレキシブル光ディスク用姿勢制御兼光学補正板。
- 請求項5記載のフレキシブル光ディスク用姿勢制御兼光学補正板において、前記導電性薄膜は膜厚が1nm〜5nmのSi,Al,Ag,Pdまたはこれらの元素からなる合金薄膜からなることを特徴とするフレキシブル光ディスク用姿勢制御兼光学補正板。
Priority Applications (1)
| Application Number | Priority Date | Filing Date | Title |
|---|---|---|---|
| JP2005115812A JP2006294167A (ja) | 2005-04-13 | 2005-04-13 | フレキシブル光ディスク用姿勢制御兼光学補正板 |
Applications Claiming Priority (1)
| Application Number | Priority Date | Filing Date | Title |
|---|---|---|---|
| JP2005115812A JP2006294167A (ja) | 2005-04-13 | 2005-04-13 | フレキシブル光ディスク用姿勢制御兼光学補正板 |
Publications (2)
| Publication Number | Publication Date |
|---|---|
| JP2006294167A true JP2006294167A (ja) | 2006-10-26 |
| JP2006294167A5 JP2006294167A5 (ja) | 2008-05-08 |
Family
ID=37414561
Family Applications (1)
| Application Number | Title | Priority Date | Filing Date |
|---|---|---|---|
| JP2005115812A Withdrawn JP2006294167A (ja) | 2005-04-13 | 2005-04-13 | フレキシブル光ディスク用姿勢制御兼光学補正板 |
Country Status (1)
| Country | Link |
|---|---|
| JP (1) | JP2006294167A (ja) |
Cited By (2)
| Publication number | Priority date | Publication date | Assignee | Title |
|---|---|---|---|---|
| JP2008287819A (ja) * | 2007-05-18 | 2008-11-27 | Hitachi Maxell Ltd | 光ディスク体 |
| JP2009241372A (ja) * | 2008-03-31 | 2009-10-22 | Hitachi High-Technologies Corp | 微細構造転写装置 |
-
2005
- 2005-04-13 JP JP2005115812A patent/JP2006294167A/ja not_active Withdrawn
Cited By (2)
| Publication number | Priority date | Publication date | Assignee | Title |
|---|---|---|---|---|
| JP2008287819A (ja) * | 2007-05-18 | 2008-11-27 | Hitachi Maxell Ltd | 光ディスク体 |
| JP2009241372A (ja) * | 2008-03-31 | 2009-10-22 | Hitachi High-Technologies Corp | 微細構造転写装置 |
Similar Documents
| Publication | Publication Date | Title |
|---|---|---|
| JP5065461B2 (ja) | 光情報記録媒体及びその製造方法、並びに光情報記録媒体の保持方法 | |
| JP3918221B2 (ja) | 保護膜形成装置及び保護膜形成方法 | |
| JP2006294167A (ja) | フレキシブル光ディスク用姿勢制御兼光学補正板 | |
| JP2006059454A (ja) | 光学記録媒体の製造装置および製造方法 | |
| US5745443A (en) | Magneto-optical disc having a protective film with minimal projections and method of production of same | |
| US20070130578A1 (en) | Thin type optical disk recording and reproducing apparatus and method | |
| EP1756819B1 (en) | Apparatus for attaching and detaching cap for optical disc spin-coating, apparatus for optical disc spin-coating comprising the same, method of manufacturing optical disc using the apparatus for attaching and detaching cap for optical disc spin-coating | |
| JP5485287B2 (ja) | 情報記録媒体の製造方法及び情報記録媒体 | |
| JP4284888B2 (ja) | 光情報記録媒体 | |
| US6941572B2 (en) | Optical information recording medium and optical information recording/reproduction apparatus | |
| JP2008234704A (ja) | フレキシブル光ディスク用ターンテーブル及びその製造方法、光情報記録再生装置、フレキシブル光ディスク回転装置 | |
| JP2001023243A (ja) | 情報記録担体及び情報記録担体再生装置 | |
| JP2007200470A (ja) | 情報記録再生装置及びディスククランパ | |
| JP4108436B2 (ja) | 光ディスク | |
| JP2008234713A (ja) | 光記録媒体の製造方法 | |
| JP4166630B2 (ja) | 光学的情報記録装置および光学的情報再生装置 | |
| JP4067907B2 (ja) | 樹脂基板を有する記録媒体 | |
| JP5524545B2 (ja) | フレキシブルディスクシステムおよびフレキシブルディスクの製造方法 | |
| US20050281179A1 (en) | Apparatus for optical disc spin-coating | |
| JP2008027549A (ja) | 光記録媒体の製造方法 | |
| JP2003157574A (ja) | 光ディスク及び光ディスク装置 | |
| JPH0917027A (ja) | 光学的情報記録媒体 | |
| JP2006164489A (ja) | 薄型光ディスクの記録再生装置 | |
| JP2005310224A (ja) | 情報記録媒体、情報記録媒体の記録再生装置及び情報記録媒体の識別方法 | |
| JPH04285738A (ja) | 光情報記録媒体 |
Legal Events
| Date | Code | Title | Description |
|---|---|---|---|
| A521 | Written amendment |
Free format text: JAPANESE INTERMEDIATE CODE: A523 Effective date: 20080319 |
|
| A621 | Written request for application examination |
Free format text: JAPANESE INTERMEDIATE CODE: A621 Effective date: 20080319 |
|
| A761 | Written withdrawal of application |
Free format text: JAPANESE INTERMEDIATE CODE: A761 Effective date: 20090319 |
