JP2006149552A - 遊技機 - Google Patents
遊技機 Download PDFInfo
- Publication number
- JP2006149552A JP2006149552A JP2004342425A JP2004342425A JP2006149552A JP 2006149552 A JP2006149552 A JP 2006149552A JP 2004342425 A JP2004342425 A JP 2004342425A JP 2004342425 A JP2004342425 A JP 2004342425A JP 2006149552 A JP2006149552 A JP 2006149552A
- Authority
- JP
- Japan
- Prior art keywords
- main body
- frame
- display device
- display
- game
- Prior art date
- Legal status (The legal status is an assumption and is not a legal conclusion. Google has not performed a legal analysis and makes no representation as to the accuracy of the status listed.)
- Withdrawn
Links
- 239000011521 glass Substances 0.000 abstract description 95
- 238000005034 decoration Methods 0.000 description 26
- 230000000694 effects Effects 0.000 description 20
- 229920003002 synthetic resin Polymers 0.000 description 12
- 239000000057 synthetic resin Substances 0.000 description 12
- 238000012986 modification Methods 0.000 description 11
- 230000004048 modification Effects 0.000 description 11
- 239000004973 liquid crystal related substance Substances 0.000 description 10
- 238000004891 communication Methods 0.000 description 8
- 229910052751 metal Inorganic materials 0.000 description 8
- 239000002184 metal Substances 0.000 description 8
- 229920000122 acrylonitrile butadiene styrene Polymers 0.000 description 7
- 238000000465 moulding Methods 0.000 description 7
- 229920005989 resin Polymers 0.000 description 7
- 239000011347 resin Substances 0.000 description 7
- 230000001965 increasing effect Effects 0.000 description 5
- 230000002093 peripheral effect Effects 0.000 description 5
- XECAHXYUAAWDEL-UHFFFAOYSA-N acrylonitrile butadiene styrene Chemical compound C=CC=C.C=CC#N.C=CC1=CC=CC=C1 XECAHXYUAAWDEL-UHFFFAOYSA-N 0.000 description 4
- 239000004676 acrylonitrile butadiene styrene Substances 0.000 description 4
- 239000000463 material Substances 0.000 description 4
- 230000000007 visual effect Effects 0.000 description 4
- 229910000831 Steel Inorganic materials 0.000 description 3
- 229910052782 aluminium Inorganic materials 0.000 description 3
- XAGFODPZIPBFFR-UHFFFAOYSA-N aluminium Chemical compound [Al] XAGFODPZIPBFFR-UHFFFAOYSA-N 0.000 description 3
- 238000013461 design Methods 0.000 description 3
- 230000003014 reinforcing effect Effects 0.000 description 3
- 239000010959 steel Substances 0.000 description 3
- 230000004397 blinking Effects 0.000 description 2
- 230000002708 enhancing effect Effects 0.000 description 2
- 238000003780 insertion Methods 0.000 description 2
- 230000037431 insertion Effects 0.000 description 2
- 238000012423 maintenance Methods 0.000 description 2
- -1 specifically Polymers 0.000 description 2
- 125000002066 L-histidyl group Chemical group [H]N1C([H])=NC(C([H])([H])[C@](C(=O)[*])([H])N([H])[H])=C1[H] 0.000 description 1
- 230000002730 additional effect Effects 0.000 description 1
- 238000005452 bending Methods 0.000 description 1
- 239000000470 constituent Substances 0.000 description 1
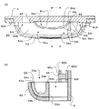
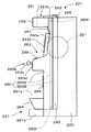
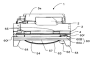
- 238000010586 diagram Methods 0.000 description 1
- 238000005401 electroluminescence Methods 0.000 description 1
- 238000009499 grossing Methods 0.000 description 1
- 238000004519 manufacturing process Methods 0.000 description 1
- 239000007769 metal material Substances 0.000 description 1
- 238000012545 processing Methods 0.000 description 1
- 238000007790 scraping Methods 0.000 description 1
- 239000002023 wood Substances 0.000 description 1
Images
Landscapes
- Pinball Game Machines (AREA)
- Display Devices Of Pinball Game Machines (AREA)
Priority Applications (1)
| Application Number | Priority Date | Filing Date | Title |
|---|---|---|---|
| JP2004342425A JP2006149552A (ja) | 2004-11-26 | 2004-11-26 | 遊技機 |
Applications Claiming Priority (1)
| Application Number | Priority Date | Filing Date | Title |
|---|---|---|---|
| JP2004342425A JP2006149552A (ja) | 2004-11-26 | 2004-11-26 | 遊技機 |
Publications (2)
| Publication Number | Publication Date |
|---|---|
| JP2006149552A true JP2006149552A (ja) | 2006-06-15 |
| JP2006149552A5 JP2006149552A5 (enExample) | 2007-11-29 |
Family
ID=36628532
Family Applications (1)
| Application Number | Title | Priority Date | Filing Date |
|---|---|---|---|
| JP2004342425A Withdrawn JP2006149552A (ja) | 2004-11-26 | 2004-11-26 | 遊技機 |
Country Status (1)
| Country | Link |
|---|---|
| JP (1) | JP2006149552A (enExample) |
Cited By (4)
| Publication number | Priority date | Publication date | Assignee | Title |
|---|---|---|---|---|
| JP2011143004A (ja) * | 2010-01-13 | 2011-07-28 | Glory Ltd | 景品払出装置、管理装置および景品払出システム |
| JP2014136034A (ja) * | 2013-01-17 | 2014-07-28 | Sophia Co Ltd | 遊技機 |
| JP2018143490A (ja) * | 2017-03-06 | 2018-09-20 | 株式会社サンセイアールアンドディ | 遊技機 |
| JP2018143486A (ja) * | 2017-03-06 | 2018-09-20 | 株式会社サンセイアールアンドディ | 遊技機 |
-
2004
- 2004-11-26 JP JP2004342425A patent/JP2006149552A/ja not_active Withdrawn
Cited By (4)
| Publication number | Priority date | Publication date | Assignee | Title |
|---|---|---|---|---|
| JP2011143004A (ja) * | 2010-01-13 | 2011-07-28 | Glory Ltd | 景品払出装置、管理装置および景品払出システム |
| JP2014136034A (ja) * | 2013-01-17 | 2014-07-28 | Sophia Co Ltd | 遊技機 |
| JP2018143490A (ja) * | 2017-03-06 | 2018-09-20 | 株式会社サンセイアールアンドディ | 遊技機 |
| JP2018143486A (ja) * | 2017-03-06 | 2018-09-20 | 株式会社サンセイアールアンドディ | 遊技機 |
Similar Documents
| Publication | Publication Date | Title |
|---|---|---|
| JP2006223689A (ja) | 遊技機 | |
| JP2006034462A (ja) | 遊技機 | |
| JP4737498B2 (ja) | 遊技機 | |
| JP4534617B2 (ja) | 遊技機 | |
| JP2006149552A (ja) | 遊技機 | |
| JP5578139B2 (ja) | 遊技機 | |
| JP4569183B2 (ja) | 遊技機 | |
| JP5954384B2 (ja) | 遊技機 | |
| JP2006102157A (ja) | 遊技機 | |
| JP2006110246A (ja) | 遊技機 | |
| JP4600732B2 (ja) | パチンコ遊技機 | |
| JP2006068198A (ja) | 遊技機 | |
| JP2013075196A (ja) | 遊技機 | |
| JP2006087690A (ja) | 遊技機 | |
| JP5382159B2 (ja) | 遊技機 | |
| JP2016064205A (ja) | 遊技機 | |
| JP2010162422A (ja) | 遊技機 | |
| JP2010259911A (ja) | 遊技機 | |
| JP2006198343A (ja) | 遊技機 | |
| JP2006167044A (ja) | 遊技機 | |
| JP2005131330A (ja) | 弾球遊技機 | |
| JP5862624B2 (ja) | 遊技機 | |
| JP5516624B2 (ja) | 遊技機 | |
| JP6402747B2 (ja) | 遊技機 | |
| JP4534601B2 (ja) | 遊技機 |
Legal Events
| Date | Code | Title | Description |
|---|---|---|---|
| A521 | Written amendment |
Free format text: JAPANESE INTERMEDIATE CODE: A523 Effective date: 20071015 |
|
| A621 | Written request for application examination |
Free format text: JAPANESE INTERMEDIATE CODE: A621 Effective date: 20071015 |
|
| A761 | Written withdrawal of application |
Free format text: JAPANESE INTERMEDIATE CODE: A761 Effective date: 20100806 |