JP2006123741A - 自動車用ターンシグナル装置 - Google Patents

自動車用ターンシグナル装置 Download PDF

Info

Publication number
JP2006123741A
JP2006123741A JP2004315143A JP2004315143A JP2006123741A JP 2006123741 A JP2006123741 A JP 2006123741A JP 2004315143 A JP2004315143 A JP 2004315143A JP 2004315143 A JP2004315143 A JP 2004315143A JP 2006123741 A JP2006123741 A JP 2006123741A
Authority
JP
Japan
Prior art keywords
turn signal
switch
turn
circuit
capacitor
Prior art date
Legal status (The legal status is an assumption and is not a legal conclusion. Google has not performed a legal analysis and makes no representation as to the accuracy of the status listed.)
Granted
Application number
JP2004315143A
Other languages
English (en)
Other versions
JP4466953B2 (ja
Inventor
Koichi Otsuka
塚 宏 一 大
Makoto Fujimaki
巻 誠 藤
Current Assignee (The listed assignees may be inaccurate. Google has not performed a legal analysis and makes no representation or warranty as to the accuracy of the list.)
MIYAMOTO KEIHOUKI KK
UD Trucks Corp
Original Assignee
MIYAMOTO KEIHOUKI KK
UD Trucks Corp
Priority date (The priority date is an assumption and is not a legal conclusion. Google has not performed a legal analysis and makes no representation as to the accuracy of the date listed.)
Filing date
Publication date
Application filed by MIYAMOTO KEIHOUKI KK, UD Trucks Corp filed Critical MIYAMOTO KEIHOUKI KK
Priority to JP2004315143A priority Critical patent/JP4466953B2/ja
Publication of JP2006123741A publication Critical patent/JP2006123741A/ja
Application granted granted Critical
Publication of JP4466953B2 publication Critical patent/JP4466953B2/ja
Anticipated expiration legal-status Critical
Expired - Fee Related legal-status Critical Current

Links

Images

Landscapes

  • Lighting Device Outwards From Vehicle And Optical Signal (AREA)

Abstract

【課題】ターンシグナルのスイッチレバーを中立に戻す際に、誤って、反対側の接点と接触してターンシグナルランプを点滅させることなく確実に方向指示を行うとともに、制御回路中の冷却が十分に成され、機能を満たすために必要とされる電子部品が余裕を持って回路中に搭載出来る自動車用ターンシグナル装置の提供。
【解決手段】ターンシグナルスイッチ(1)と、ターンシグナルランプ(21,22)と、ターンシグナルスイッチ(1)とターンシグナルランプ(21,22)とを接続する回路中(L1〜L4)に介装されたシグナル制御回路(3)とを有し、該シグナル制御回路(3)は、ターンシグナルスイッチ(1)が閉じた際にターンシグナルランプ(21,22)に電流が流れる時間を所定時間だけ遅延させ、且つターンシグナルスイッチ(1)が閉じた時間が所定時間よりも短い場合にはターンシグナルランプ(21,22)に電流を流さない様に構成されている。
【選択図】図1

Description

本発明は、自動車が右折或いは左折する際にターンシグナルランプを点滅させる自動車用ターンシグナル装置に関する。
図7に示すように、スイッチOFFポイント(中立点)Pnがスイッチ中央にあり、スイッチレバー10が揺動中心1p周りに揺動し、スイッチレバー10に設けた接触部10cがその揺動によって左右の接点12,11に接触することで、図示しないターンシグナルランプが点滅するターンシグナル装置がある。そのターンシグナル装置には、スイッチレバー10の揺動中心1pの近傍に中立復帰用のリターンスプリング13が設けてある。
係るターンシグナル装置において、スイッチレバー10を操作した後、中立位置にスイッチレバー10を戻す場合、操作力が大き過ぎたり、スイッチレバー10の揺動中心の近傍に設けた中立復帰用のリターンスプリング13の反力が大き過ぎたりして、スイッチレバー10の操作後に、中立位置を通り越し反対の接点に接触してしまい、ターンシグナルランプを誤って点滅させてしまう場合がある。
図6〜図9は、ターンシグナル装置のスイッチレバー10を操作した際に生じる上述したような問題の起こる過程を図番順に示した状態図である。図6〜図9を参照して、係る問題の起こる過程を説明する。
先ず、図示しない自動車は右折しようとして、ドライバーは図6に示すように、右にスイッチレバー10を倒し、レバーの接触部10cをスイッチ本体1の右側用の接点11に接触させることによって、図示しない右側のターンシグナルランプを点滅させる。
右折が終了し、ドライバーは図7で示すようにスイッチレバー10を中立位置に戻す。
しかし、ドライバーのレバーを戻す操作力が大きいか、リターンスプリング13の反力が大きすぎるために、スイッチレバー10は中立点を通り越し、図8に示す様に、反対側の接点(左折用接点)12にスイッチレバー10の接触部10cが接触してしまい、ターンシグナルランプを誤操作してしまう(図示しない左折用ランプを点滅させてしまう)。
そこで、図9に示すように、ドライバーは慌ててサイドスイッチレバー10を中立位置に戻すこととなる。
その間、後続車、又は対向車は、当該車両の誤った情報発信に戸惑い、或いはその誤った情報を信じて、事故を誘発させる可能性もある。
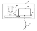
一方、大電流を流す必要がある自動車用ターンシグナル装置などでは、設置場所がステアリングコラム上の限られたスペースであるため、省スペースの電子部品で構成されている。係る電子部品は発熱を嫌うため、図10に示すように発熱対策が必要となる。
図10は、上述したような自動車用ターンシグナル装置の制御部、即ち、ユニットケース5Aの横断面を示した図である。
ユニットケース5Aの下部には回路基板5Bが配置され、その回路基盤5Bの図示の左方上面に制御素子5Cが取付けられる。その制御素子5Cは高温を嫌うため制御素子5Cの上面にヒートシンク5Dが配置される。一方、ユニットケース5Aの右方には回路の抵抗5Rを配置しなくてはならず、例えば、本発明で具備されるコンデンサを含む遅延回路(遅延タイマ)等の有用機能を付帯するための素子5Gを搭載することが出来ない(オプション素子の搭載が出来ない)。
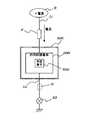
また、上述したような比較的大きな電流を扱う電子回路等においては、図11に示すように、高温に弱い内部素子50Cを含む内部回路基盤50Bを有するユニット50Aではユニット50Aと電源Bとを接続する回路Liの途中に、過電流防止のフューズFが必要となる。
即ち、図11において、ユニット50Aと出力機器であるランプ等20の間の回路Loの或る箇所Nにおいてショートすると、内部回路基板50BとフューズFに過電流が流れて、内部回路基板50Bが破損する前にフューズFが切れて、内部回路基板50Bの破損を防止する様に構成している。
従って、フューズFが切れた際には、フューズFを新品に交換する必要があった。
ここで、ステアリング操作に伴い、自動的に復帰する方向指示器用操作スイッチが中立位置に復帰するが、それから方向指示器灯及びコーナリングランプの点滅までの時間を遅らせ、車両の進行方向及び前方確認をより確実に出来る様にした技術が提案されている (例えば特許文献1参照)。
然るに、係る技術は、主として右折、或いは左折の際に、右、或いは左の路肩を照らすコーナリングランプの作動までの時間を調整することを目的としており、前記問題点、即ち、スイッチレバーを中立に戻す際に、誤って、反対側の接点と接触してターンシグナルランプを点滅させると言う問題を解消するものではない。
また、発熱部品の冷却装置として、取付け基盤の表側に対する冷却のための装置空間を減らして小型化及び軽量化の実現と機器全体のレイアウトに自由度を持たせる技術が提案されている(例えば特許文献2参照)。
係る技術は、専ら電子部品のレイアウトを工夫することによって冷却用空気などの流れを促進する技術であって、相変わらず冷却のためのヒートシンクを多用しており前記問題、即ち、「有用機能を果たすための追加(オプション)素子の搭載が出来ない」と言う問題に対処出来るものではない。
特開平6−32170号公報 特開平11−238986号公報
従って本発明の目的は、ターンシグナルのスイッチレバーを中立に戻す際に、誤って、反対側の接点と接触してターンシグナルランプを点滅させることなく、確実に方向指示を行うとともに、制御回路中の冷却が十分に行われ、機能を満たすために必要とされる電子部品が余裕を持って回路中に搭載出来る自動車用ターンシグナル装置を提供することである。
本発明の自動車用ターンシグナル装置は、ターンシグナルスイッチ(1)と、ターンシグナルランプ(21,22)と、ターンシグナルスイッチ(1)とターンシグナルランプ(21,22)とを接続する回路(L1〜L4)中に介装されたシグナル制御回路(3)とを有し、該シグナル制御回路(3)は、ターンシグナルスイッチ(1)が閉じた際にターンシグナルランプ(21,22)に電流が流れる時間を所定時間だけ遅延させ、且つターンシグナルスイッチ(1)が閉じた時間が所定時間よりも短い場合にはターンシグナルランプ(21,22)に電流を流さない様に構成されている(請求項1)。
前記シグナル制御回路(3)はコンデンサを含む遅延手段(信号出力制御部としての遅延回路、遅延タイマ5)を有しており、ターンシグナルスイッチ(1)が閉じてから遅延回路(5)のコンデンサがオーバーロードするまでの間はターンシグナルランプ(21,22)へ電流が流れず、コンデンサがオーバーロードしたならばターンシグナルランプ(21,22)へ電流が流れ、コンデンサがオーバーロードする以前にターンシグナルスイッチ(1)が開いたならばコンデンサに溜まった電荷が放電する様に構成されている(請求項2)。
また、本発明の自動車用ターンシグナル装置は、ターンシグナルスイッチ(1)と、ターンシグナルランプ(21,22)と、ターンシグナルスイッチ(1)とターンシグナルランプ(21,22)とを接続する回路(L1〜L4)中に介装されたシグナル制御回路(3)とを有し、該シグナル制御回路(3)の回路基板(511)には過電流保護制御素子(513)が設けられており、該回路基板(511)の抵抗(514)が過電流保護制御素子(513)と同一投影部分に設けられている(請求項3)。
或いは、本発明の自動車用ターンシグナル装置は、ターンシグナルスイッチ(1)と、ターンシグナルランプ(21,22)と、ターンシグナルスイッチ(1)とターンシグナルランプ(21,22)とを接続する回路(L1〜L4)中に介装されたシグナル制御回路(3)とを有し、該シグナル制御回路(3)には、ターンシグナルスイッチ(1)が閉じた際にターンシグナルランプ(21,22)に電流が流れる時間を所定時間だけ遅延させ且つターンシグナルスイッチ(1)が閉じた時間が所定時間よりも短い場合にはターンシグナルランプ(21,22)に電流が流さない様に構成されており、該シグナル制御回路(3)の回路基板(511)には過電流保護制御素子(513)が設けられており、該回路基板(511)の抵抗(514)が過電流保護制御素子(513)と同一投影部分に設けられている(請求項4)。
前記シグナル制御回路(3)はコンデンサを含む遅延手段(信号出力制御部としての遅延回路、遅延タイマ5)を有しており、ターンシグナルスイッチ(1)が閉じてから遅延回路(5)のコンデンサがオーバーロードするまでの間はターンシグナルランプ(21,22)へ電流が流れず、コンデンサがオーバーロードしたならばターンシグナルランプ(21,22)へ電流が流れ、コンデンサがオーバーロードする以前にターンシグナルスイッチ(1)が開いたならばコンデンサに溜まった電荷が放電する様に構成されている(請求項5)。
上述の本発明の自動車用ターンシグナル装置によれば、ターンシグナルスイッチ(1)と、ターンシグナルランプ(21,22)と、ターンシグナルスイッチ(1)とターンシグナルランプ(21,22)とを接続する回路(L1〜L4)中に介装されたシグナル制御回路(3)とを有し、該シグナル制御回路(3)は、ターンシグナルスイッチ(1)が閉じた際にターンシグナルランプ(21,22)に電流が流れる時間を所定時間だけ遅延させ、且つターンシグナルスイッチ(1)が閉じた時間が所定時間よりも短い場合にはターンシグナルランプ(21,22)に電流を流さない様に構成されているため、ターンシグナルスイッチ(1)を中立に戻す際に、誤って、反対側の接点と接触しても、ターンシグナルランプ(21,22)に電流が流れる時間を所定時間だけ遅延させ、且つターンシグナルスイッチ(1)が閉じた時間が所定時間よりも短い場合にはターンシグナルランプ(21,22)に電流を流さないので、逆方向のターンシグナルランプを点滅させることなく確実に方向指示を行うことが出来る。
詳細には、前記シグナル制御回路(3)はコンデンサを含む遅延手段(信号出力制御部としての遅延回路、遅延タイマ5)を有しており、ターンシグナルスイッチ(1)が閉じてから遅延回路(5)のコンデンサがオーバーロードするまでの間はターンシグナルランプ(21,22)へ電流が流れず、コンデンサがオーバーロードしたならばターンシグナルランプ(21,22)へ電流が流れ、コンデンサがオーバーロードする以前にターンシグナルスイッチ(1)が開いたならばコンデンサに溜まった電荷が放電する様に構成されているので、確実に方向指示を行うことが出来る。
また、本発明の自動車用ターンシグナル装置は、ターンシグナルスイッチ(1)と、ターンシグナルランプ(21,22)と、ターンシグナルスイッチ(1)とターンシグナルランプ(21,22)とを接続する回路中(L1〜L4)に介装されたシグナル制御回路(3)とを有し、該シグナル制御回路(3)の回路基板(511)には過電流保護制御素子(513)が設けられており、従来単独で設置位置を占めていた該回路基板(511)の抵抗(514)が過電流保護制御素子(513)と同一投影部分に設けられているので、従来の抵抗用単独設置場所が空き、回路内のその空き場所に有効なスペースが確保でき、前記遅延手段(5)を構成する素子類が搭載可能となる。
或いは、本発明の自動車用ターンシグナル装置によれば、ターンシグナルスイッチ(1)と、ターンシグナルランプ(21,22)と、ターンシグナルスイッチ(1)とターンシグナルランプ(21,22)とを接続する回路(L1〜L4)中に介装されたシグナル制御回路(3)とを有し、該シグナル制御回路(3)には、ターンシグナルスイッチ(1)が閉じた際にターンシグナルランプ(21,22)に電流が流れる時間を所定時間だけ遅延させ且つターンシグナルスイッチ(1)が閉じた時間が所定時間よりも短い場合にはターンシグナルランプ(21,22)に電流が流さない様に構成されており、該シグナル制御回路(3)の回路基板(511)には過電流保護制御素子(513)が設けられており、該回路基板(511)の抵抗(514)が過電流保護制御素子(513)と同一投影部分に設けられているので、ターンシグナルスイッチ(1)を中立に戻す際に、誤って、反対側の接点と接触しても、ターンシグナルランプ(21,22)に電流が流れる時間を所定時間だけ遅延させ、且つターンシグナルスイッチ(1)が閉じた時間が所定時間よりも短い場合にはターンシグナルランプ(21,22)に電流を流さないので、逆方向のターンシグナルランプを点滅させることなく確実に方向指示を行うことが出来、且つ、従来の抵抗用単独設置場所が空き、回路内のその空き場所に有効なスペースが確保でき、前記遅延手段(5)を構成する素子類が搭載可能となる。
以下、添付図面を参照して、本発明の実施形態について説明する。
図1において、本発明の実施形態の自動車用ターンシグナル装置は、例えば、図示しないステアリングコラムに取付けられたターンシグナルスイッチ1と、ターンシグナルランプ21(右折用)、22(左折用)と、シグナル制御用回路3と、ターンシグナルスイッチ1とシグナル制御用回路3とを接続する回路L1、L2及びシグナル制御用回路3とターンシグナルランプ2とを接続する回路L3、L4を有している。
前記ターンシグナルスイッチ1は、回動中心1p周りに揺動するスイッチレバー10と、該スイッチレバー10が左右に所定角度揺動した際にスイッチレバー10に形成した接触部10cと接触する接点11、12と、回動中心1pの近傍に設けられスイッチレバー10を常に中立位置に復帰させようとするリターンスプリング13とから構成されている。
スイッチレバー10の接触部10cには、回動中心1pを経由して電源BとラインL0によって電気的に接続されている。
また、前記接点11はラインL1、接点12はラインL2によって、夫々後述するシグナル制御回路3のラインL11及びL12と接続されている。
ここで、接点11及びラインL11は、例えば後述の右側のターンシグナルランプ21に対応し、接点12及びラインL12は後述の左側のターンシグナルランプ22に対応している。
前記シグナル制御回路3は、信号電圧の大きさを判断してその信号がスイッチとして機能させるべきものなのかを判定する電圧判定部4とスイッチ信号を遅延させる信号出力制御部である遅延回路(遅延タイマ)5とスイッチ回路(スイッチング部)6とを有している。
遅延回路5は、左右のターンシグナルランプ21,22に対応する様に2系統のユニットケース51,52を有している。
図2は、左右のユニットケースの内の、例えば右側のユニットケース51の内部断面を示している。尚、左側のユニットケース52も同様の構成をしている。
ユニットケース51内には、回路基板511上にコンデンサを含む回路が集積されて素子化された遅延タイマ512(左側の遅延タイマは522)と、過電流により発生する熱が一定以上になると電流を遮断する過電流保護制御素子513が配置されており、その過電流保護制御素子513の上方には、過電流保護制御素子513を覆うように抵抗514が配置されている。
即ち、図2を上方から見た場合、回路基板511の抵抗514が過電流保護制御素子513と同一投影部分に設けられている。
信号出力制御部5の前記遅延タイマ512(左であれば522)は、遅延タイマを構成する回路に図示しないコンデンサを含んでおり、ターンシグナルスイッチ1が閉じてから該コンデンサがオーバロードするまでの間はターンシグナルランプ2(右は21、左は22)には電流が流れず、コンデンサがオーバロードしたならばターンシグナルランプ2へ電流を流すように構成されている。
ここで、従来技術として取り上げた問題点(ランプ電流のような大電流による
発熱から基盤を守るため、電流が流れる素子にはヒートシンクを取付ける必要があり、その大きなヒートシンクのため回路内レイアウトに制約が生じる(図10参照)。)に対しては、以下の様に対処出来る。
即ち、信号出力制御部5に過電流保護制御素子513を装備することにより、従来必要であったヒートシンクを不要とし、ヒートシンクを配置しようとした場所(過電流保護制御素子)の上方を覆う様に回路の抵抗514を配置することによって、従来、抵抗を配置していた場所(図10参照)には、コンデンサを含む回路が集積されて素子化された遅延タイマ512を配置することが出来る。
図1に戻り、スイッチ回路6は、右折用のスイッチ7と左折用のスイッチ8を有している。
右折用のスイッチ7はスイッチ部71と励磁部72と接点73,74とアース部75とから構成されている。左折用のスイッチ8はスイッチ部81と励磁部82と接点83,84とアース部85とから構成されている。
前記右折用のラインL1に接続されたシグナル制御回路内のラインL11は前記電圧判定部4及び信号出力制御部5の右折用ユニットケース51を経由して、右折用のスイッチ7の励磁部72に接続されている。
また、左折用のラインL2に接続されたシグナル制御回路内のラインL12は前記電圧判定部4及び信号出力制御部5の左折用ユニットケース52を経由して、左折用のスイッチ8の励磁部82に接続されている。
右折用スイッチ7の一方の接点73はラインL10、分岐ラインL31によって電源Bと接続され、左折用のスイッチ8の一方の接点83はラインL10、分岐ラインL41によって電源Bと接続されている。
右折用スイッチ7の他方の接点74はラインL3によって右折用のターンシグナルランプ21と接続され、左折用のスイッチ8の他方の接点84はラインL4によって左折用のターンシグナルランプ22と接続されている。
図3は、図1を簡略化して描いたブロック図である。図1では、本来車両の前後に有るターンシグナルランプを、便宜上、例えば、前後の何れか一方のみを描いているが、図3では前後を分離して描いている。即ち、図3の符号末尾のサフィックスfは前側を、サフィックスrは後側を示す。また、図3の符号Leは図1のスイッチ7、8の励磁部72、82のアースをまとめて示している。
尚、従来電源ライン中に介装された過電流対応のフューズFは、過電流保護制御素子513を遅延回路5内に設けたことによって廃止することが出来る。
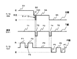
図4は、ターンシグナルスイッチ1の操作と、遅延タイマ512の作動と、ターンシグナルランプ2の作動とを同一時間経過上で示した制御特性図である。
この特性図に従って、当該ターンシグナル装置を操作した場合の動作について図1及び、ターンシグナルスイッチの一連の操作を示した図6〜図9をも参照して説明する。
先ず、右にスイッチレバー10を倒し、レバーの接触部10cを右折用の接点11に接触させる(図1及び図6参照)。
この時ターンシグナルスイッチ1の出力信号を示す特性線であるS線はS1のステップで、遅延タイマ512の特性(T線)はタイマ機能が働いてはいなくて、T1の状態を維持している。
ターンシグナルランプは特性線P線で示す様に、点滅を繰り返す(点灯がP1、P3、滅がP2、P4の一部である)。
その後、スイッチレバー10を中立に戻す(図7の状態図で、出力信号特性S線はS2のステップ)が、スイッチレバー10付け根のリターンスプリング13(図1参照)の反力が強すぎてスイッチレバー10の接触部10cが左側の接点12に接触してしまい(図8の状態、出力信号特性S線はS3のステップ;オーバラン状態)、従来通りであれば、ターンシグナルランプを点滅させてしまうように信号が流される。
ところが、本実施形態では、前述した左折用の遅延タイマ522(図2参照)の遅延機能(T線のステップT2)によって、前記S3のステップ、即ち左ターンシグナルランプを点滅させる信号はターンシグナルランプ側には送られない。
詳細には、前述したように、スイッチレバー10の接触部10cが左折用の接点12に接触してから遅延回路(遅延タイマ)の図示しないコンデンサがオーバロードするまでの間(ステップT2)はターンシグナルランプ22には電流は流れない。
その後、スイッチレバー10は中立位置に戻る(出力信号特性S線はS4のステップ、遅延タイマの特性はステップT3の状態、従って、ターンシグナルランプも点滅しないでステップP4の状態)。
更にその後、自動車は左折しようとしてスイッチレバー10を今度は図8と同様に左に傾ける。すると、出力信号特性S線はS5のステップに切換わる。
遅延タイマはS5のステップと同時に遅延を開始し(T4のステップ)、従って、左折用のターンシグナルランプ22の点滅(P5、P7)開始は、T4のステップが終了した後に開始される。
上述した構成の本発明の実施形態によれば、ターンシグナルスイッチ1を中立に戻す際に、誤って、反対側の接点と接触しても、ターンシグナルランプ21,22に電流が流れる時間を所定時間だけ遅延させ、且つターンシグナルスイッチ1が閉じた時間が所定時間よりも短い場合にはターンシグナルランプ21,22に電流を流さないので、逆方向のターンシグナルランプを点滅させることなく確実に方向指示を行うことが出来る。
即ち、シグナル制御回路3はコンデンサを含む遅延回路(遅延タイマ)5を有しており、ターンシグナルスイッチ1が閉じてから遅延回路5の図示しないコンデンサがオーバーロードするまでの間はターンシグナルランプ21,22へ電流が流れず、コンデンサがオーバーロードしたならばターンシグナルランプ21,22へ電流が流れ、コンデンサがオーバーロードする以前にターンシグナルスイッチ1が開いたならばコンデンサに溜まった電荷が放電する様に構成されているので、確実に方向指示を行うことが出来る。
また、本発明の実施形態の自動車用ターンシグナル装置によれば、シグナル制御回路3の遅延回路5の回路基板511には過電流保護制御素子513が設けられており、従来単独で設置位置を占めていた(図10参照)回路基板511の抵抗514が過電流保護制御素子513と同一投影部分に設けられているので、従来の抵抗用単独設置場所が空き、回路内のその空き場所に有効なスペースが確保でき、前記遅延回路5を構成する素子類512が搭載可能となる。
本発明の実施形態は、図5で示すように応用が可能である。
即ち、従来例で説明した図11の様に、過電流防止のために電子ユニット50Aへの電力供給ラインLiにフューズFを介装させた場合でも、図5に示すように、内部回路基板50Bに装備する制御素子として、過電流保護制御素子55Cを用いれば、電子ユニット50Aへの電力供給ラインLiに介装したフューズFを廃止することも出来る。
何となれば、フューズFの有無に関わらず、電力供給ラインLiから内部回路基板50Bに過電流が流れ込んでも、過電流により発生する熱が一定以上となると、過電流保護素子55Cは電流を遮断して回路基板50Bを保護するからである。
図示の実施形態はあくまでも例示であり、本発明の技術的範囲を限定する趣旨の記述ではないことを付記する。
本発明の実施形態の全体構成を示したブロック図。 遅延手段を内蔵したユニットケースの断面図。 図1を簡略化して示したブロック図。 本発明の第1実施形態の制御方法を示したフローチャート。 本発明の実施形態をターンシグナル装置以外に応用した場合の要部の簡略構成図。 ターンシグナルスイッチの一連の操作状態を示した状態図で、先ず右にスイッチレバーを倒した時の状態図。 ターンシグナルスイッチの一連の操作状態を示した状態図で、スイッチレバーを倒した後、リターンスプリングの反力で中立位置までレバーが戻った時の状態図。 ターンシグナルスイッチの一連の操作状態を示した状態図で、スイッチレバーを倒し、リターンスプリングの反力で中立位置までレバーが戻り、更に慣性力で中立位置を越えた位置までレバーが傾いた時の状態図。 ターンシグナルスイッチの一連の操作状態を示した状態図で、スイッチレバーを倒し、リターンスプリングの反力で中立位置までレバーが戻り、更に慣性力で中立位置を越えた位置までレバーが傾き、その後、リターンスプリングに反対方向の反力が働き、中立位置までレバーが戻り、静止した時の状態図。 従来技術において、電子機器のユニットケース内の制御素子の上方に冷却用のヒートシンクを配置した例を説明する断面図。 従来技術において、電子機器への電力供給ラインにフューズを介装しなくてはならない理由を説明する説明図。
符号の説明
1・・・ターンシグナルスイッチ
3・・・シグナル制御用回路
4・・・電圧判定部
5・・・遅延回路
6・・・スイッチ回路
7・・・右側スイッチ
8・・・左側スイッチ
10・・・スイッチレバー
11、12・・・接点
21・・・右側のターンシグナルランプ
22・・・左側のターンシグナルランプ
51、52・・・ユニットケース
71、81・・・スイッチ部
72、82・・・励磁部
73、74;83、84・・・接点
511・・・回路基板
512・・・遅延タイマ
513・・・過電流保護制御素子
514・・・抵抗
B・・・電源
L1〜L4・・・(電源)ライン

Claims (5)

  1. ターンシグナルスイッチと、ターンシグナルランプと、ターンシグナルスイッチとターンシグナルランプとを接続する回路中に介装されたシグナル制御回路とを有し、該シグナル制御回路は、ターンシグナルスイッチが閉じた際にターンシグナルランプに電流が流れる時間を所定時間だけ遅延させ且つターンシグナルスイッチが閉じた時間が所定時間よりも短い場合にはターンシグナルランプに電流を流さない様に構成されていることを特徴とする自動車用ターンシグナル装置。
  2. 前記シグナル制御回路はコンデンサを含む遅延手段を有しており、ターンシグナルスイッチが閉じてから遅延回路のコンデンサがオーバーロードするまでの間はターンシグナルランプへ電流が流れず、コンデンサがオーバーロードしたならばターンシグナルランプへ電流が流れ、コンデンサがオーバーロードする以前にターンシグナルスイッチが開いたならばコンデンサに溜まった電荷が放電する様に構成されている請求項1の自動車用ターンシグナル装置。
  3. ターンシグナルスイッチと、ターンシグナルランプと、ターンシグナルスイッチとターンシグナルランプとを接続する回路中に介装されたシグナル制御回路とを有し、該シグナル制御回路の回路基板には過電流保護制御素子が設けられており、該回路基板の抵抗が過電流保護制御素子と同一投影部分に設けられていることを特徴とする自動車用ターンシグナル装置。
  4. ターンシグナルスイッチと、ターンシグナルランプと、ターンシグナルスイッチとターンシグナルランプとを接続する回路中に介装されたシグナル制御回路とを有し、該シグナル制御回路には、ターンシグナルスイッチが閉じた際にターンシグナルランプに電流が流れる時間を所定時間だけ遅延させ且つターンシグナルスイッチが閉じた時間が所定時間よりも短い場合にはターンシグナルランプに電流が流さない様に構成されており、該シグナル制御回路の回路基板には過電流保護制御素子が設けられており、該回路基板の抵抗が過電流保護制御素子と同一投影部分に設けられていることを特徴とする自動車用ターンシグナル装置。
  5. 前記シグナル制御回路はコンデンサを含む遅延手段を有しており、ターンシグナルスイッチが閉じてから遅延回路のコンデンサがオーバーロードするまでの間はターンシグナルランプへ電流が流れず、コンデンサがオーバーロードしたならばターンシグナルランプへ電流が流れ、コンデンサがオーバーロードする以前にターンシグナルスイッチが開いたならばコンデンサに溜まった電荷が放電し以ってターンシグナルランプへは電流が流れない様に構成されている請求項4の自動車用ターンシグナル装置。
JP2004315143A 2004-10-29 2004-10-29 自動車用ターンシグナル装置 Expired - Fee Related JP4466953B2 (ja)

Priority Applications (1)

Application Number Priority Date Filing Date Title
JP2004315143A JP4466953B2 (ja) 2004-10-29 2004-10-29 自動車用ターンシグナル装置

Applications Claiming Priority (1)

Application Number Priority Date Filing Date Title
JP2004315143A JP4466953B2 (ja) 2004-10-29 2004-10-29 自動車用ターンシグナル装置

Publications (2)

Publication Number Publication Date
JP2006123741A true JP2006123741A (ja) 2006-05-18
JP4466953B2 JP4466953B2 (ja) 2010-05-26

Family

ID=36718880

Family Applications (1)

Application Number Title Priority Date Filing Date
JP2004315143A Expired - Fee Related JP4466953B2 (ja) 2004-10-29 2004-10-29 自動車用ターンシグナル装置

Country Status (1)

Country Link
JP (1) JP4466953B2 (ja)

Cited By (2)

* Cited by examiner, † Cited by third party
Publication number Priority date Publication date Assignee Title
JP5577457B2 (ja) * 2011-03-31 2014-08-20 本田技研工業株式会社 車両の灯火制御システム
JP2017178068A (ja) * 2016-03-30 2017-10-05 株式会社デンソー 走行支援装置

Cited By (4)

* Cited by examiner, † Cited by third party
Publication number Priority date Publication date Assignee Title
JP5577457B2 (ja) * 2011-03-31 2014-08-20 本田技研工業株式会社 車両の灯火制御システム
US9216686B2 (en) 2011-03-31 2015-12-22 Honda Motor Co., Ltd. Vehicle lighting control system
JP2017178068A (ja) * 2016-03-30 2017-10-05 株式会社デンソー 走行支援装置
WO2017170892A1 (ja) * 2016-03-30 2017-10-05 株式会社デンソー 走行支援装置

Also Published As

Publication number Publication date
JP4466953B2 (ja) 2010-05-26

Similar Documents

Publication Publication Date Title
CN102105346B (zh) 车辆的操纵开关
US8971003B2 (en) Electronic control device including interrupt wire
JP4466953B2 (ja) 自動車用ターンシグナル装置
JP4181024B2 (ja) 車両用方向指示装置
JP2012183901A (ja) 車両用電源装置
EP1551046B1 (en) Digital wake-up signal from switch transition of two analog signals
TWM612601U (zh) 機車用傾斜偏移之振動警示裝置
JP3107437U (ja) 自動車、オートバイの後方車両告知ウィンカー
CN113383613B (zh) 车辆的照明电路系统
KR200392063Y1 (ko) 자동차용 전조등의 하이빔 전환 장치
JP2002144958A (ja) 車両用ランプの点灯制御装置
JP5163632B2 (ja) 調光ガラス
KR101321139B1 (ko) 자동차 측조등 제어 장치 및 방법
EP1488955A2 (en) Lighting device for vehicles
KR20000004257U (ko) 차량 배터리의 방전 방지 장치
JP2959749B2 (ja) 車両用ライト制御装置
JP2007045257A (ja) 車両用前照灯装置
JP2008149952A (ja) 車両配線システム
TW200932603A (en) Scooter type vehicle
JP2010285052A (ja) 旋回方向指示装置
JPS58214430A (ja) 警報回路
JP2000108782A (ja) ターンシグナルライトの自動動作機構
KR100203489B1 (ko) 자동차의 계기판조명등과 후미등 점등 장치
KR0152511B1 (ko) 자동차의 혼 및 비상등 스위치 구조체
KR200250455Y1 (ko) 안개등작동시스템

Legal Events

Date Code Title Description
A621 Written request for application examination

Free format text: JAPANESE INTERMEDIATE CODE: A621

Effective date: 20070522

A977 Report on retrieval

Free format text: JAPANESE INTERMEDIATE CODE: A971007

Effective date: 20090409

A131 Notification of reasons for refusal

Free format text: JAPANESE INTERMEDIATE CODE: A131

Effective date: 20090415

A521 Written amendment

Free format text: JAPANESE INTERMEDIATE CODE: A523

Effective date: 20090604

A131 Notification of reasons for refusal

Free format text: JAPANESE INTERMEDIATE CODE: A131

Effective date: 20090709

TRDD Decision of grant or rejection written
A01 Written decision to grant a patent or to grant a registration (utility model)

Free format text: JAPANESE INTERMEDIATE CODE: A01

Effective date: 20100218

A01 Written decision to grant a patent or to grant a registration (utility model)

Free format text: JAPANESE INTERMEDIATE CODE: A01

A61 First payment of annual fees (during grant procedure)

Free format text: JAPANESE INTERMEDIATE CODE: A61

Effective date: 20100218

R150 Certificate of patent or registration of utility model

Ref document number: 4466953

Country of ref document: JP

Free format text: JAPANESE INTERMEDIATE CODE: R150

Free format text: JAPANESE INTERMEDIATE CODE: R150

FPAY Renewal fee payment (event date is renewal date of database)

Free format text: PAYMENT UNTIL: 20130305

Year of fee payment: 3

FPAY Renewal fee payment (event date is renewal date of database)

Free format text: PAYMENT UNTIL: 20160305

Year of fee payment: 6

R250 Receipt of annual fees

Free format text: JAPANESE INTERMEDIATE CODE: R250

R250 Receipt of annual fees

Free format text: JAPANESE INTERMEDIATE CODE: R250

R250 Receipt of annual fees

Free format text: JAPANESE INTERMEDIATE CODE: R250

R250 Receipt of annual fees

Free format text: JAPANESE INTERMEDIATE CODE: R250

LAPS Cancellation because of no payment of annual fees