JP2005299958A - 振動乾燥装置 - Google Patents

振動乾燥装置 Download PDF

Info

Publication number
JP2005299958A
JP2005299958A JP2004113237A JP2004113237A JP2005299958A JP 2005299958 A JP2005299958 A JP 2005299958A JP 2004113237 A JP2004113237 A JP 2004113237A JP 2004113237 A JP2004113237 A JP 2004113237A JP 2005299958 A JP2005299958 A JP 2005299958A
Authority
JP
Japan
Prior art keywords
collapsing
container
valve
vibration
powdery
Prior art date
Legal status (The legal status is an assumption and is not a legal conclusion. Google has not performed a legal analysis and makes no representation as to the accuracy of the status listed.)
Granted
Application number
JP2004113237A
Other languages
English (en)
Other versions
JP4313716B2 (ja
Inventor
Koichi Takeda
幸一 武田
Seiichi Oguro
誠一 小黒
Current Assignee (The listed assignees may be inaccurate. Google has not performed a legal analysis and makes no representation or warranty as to the accuracy of the list.)
Mitsubishi Materials Techno Corp
Original Assignee
Mitsubishi Materials Techno Corp
Priority date (The priority date is an assumption and is not a legal conclusion. Google has not performed a legal analysis and makes no representation as to the accuracy of the date listed.)
Filing date
Publication date
Application filed by Mitsubishi Materials Techno Corp filed Critical Mitsubishi Materials Techno Corp
Priority to JP2004113237A priority Critical patent/JP4313716B2/ja
Publication of JP2005299958A publication Critical patent/JP2005299958A/ja
Application granted granted Critical
Publication of JP4313716B2 publication Critical patent/JP4313716B2/ja
Anticipated expiration legal-status Critical
Expired - Lifetime legal-status Critical Current

Links

Images

Landscapes

  • Drying Of Solid Materials (AREA)

Abstract

【課題】 粉状物が容器内に付着しても粉状物の付着物を排出させ粉状物を排出できる。
【解決手段】 容器2の製品排出口3に付着している粉状物を突き崩す突き崩し手段10が設けられる。突き崩し手段10は、突き崩し体11と突き崩し体11をバルブ4内に挿通させ、バルブ4の下流部と上流部との間で進退可能に支持する支持装置20とを備える。突き崩し体11は、突き棒12と突き棒12の先端に水平に対向して設けられた崩し刃13と崩し刃13を中心とする外周に設けられた環状部材14とからなる。支持装置20は、突き崩し体11が下降してバルブ4の下流部に後退したとき、この下限位置を規制する規制部材21と、規制部材21によって突き崩し体11が下限位置にあるとき、突き崩し体を固定させておく固定機構30とを有している。
【選択図】 図1

Description

この発明は、振動乾燥装置に係り、特に粉状体を生成するのに好適な振動乾燥装置に関する。
例えば、粉状物(粒状物)の生成工程においては、その粉状物に含まれる水分を除去する必要があることから、粉状物を乾燥させる振動乾燥装置が提案されている(例えば、特許文献1参照。)。
従来の振動乾燥装置は、内部が中空とされた容器内に粉状体が送り込まれると、その容器を振動させながら加熱することにより、粉状体を互いに分散させつつ個々に含まれている水分を蒸発して乾燥させるようにしている。
そして、粉状物の乾燥が終了したとき、容器の製品排出口に設けられているバルブを開くと、粉状物がバルブの連絡孔から下流側のドレン管を経ることで容器から排出されるようになっている。そのため、容器の製品排出口には、これとドレン管を連絡する連絡孔を有するバルブが開閉可能に設けられている。
特開2000−74563号公報
このように、従来の振動乾燥装置においては、粉状物が乾燥すると、容器の製品排出口に設けられている開閉弁を開くことで、粉状物が外部に排出されるようになっているものの、例えば硝酸カリウム等の粉状物を取り扱った場合、その粉状物が容器の製品排出口付近で粉状物がこびり付くように固化してしまい、製品排出口を塞いた状態で粉状物が付着することがあり、そのような場合には、バルブを開けても、容器内の粉状物が排出されなくなるという問題があった。このような問題は、特に、水溶性結晶の粉状物の場合、水分の蒸発過程において、吸水固化されることに起因する。
この発明は、このような事情を考慮してなされたもので、粉状物が容器内に付着しても、粉状物の付着物を排出させ、粉状物を確実に排出できる振動乾燥装置を提供することを目的とする。
上記目的を達成するために、この発明は以下の手段を提案している。
請求項1に係る発明は、粉状体を振動させながら乾燥させる容器と、容器の製品排出口に開閉可能に設けられ、開いたとき、粉状物を前記製品排出口より通過させる連絡孔を有するバルブとを備えた振動乾燥装置において、前記バルブを開いた時点で、前記容器内の粉状体が排出されない場合、前記容器の製品排出口付近に付着した粉状体の付着物を突き崩す突き崩し手段を備えることを特徴とする。
これにより、容器内の粉状物が付着物となって製品排出口を塞いでも、突き崩し手段が操作されることで付着物を簡単に破砕するので、付着物の破片を排出させることができると共に、粉状物の排出を良好に行える。
請求項2に係る発明は、請求項1記載の振動乾燥装置において、前記突き崩し手段は、前記バルブの前記連絡孔を挿通して前記付着物を突き崩す突き崩し体と、該突き崩し体を、前記バルブより下流部と上流部との間で進退可能に支持する支持装置とを有することを特徴とする。
これにより、容器の振動加熱時には、突き崩し体をバルブより下流部に退避させておくと、容器に対する振動加熱を行い、粉状物の水分を蒸発させることができるので、振動乾燥装置の運転に何等支障をきたすことがない。
請求項3に係る発明は、請求項記載2の振動乾燥装置において、前記突き崩し体は、突き棒と、該突き棒の先端に装着された崩し刃と、該崩し刃を中心とする外周に設けられた環状部材とからなることを特徴とする。
これにより、突き崩し体の崩し刃及び環状部材によって付着物を突き崩したとき、突き崩された付着物が環状部材内を通過するので、付着物を容易に排出させることができ、簡単な構成で付着物の突き崩しと排出とを行える。
請求項4に係る発明は、請求項2記載の振動乾燥装置において、前記支持装置は、前記突き崩し体が前記バルブの下流部に後退したとき、その下限位置を規制する規制部材と、前記突き崩し体が下限位置にあるとき、前記突き崩し体を前記容器に対して固定しておく固定機構とを有することを特徴とする。
これにより、突き崩し体が後退して規制部材によって規制されたとき、固定機構が突き崩し体を容器に固定しておくので、容器の振動時に突き崩し体がガタツクことがない。
請求項5に係る発明は、請求項記載の振動乾燥装置において、前記固定機構は、軸回りに回転自在に支持され、前記突き崩し体を内部に挿通させて該突き崩し体と軸方向に相対移動可能に螺合する回転体と、該回転体の下部に軸方向に移動可能に螺着されたソケット部材と、回転体における前記ソケット部材より下部に着脱自在に引き掛けられ、かつ前記突き崩し体が下限位置に規制された位置にあるときに、該ソケット部材と係合される引き掛け部材とを有することを特徴とする。
これにより、容器の振動時、突き崩し体を確実に固定しておくことができ、突き崩し体の固定を簡単な作業で実現できる。
請求項1に係る発明によれば、容器内の粉状物が付着物となって製品排出口を塞いでも、突き崩し手段が操作されることで付着物を容易に破砕し、粉状物を排出させることができるので、種類等に拘わることなく付着物の破片と粉状物の排出とを確実に行える効果が得られる。
請求項2に係る発明によれば、容器の振動加熱時には、突き崩し体をバルブより下流部に退避させることにより、容器に対する振動加熱を行い、粉状物の水分を蒸発させることができるので、振動乾燥装置の運転に何等支障をきたすことがない効果が得られる。
請求項3に係る発明によれば、突き崩し体の崩し刃及び環状部材によって付着物を突き崩したとき、突き崩された付着物が環状部材内を通過するので、突き崩された付着物を排出させることができ、簡単な構成で付着物の突き崩しと排出とを行うことができる効果が得られる。
請求項4に係る発明によれば、突き崩し体が後退して規制部材によって規制されたとき、固定機構が突き崩し体を容器に対して固定しておくので、容器の振動時に突き崩し体がガタツクことがない効果が得られる。
請求項5に係る発明によれば、容器の振動時、突き崩し体を確実に固定しておくことができるので、突き崩し体の固定を簡単な作業で実現できる効果が得られる。
以下、図面を参照し、この発明の実施の形態について説明する。図1から図4はこの発明の一実施の形態に係る振動乾燥装置を示す図であって、図1は振動乾燥装置を示す一部破断の説明図、図2は図1における突き崩し手段を示す拡大断面図、図3は突き崩し手段の突き崩し体を示す拡大斜視図、図4は突き崩し手段の突き崩し体を下限位置まで退避させて規制した状態を示す拡大説明図である。
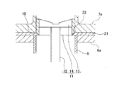
図1に示すこの実施形態の振動乾燥装置1は、内部が中空とされた容器2と、容器2の下部に設けられた製品排出口3にその製品排出口3を開閉させるバルブ4とが備えられている。そして、容器2内に粉状物が送り込まれたとき、容器2に図示しない駆動源によって振動が付与されることで、粉状物を振動させながら個々に分散させ、また図示しない加熱源によって加熱されることで、粉状物に含まれる水分が蒸発して除去され、粉状物の乾燥が終了した時点で、バルブ4を開くと、容器2内の粉状物が製品排出口3からバルブ4を通過してドレン管6に送り出されるようになっている。
バルブ4は、ボール状に形成されたいわゆるボールバルブをなしてあって、貫通して形成された連絡孔5を有しており、容器2の製品排出口3に固定されたバルブハウジング7に開閉可能に取り付けられている。このバルブ4は、バルブハウジング7に突出した操作部8が、図示しない操作ハンドルで軸回りに回転されたとき、連絡孔5が製品排出口4とドレン管6を連絡したり遮断したりすることで、開閉する。なお、図1では、連絡孔5が手前背紙方向に沿っていることから遮断され、バルブ4が閉じた状態を表している。
そして、この振動乾燥装置1は、容器2内の粉状物が製品排出口3付近に付着してあって製品排出口3を塞いだ場合に備え、図1及び図2に示すように、その製品排出口3に付着している粉状物を突き崩す突き崩し手段10が設けられている。
即ち、突き崩し手段10は、大別すると、粉状物の付着物を突き崩すための突き崩し体11と、この突き崩し体11をバルブ4内に挿通させ、バルブ4の下流部と上流部との間で進退可能に支持する支持装置20とを備えている。
突き崩し体11は、図3に示すように、突き棒12と、その突き棒12の先端に水平に対向して設けられた崩し刃13と、その崩し刃13を中心とする外周に設けられた環状部材14とからなり、崩し刃及び環状部材14がバルブ4の連絡孔5を挿通するようになっている。突き崩し体11の突き棒12は、図1及び図2に示すように、ドレン管6を挿通して外部に引き出されており、ドレン管6との挿通部分には、粉状物が外部に漏れないようシール材(図示せず)が設けられている。
支持装置20は、図2に示すように、突き崩し体11が下降してバルブ4の下流部に後退したとき、この下限位置を規制する規制部材21と、該規制部材21によって突き崩し体11が下限位置にあるとき、突き崩し体を固定させておく固定機構30とを有している。
規制部材21は、図4に示すように、バルブハウジング7の下部フランジ7aとドレン管6の上部フランジ部6a間に挟着された環状板からなっており、その内周部がバルブ4より下方位置の通路内に突設され、突き崩し体11が下降して退避したとき、内周部と当接することで突き崩し体11を下限位置に規制する。その場合、規制部材21の内周部には、上方から下方に至るに従い次第に内方に突出するように形成された傾斜面22が設けられている。
上記傾斜面21は、突き崩し体11の環状部材14の底部に形成された傾斜部15と対応する角度をなしている。
前記固定機構30は、図2及び図3に示すように、突き棒12と軸方向に相対移動可能に螺合する回転体31と、回転体31の下部に軸方向に移動可能に螺着されたソケット部材36と、ソケット部材36に着脱自在に引き掛けられる引き掛け部材してのピン38とからなっている。
回転体31は、突き棒12と螺合すると共に、軸回りに回転自在とされている。即ち、回転体31は、突き棒12を挿通し得る大きさの筒状をなしており、その内側に突き棒12の外周に設けられた雄ネジ12aと螺合する雌ネジ32が設けられ、外周部にハンドル(操作杆)33が突設されている。
また、図2に示すように、回転体31の外周の上部には、リング部材40と係合する係合溝34が設けられ、その係合により、回転体31が軸回りに回転自在に支持されている。リング部材40は容器2及びドレン管6に下方に延在する管41に固定された筒状体42の下端にボルト等によって取り付けられている。さらに、回転体31において、ハンドル33より下方の外周には、雄ネジ35が刻設されている。
ソケット部材36は、軸方向の長さが回転体31より遙かに短い筒状をなしており、その内周に上記雄ネジ35と螺合する雌ネジ37が設けられ、回転することで回転体31上で軸方向に移動できるようにしている。
ピン38は、装置の運転時には、突き棒12において、ソケット部材36より下方の外周に径方向に沿って設けられた貫通孔39に対し挿入されることで引き掛けられ、突き出し体11の使用時には、貫通孔39から抜かれるようになっている。
そして、ハンドル33を操作して回転体31を軸回りに回転すると、回転体31と螺合している突き棒12が軸方向に移動することで、つまり、突き崩し体11の崩し刃13及び環状部材14がバルブ4の連絡孔5を通過して上昇したり下降したりするようになっている。また、突き崩し体11が下限位置にあるとき、貫通孔39にピン38を挿通すると共に、そのピン38にソケット部材36が当接するまでソケット部材36を回して下降し、そのソケット部材36がピン38に当接することで、突き崩し体11が下限位置のままで固定されるようになっている。
この実施形態の振動乾燥装置1は、上記のように構成されるので、次に、その動作及び取り扱いについて以下に説明する。
まず、振動乾燥装置1の運転に際しては、係員によって突き崩し手段10の突き崩し体11を容器2に対して固定しておく。
つまり、係員により、図2に示すように、バルブ4が閉じた状態にあって、突き崩し体11の環状部材14が規制部材22に当接するまで下降することで突き崩し体11が下限位置に退避させられる一方、突き棒12の貫通孔39にピン38が挿通されると共に、またソケット部材36が回転して突き棒12に沿って下降され、該ソケット部材36がピン38と係合することで、突き崩し体11を容器2に対して固定した状態としておく。
このような状態にあるとき、容器2内に粉状体が送り込まれると、容器2が駆動されて振動しながら加熱されるので、粉状体が振動しつつかつ該粉状体に含まれている水分が除去されることで、粉状体の製品が生成される。そして、粉状体が生成された後、通常では、バルブ4が開かれた時点で、容器2内の粉状体が製品排出口3からバルブ4及び突き崩し体11内の空間を経てドレン管6に自重で排出される。
その際、容器内の粉状体の種類によっては、例えば硝酸カリウム等の種類からなる粉状体が用いられていると、その粉状体が容器2の製品排出口3を塞ぐように固化して付着することがあるので、バルブ4を開いても、粉状体が落下せず、排出されなくなる場合がある。
そこで、突き崩し手段10が係員によって操作される。即ち、突き崩し手段10の回転体31において、これと螺合しているソケット部材36を突き棒12上で回して上方にずらし、そのソケット部材36と、突き棒12に挿通しているピン38との係合を解除すると共に、突き棒12の貫通孔39からピン38を抜き取る。
次いで、ハンドル33を持って回転体31を軸回りに回転させことで、突き棒12を上方に移動させると、突き棒12の上部に設けられている崩し刃13と環状部材14が、バルブ4の連絡孔5を通過して図2の鎖線にて示すように製品排出口3の上部に向かい、製品排出口3を塞いでいる付着物に突き当たることができるので、その突き当たった衝撃で付着物が破壊され、下方に落下する。
この場合、崩し刃13の回りに環状部材14が設けられていることから、崩し刃13と環状部材14間の空間から付着物の破片及び粉状物が通過するので、粉状物はバルブ4の連絡孔5を通過してドレン管6へ導かれ、外部に排出されることとなる。
この実施形態によれば、容器2内の粉状物が付着物となって製品排出口3を塞いでも、突き崩し手段10が操作されることで粉状物の付着物を簡単に破砕することができるので、付着物の破片を排出させることができると共に、粉状物の排出を良好に行える。
また、容器2の振動加熱時には、突き崩し手段10の支持装置20により突き崩し体11をバルブ4より下流部に退避させた後、容器2に対する振動加熱を行い、粉状物の水分を蒸発させることができるので、振動乾燥装置1の運転に何等支障をきたすことがない。
しかも、突き崩し体11は、突き棒12と崩し刃13と環状部材14とで構成され、崩し刃13及び環状部材14によって付着物に突き崩したとき、付着物を突き崩すことができ、付着物の破片が環状部材14内を通過するので、付着物を容易に排出させることができ、簡単な構成で付着物の突き崩しと粉状物の排出とを行うことができる。
更に、装置の運転に際し、突き崩し体11が後退して支持装置20の規制部材21によって規制されたとき、固定機構30が突き崩し体11を容器2に対して固定しておくので、容器2の振動時に突き崩し体11がガタツクことがない。
そして、固定機構30が回転体31とソケット部材36と引き掛け部材としてのピン38とを有して構成され、容器2の振動時、突き崩し体11を確実に固定しておくことができるので、突き崩し体11の固定を簡単な作業で実現できる。
また、振動乾燥装置の運転時、容器2が振動するが、容器2が振動してもそれに拘わることなく、突き崩したい11を固定しておくことができる。即ち、上述したように、回転体31を軸回りに回転させることで、突き崩し体11を下限位置まで降下させ、その下限位置のとき、突き棒12にピン38を挿通すると共に、そのピン38に突き当たるまでソケットを回すと、突き崩し体11がバルブ4の下方位置に固定した状態となるので、容器2の振動に拘わることなく突き崩し体11をガタツクことなく保持しておくことができる。しかも、突き崩し体11がバルブ4の下方位置に固定されるので、バルブ4の開閉動作に支障をきたすということもない。
また更に、容器2に対し、突き崩し手段10を追加させることで突き崩し機能を果たすので、元々用いられている容器2の構造を何等変更する必要もなく、従って、従来品の装置にも容易に適用することができ、実用上有益となる。
なお、上記実施の形態において、バルブ4がボールバルブで構成された例を示したが、例えば水平方向にスライドすることで通路を開閉させるタイプのもので構成してもよい。また、突き崩し手段10の具体的構成は図示実施形態に限定されるものではなく、要は、所期の機能が得られればよい。
この発明の一実施の形態に係る振動乾燥装置を示す一部破断の説明図である。 図1における突き崩し手段を示す拡大断面図である。 突き崩し手段の突き崩し体を示す拡大斜視図である。 突き崩し手段の突き崩し体を規制部材により下限位置まで退避させて規制した状態を示す拡大説明図である。
符号の説明
1 振動乾燥装置
2 容器
3 製品排出口
4 バルブ
5 連絡孔
10 突き崩し手段
11 突き崩し体
12 突き棒
13 崩し刃
14 環状部材
20 支持装置
21 規制部材
30 固定機構
31 回転体
36 ソケット部材
38 ピン(引き掛け部材)


Claims (5)

  1. 粉状体を振動させながら乾燥させる容器と、容器の製品排出口に開閉可能に設けられ、開いたとき、粉状物を前記製品排出口より通過させる連絡孔を有するバルブとを備えた振動乾燥装置において、
    前記バルブを開いた時点で、前記容器内の粉状体が排出されない場合、前記容器の製品排出口付近に付着した粉状体の付着物を突き崩す突き崩し手段を備えることを特徴とする振動乾燥装置。
  2. 請求項1記載の振動乾燥装置において、
    前記突き崩し手段は、前記バルブの前記連絡孔を挿通して前記付着物を突き崩す突き崩し体と、該突き崩し体を、前記バルブより下流部と上流部との間で進退可能に支持する支持装置とを有することを特徴とする振動乾燥装置。
  3. 請求項2記載の振動乾燥装置において、
    前記突き崩し体は、突き棒と、該突き棒の先端に装着された崩し刃と、該崩し刃を中心とする外周に設けられた環状部材とからなることを特徴とする振動乾燥装置。
  4. 請求項2又は3記載の振動乾燥装置において、
    前記支持装置は、前記突き崩し体が前記バルブの下流部に後退したとき、その下限位置を規制する規制部材と、前記突き崩し体が下限位置にあるとき、前記突き崩し体を前記容器に対して固定しておく固定機構とを有することを特徴とする振動乾燥装置。
  5. 請求項4記載の振動乾燥装置において、
    前記固定機構は、軸回りに回転自在に支持され、前記突き崩し体を内部に挿通させて該突き崩し体と軸方向に相対移動可能に螺合する回転体と、該回転体の下部に軸方向に移動可能に螺着されたソケット部材と、前記回転体における前記ソケット部材より下部に着脱自在に引き掛けられ、かつ前記突き崩し体が下限位置に規制された位置にあるときに、該ソケット部材と係合される引き掛け部材とを有することを特徴とする振動乾燥装置。

JP2004113237A 2004-04-07 2004-04-07 振動乾燥装置 Expired - Lifetime JP4313716B2 (ja)

Priority Applications (1)

Application Number Priority Date Filing Date Title
JP2004113237A JP4313716B2 (ja) 2004-04-07 2004-04-07 振動乾燥装置

Applications Claiming Priority (1)

Application Number Priority Date Filing Date Title
JP2004113237A JP4313716B2 (ja) 2004-04-07 2004-04-07 振動乾燥装置

Related Child Applications (1)

Application Number Title Priority Date Filing Date
JP2008250054A Division JP2009002646A (ja) 2008-09-29 2008-09-29 振動乾燥装置

Publications (2)

Publication Number Publication Date
JP2005299958A true JP2005299958A (ja) 2005-10-27
JP4313716B2 JP4313716B2 (ja) 2009-08-12

Family

ID=35331707

Family Applications (1)

Application Number Title Priority Date Filing Date
JP2004113237A Expired - Lifetime JP4313716B2 (ja) 2004-04-07 2004-04-07 振動乾燥装置

Country Status (1)

Country Link
JP (1) JP4313716B2 (ja)

Cited By (2)

* Cited by examiner, † Cited by third party
Publication number Priority date Publication date Assignee Title
KR101402615B1 (ko) * 2013-12-09 2014-06-02 이채원 곡물 자판기
CN113566512A (zh) * 2021-07-10 2021-10-29 胡应雄 一种粘性材料烘干装置

Cited By (2)

* Cited by examiner, † Cited by third party
Publication number Priority date Publication date Assignee Title
KR101402615B1 (ko) * 2013-12-09 2014-06-02 이채원 곡물 자판기
CN113566512A (zh) * 2021-07-10 2021-10-29 胡应雄 一种粘性材料烘干装置

Also Published As

Publication number Publication date
JP4313716B2 (ja) 2009-08-12

Similar Documents

Publication Publication Date Title
US6470783B2 (en) Installation for dismantling chemical bombs
JP4313716B2 (ja) 振動乾燥装置
JP2009002646A (ja) 振動乾燥装置
SU1697592A3 (ru) Устройство дл продувки расплава металла газо- и/или порошкообразными, и/или твердыми реагентами и фурма дл продувки расплава газо- и/или порошкообразными, и/или твердыми реагентами
JP4594793B2 (ja) 脱穀装置の受網脱着構造
US7878100B2 (en) Method for removing toxic material from toxic weapon projectiles
JP2009074318A (ja) シールド掘進機におけるテールシールの洗浄方法および装置
US5463887A (en) Device for the preparation of used metal barrels with a view to facilitating handling and recycling thereof
JP2008511443A5 (ja)
US1756812A (en) Method and apparatus for extracting castings from molds
KR100775456B1 (ko) 출선구 폐쇄용 머드건의 노즐 내부 고착물 제거장치
US6237951B1 (en) Device for letting pressurized gas stream into a safety device
CN112858711A (zh) 一种隔离送样装置
JP2003334816A (ja) 減容機などの残存プラスチック排除機構
JP2006320815A (ja) 破砕方法とこの方法に用いられる一軸式破砕装置
JP2005335718A (ja) 粉粒体のブリッジ又はラットホールの破壊装置
JP2000117229A (ja) 有機塩素化合物を含有した固形物の無害化処理装置
JP2007136475A (ja) ヤニ除去方法および金型
FR2614826A1 (fr) Procede pour la fabrication d'eprouvettes d'essai en matiere moulee et moule pour la mise en oeuvre de ce procede
JP2007119161A (ja) ピン・チェーンコンベア
JP5331668B2 (ja) ハンマーグラブ
JP2007074961A (ja) マルチフィルム穴開け装置
JPH0746413Y2 (ja) 流体管用穿孔装置の切取り片保持機構
CN118989286A (zh) 一种汽车铸造件用造型砂去除装置
BE1019460A3 (fr) Tete de vanne d'extincteur d'incendie et son utilisation.

Legal Events

Date Code Title Description
A621 Written request for application examination

Free format text: JAPANESE INTERMEDIATE CODE: A621

Effective date: 20070222

A977 Report on retrieval

Free format text: JAPANESE INTERMEDIATE CODE: A971007

Effective date: 20080624

A131 Notification of reasons for refusal

Free format text: JAPANESE INTERMEDIATE CODE: A131

Effective date: 20080729

A521 Request for written amendment filed

Free format text: JAPANESE INTERMEDIATE CODE: A523

Effective date: 20080929

TRDD Decision of grant or rejection written
A01 Written decision to grant a patent or to grant a registration (utility model)

Free format text: JAPANESE INTERMEDIATE CODE: A01

Effective date: 20090507

A01 Written decision to grant a patent or to grant a registration (utility model)

Free format text: JAPANESE INTERMEDIATE CODE: A01

A61 First payment of annual fees (during grant procedure)

Free format text: JAPANESE INTERMEDIATE CODE: A61

Effective date: 20090515

FPAY Renewal fee payment (event date is renewal date of database)

Free format text: PAYMENT UNTIL: 20120522

Year of fee payment: 3

R150 Certificate of patent or registration of utility model

Ref document number: 4313716

Country of ref document: JP

Free format text: JAPANESE INTERMEDIATE CODE: R150

Free format text: JAPANESE INTERMEDIATE CODE: R150

FPAY Renewal fee payment (event date is renewal date of database)

Free format text: PAYMENT UNTIL: 20130522

Year of fee payment: 4

R250 Receipt of annual fees

Free format text: JAPANESE INTERMEDIATE CODE: R250

FPAY Renewal fee payment (event date is renewal date of database)

Free format text: PAYMENT UNTIL: 20140522

Year of fee payment: 5

R250 Receipt of annual fees

Free format text: JAPANESE INTERMEDIATE CODE: R250

R250 Receipt of annual fees

Free format text: JAPANESE INTERMEDIATE CODE: R250

R250 Receipt of annual fees

Free format text: JAPANESE INTERMEDIATE CODE: R250

R250 Receipt of annual fees

Free format text: JAPANESE INTERMEDIATE CODE: R250

R250 Receipt of annual fees

Free format text: JAPANESE INTERMEDIATE CODE: R250

R250 Receipt of annual fees

Free format text: JAPANESE INTERMEDIATE CODE: R250

R250 Receipt of annual fees

Free format text: JAPANESE INTERMEDIATE CODE: R250

R250 Receipt of annual fees

Free format text: JAPANESE INTERMEDIATE CODE: R250

R250 Receipt of annual fees

Free format text: JAPANESE INTERMEDIATE CODE: R250

R250 Receipt of annual fees

Free format text: JAPANESE INTERMEDIATE CODE: R250

R250 Receipt of annual fees

Free format text: JAPANESE INTERMEDIATE CODE: R250

EXPY Cancellation because of completion of term