JP2005299940A - 熱交換器 - Google Patents

熱交換器 Download PDF

Info

Publication number
JP2005299940A
JP2005299940A JP2004112214A JP2004112214A JP2005299940A JP 2005299940 A JP2005299940 A JP 2005299940A JP 2004112214 A JP2004112214 A JP 2004112214A JP 2004112214 A JP2004112214 A JP 2004112214A JP 2005299940 A JP2005299940 A JP 2005299940A
Authority
JP
Japan
Prior art keywords
cylindrical body
heat exchanger
fluid
fin
flat tube
Prior art date
Legal status (The legal status is an assumption and is not a legal conclusion. Google has not performed a legal analysis and makes no representation as to the accuracy of the status listed.)
Pending
Application number
JP2004112214A
Other languages
English (en)
Inventor
Koji Narita
浩司 成田
Current Assignee (The listed assignees may be inaccurate. Google has not performed a legal analysis and makes no representation or warranty as to the accuracy of the list.)
T Rad Co Ltd
Original Assignee
T Rad Co Ltd
Priority date (The priority date is an assumption and is not a legal conclusion. Google has not performed a legal analysis and makes no representation as to the accuracy of the date listed.)
Filing date
Publication date
Application filed by T Rad Co Ltd filed Critical T Rad Co Ltd
Priority to JP2004112214A priority Critical patent/JP2005299940A/ja
Publication of JP2005299940A publication Critical patent/JP2005299940A/ja
Pending legal-status Critical Current

Links

Images

Landscapes

  • Heat-Exchange Devices With Radiators And Conduit Assemblies (AREA)

Abstract

【課題】 伝熱面積を大きく確保し、熱交換効率を高め、性能の向上を図る。
【解決手段】 本発明に係る熱交換器11は、内部に第1流体流路20が形成された扁平管12を曲成して筒状体13を形成させ、筒状体13の内周側にフィン14を介して内筒体15を設けると共に筒状体13の外周側にフィン17を介して外筒体18を設け、外筒体18と内筒体15との間であって筒状体13の外部に第2流体流路23が形成されるように構成されていることを特徴とする。
【選択図】 図1

Description

本発明は、熱交換器に関し、特に、扁平管の内部を流通する流体と扁平管の外部を流通する流体との間で熱交換を行なう熱交換器に関する。
従来、図5に示すように、両端部に流体の出入口1,2が形成された筒体3の内部に、コイル状に巻かれた丸パイプ4を配設して構成した熱交換器5が知られている。この熱交換器5では、丸パイプ4内部に熱媒又は冷媒を流通させ、出入口1,2を通って筒体3内部を流通する流体の加熱或いは冷却を行なっていた(例えば、特許文献1参照)。
また、熱交換器の性能を向上させるため、上記した丸パイプ4の代わりに、フィン付き丸パイプを使用し、そのフィン付き丸パイプを螺旋状に捲回させて筐体に収容した熱交換器も知られている(例えば、特許文献2参照)。
実開昭62−204170号公報 実開昭63−30771号公報
しかしながら、上記した従来の熱交換器では、いずれも伝熱面積が大きく確保できないため、熱交換効率が悪く、熱交換器の性能の向上が図り難いといった問題があった。
本発明は、上記した課題を解決すべくなされたものであり、伝熱面積を大きく確保し、熱交換効率を高め、性能の向上を図ることのできる熱交換器を提供しようとするものである。
本発明は、内部に第1流体流路が形成された扁平管を曲成して筒状体を形成させ、該筒状体の内周側にフィンを介して内筒体を設けると共に前記筒状体の外周側にフィンを介して外筒体を設け、該外筒体と前記内筒体との間であって前記筒状体の外部に第2流体流路が形成されるように構成されていることを特徴とする。
また、前記筒状体は少なくとも2重に設けられていてもよい。
本発明に係る熱交換器によれば、扁平管が使用されており、さらに、扁平管にフィンが設けられているため、伝熱面積を増加させることができると共に第2流体を撹拌することができ、熱交換効率の向上を図ることが可能となる。
また、扁平管を曲成して形成された筒状体を介して第1流体と第2流体とが熱交換を行なうようになっているため、それぞれの流体の流路を長く且つコンパクトに確保することができ、全体的に、熱交換効率の高い、コンパクトな熱交換器を提供することが可能となる。
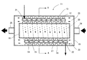
以下、図面を参照しつつ、本発明の実施の形態について説明する。ここで、図1は本発明の実施の形態に係る熱交換器を示す断面図、図2は図1のA−A矢視図、図3はその熱交換器の筒状体を示す斜視図である。
この熱交換器11は、扁平管12を螺旋状に曲成して形成された筒状体13(特に、図3参照)と、筒状体13の内周側に沿って設けられた内周側フィン14と、内周側フィン14のさらに内周側に設けられた円筒形状の内筒体15と、内筒体15の両端部を閉塞する内筒体端板16と、筒状体13の外周側に沿って設けられた外周側フィン17と、外周側フィン17のさらに外周側に設けられた円筒形状の外筒体18と、外筒体18の両端部を閉塞する外筒体端板19とを備えて構成されている。
そして、扁平管12の内部には、熱媒や冷媒等の第1流体が流通可能な第1流体流路20が形成されており、扁平管12の両端部はそれぞれ外筒体18から外側に突出し、第1流体入口21及び第1流体出口22が形成されている。
一方、外筒体18と内筒体15との間であって、筒状体13の外部には、水、油、空気等の第2流体が流通可能な第2流体流路23が形成されており、各外筒体端板19にはそれぞれ第2流体入口24及び第2流体出口25が突設されている。
上記したように、第1流体流路20は、扁平管12を螺旋状に曲成することにより形成されているため、連続した長い流路となり、さらに、扁平管12により全体として筒状に形成されているため、伝熱面積の大きいコンパクトな流路となる。また、第1流体流路20が連続した長い流路で、伝熱面積の大きいコンパクトな流路となることにより、第1流体流路の周囲に形成された第2流体流路23も伝熱面積の大きいコンパクトな流路となる。したがって、全体的に、熱交換効率の高い、コンパクトな熱交換器を提供することが可能となる。
次に、本実施の形態に係る熱交換器11の作用を説明する。
第1流体は、第1流体入口21から扁平管12内に流入した後、第1流体流路20を流通し、第1流体出口22から流出する。一方、第2流体は、第2流体入口24を通り、全体として第1流体と対向する向きで、第2流体流路23を流通し、第1流体流路20を流通する第1流体と熱交換を行ない、冷却或いは加熱され、第2流体出口25から流出する。
この時、第1流体は、連続した長い第1流体流路20を流通し、第1流体と第2流体との熱交換は伝熱面積の大きい筒状体13を介して行なわれ、さらに、筒状体13の内周側及び外周側に設けられたフィン14,17により第2流体が十分に撹拌されるため、熱交換効率を高めることができ、熱交換器の性能の向上を図ることができる。
なお、上記実施の形態においては、筒状体13を1重で設けているが、図4に示すように、筒状体13を、2重、或いは3重以上設けてもよい。これらの場合には、コンパクト性を保ちながら、伝熱面積をさらに増加させることができるため、熱交換性能を一段と高めることが可能となる。
また、扁平管12には、多数の細孔を穿設してもよく、この場合には、さらなる熱交換性能の向上が図れると共に、扁平管12の耐圧性を高めることができる。
さらに、扁平管12、内周側フィン14、内筒体15、外周側フィン17、外筒体18等、上記した熱交換器11を構成するすべての部品をアルミニウム製とすれば、熱交換器の製造時に炉内での一体ロウ付けが可能となり、熱交換器の製造作業の簡素化が図れ、製造コストの低減化が可能となる。
本発明の実施の形態に係る熱交換器を示す断面図である。 図1のA−A矢視図である。 本発明の実施の形態に係る熱交換器の筒状体を示す斜視図である。 本発明の実施の形態に係る熱交換器の変更例を示す断面図である。 従来例に係る熱交換器を部分的に切断して示す側面図である。
符号の説明
11 熱交換器
12 扁平管
13 筒状体
14 内周側フィン
15 内筒体
17 外周側フィン
18 外筒体
20 第1流体流路
23 第2流体流路

Claims (2)

  1. 内部に第1流体流路が形成された扁平管を曲成して筒状体を形成させ、該筒状体の内周側にフィンを介して内筒体を設けると共に前記筒状体の外周側にフィンを介して外筒体を設け、該外筒体と前記内筒体との間であって前記筒状体の外部に第2流体流路が形成されるように構成されていることを特徴とする熱交換器。
  2. 前記筒状体が少なくとも2重に設けられている請求項1に記載の熱交換器。
JP2004112214A 2004-04-06 2004-04-06 熱交換器 Pending JP2005299940A (ja)

Priority Applications (1)

Application Number Priority Date Filing Date Title
JP2004112214A JP2005299940A (ja) 2004-04-06 2004-04-06 熱交換器

Applications Claiming Priority (1)

Application Number Priority Date Filing Date Title
JP2004112214A JP2005299940A (ja) 2004-04-06 2004-04-06 熱交換器

Publications (1)

Publication Number Publication Date
JP2005299940A true JP2005299940A (ja) 2005-10-27

Family

ID=35331690

Family Applications (1)

Application Number Title Priority Date Filing Date
JP2004112214A Pending JP2005299940A (ja) 2004-04-06 2004-04-06 熱交換器

Country Status (1)

Country Link
JP (1) JP2005299940A (ja)

Cited By (4)

* Cited by examiner, † Cited by third party
Publication number Priority date Publication date Assignee Title
JP2008138991A (ja) * 2006-12-05 2008-06-19 Sanyo Electric Co Ltd 加熱タンク及び貯湯タンク
JP2016102643A (ja) * 2014-11-18 2016-06-02 株式会社アタゴ製作所 熱交換器
KR20180115760A (ko) * 2017-02-28 2018-10-23 가부시키가이샤 도모에 쇼카이 열교환기
JP2019086241A (ja) * 2017-11-08 2019-06-06 パナソニックIpマネジメント株式会社 熱交換器

Cited By (5)

* Cited by examiner, † Cited by third party
Publication number Priority date Publication date Assignee Title
JP2008138991A (ja) * 2006-12-05 2008-06-19 Sanyo Electric Co Ltd 加熱タンク及び貯湯タンク
JP2016102643A (ja) * 2014-11-18 2016-06-02 株式会社アタゴ製作所 熱交換器
KR20180115760A (ko) * 2017-02-28 2018-10-23 가부시키가이샤 도모에 쇼카이 열교환기
KR102294972B1 (ko) * 2017-02-28 2021-08-26 가부시키가이샤 도모에 쇼카이 열교환기
JP2019086241A (ja) * 2017-11-08 2019-06-06 パナソニックIpマネジメント株式会社 熱交換器

Similar Documents

Publication Publication Date Title
JP2013122366A (ja) 熱交換器
JP2007178053A (ja) 熱交換器
JP2010121925A (ja) 熱交換器
WO2005026638A1 (ja) 熱交換器
KR20130065174A (ko) 차량용 열교환기
JP2005299940A (ja) 熱交換器
JP4075732B2 (ja) ヒートポンプ式給湯機用の熱交換器
JP2008190787A (ja) スパイラル管およびこれを用いた熱交換器
JP2004340455A (ja) 熱交換器
JP2005147567A (ja) 2重管式熱交換器
JP2008096071A (ja) 2重管式熱交換器
JP7339034B2 (ja) プレート積層型熱交換器
JP3156355U (ja) 2重管式熱交換器
JP2005172262A (ja) 熱交換器
JP2005321122A (ja) 管型熱交換器
KR20110052889A (ko) 이중관 열교환기
JP2004116911A (ja) 二重管型熱交換器
JP2007271194A (ja) 熱交換器
JP2008215766A (ja) 給湯用熱交換器
JP2005274044A (ja) 熱源装置
JP4016375B2 (ja) 給湯用熱交換器
KR20110138319A (ko) 이중관 파이프
JP2006317094A (ja) 熱交換器
KR100740698B1 (ko) 열교환기용 헤더파이프
JP2003314976A (ja) 熱交換器

Legal Events

Date Code Title Description
A621 Written request for application examination

Effective date: 20061113

Free format text: JAPANESE INTERMEDIATE CODE: A621

A131 Notification of reasons for refusal

Free format text: JAPANESE INTERMEDIATE CODE: A131

Effective date: 20090413

A02 Decision of refusal

Effective date: 20090819

Free format text: JAPANESE INTERMEDIATE CODE: A02