JP2005299915A - 震動減衰装置 - Google Patents
震動減衰装置 Download PDFInfo
- Publication number
- JP2005299915A JP2005299915A JP2004224614A JP2004224614A JP2005299915A JP 2005299915 A JP2005299915 A JP 2005299915A JP 2004224614 A JP2004224614 A JP 2004224614A JP 2004224614 A JP2004224614 A JP 2004224614A JP 2005299915 A JP2005299915 A JP 2005299915A
- Authority
- JP
- Japan
- Prior art keywords
- vibration damping
- damping device
- contact member
- contacted
- contact
- Prior art date
- Legal status (The legal status is an assumption and is not a legal conclusion. Google has not performed a legal analysis and makes no representation as to the accuracy of the status listed.)
- Withdrawn
Links
- 238000013016 damping Methods 0.000 title claims abstract description 71
- 229910000831 Steel Inorganic materials 0.000 claims abstract description 67
- 239000010959 steel Substances 0.000 claims abstract description 67
- 238000006073 displacement reaction Methods 0.000 claims abstract description 54
- 230000002093 peripheral effect Effects 0.000 claims description 12
- 230000007306 turnover Effects 0.000 claims description 7
- 238000010276 construction Methods 0.000 claims description 3
- 230000005489 elastic deformation Effects 0.000 description 15
- 230000002238 attenuated effect Effects 0.000 description 11
- WABPQHHGFIMREM-RKEGKUSMSA-N lead-214 Chemical compound [214Pb] WABPQHHGFIMREM-RKEGKUSMSA-N 0.000 description 10
- 239000004033 plastic Substances 0.000 description 9
- 238000010073 coating (rubber) Methods 0.000 description 6
- 230000000694 effects Effects 0.000 description 4
- 230000003014 reinforcing effect Effects 0.000 description 3
- 229910000639 Spring steel Inorganic materials 0.000 description 2
- 238000010521 absorption reaction Methods 0.000 description 2
- 238000010586 diagram Methods 0.000 description 2
- 235000012489 doughnuts Nutrition 0.000 description 2
- 238000005452 bending Methods 0.000 description 1
- 230000007613 environmental effect Effects 0.000 description 1
- 239000000383 hazardous chemical Substances 0.000 description 1
- 238000010030 laminating Methods 0.000 description 1
Images
Landscapes
- Vibration Dampers (AREA)
- Bridges Or Land Bridges (AREA)
- Vibration Prevention Devices (AREA)
Abstract
【課題】地震時において震動エネルギーを効果的に吸収して上部構造体と下部構造体との水平方向の相対変位を減衰でき、しかも形状復帰した際に歪が残らず、また環境への負荷も特に及ぼさない震動減衰装置を提供する。
【解決手段】上部構造体12から下向きに鋼棒30を突出させる一方、下部構造体10から、鋼製のブロック32を、その先端部が鋼棒30の先端部と水平方向に重なるように上向きに突出させ、地震時における上部構造体12と下部構造体10の水平方向の相対変位時に鋼棒30の先端部をブロック32の先端部に当接及び弾性変形させた後、更にブロック32の先端部を乗り越えて離間させるようにする。
【選択図】 図1
【解決手段】上部構造体12から下向きに鋼棒30を突出させる一方、下部構造体10から、鋼製のブロック32を、その先端部が鋼棒30の先端部と水平方向に重なるように上向きに突出させ、地震時における上部構造体12と下部構造体10の水平方向の相対変位時に鋼棒30の先端部をブロック32の先端部に当接及び弾性変形させた後、更にブロック32の先端部を乗り越えて離間させるようにする。
【選択図】 図1
Description
この発明は地震により互いに相対変位する一対の構造体、例えば橋梁における上部構造体と下部構造体との相対変位を減衰し耐震性を付与する震動減衰装置に関する。
従来、地震時において橋梁や建築物等の構造物における上部構造体と下部構造体との水平方向の相対変位を減衰し、構造物に耐震性を付与する震動減衰装置として各種のものが提案されている。
その一つとして、円柱状の鉛をゴム支承の孔内に埋め込んで、その鉛の塑性変形を利用して震動エネルギーを吸収し、震動減衰するようになしたものが公知である。
例えば下記特許文献1,特許文献2,特許文献3にこの種の震動減衰装置が開示されている。
その一つとして、円柱状の鉛をゴム支承の孔内に埋め込んで、その鉛の塑性変形を利用して震動エネルギーを吸収し、震動減衰するようになしたものが公知である。
例えば下記特許文献1,特許文献2,特許文献3にこの種の震動減衰装置が開示されている。
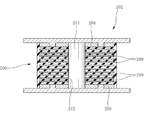
この種の鉛の塑性変形を利用した震動減衰装置はLRB(鉛プラグ入り積層ゴム支承)と称されており、図13にその代表的な一例が示してある(図示のものは特許文献2の第8図として示してある)。
同図において200は震動減衰装置202におけるゴム支承で、厚肉の上部補強板204,下部補強板206と薄肉の内部補強板208及びゴム層210を積層して一体化した形態を成している。
このゴム支承200には埋込孔212が設けられていて、そこに円柱状の鉛214が埋め込まれている。
この震動減衰装置202では、地震時に上部構造体と下部構造体とが水平方向に相対変位すると鉛214が図中左右方向に塑性変形して震動エネルギーを吸収し、上部構造体と下部構造体との水平方向の相対変位を減衰する。
同図において200は震動減衰装置202におけるゴム支承で、厚肉の上部補強板204,下部補強板206と薄肉の内部補強板208及びゴム層210を積層して一体化した形態を成している。
このゴム支承200には埋込孔212が設けられていて、そこに円柱状の鉛214が埋め込まれている。
この震動減衰装置202では、地震時に上部構造体と下部構造体とが水平方向に相対変位すると鉛214が図中左右方向に塑性変形して震動エネルギーを吸収し、上部構造体と下部構造体との水平方向の相対変位を減衰する。
従来、震動減衰装置としてはこのような鉛214を埋め込んでおらず、単にゴム支承200のみにて構成したものも用いられているが、この場合ゴム支承200、詳しくはゴム層210の剪断弾性変形だけで水平方向の相対変位を減衰することとなり、十分な減衰性能が得られない。
これに対して図13に示すような鉛214を埋め込んだものは、鉛214の塑性変形によるエネルギー吸収を利用していることから、より大きな減衰性能が得られる特徴がある。
しかしながらこの鉛214は、地震時の大きな相対変位で塑性変形した後、必ずしも元の変位前の形状に戻るとは限らない。
図13に示す震動減衰装置202の場合、ゴム支承200の弾性復元力によってある程度鉛214を形状復帰させ得るものの、一旦大きく塑性変形した鉛214は元の形状には戻り切らず、そこに大きな歪が残留してしまう。
従って次に再び大きな地震が来たときに当初の良好な減衰性能を十分に発揮できない問題がある。
また鉛214は環境負荷物質でもあり、近年各種分野で鉛の使用を抑制する方向にある。近い将来土木建築業界においてもこのような鉛を用いた震動減衰装置の使用が制限されることも予想される。
しかしながらこの鉛214は、地震時の大きな相対変位で塑性変形した後、必ずしも元の変位前の形状に戻るとは限らない。
図13に示す震動減衰装置202の場合、ゴム支承200の弾性復元力によってある程度鉛214を形状復帰させ得るものの、一旦大きく塑性変形した鉛214は元の形状には戻り切らず、そこに大きな歪が残留してしまう。
従って次に再び大きな地震が来たときに当初の良好な減衰性能を十分に発揮できない問題がある。
また鉛214は環境負荷物質でもあり、近年各種分野で鉛の使用を抑制する方向にある。近い将来土木建築業界においてもこのような鉛を用いた震動減衰装置の使用が制限されることも予想される。
以上橋梁等における上部構造体と下部構造体との水平方向の相対変位を減衰する震動減衰装置について述べたが、こうした問題は例えば建物の柱と壁,柱と梁等の構造体間の相対変位を減衰するための装置についても共通した問題である。
本発明はこのような事情を背景とし、地震時において震動エネルギーを効果的に吸収して互いに相対変位する構造体の一方と他方との相対変位を減衰でき、しかも形状復帰した際に歪が残らないとともに、環境への負荷も生じない震動減衰装置を提供することを目的としてなされたものである。
而して請求項1のものは、地震により互いに相対変位する一対の構造体の一方に当接部材を、他方に被当接部材を、それらの相対変位方向において該当接部材の端部が該被当接部材に対して部分的に重なるように互いに切り離して設け、該相対変位時に該当接部材の端部を該被当接部材に当接及び弾性変形させた後、更に該被当接部材を乗り越えて移動させ、該被当接部材から離間させるようになしてあることを特徴とする。
請求項2のものは、請求項1において、前記当接部材が前記被当接部材に当接及び弾性変形して乗り越える際に、該被当接部材もまた弾性変形するようになしてあることを特徴とする。
請求項3のものは、請求項1,2の何れかにおいて、前記当接部材が鋼製であることを特徴とする。
請求項4のものは、請求項1〜3の何れかにおいて、前記被当接部材が鋼製であることを特徴とする。
請求項5のものは、請求項1〜4の何れかにおいて、前記当接部材及び被当接部材の少なくとも一方が、前記相対変位方向の異なった位置に複数設けてあり、前記相対変位時に該当接部材が該被当接部材に対して順次に時期をずらせて当接及び弾性変形して、該被当接部材を乗り越えるようになしてあることを特徴とする。
請求項6のものは、請求項1〜5の何れかにおいて、前記当接部材及び被当接部材の少なくとも一方がゴム被覆されていることを特徴とする。
請求項7のものは、請求項1〜6の何れかにおいて、前記一対の構造体の一方が橋梁や建設物等構造体の上部構造体であって、他方が下部構造体であり、前記相対変位方向が水平方向であることを特徴とする。
請求項8のものは、請求項1〜7の何れかにおいて、前記震動減衰装置が保持ケースを有していて、前記当接部材が該保持ケースにより且つ該保持ケースの軸心側に突出する状態に保持されているとともに、該保持ケース内には軸方向にロッドが相対移動可能に挿入されていて、該ロッドに前記被当接部材が設けられていることを特徴とする。
請求項9のものは、請求項8において、前記保持ケースが筒状のシリンダを成していることを特徴とする。
請求項10のものは、請求項1〜9の何れかにおいて、前記当接部材が棒状をなしていることを特徴とする。
請求項11のものは、請求項1〜9の何れかにおいて、前記当接部材が中心部に貫通穴を有する皿ばね状をなしていて、内周端部が前記被当接部材に当接するようになしてあり、地震時の相対移動時に先ず凸曲面側が該被当接部材に当接した後、その押圧力でターンオーバー運動して凸曲面と凹曲面とが反転した後、該内周端部が該被当接部材を乗り越えて更に離間するようになしてあることを特徴とする。
請求項12のものは、請求項11において、前記皿ばね状の当接部材には中心部の前記貫通穴から放射状に切込みが入れてあることを特徴とする。
請求項13のものは、請求項1〜12の何れかにおいて、前記被当接部材がブロック状若しくは棒状をなしていることを特徴とする。
請求項14のものは、請求項8〜13の何れかにおいて、前記保持ケース及び前記ロッドの互いに逆の各一端側には、該保持ケース及びロッドを前記一対の構造体の一方と他方とにそれぞれ回転可能に連結する連結部が設けてあることを特徴とする。
請求項15のものは、請求項7において、前記当接部材が棒状、前記被当接部材がブロック状若しくは棒状をなしていて、該当接部材が前記上部構造体及び下部構造体の一方から突出する状態で該一方に直接固設されているとともに、該被当接部材が他方から該当接部材に向けて突出する状態で該他方に直接固設されていることを特徴とする。
請求項16のものは、請求項1〜15の何れかにおいて、前記震動減衰装置は、前記上部構造体と下部構造体との間に介設され、それら上部構造体及び下部構造体の前記水平方向の相対変位時に剪断弾性変形するゴム支承を、前記当接部材及び被当接部材とは異なった水平方向位置に有していることを特徴とする。
以上のように本発明は、地震により互いに相対変位する構造体の一方に当接部材を、他方に被当接部材を、それらの相対変位方向において当接部材の端部が被当接部材に対して部分的に重なるように互いに切り離して設け、地震時において構造体の一方と他方とが相対変位した時、当接部材の端部を被当接部材に対して当接及び弾性変形させた後、これを乗り越えて弾けるように相対変位方向に離間させるようになしたものである。
かかる本発明の震動減衰装置は、地震時において一対の構造体の一方と他方とが相対変位したとき、当接部材を被当接部材に対して当接及び弾性変形させるものであるが、図13の震動減衰装置202のように上部構造体と下部構造体との全相対変位(相対変位全域)に亘って鉛214を変形させ続けるといったものでは無く、当接部材がある程度変形したところで被当接部材を乗り越えさせてこれから離間させ、当接部材に加わっていた力ないしエネルギーを一旦解放するものである。
これにより当接部材を実質的に弾性域(弾性限度)内でだけ弾性変形させることが可能となる。
従って一対の構造体が相対変位した後元の位置に戻っても、当接部材に大きな歪を残留させてしまうのを回避でき、再度地震が発生したとき或いは地震が繰り返されたときに良好な震動減衰性能を発揮させることができる。
従って一対の構造体が相対変位した後元の位置に戻っても、当接部材に大きな歪を残留させてしまうのを回避でき、再度地震が発生したとき或いは地震が繰り返されたときに良好な震動減衰性能を発揮させることができる。
また本発明の震動減衰装置では、一旦相対変位した一対の構造体が戻り方向に相対変位する際、当接部材を被当接部材に対して戻り方向に再び当接させてこれを弾性変形させ、その際においても相対変位を良好に減衰することができる。
尚本発明において、当接部材は変形によって震動減衰する際に多少の塑性変形を伴っていても良い。
要するに本発明は、当接部材を弾性域内での変形を大半とした点に特徴を有するものである。
要するに本発明は、当接部材を弾性域内での変形を大半とした点に特徴を有するものである。
本発明ではまた、当接部材が被当接部材に当接及び弾性変形してこれを乗り越える際に、被当接部材もまた弾性変形するようになしておくことができる(請求項2)。
このようにしておけば、当接部材と被当接部材とのそれぞれの弾性変形に基づいて震動エネルギーの吸収、即ち一対の構造体間の相対変位に対する減衰性能を更に高めることができる。
このようにしておけば、当接部材と被当接部材とのそれぞれの弾性変形に基づいて震動エネルギーの吸収、即ち一対の構造体間の相対変位に対する減衰性能を更に高めることができる。
この場合においてその当接部材は鋼製(望ましくはばね鋼)となしておくことができ(請求項3)、また被当接部材も鋼製(被当接部材も弾性変形させる場合にあっては望ましくはばね鋼)となしておくことができる(請求項4)。
次に請求項5のものは、当接部材及び被当接部材の少なくとも一方を、相対変位方向の異なった位置に複数設けておいて、一対の構造体の相対変位時に、当接部材が被当接部材に対して順次に時期をずらせて当接及び弾性変形し、これを乗り越えるようになしたものである。
このようにしておけば、当接部材の僅かな変形(弾性変形)の下でも良好に震動吸収し、より効果的に且つ滑らかに震動減衰を行わせることが可能となる。
このようにしておけば、当接部材の僅かな変形(弾性変形)の下でも良好に震動吸収し、より効果的に且つ滑らかに震動減衰を行わせることが可能となる。
請求項6は、当接部材及び被当接部材の少なくとも一方をゴム被覆したもので、このようにしておけば、当接部材が被当接部材に対して当接する際の衝撃力をゴム被覆にて衝撃緩和することができて好適である。
本発明の震動減衰装置は各種の構造体間の震動減衰装置として適用可能なものであるが、特に橋梁や建設物等構造物の上部構造体と下部構造体との水平方向の相対変位を減衰する装置として好適なものである(請求項7)。
次に請求項8は、震動減衰装置に保持ケースを設けて、その保持ケースから上記当接部材を軸心側に突出させる一方、保持ケース内にはロッドを軸方向に相対移動可能に挿入して、そのロッドに上記被当接部材を設けたものである。
この場合において、その保持ケースは筒状のシリンダと成しておくことができる(請求項9)。
この場合において、その保持ケースは筒状のシリンダと成しておくことができる(請求項9)。
この震動減衰装置は保持ケース,当接部材,ロッド及び被当接部材を独立した一体のユニットとして構成することができ、現場において保持ケースを互いに相対変位する一対の構造体の一方に、ロッドを他方にそれぞれ取付固定することで、震動減衰装置を簡単に一対の構造体間にまたがって装着することができる。
本発明において、前記当接部材は棒状となしておくことができる(請求項10)。
これに対して請求項11のものは、当接部材を中心部に貫通穴を有する皿ばね状となして、その内周端部を被当接部材に当接させるようになしてあり、地震時の相対移動時に先ず当接部材の凸曲面側を被当接部材に当接させた後、その押圧力でターンオーバー運動させて凸曲面と凹曲面とを反転させ、その後に内周端部を更に弾性変形させ且つ被当接部材を乗り越えて離間させるようになしたものである。
この震動減衰装置では、皿ばね状をなす当接部材が凸曲面側で被当接部材に当ると、先ず被当接部材による押圧力で当接部材が圧縮され、そして不安定な中間域を通り過ぎると、その時点で当接部材が自身に貯えられた弾性力で凸曲面と凹曲面とを反転させるようにターンオーバー運動する。
当接部材はその後に内周端部を更に弾性変形させて被当接部材を乗り越え、弾かれるようにして被当接部材から離間して行く。
当接部材はその後に内周端部を更に弾性変形させて被当接部材を乗り越え、弾かれるようにして被当接部材から離間して行く。
かかる震動減衰装置にあっては、当接部材のターンオーバー運動を利用しているため、震動の減衰作用時に当接部材の塑性変形を可及的に少なくし得て、その耐久性を効果的に高めることができる。
また弾性変形に基づく震動減衰の効率も高い利点が得られる。
また弾性変形に基づく震動減衰の効率も高い利点が得られる。
この場合においてその皿ばね状の当接部材には、中心部の貫通穴から放射状に切込みを入れておくのが好適である(請求項12)。
このようにしておけば、その切込みを利用して皿ばね状をなす当接部材の中心部の貫通穴、具体的にはその周縁の内周端部を被当接部材に対して容易にこれを乗り越え、通過させるようになすことができる。
このようにしておけば、その切込みを利用して皿ばね状をなす当接部材の中心部の貫通穴、具体的にはその周縁の内周端部を被当接部材に対して容易にこれを乗り越え、通過させるようになすことができる。
本発明において、上記被当接部材はブロック状若しくは棒状となしておくことができる(請求項13)。
また請求項8〜13の何れかにおいて、保持ケースとロッドとの互いに逆の一端側に、それら保持ケース,ロッドを一対の構造体の一方と他方とにそれぞれ回転可能に連結する連結部を設けておくことができる(請求項14)。
このようにしておけば、震動減衰装置を現場において一対の構造体間に簡単に装着することができるとともに、この震動減衰装置によれば、一対の構造体が主たる相対変位方向、例えば水平方向に相対変位しつつこれと直角方向の上下方向に相対変位した場合であっても、良好に当接部材と被当接部材との当接作用に基づいて震動エネルギーを吸収し振動減衰することができる利点が得られる。
上記請求項7において、当接部材を棒状、被当接部材をブロック状若しくは棒状となし、そしてその当接部材を橋梁等における上部構造体及び下部構造体の一方から突出する状態でその一方に直接固設するとともに、被当接部材を他方から当接部材に向けて突出する状態で他方に直接固設しておくことができる(請求項15)。
次に請求項16は、請求項1〜15の何れかにおいて上部構造体及び下部構造体の水平方向の相対変位時に剪断弾性変形するゴム支承を震動減衰装置に備えたもので、この請求項16によれば、かかるゴム支承によるエネルギー吸収によって震動減衰を更に効果高く行うことができるとともに、ゴム支承の弾性復元力によって、当接部材及び被当接部材を元の位置へと強制的に戻すようになすことができる。
またこのゴム支承によって上部構造体の鉛直荷重を弾性的に荷重支持することができる。
またこのゴム支承によって上部構造体の鉛直荷重を弾性的に荷重支持することができる。
次に本発明の実施形態を図面に基づいて詳しく説明する。
図1において、10は橋梁や建築物等における下部構造体(この例では橋台や橋脚等の下部構造体)で、12は橋桁等の上部構造体であり、それらにまたがって本実施形態の震動減衰装置14が配設されている。
図1(A)に示しているように、この震動減衰装置14はゴム支承16を有している。
図2にそのゴム支承16の構成が具体的に示してある。
図1において、10は橋梁や建築物等における下部構造体(この例では橋台や橋脚等の下部構造体)で、12は橋桁等の上部構造体であり、それらにまたがって本実施形態の震動減衰装置14が配設されている。
図1(A)に示しているように、この震動減衰装置14はゴム支承16を有している。
図2にそのゴム支承16の構成が具体的に示してある。
図示のようにゴム支承16の下端部は、何れも鋼板から成る下沓18及びベースプレート20を介して下部構造体10に連結固定され、また上端部が何れも鋼板から成る上沓22及びソールプレート24を介して上部構造体12に連結固定されている。
ここでベースプレート20からは固定用のアンカーバー26が延び出しており、このアンカーバー26が下部構造体10内部に埋り込んでいる。
尚、図示は省略しているがソールプレート24からも固定用のアンカーバーが上向きに延び出しており、その上向きに延び出したアンカーバーが上部構造体12の内部に埋り込んでいる。
尚、図示は省略しているがソールプレート24からも固定用のアンカーバーが上向きに延び出しており、その上向きに延び出したアンカーバーが上部構造体12の内部に埋り込んでいる。
同図において28は剪断キーであって、下沓18,上沓22及び対応するベースプレート20,ソールプレート24間にまたがって配置されており、これら剪断キー28によって剪断方向の大きな力を受けるようになっている。
尚29も剪断キーであって、ゴム支承16の下端部,上端部及び対応する下沓18,上沓22間にまたがって配置されている。
尚29も剪断キーであって、ゴム支承16の下端部,上端部及び対応する下沓18,上沓22間にまたがって配置されている。
このゴム支承16の場合、上部構造体12と下部構造体10との間に水平方向の相対変位が生じたとき、自身が同方向に剪断弾性変形し、上部構造体12と下部構造体10との間の水平方向の相対変位を吸収するとともに、自身の弾性変形抵抗によって上部構造体12と下部構造体10との一定以上の水平方向の相対変位を抑制する作用をなす。
図1に示しているように、上部構造体12からはゴム支承16と16との間の位置において多数の鋼棒(当接部材)30が下向きに突出している。
ここで各鋼棒30は、その上部が図1(B)に示しているように上部構造体12内部に埋込状態に固定してある。
また各鋼棒30は何れも突出長さが同じ長さとされていて、それぞれの下端が同じ高さ位置に位置している。
また各鋼棒30は水平方向に位置をずらせて配置してあり、且つ全体が図1(A)に示しているように平面円形状、詳しくはドーナツ環状をなすように配置されている。
ここで各鋼棒30は、その上部が図1(B)に示しているように上部構造体12内部に埋込状態に固定してある。
また各鋼棒30は何れも突出長さが同じ長さとされていて、それぞれの下端が同じ高さ位置に位置している。
また各鋼棒30は水平方向に位置をずらせて配置してあり、且つ全体が図1(A)に示しているように平面円形状、詳しくはドーナツ環状をなすように配置されている。
一方下部構造体10からは鋼製のブロック(被当接部材)32が上向きに突出している。
ここでブロック32は多数の鋼棒30から成るドーナツ環の中心に配置されている。
またその突出高さは、各鋼棒30の先端部とブロック32の先端部とが水平方向に部分的に重なるような高さとされている。
ここでブロック32は多数の鋼棒30から成るドーナツ環の中心に配置されている。
またその突出高さは、各鋼棒30の先端部とブロック32の先端部とが水平方向に部分的に重なるような高さとされている。
本実施形態では、地震時において上部構造体12と下部構造体10とが水平方向に相対変位したとき、上部構造体12に設けた当接部材としての鋼棒30が、下部構造体10から上向きに突出させたブロック32に当接し、引続く相対変位に伴って鋼棒30が弾性変形してブロック32上に乗り上げ、続いてブロック32を乗り越えて弾かれるようにブロック32から離間して行く。
この実施形態では、その際に鋼棒30が弾性域内で弾性変形するように、鋼棒30とブロック32との水平方向の重なり部分の寸法が予め定めてある。
この実施形態では、その際に鋼棒30が弾性域内で弾性変形するように、鋼棒30とブロック32との水平方向の重なり部分の寸法が予め定めてある。
従ってブロック32上に乗り上げ、更に自身の弾発力で弾かれるようにしてブロック32を乗り越えた鋼棒30は、ブロック32から離間後、自身の弾性復元力で元の形状へと復帰する。
そして本実施形態では、その鋼棒30の弾性変形によって外部から加わった震動エネルギーを吸収し、下部構造体10と上部構造体12との水平方向の相対変位を減衰させる。
そして本実施形態では、その鋼棒30の弾性変形によって外部から加わった震動エネルギーを吸収し、下部構造体10と上部構造体12との水平方向の相対変位を減衰させる。
この実施形態では、多数の鋼棒30が水平方向に位置をずらせて配置してあるため、上部構造体12と下部構造体10との水平方向の相対変位の際、各鋼棒30がブロック32に対して時期をずらせて順次に当接及び弾性変形して、これを乗り越えて離間して行く。
そして各鋼棒30がブロック32を乗り越えて離間して行くとき、各鋼棒30に加えられていたエネルギーがそこで解放される。
各鋼棒30は順次にこのような動きをしながら、全体として外部から加えられた震動エネルギーを吸収し、水平方向の相対変位を減衰する。
そして各鋼棒30がブロック32を乗り越えて離間して行くとき、各鋼棒30に加えられていたエネルギーがそこで解放される。
各鋼棒30は順次にこのような動きをしながら、全体として外部から加えられた震動エネルギーを吸収し、水平方向の相対変位を減衰する。
図3(A)はこのときの鋼棒30の水平方向の変位量と荷重との関係を表している。
一方図3(B)は、図2に示すゴム支承16の水平方向の変位量と荷重との関係を表している。
本実施形態の震動減衰装置14は、これら図3(A)に示す変位−荷重撓み特性と、図3(B)に示す変位−荷重撓み特性とを合成した、図3(C)に示す変位−荷重撓み特性を有するものとなる。
図示のように本実施形態の震動減衰装置14は、各鋼棒30がブロック32に当り、弾性変形し、そしてこれを乗り越える時期(タイミング)をずらせてあることによって、全体として滑らかな変位−荷重撓み特性を発現する。
一方図3(B)は、図2に示すゴム支承16の水平方向の変位量と荷重との関係を表している。
本実施形態の震動減衰装置14は、これら図3(A)に示す変位−荷重撓み特性と、図3(B)に示す変位−荷重撓み特性とを合成した、図3(C)に示す変位−荷重撓み特性を有するものとなる。
図示のように本実施形態の震動減衰装置14は、各鋼棒30がブロック32に当り、弾性変形し、そしてこれを乗り越える時期(タイミング)をずらせてあることによって、全体として滑らかな変位−荷重撓み特性を発現する。
本実施形態の震動減衰装置14の場合、図1(B)中矢印P方向に相対変位した上部構造体12と下部構造体10とが、次に逆方向に戻り変形する際においても、各鋼棒30がブロック32に当接及び弾性変形してブロック32を乗り越え、その際においても上記と同様にして震動エネルギーを吸収して水平方向の相対変位を減衰する。
その際、本実施形態の震動減衰装置14はゴム支承16を備えていて、そのゴム弾性体の弾性復元力で上部構造体12と下部構造体10とを元の位置へと強制復帰させる力が働く。
その際、本実施形態の震動減衰装置14はゴム支承16を備えていて、そのゴム弾性体の弾性復元力で上部構造体12と下部構造体10とを元の位置へと強制復帰させる力が働く。
尚この実施形態において、上記鋼棒30及びブロック32の何れにも表面にゴム被覆34が施してある(図1(B)中拡大図参照)。
従ってこの実施形態では、鋼棒30がブロック32に当る際にその衝撃力をゴム被覆34によって良好に吸収することができる。
従ってこの実施形態では、鋼棒30がブロック32に当る際にその衝撃力をゴム被覆34によって良好に吸収することができる。
以上のような本実施形態の震動減衰装置14によれば、上部構造体12と下部構造体10との相対変位後において、鋼棒30に対し大きな歪を残留させることなく鋼棒30を再び元の形状に戻し得て、再度地震が発生したとき或いは地震が繰り返されたとき、良好な震動減衰性能を発揮させることができる。
また本実施形態によれば、鋼棒30を、相対変位する水平方向の異なった位置に複数設けてあるため、鋼棒30の僅かな弾性変形の下でも良好に震動吸収し、震動減衰をより効果的に且つ滑らかに行うことができる。
次に図4は本発明の他の実施形態を示している。
この実施形態では、上部構造体12におけるのと同様にして下部構造体10から鋼棒36を被当接部材として上向きに突出させている。
この鋼棒36は、鋼棒30の当接時において自身も弾性変形する。
この意味において本実施形態では下部構造体10の鋼棒36を当接部材として考え、また上部構造体12側の鋼棒30を被当接部材として考えることもできる。
尚この実施形態においても鋼棒30,36の何れにも表面にゴム被覆34が施してある。
この実施形態では、上部構造体12におけるのと同様にして下部構造体10から鋼棒36を被当接部材として上向きに突出させている。
この鋼棒36は、鋼棒30の当接時において自身も弾性変形する。
この意味において本実施形態では下部構造体10の鋼棒36を当接部材として考え、また上部構造体12側の鋼棒30を被当接部材として考えることもできる。
尚この実施形態においても鋼棒30,36の何れにも表面にゴム被覆34が施してある。
図5はこの実施形態の作用説明図である。
図示のようにこの実施形態では、上部構造体12の鋼棒30と下部構造体10の鋼棒36とが、それぞれ対応する数で且つ対応する位置に設けられている。
従ってこの実施形態では、上部構造体12と下部構造体10とが地震時において水平方向に相対変位したとき、鋼棒30と36とのそれぞれが、他方に対して当接及び弾性変形してこれを乗り越えて離間して行く(図5(B)参照)。
図示のようにこの実施形態では、上部構造体12の鋼棒30と下部構造体10の鋼棒36とが、それぞれ対応する数で且つ対応する位置に設けられている。
従ってこの実施形態では、上部構造体12と下部構造体10とが地震時において水平方向に相対変位したとき、鋼棒30と36とのそれぞれが、他方に対して当接及び弾性変形してこれを乗り越えて離間して行く(図5(B)参照)。
図5(C)はその際の鋼棒30と鋼棒36との当接及び弾性変形、更に離間する際の変位量と荷重特性を鋼棒30,36の1つについて表したものである。
尚図5(C)の(イ)は図4中矢印Pで示す往方向の変位−荷重特性を、また(ロ)は反対方向である復方向の変位−荷重特性を表している。
尚図5(C)の(イ)は図4中矢印Pで示す往方向の変位−荷重特性を、また(ロ)は反対方向である復方向の変位−荷重特性を表している。
この実施形態の震動減衰装置14によれば、鋼棒30及び鋼棒36(当接部材及び被当接部材)のそれぞれの弾性変形に基づいて震動エネルギーの吸収、即ち上部構造体12と下部構造体10との水平方向の相対変位に対する減衰機能を高めることができる。
尚図4及び図5では複数の鋼棒30と複数の鋼棒36とがそれぞれ同時に当接するものとして説明しているが、場合によって複数の鋼棒30と複数の鋼棒36との当接時期をずらせるように、それら鋼棒30,36の配置を定めておくことも可能である。
また上記実施形態では鋼棒30が弾性域(弾性限度)内で弾性変形するものとして説明したが、本発明においてはそれらが変形する際に多少の塑性変形を伴っていても良い。この点は以下の実施例においても同様である。
また上記実施形態では鋼棒30が弾性域(弾性限度)内で弾性変形するものとして説明したが、本発明においてはそれらが変形する際に多少の塑性変形を伴っていても良い。この点は以下の実施例においても同様である。
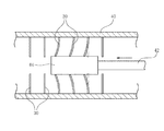
図6,図7及び図8は本発明の他の実施形態を示している。
図6に示しているようにこの実施形態の震動減衰装置14は、有底円筒状のシリンダ(保持ケース)40と、そのシリンダ40の長手方向及び周方向に沿って中心側(軸心側)に突設された多数の棒状且つ鋼製の当接部材30と、シリンダ40内に相対移動可能に挿入されたロッド42と、そのロッド42の先端部に設けられた鋼製のブロック状の被当接部材44と、シリンダ40から延び出した取付用のロッド46と、ロッド42及び46の各端部を下部構造体10,上部構造体12に対して回転可能に連結するボールジョイントを備えた連結部48とが一体のダンパユニット50として構成されている。
図6に示しているようにこの実施形態の震動減衰装置14は、有底円筒状のシリンダ(保持ケース)40と、そのシリンダ40の長手方向及び周方向に沿って中心側(軸心側)に突設された多数の棒状且つ鋼製の当接部材30と、シリンダ40内に相対移動可能に挿入されたロッド42と、そのロッド42の先端部に設けられた鋼製のブロック状の被当接部材44と、シリンダ40から延び出した取付用のロッド46と、ロッド42及び46の各端部を下部構造体10,上部構造体12に対して回転可能に連結するボールジョイントを備えた連結部48とが一体のダンパユニット50として構成されている。
ここでロッド42はシリンダ40の中心部に挿入されており、その先端部のブロック状の被当接部材44もまたシリンダ40の中心部に位置させられている。
一方棒状の当接部材30は、図6(B)に示しているようにシリンダ40の内周面からその中心(軸心)に向けて放射状に配列されている。
この実施形態では、放射状に配列された各棒状の当接部材30の中心側の端部が、被当接部材44に対して図6中左右方向即ち水平方向において部分的に重なるような長さで各当接部材30がそれぞれ同じ突出長さで設けられている。
尚この実施形態において、震動減衰装置14は上記実施例と同様にゴム支承16を備えたものとして構成しても良いし、またかかるゴム支承16を除いた形態で構成しておいても良い。
またここではロッド42の端部を下部構造体10に、またロッド46の端部を上部構造体12に連結するようにしているが、これとは逆にロッド42の端部を連結部48において上部構造体12に、またロッド46の端部を連結部48において下部構造体10に連結するようになしても良い。
この実施形態では、地震の際に下部構造体10と上部構造体12とが水平方向に相対変位すると、ロッド42がシリンダ40に対して図中左右方向即ちシリンダ40の軸方向に相対移動する。
このとき、シリンダ40の内周面からその中心に向けて突設された多数の当接部材30は、図7に示しているようにロッド42の先端部に設けられたブロック状の鋼製の被当接部材44に対して当接し、続いて弾性変形して被当接部材44の上に乗り上げた後、被当接部材44を乗り越えて弾かれるようにして離間して行く。
そしてその際の各当接部材30の弾性変形に基づいて震動エネルギーが吸収され、下部構造体10と上部構造体12との水平方向の相対変位が良好に減衰される。
その際の各当接部材30及び被当接部材44の作用は基本的に図1に示したものと同様である。
その際の各当接部材30及び被当接部材44の作用は基本的に図1に示したものと同様である。
尚本実施形態においても、当接部材30及び被当接部材44の何れにもゴム被覆34が施されている。但し場合によっては何れか一方または両方のゴム被覆34を省略することも可能である。
本実施形態の震動減衰装置14において、ダンパユニット50は連結部48において上部構造体12と下部構造体10とに対してそれぞれ回転可能に連結されていることから、地震に際して上部構造体12と下部構造体10とが上下方向の相対変位を伴って水平方向に相対変位した場合であっても良好に震動吸収することができる。
図8はその様子を表している。
図8はその様子を表している。
図示のように上部構造体12と下部構造体10とが水平方向に相対変位する際に上下方向の相対変位を伴っていても、この実施形態ではシリンダ40とロッド42とが傾斜しつつ互いに平行な状態を保って軸方向に相対移動するため(放射状に配列された多数の棒状の当接部材30の先端部が被当接部材44に対して同じ掛り代となるように当接部材30と被当接部材44との接触が自動調整される)、このような上下方向変位を伴った水平方向変位の際にも良好に震動エネルギーを吸収することができる。
本実施形態では、保持ケース40,当接部材30,ロッド42,46及び被当接部材44等を独立した一体のダンパユニット50として構成していることから、現場においてこれを上部構造体12と下部構造体10との間に容易に装着することができる。
尚、図6〜図8の実施形態ではダンパユニット50を上部構造体12と下部構造体10とにまたがって装着し、それらの間で地震の際の水平方向の相対変位を減衰するようになしているが、このダンパユニット50は、それ以外に例えば建築物における柱と壁との間、或いは柱と梁との間等その他の相対変位する一対の構造体間に装着して、それらの間の相対変位を減衰するものとして用いることも可能である。
この点は以下の実施例においても同様である。
この点は以下の実施例においても同様である。
図9〜図12は本発明の更に他の実施形態を示している。
この実施形態においては、ダンパユニット50における有底円筒状のシリンダ40に保持された鋼製の当接部材30が、図10にも示しているように中心部に貫通穴52を有する皿ばね状をなしている。
図10中54はその皿ばね状をなす当接部材30の凸曲面を、56は凹曲面を表している。
図10(B)に示しているようにこの皿ばね状の当接部材30にはまた、中心部の貫通穴52から放射状に切込み58が設けられている。
この実施形態においては、ダンパユニット50における有底円筒状のシリンダ40に保持された鋼製の当接部材30が、図10にも示しているように中心部に貫通穴52を有する皿ばね状をなしている。
図10中54はその皿ばね状をなす当接部材30の凸曲面を、56は凹曲面を表している。
図10(B)に示しているようにこの皿ばね状の当接部材30にはまた、中心部の貫通穴52から放射状に切込み58が設けられている。
一方ブロック状をなす被当接部材44は、その前端面と後端面とがテーパ面60とされている。
尚他の構成については図6〜図8の実施形態のそれと同様である。
尚他の構成については図6〜図8の実施形態のそれと同様である。
この実施形態の場合、上部構造体12と下部構造体10とが水平方向に相対変位すると、例えば上部構造体12が図中右向き、下部構造体10が図中左向きに相対変位すると、図11に示しているようにシリンダ40の長手方向(軸方向)に設けられた複数の皿ばね状の当接部材30の何れかが、内周端部において被当接部材44に当接し、続いて被当接部材44による押圧力で図11(II)に示すように図中左向きに圧縮されて弾性変形する。
この弾性変形は、上記の内周端部が図10(A)の不安定な中間位置Pを通り過ぎると、そこで当接部材30が図中2点鎖線で示しているようにターンオーバー運動し、凸曲面54と凹曲面56とを反転させる。
即ち今まで凸曲面54をなしていた面が凹曲面となり、また凹曲面56をなしていた面が凸曲面となる。
この弾性変形は、上記の内周端部が図10(A)の不安定な中間位置Pを通り過ぎると、そこで当接部材30が図中2点鎖線で示しているようにターンオーバー運動し、凸曲面54と凹曲面56とを反転させる。
即ち今まで凸曲面54をなしていた面が凹曲面となり、また凹曲面56をなしていた面が凸曲面となる。
その後図11(III),図12(IV)に示しているように当接部材30の内周端部が被当接部材44に弾性的に乗り上げ、続いて図12(V)に示すように被当接部材44を乗り越え、弾かれるようにして被当接部材44から離れて行く。
この実施形態のダンパユニット50においては、シリンダ40の内周面に沿って長手方向に配設された複数の当接部材30が次々と同様の運動を行って震動エネルギーを吸収し、上部構造体12と下部構造体10との間の水平方向の相対変位を減衰する。
また被当接部材44が上記とは逆方向に戻る際においても、各当接部材30における同様の動きが行われて(このときには上記とは逆向きの動きとなる)その際においても震動エネルギーが吸収される。
また被当接部材44が上記とは逆方向に戻る際においても、各当接部材30における同様の動きが行われて(このときには上記とは逆向きの動きとなる)その際においても震動エネルギーが吸収される。
尚、被当接部材44が元の位置に戻ることによって、各当接部材30は上記とは逆方向にターンオーバー運動し、元の形状へと復帰する。
この震動減衰装置14にあっては、当接部材30のターンオーバー運動を利用しているため、震動の減衰作用時に当接部材30の塑性変形を可及的に少なくし得て、その耐久性を効果的に高めることができる。
また弾性変形に基づく震動減衰の効率も高い利点が得られる。
また弾性変形に基づく震動減衰の効率も高い利点が得られる。
以上本発明の実施形態を詳述したがこれはあくまで一例示であり、本発明はその趣旨を逸脱しない範囲において種々変更を加えた形態で構成可能である。
10 下部構造体
12 上部構造体
14 震動減衰装置
16 ゴム支承
30,36 鋼棒(当接部材又は被当接部材)
32 ブロック(被当接部材)
34 ゴム被覆
40 シリンダ(保持ケース)
42,46 ロッド
44 被当接部材
48 連結部
52 貫通穴
54 凸曲面
56 凹曲面
58 切込み
12 上部構造体
14 震動減衰装置
16 ゴム支承
30,36 鋼棒(当接部材又は被当接部材)
32 ブロック(被当接部材)
34 ゴム被覆
40 シリンダ(保持ケース)
42,46 ロッド
44 被当接部材
48 連結部
52 貫通穴
54 凸曲面
56 凹曲面
58 切込み
Claims (16)
- 地震により互いに相対変位する一対の構造体の一方に当接部材を、他方に被当接部材を、それらの相対変位方向において該当接部材の端部が該被当接部材に対して部分的に重なるように互いに切り離して設け、該相対変位時に該当接部材の端部を該被当接部材に当接及び弾性変形させた後、更に該被当接部材を乗り越えて移動させ、該被当接部材から離間させるようになしてあることを特徴とする震動減衰装置。
- 請求項1において、前記当接部材が前記被当接部材に当接及び弾性変形して乗り越える際に、該被当接部材もまた弾性変形するようになしてあることを特徴とする震動減衰装置。
- 請求項1,2の何れかにおいて、前記当接部材が鋼製であることを特徴とする震動減衰装置。
- 請求項1〜3の何れかにおいて、前記被当接部材が鋼製であることを特徴とする震動減衰装置。
- 請求項1〜4の何れかにおいて、前記当接部材及び被当接部材の少なくとも一方が、前記相対変位方向の異なった位置に複数設けてあり、前記相対変位時に該当接部材が該被当接部材に対して順次に時期をずらせて当接及び弾性変形して、該被当接部材を乗り越えるようになしてあることを特徴とする震動減衰装置。
- 請求項1〜5の何れかにおいて、前記当接部材及び被当接部材の少なくとも一方がゴム被覆されていることを特徴とする震動減衰装置。
- 請求項1〜6の何れかにおいて、前記一対の構造体の一方が橋梁や建設物等構造体の上部構造体であって、他方が下部構造体であり、前記相対変位方向が水平方向であることを特徴とする震動減衰装置。
- 請求項1〜7の何れかにおいて、前記震動減衰装置が保持ケースを有していて、前記当接部材が該保持ケースにより且つ該保持ケースの軸心側に突出する状態に保持されているとともに、該保持ケース内には軸方向にロッドが相対移動可能に挿入されていて、該ロッドに前記被当接部材が設けられていることを特徴とする震動減衰装置。
- 請求項8において、前記保持ケースが筒状のシリンダを成していることを特徴とする震動減衰装置。
- 請求項1〜9の何れかにおいて、前記当接部材が棒状をなしていることを特徴とする震動減衰装置。
- 請求項1〜9の何れかにおいて、前記当接部材が中心部に貫通穴を有する皿ばね状をなしていて、内周端部が前記被当接部材に当接するようになしてあり、地震時の相対移動時に先ず凸曲面側が該被当接部材に当接した後、その押圧力でターンオーバー運動して凸曲面と凹曲面とが反転した後、該内周端部が該被当接部材を乗り越えて更に離間するようになしてあることを特徴とする震動減衰装置。
- 請求項11において、前記皿ばね状の当接部材には中心部の前記貫通穴から放射状に切込みが入れてあることを特徴とする震動減衰装置。
- 請求項1〜12の何れかにおいて、前記被当接部材がブロック状若しくは棒状をなしていることを特徴とする震動減衰装置。
- 請求項8〜13の何れかにおいて、前記保持ケース及び前記ロッドの互いに逆の各一端側には、該保持ケース及びロッドを前記一対の構造体の一方と他方とにそれぞれ回転可能に連結する連結部が設けてあることを特徴とする震動減衰装置。
- 請求項7において、前記当接部材が棒状、前記被当接部材がブロック状若しくは棒状をなしていて、該当接部材が前記上部構造体及び下部構造体の一方から突出する状態で該一方に直接固設されているとともに、該被当接部材が他方から該当接部材に向けて突出する状態で該他方に直接固設されていることを特徴とする震動減衰装置。
- 請求項1〜15の何れかにおいて、前記震動減衰装置は、前記上部構造体と下部構造体との間に介設され、それら上部構造体及び下部構造体の前記水平方向の相対変位時に剪断弾性変形するゴム支承を、前記当接部材及び被当接部材とは異なった水平方向位置に有していることを特徴とする震動減衰装置。
Priority Applications (1)
| Application Number | Priority Date | Filing Date | Title |
|---|---|---|---|
| JP2004224614A JP2005299915A (ja) | 2004-03-17 | 2004-07-30 | 震動減衰装置 |
Applications Claiming Priority (2)
| Application Number | Priority Date | Filing Date | Title |
|---|---|---|---|
| JP2004076352 | 2004-03-17 | ||
| JP2004224614A JP2005299915A (ja) | 2004-03-17 | 2004-07-30 | 震動減衰装置 |
Publications (1)
| Publication Number | Publication Date |
|---|---|
| JP2005299915A true JP2005299915A (ja) | 2005-10-27 |
Family
ID=35331676
Family Applications (1)
| Application Number | Title | Priority Date | Filing Date |
|---|---|---|---|
| JP2004224614A Withdrawn JP2005299915A (ja) | 2004-03-17 | 2004-07-30 | 震動減衰装置 |
Country Status (1)
| Country | Link |
|---|---|
| JP (1) | JP2005299915A (ja) |
Cited By (4)
| Publication number | Priority date | Publication date | Assignee | Title |
|---|---|---|---|---|
| JP2008286929A (ja) * | 2007-05-16 | 2008-11-27 | Canon Inc | 振れ補正装置および撮像装置 |
| CN105298627A (zh) * | 2015-11-09 | 2016-02-03 | 安徽江淮汽车股份有限公司 | 一种中冷器管路固定结构 |
| CN109457831A (zh) * | 2018-11-21 | 2019-03-12 | 大连大学 | 形状记忆合金绞线支撑减震器 |
| JP2023124361A (ja) * | 2022-02-25 | 2023-09-06 | ショーボンド建設株式会社 | 移動制限機能付きジャッキアップ装置及び支承取替方法 |
-
2004
- 2004-07-30 JP JP2004224614A patent/JP2005299915A/ja not_active Withdrawn
Cited By (6)
| Publication number | Priority date | Publication date | Assignee | Title |
|---|---|---|---|---|
| JP2008286929A (ja) * | 2007-05-16 | 2008-11-27 | Canon Inc | 振れ補正装置および撮像装置 |
| CN105298627A (zh) * | 2015-11-09 | 2016-02-03 | 安徽江淮汽车股份有限公司 | 一种中冷器管路固定结构 |
| CN105298627B (zh) * | 2015-11-09 | 2017-09-29 | 安徽江淮汽车集团股份有限公司 | 一种中冷器管路固定结构 |
| CN109457831A (zh) * | 2018-11-21 | 2019-03-12 | 大连大学 | 形状记忆合金绞线支撑减震器 |
| CN109457831B (zh) * | 2018-11-21 | 2023-08-18 | 大连大学 | 形状记忆合金绞线支撑减震器 |
| JP2023124361A (ja) * | 2022-02-25 | 2023-09-06 | ショーボンド建設株式会社 | 移動制限機能付きジャッキアップ装置及び支承取替方法 |
Similar Documents
| Publication | Publication Date | Title |
|---|---|---|
| JP4545920B2 (ja) | 橋梁における免震構造系 | |
| JP6173553B1 (ja) | 橋梁用制震装置 | |
| JP2008088641A (ja) | 建築物又は建造物の補強部材 | |
| He et al. | Development of rocking isolation bearing system (RIBS) to control excessive seismic responses of bridge structures | |
| JP2005299915A (ja) | 震動減衰装置 | |
| JP2015025272A (ja) | 制振耐震複合部材およびそれを用いた建物 | |
| JP5911743B2 (ja) | 制震ダンパー及び制震構造 | |
| JP5214371B2 (ja) | 構造物 | |
| JP2019116724A (ja) | 変位ストッパーと免震建物 | |
| JPH0749733B2 (ja) | 制震壁 | |
| KR20050082943A (ko) | 형상기억합금 와이어를 이용한 면진장치 | |
| JP2001323964A (ja) | 制震ダンパー及び制震橋 | |
| JP2006233729A (ja) | 住宅の耐震性向上装置と耐震性向上方法 | |
| JPH08319732A (ja) | 構造物用3次元免震装置 | |
| JP4635700B2 (ja) | 建物の制震構造 | |
| JP2003155838A (ja) | 建築物の免震構造 | |
| JP2017160652A (ja) | 橋梁用座屈拘束型ダンパ | |
| JPH11293948A (ja) | 鉄骨ラーメン構造の制震装置 | |
| JP4330026B1 (ja) | 制振装置及び制振構造 | |
| JPH10292845A (ja) | 弾塑性ダンパー | |
| JP2003329082A (ja) | 制震機構 | |
| JP7266468B2 (ja) | 免震構造 | |
| JP4609628B2 (ja) | 地震緩衝用具及びこれを用いた耐震用仕口装置 | |
| JP2008156925A (ja) | 緩衝用ユニット、受衝構造 | |
| JP2006257688A (ja) | 制振形のボルト接合構造 |
Legal Events
| Date | Code | Title | Description |
|---|---|---|---|
| A621 | Written request for application examination |
Free format text: JAPANESE INTERMEDIATE CODE: A621 Effective date: 20070123 |
|
| A761 | Written withdrawal of application |
Free format text: JAPANESE INTERMEDIATE CODE: A761 Effective date: 20080403 |