JP2005299328A - 回転ドアの駆動制御方法及び回転ドア装置 - Google Patents

回転ドアの駆動制御方法及び回転ドア装置 Download PDF

Info

Publication number
JP2005299328A
JP2005299328A JP2004120554A JP2004120554A JP2005299328A JP 2005299328 A JP2005299328 A JP 2005299328A JP 2004120554 A JP2004120554 A JP 2004120554A JP 2004120554 A JP2004120554 A JP 2004120554A JP 2005299328 A JP2005299328 A JP 2005299328A
Authority
JP
Japan
Prior art keywords
door
panel
revolving door
arc
sensor
Prior art date
Legal status (The legal status is an assumption and is not a legal conclusion. Google has not performed a legal analysis and makes no representation as to the accuracy of the status listed.)
Abandoned
Application number
JP2004120554A
Other languages
English (en)
Inventor
Shoichi Nakanishi
祥一 中西
Tatsuya Yokoyama
達哉 横山
Yasunori Shikoku
康則 四國
Current Assignee (The listed assignees may be inaccurate. Google has not performed a legal analysis and makes no representation or warranty as to the accuracy of the list.)
Nabtesco Corp
Original Assignee
Nabtesco Corp
Priority date (The priority date is an assumption and is not a legal conclusion. Google has not performed a legal analysis and makes no representation as to the accuracy of the date listed.)
Filing date
Publication date
Application filed by Nabtesco Corp filed Critical Nabtesco Corp
Priority to JP2004120554A priority Critical patent/JP2005299328A/ja
Priority to PCT/JP2005/007225 priority patent/WO2005100724A1/ja
Publication of JP2005299328A publication Critical patent/JP2005299328A/ja
Abandoned legal-status Critical Current

Links

Images

Classifications

    • EFIXED CONSTRUCTIONS
    • E06DOORS, WINDOWS, SHUTTERS, OR ROLLER BLINDS IN GENERAL; LADDERS
    • E06BFIXED OR MOVABLE CLOSURES FOR OPENINGS IN BUILDINGS, VEHICLES, FENCES OR LIKE ENCLOSURES IN GENERAL, e.g. DOORS, WINDOWS, BLINDS, GATES
    • E06B3/00Window sashes, door leaves, or like elements for closing wall or like openings; Layout of fixed or moving closures, e.g. windows in wall or like openings; Features of rigidly-mounted outer frames relating to the mounting of wing frames
    • E06B3/90Revolving doors; Cages or housings therefor
    • E06B3/903Revolving doors; Cages or housings therefor consisting of arcuate wings revolving around a parallel axis situated outside the wing, e.g. a cylindrical wing revolving around its axis
    • EFIXED CONSTRUCTIONS
    • E05LOCKS; KEYS; WINDOW OR DOOR FITTINGS; SAFES
    • E05FDEVICES FOR MOVING WINGS INTO OPEN OR CLOSED POSITION; CHECKS FOR WINGS; WING FITTINGS NOT OTHERWISE PROVIDED FOR, CONCERNED WITH THE FUNCTIONING OF THE WING
    • E05F15/00Power-operated mechanisms for wings
    • E05F15/60Power-operated mechanisms for wings using electrical actuators
    • E05F15/603Power-operated mechanisms for wings using electrical actuators using rotary electromotors
    • E05F15/608Power-operated mechanisms for wings using electrical actuators using rotary electromotors for revolving wings
    • EFIXED CONSTRUCTIONS
    • E05LOCKS; KEYS; WINDOW OR DOOR FITTINGS; SAFES
    • E05FDEVICES FOR MOVING WINGS INTO OPEN OR CLOSED POSITION; CHECKS FOR WINGS; WING FITTINGS NOT OTHERWISE PROVIDED FOR, CONCERNED WITH THE FUNCTIONING OF THE WING
    • E05F15/00Power-operated mechanisms for wings
    • E05F15/70Power-operated mechanisms for wings with automatic actuation
    • EFIXED CONSTRUCTIONS
    • E05LOCKS; KEYS; WINDOW OR DOOR FITTINGS; SAFES
    • E05YINDEXING SCHEME ASSOCIATED WITH SUBCLASSES E05D AND E05F, RELATING TO CONSTRUCTION ELEMENTS, ELECTRIC CONTROL, POWER SUPPLY, POWER SIGNAL OR TRANSMISSION, USER INTERFACES, MOUNTING OR COUPLING, DETAILS, ACCESSORIES, AUXILIARY OPERATIONS NOT OTHERWISE PROVIDED FOR, APPLICATION THEREOF
    • E05Y2900/00Application of doors, windows, wings or fittings thereof
    • E05Y2900/10Application of doors, windows, wings or fittings thereof for buildings or parts thereof
    • E05Y2900/13Type of wing
    • E05Y2900/132Doors

Landscapes

  • Engineering & Computer Science (AREA)
  • Civil Engineering (AREA)
  • Structural Engineering (AREA)
  • Extensible Doors And Revolving Doors (AREA)
  • Power-Operated Mechanisms For Wings (AREA)

Abstract

【課題】 回転ドアと出入り口との間に通行者が挟まれることを低減する。
【解決手段】 2つの対向する出入り口10、12を形成する円弧状の外壁パネル6、8に沿って回転自在に、仕切りパネル14が設けられている。仕切りパネル14は、出入り口10、12を開閉する円弧パネル18、20を有している。円弧パネル18、20が出入り口10、12の戸挟み区間を移動する間、低速で仕切りパネル14が回転され、円弧パネル18、20が出入り口10、12を閉鎖する閉じ位置から高速で仕切りパネル14を回転される。
【選択図】 図1

Description

本発明は、回転ドアの駆動制御方法及び回転ドア装置に関し、特に回転ドアの速度制御に関する。
回転ドア装置としては、例えば特許文献1に開示されているようなものがある。この特許文献1の回転ドア装置では、対向した2つの出入り口を有する円筒状の外壁パネル内に沿って回転ドアが回転する。この回転ドアは、外壁パネルの直径方向に沿って配置された仕切り壁を有している。この仕切り壁の両端に外壁部がそれぞれ設けられている。これら外壁部では、2つの出入り口を同時に閉鎖することが可能な2つの円弧パネルが外壁パネルと同心状に形成され、外壁パネルに沿って回転可能に配置されている。円弧パネルの回転方向の前端縁に直線状の壁部が設けられ、円弧パネルの回転方向の後端縁に凹面壁が設けられ、これら壁部と凹面壁とによって仕切り壁に円弧パネルが結合されている。出入り口を円弧パネルが閉じていない状態で回転ドアが停止しており、出入り口の近傍に設けたセンサが通行者を検知すると、回転ドアが回転を開始する。また、外壁部の直線状へ基部に設けたセンサが、壁部に近づきすぎた通行者を検知すると、回転ドアは停止させられる。
特公平4−37912号公報
上記の回転ドア装置では、出入り口から外壁パネル内に通行者が入った後、通行者が直線状の壁部に近づきすぎたときに、回転ドアが停止するように構成されている。しかし、回転ドアが出入り口の一部を閉じ始めてから完全に閉じるまでの間(戸挟み区間)に、円弧パネルと出入り口の縁との間に通行者が挟まれることを防止するための対策については開示していない。例えば各種のセンサを配置し、戸挟み区間に通行者が存在する場合に、回転ドアを停止させることが考えられる。しかし、この回転ドア装置では、回転ドアは常に一定の速度で回転しているので、各種センサが通行者を検知しても、回転ドアを即座に停止させることは困難で、回転ドアと出入り口の縁との間に通行者が挟まれる可能性が高い。
本発明は、回転ドアと出入り口の縁との間に通行者が挟まれることを低減することができる回転ドアの駆動制御方法及び回転ドア装置を提供することを目的とする。
本発明による回転ドアの駆動制御方法は、2つの対向する出入り口を開閉する円弧パネルを備えた回転ドアの駆動制御方法であって、前記円弧パネルが前記出入り口の戸挟み区間を移動する間、前記回転ドアを低速で回転駆動させる。戸挟み区間以外の区間では、通常の速度で回転ドアは回転している。また、通常の速度から低速への変更は、ステップ状に行うのではなく、漸減させることが望ましい。円弧パネルは、2つの出入り口を同時に閉鎖することができるものが望ましい。また戸挟み区間は、円弧パネルが出入り口の一部を閉鎖した状態から、出入り口を完全に閉鎖した状態までを言う。出入り口の一部の閉鎖としては、例えば出入り口の半分を超えて閉鎖した状態とすることもできる。
この駆動制御方法では、戸挟み区間では、回転ドアは低速で駆動されている。従って、戸挟み区間で通行者が検知され、直ちに制動を掛けた場合、その制動距離が短くなり、円弧パネルと出入り口の縁との間に通行者が挟まれる可能性が非常に小さくなる。
本発明による回転ドア装置は、円弧状の外壁パネルを有している。この外壁パネルは、2つの対向する出入り口を形成している。この外壁パネルに沿って回転自在に仕切りパネルが設けられ、この仕切りパネルは、前記2つの出入り口を開閉する円弧パネルを有している。円弧パネルによる2つの出入り口の閉鎖は、同時に行うことが望ましい。仕切りパネルは駆動部によって回転させられる。駆動部は、異なる速度で回転ドアを回転させることができ、制動手段を備えることが望ましい。この駆動部を駆動制御手段が制御する。駆動制御手段は、前記円弧パネルが前記出入り口の戸挟み区間を移動する間、前記駆動部を低速で回転駆動させる低速制御手段と、前記円弧パネルが前記出入り口を閉鎖する閉じ位置から前記駆動部を高速で回転駆動させる高速制御手段とを、有している。戸挟み区間は、円弧パネルが出入り口の一部を閉じた位置から前記閉じ位置までの区間とすることができる。高速制御手段は、前記閉じ位置から前記戸挟み区間の開始位置までの間を高速で回転させることが望ましい。また、駆動制御手段は、戸挟み区間に通行者等が存在するか否かを検知する検知手段から信号の入力を受け、検知手段の信号が戸挟み区間に通行者が存在することを表すとき、回転ドアの回転を停止させることが望ましい。
このように構成された回転ドア装置では、戸挟み区間を円弧パネルが移動している間には、円弧パネルは低速で移動している。従って、戸挟み区間で通行者が検知されて、円弧パネルの回転が停止されると、短い制動距離で円弧パネルが停止し、円弧パネルと出入り口の縁との間に、通行者が挟まれる可能性を非常に小さくできる。
以上のように、本発明によれば、戸挟み区間で通行者が検知されて、円弧パネルの回転が停止されると、短い制動距離で円弧パネルが停止し、円弧パネルと出入り口の縁との間に、通行者が挟まれる可能性を低減させることができる。
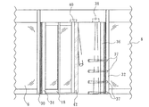
本発明の一実施形態の回転ドア装置は、図1(a)乃至(e)に示すように、外壁パネル2を有している。この外壁パネル2は、例えばビルの内外を区画している壁部4に、内外に貫通するように形成した開口に取り付けられ、平面的に見て同一の円周上に位置するように配置された2つの円弧状外壁6、8を有している。この円弧状外壁6、8の間に、外壁パネル2に出入りするための開口10、12が対向するように配置されている。これら開口10、12は、壁部4に直交する方向に位置している。
外壁パネル2内に、仕切りパネル14が配置されている。仕切りパネル14は、平面的に見て外壁パネル4の直径方向に沿って配置されている。この仕切りパネル14の中央部に、自動ドア、例えば両引きのスライドドア16が配置されている。
図3に拡大して示すように、仕切りパネル14の先端部には、円弧パネル18、20が取り付けられている。これら円弧パネル18、20は、円弧状外壁6、8と同心状に形成されている。図1(d)に示すように、円弧パネル18、20は、出入り口10、12を閉鎖することができる大きさに形成され、仕切りパネル14の中心を対称点とする点対称に配置されている。従って、円弧パネル18、20は同時に出入り口10、12を閉鎖することができる。この円弧パネル18、20とスライドドア16との間には、平面的に見て直線状の壁体22、24と平面的に見て湾曲状の壁体26、28とが設けられている。これらによって展示空間がそれぞれ形成されている。
この仕切りパネル14、円弧パネル18、20等は、図示していないが円弧状外壁6、8の上部を繋ぐ回転天井に吊り下げられ、この回転天井が回転することによって、図1(a)乃至(e)に示すように、仕切りパネル14、円弧パネル18、20等は例えば反時計方向に回転させられる。これによって、円弧パネル18、20は、円弧状外壁6、8の内面に沿って回転する。
図2に示すように、出入り口12の両縁に垂直に立っている方立30、32には緩衝ゴム34、36が設けられている。方立32側の緩衝ゴム36はゴムスイッチ36として形成されており、このゴムスイッチ36に通行者が接触したとき、ゴムスイッチ36が通行者を検知する。また、仕切りパネル14の回転方向の前方側にある方立32には、その長さ方向に床面側から所定の間隔を隔てて複数、例えば4個のコラムセンサ37が設けられている。図2に示すようなコラムセンサ37の4つの検知領域のいずれかに通行者が入ったとき、通行者を検知する。これら検知領域は、後述する戸挟み区間よりも幾分外方に設定されている。また、上述した回転天井の周囲にある固定天井の方立32の近傍には、戸挟み防止センサ38が設けられている。戸挟み防止センサ38は、各コラムセンサ37の検知領域と交差して床面に向かう検知領域を有している。この検知領域に通行者が入ったとき、この通行者を戸挟み防止センサ38が検知する。この戸挟み防止センサの検知領域も、後述する戸挟み区間内にある。これらセンサ36、37、38が、通行者を検知したとき、仕切りパネル14は停止させられる。
また、固定天井には、戸挟み区間検知手段、例えばリードスイッチ40が設けられている。このリードスイッチ40は、円弧パネル18の前端が、図3に示す戸挟み区間42に到達したときに、第1の状態、例えばオン状態になり、戸挟み区間42を離れたときに、第2の状態、例えばオフ状態になる。戸挟み区間42は、円弧パネル18が、出入り口12の一部、例えばその半分よりも幾分多くを閉じた状態から円弧パネル18が出入り口12を完全に閉じる閉じ位置まで円弧パネル18が通過する軌跡上の区間である。リードスイッチ40をオン、オフさせるために、リードスイッチ40の近傍を通る回転天井には、所定の間隔をおいて永久磁石のN極とS極とが配置されている(図4参照)。円弧パネル18の前端縁が戸挟み区間42を通過していることをリードスイッチ40が検知しているとき、後述するように仕切りパネル14は減速される。
円弧パネル18の前端縁には、エッジセンサ42が取り付けられ、これに通行者が接触したとき、エッジセンサ42が通行者を検知する。また、回転天井には、円弧パネル18の前方で通行者を検知する床面側に向かう検知領域を形成する戸先センサ44(図4参照)が取り付けられている。この戸先センサの検知領域は、円弧パネル18の前端縁が戸挟み区間に入ったとき、この戸挟み区間よりも幾分外壁パネル2内側を円弧パネル18の走行に沿って移動する。エッジセンサ42、戸先センサ44が通行者を検知したときにも、仕切りパネル14が停止させられる。
なお、出入り口10側にも方立ゴムスイッチ36、コラムセンサ37、戸挟み防止センサ38が設けられ、円弧パネル20の前端縁側にもエッジセンサ42、戸先センサ44が設けられている。なお、スライドドア16の通行者との接触を防止するためのセンサ等も設けられているが、本願発明とは直接に関連しないので、説明は省略する。
図4に示すように、方立ゴムスイッチ36、コラムセンサ37、戸挟み防止センサ38、リードスイッチ40は、固定天井側に設けられた固定制御盤46に接続されている。また、この固定制御盤46には、起動センサ48も接続されている。この起動センサ48が通行者を検知したとき、仕切りパネル14が回転させられる。固定制御盤46は、スリップリング50を介して回転天井側に設けられた可動制御盤52に接続され、各センサからの情報が可動制御盤52に伝達される。可動制御盤52にはエッジセンサ42、戸先センサ44が接続されている。これらエッジセンサ42、戸先センサ44からの情報、スリップリング50を介しての方立ゴムスイッチ36、コラムセンサ37、戸挟み防止センサ38、リードスイッチ40からの情報に基づいて、可動制御盤52は、回転天井の駆動部、例えばモータ54の回転開始、停止、速度制御を行う。この制御には、駆動制御部、例えばインバータ56を使用している。また、可動制御盤52には、制動手段、例えば電磁ブレーキ58が接続されている。この電磁ブレーキ58は、回転天井を制動するために使用される。
なお、回転天井側には、この他にスライドドア16の駆動部及び制御部、スライドドアを開閉するためのセンサが存在するが、本願発明とは直接に関連しないので、説明は省略する。
例えば図1(a)に示すように仕切りパネル14が、壁部4と平行な状態、即ち中立位置で停止しているとする。起動センサ48が通行者を検知すると、同図(b)に示すように仕切りパネル14が反時計方向に回転を開始する。このときの速度は、図5に示すように予め定めた一定の速度V1である。そして、同図(c)に示すように仕切りパネル14の前端縁が戸挟み区間に到達し、リードスイッチ40がオンになると、図5に示すように減速域DEを経て速度V2(V2<V1)に減速される。即ち、速度V1が高速で、速度V2が低速である。減速域DEの時間は短いことが望ましいので、電磁ブレーキ58とインバータ56による減速とが併用されて減速される。
速度V2の状態は、同図(d)に示すように円弧パネル18が出入り口12を完全に閉じ、かつ円弧パネル20が出入り口10を完全に閉じる閉じ位置まで継続される。この戸挟み区間を円弧パネル18の前端縁が通過し終わったとき、リードスイッチ40がオフとなり、図5に示すように加速域ACを経て再び速度V1で仕切りパネル14が回転する。
このように戸挟み区間では、仕切りパネル14の速度が、低速度V2に低下させてある。従って、図1(c)に示すように、通行者が戸挟み区間内に入ろうとすると、コラムセンサ36、コラムセンサ37、戸挟み防止センサ38、エッジセンサ42、戸先センサ44のいずれかによって通行者が検知され、可動制御盤52によって電磁ブレーキ58が作動する。これによって、短い制動距離で仕切りパネル14が停止し、通行者が円弧パネル18の前端縁と出入り口12の方立32との間に挟まれることを未然に防止できる。出入り口10側においても同様である。
このように制御を行うため、可動制御盤52は、例えば図6のフローチャートで示すように動作する。
この回転ドア装置に電源がオンされると、まず図1(a)に示す中立位置に仕切りパネル14を移動させる(ステップS2)。そして、起動センサ48がオンであるか判断する(ステップS4)。この判断の答えがノーの場合、ステップS2から再び実行する。
ステップS4の判断の答えがイエスの場合、可動制御盤52は、仕切りパネル14を高速回転させる(ステップS6)。即ち、高速度V1で回転させる。次に、リードスイッチ40がオンであるか判断する(ステップS8)。この判断の答えがノーの場合、仕切りパネル18の前端縁は戸挟み区間にまだ到達していないので、ステップS6から再び繰り返し、高速回転を継続する。
ステップS8の判断の答えがイエスになると、円弧パネル18の前端縁が戸挟み区間内を通過中であるので、仕切りパネル14を低速回転させる(ステップS10)。即ち、仕切りパネル14の速度を低速度V2とする。
次に、安全センサがオンであるか、即ち、方立ゴムスイッチ36、コラムセンサ37、戸挟み防止センサ38、エッジセンサ42、戸先センサ44のいずれかが通行者を検知していないか判断する(ステップS12)。この判断の答えがノーであると、次に、リードスイッチ40がオフであるか、即ち戸挟み区間を円弧パネル18の前端縁が完全に通過したか判断する(ステップS14)。この判断の答えがノーであると、ステップS10から再び実行する。また、このステップS14の判断の答えがイエスであると、ステップS6から再び実行する。従って、戸挟み区間を円弧パネル18の前端縁が通過中に、通行者を安全センサが検知しないと、戸挟み区間中、継続して低速度V2で仕切りパネル14が走行し、戸挟み区間を通過し終わると、再び高速度V1で仕切りパネル14が走行する。
ステップS12の判断の答えがイエスであると、即ち、戸挟み区間を円弧パネル18の前端縁が通過中に、安全センサがオンとなると、可動制御盤52は、インバータ56を介してモータ54を停止させ、かつ電磁ブレーキ58を作動させて、仕切りパネル14を停止させる(ステップS16)。低速度V2で走行中に、モータ54が停止され、かつ電磁ブレーキ58が作動するので、短い制動距離で仕切りパネル14が停止する。
ステップS16に続いて、安全センサがオンであるか再び判断される(ステップS18)。この判断の答えがイエスであると、戸挟み区間に通行者がまだ存在するので、ステップS16から再び実行し、仕切りパネル14の停止状態を維持する。ステップS18の判断の答えがノーであると、戸挟み区間には通行者が存在しないので、ステップS10を再び実行し、低速で仕切りパネル14を回転させる。
上記の実施の形態では、戸挟み区間を、出入り口10、12の半分以上を円弧パネル18、20が閉じた位置から閉じ位置までとしたが、これに限ったものではなく、例えば戸挟み区間の始点は、出入り口10、12を円弧パネル18、20が閉じ始めた位置から閉じ位置までの範囲内の任意の位置に決定することができる。また、上記の実施の形態では、コラムセンサ37、戸挟み防止センサ38は戸挟み区間よりも幾分外側または内側で通行者を検知するように構成したが、これに限らず、例えば戸挟み区間内で通行者を検知するように構成することもできる。
本発明の1実施形態の回転ドア装置における仕切りパネルの走行状態を示す平面図である。 図1の回転ドア装置の出入り口付近の拡大正面図である。 図1の回転ドア装置の出入り口付近の拡大平面図である。 図1の回転ドア装置のブロック図である。 図1の回転ドア装置における仕切りパネルの回転位置と速度との関係を示す図である。 図1の回転ドア装置のフローチャートである。
符号の説明
2 外壁パネル
6 8 円弧状壁部
10 12 出入り口
14 仕切りパネル
18 20 円弧パネル

Claims (2)

  1. 2つの対向する出入り口を開閉する円弧パネルを備えた回転ドアの駆動制御方法であって、
    前記円弧パネルが前記出入り口の戸挟み区間を移動する間、前記回転ドアを低速で回転駆動させることを特徴とする、回転ドアの駆動制御方法。
  2. 2つの対向する出入り口を形成する円弧状の外壁パネルと、
    この外壁パネルに沿って回転自在に設けられ、前記2つの出入り口を開閉する円弧パネルを有する仕切りパネルと、
    前記仕切りパネルを回転させる駆動部と、
    この駆動部を制御する駆動制御手段とを、
    備えた回転ドア装置において、
    前記駆動制御手段が、前記円弧パネルが前記出入り口の戸挟み区間を移動する間、前記駆動部を低速で回転駆動させる低速制御手段と、前記円弧パネルが前記出入り口を閉鎖する閉じ位置から前記駆動部を高速で回転駆動させる高速制御手段とを、有する回転ドア装置。
JP2004120554A 2004-04-15 2004-04-15 回転ドアの駆動制御方法及び回転ドア装置 Abandoned JP2005299328A (ja)

Priority Applications (2)

Application Number Priority Date Filing Date Title
JP2004120554A JP2005299328A (ja) 2004-04-15 2004-04-15 回転ドアの駆動制御方法及び回転ドア装置
PCT/JP2005/007225 WO2005100724A1 (ja) 2004-04-15 2005-04-14 回転ドアの駆動制御方法及び回転ドア装置

Applications Claiming Priority (1)

Application Number Priority Date Filing Date Title
JP2004120554A JP2005299328A (ja) 2004-04-15 2004-04-15 回転ドアの駆動制御方法及び回転ドア装置

Publications (1)

Publication Number Publication Date
JP2005299328A true JP2005299328A (ja) 2005-10-27

Family

ID=35150049

Family Applications (1)

Application Number Title Priority Date Filing Date
JP2004120554A Abandoned JP2005299328A (ja) 2004-04-15 2004-04-15 回転ドアの駆動制御方法及び回転ドア装置

Country Status (2)

Country Link
JP (1) JP2005299328A (ja)
WO (1) WO2005100724A1 (ja)

Cited By (5)

* Cited by examiner, † Cited by third party
Publication number Priority date Publication date Assignee Title
JP2008240277A (ja) * 2007-03-26 2008-10-09 Sanwa Shutter Corp 自動回転ドア
JP2013213397A (ja) * 2012-04-01 2013-10-17 Chikura Kogyo Kk 自動回転扉装置の安全装置およびその制御方法
JP2013256858A (ja) * 2012-06-11 2013-12-26 Chikura Kogyo Kk 自動回転扉及びその制御方法
JP2017048575A (ja) * 2015-08-31 2017-03-09 三和シヤッター工業株式会社 自動ドアの開閉制御システム
CN110897482A (zh) * 2019-11-28 2020-03-24 徐州大亚智能科技有限公司 一种智能窗用窗帘收纳装置

Family Cites Families (2)

* Cited by examiner, † Cited by third party
Publication number Priority date Publication date Assignee Title
JPS58101982A (ja) * 1981-12-14 1983-06-17 株式会社ナブコ 自動扉の開閉制御方法
JP2001032626A (ja) * 1999-07-21 2001-02-06 Ykk Corp 回転ドアの制御装置

Cited By (11)

* Cited by examiner, † Cited by third party
Publication number Priority date Publication date Assignee Title
JP2008240277A (ja) * 2007-03-26 2008-10-09 Sanwa Shutter Corp 自動回転ドア
JP2013213397A (ja) * 2012-04-01 2013-10-17 Chikura Kogyo Kk 自動回転扉装置の安全装置およびその制御方法
CN103362413A (zh) * 2012-04-01 2013-10-23 千藏工业株式会社 一种自动旋转门及其检测到危险时的运行方法
JP2013256858A (ja) * 2012-06-11 2013-12-26 Chikura Kogyo Kk 自動回転扉及びその制御方法
CN103485644A (zh) * 2012-06-11 2014-01-01 千藏工业株式会社 旋转自动门及其运行方法
CN103485644B (zh) * 2012-06-11 2016-12-14 千藏工业株式会社 旋转自动门及其运行方法
CN107035280A (zh) * 2012-06-11 2017-08-11 千藏工业株式会社 旋转自动门及其运行方法
JP2017218891A (ja) * 2012-06-11 2017-12-14 千蔵工業株式会社 自動回転扉及びその制御方法
CN107035280B (zh) * 2012-06-11 2020-02-28 千藏工业株式会社 旋转自动门及其运行方法
JP2017048575A (ja) * 2015-08-31 2017-03-09 三和シヤッター工業株式会社 自動ドアの開閉制御システム
CN110897482A (zh) * 2019-11-28 2020-03-24 徐州大亚智能科技有限公司 一种智能窗用窗帘收纳装置

Also Published As

Publication number Publication date
WO2005100724A1 (ja) 2005-10-27

Similar Documents

Publication Publication Date Title
JP6388698B2 (ja) 自動回転扉及びその制御方法
US4475308A (en) Revolving door system
JP7109364B2 (ja) 自動ドア、自動ドアセンサおよび自動ドアの開閉方法
JP2004044109A (ja) ドアセンサ及びそのドアセンサを備えたドア
JPH03264486A (ja) エレベータのかごドア装置
JP2005299328A (ja) 回転ドアの駆動制御方法及び回転ドア装置
US4534131A (en) Revolving door security system
JP3312245B2 (ja) 自動ドアの開扉保持用制御方法
JPH09242421A (ja) 自動ドアの安全装置
JP3758268B2 (ja) 自動扉開閉装置
JP2003227269A (ja) 自動扉
JP2006002465A (ja) 回転ドア装置
JP2001032626A (ja) 回転ドアの制御装置
JP2005105810A (ja) 出入管理ゲート装置
JP4449000B2 (ja) 回転ドア
JP5000968B2 (ja) 自動ドア装置
JP4986669B2 (ja) 自動回転ドア
JP3755123B2 (ja) 自動回転ドア
JP2006022605A (ja) 回転ドアの安全センサシステム
JP2005336876A (ja) 回転ドアの安全装置
JP4804891B2 (ja) ドア装置
JP3442967B2 (ja) 自動回転ドア
JP2001032622A (ja) 回転ドアの制御装置
JP2000170445A (ja) 回転ドア装置
JPH06330683A (ja) シャッターを併設したシートシャッターの制御方法及びその装置

Legal Events

Date Code Title Description
A621 Written request for application examination

Free format text: JAPANESE INTERMEDIATE CODE: A621

Effective date: 20070305

A762 Written abandonment of application

Free format text: JAPANESE INTERMEDIATE CODE: A762

Effective date: 20081010