JP2005298050A - 包装装置 - Google Patents
包装装置 Download PDFInfo
- Publication number
- JP2005298050A JP2005298050A JP2004121001A JP2004121001A JP2005298050A JP 2005298050 A JP2005298050 A JP 2005298050A JP 2004121001 A JP2004121001 A JP 2004121001A JP 2004121001 A JP2004121001 A JP 2004121001A JP 2005298050 A JP2005298050 A JP 2005298050A
- Authority
- JP
- Japan
- Prior art keywords
- inner bag
- flaps
- case
- flap
- packaging device
- Prior art date
- Legal status (The legal status is an assumption and is not a legal conclusion. Google has not performed a legal analysis and makes no representation as to the accuracy of the status listed.)
- Pending
Links
- 238000004806 packaging method and process Methods 0.000 title claims abstract description 38
- 230000013011 mating Effects 0.000 claims description 5
- 238000013459 approach Methods 0.000 claims description 3
- 239000002390 adhesive tape Substances 0.000 description 6
- 238000003780 insertion Methods 0.000 description 4
- 230000037431 insertion Effects 0.000 description 4
- 238000000034 method Methods 0.000 description 2
- 230000002265 prevention Effects 0.000 description 2
- 238000007789 sealing Methods 0.000 description 2
- 229920003002 synthetic resin Polymers 0.000 description 2
- 239000000057 synthetic resin Substances 0.000 description 2
- 239000000428 dust Substances 0.000 description 1
- 238000012423 maintenance Methods 0.000 description 1
- 238000004519 manufacturing process Methods 0.000 description 1
- 238000012986 modification Methods 0.000 description 1
- 230000004048 modification Effects 0.000 description 1
Images
Landscapes
- Cartons (AREA)
- Packages (AREA)
Abstract
【課題】 低コストで簡便な構成により、包装装置の内袋を、被包装物を入れやすい状態に保持することが可能な包装装置を提供する。
【解決手段】 包装装置1は、ケース10、及び内袋20を備える。ケース10の上面には開閉式のフラップ30が4個備えられ、これらは2組の対向フラップ31、32として構成される。1組の対向フラップ32は平面形状がL字型をなし、互い違いに延びてケース10の上面をカバーする。それらの先端部32aは、互いの間に引いた中間ラインBを超えて相手側の付根ライン32bに接近する。先端部32aには、係止部32cを備える。内袋20はケース10の内部に配置され、その口縁近傍には対向する位置に開口部21を備える。この開口部21にL字型対向フラップ32の先端部32aを挿入し、係止部32cの切込みに内袋20の口縁を引っ掛けて係止することが可能である。
【選択図】 図1
【解決手段】 包装装置1は、ケース10、及び内袋20を備える。ケース10の上面には開閉式のフラップ30が4個備えられ、これらは2組の対向フラップ31、32として構成される。1組の対向フラップ32は平面形状がL字型をなし、互い違いに延びてケース10の上面をカバーする。それらの先端部32aは、互いの間に引いた中間ラインBを超えて相手側の付根ライン32bに接近する。先端部32aには、係止部32cを備える。内袋20はケース10の内部に配置され、その口縁近傍には対向する位置に開口部21を備える。この開口部21にL字型対向フラップ32の先端部32aを挿入し、係止部32cの切込みに内袋20の口縁を引っ掛けて係止することが可能である。
【選択図】 図1
Description
本発明は、被包装物である物品を包装するための包装装置に関する。
画像形成装置や家庭用電化製品等の物品は、段ボール等で構成される包装装置によって包装されて、出荷されている。この包装装置は、大型の物品に対するものを除いて、物品をケースにすっぽりと収納するタイプの包装装置が多い。
上記ケースは、上面に開閉式の複数のフラップを備えた箱状のものである。被包装物である物品を包装するには、ケースの中に被包装物を収容した後、複数のフラップを閉じることによりケース上面を閉鎖する。この時、被包装物は、防塵や防湿のため、合成樹脂フィルム等で構成される内袋に包まれた状態でケースの中に収容されることが多い。そして、この被包装物の内袋への装入作業は、ほとんどの場合、手作業によって行われる。
被包装物を内袋に入れる際、袋の口縁部分を手で開いておいて被包装物を入れる必要がある。袋を開いた状態に保ちつつ被包装物を入れる時、袋の開き具合が悪かったり、被包装物が袋の口縁に引っ掛かったりする等により、被包装物が入り難くなることがある。また、被包装物が重い場合、被包装物の内袋への装入作業を、複数の作業者によって行わなければならないので、作業効率がたいへん悪くなる。このような問題に対して、包装装置のケースの内袋を、被包装物を入れやすい状態に保持するための様々な手法が提案され、その例を特許文献1に見ることができる。
特開平10−86246号公報(第2−4頁、図1)
特許文献1に記載された内袋嵌込装置は、ホルダーによってフラップを開いた状態で保持するとともに、挟持器によって内袋を開いた状態でその口縁を挟持した袋嵌込器によって上方からケース内に内袋を押し込み、嵌合させるものである。ケース内に内袋を嵌合させた後は、袋嵌込器に設けられた袋口折返片によって、内袋の口縁をフラップの外側へと折り返す。しかしながら、この内袋嵌込装置では、内袋を、被包装物を入れやすい状態に保持するために、大掛かりな装置が必要となるので、大幅なコストアップが生じてしまう。また、内袋の口縁を広げる挟持器や、ケース内に内袋を嵌合させる袋嵌込器は、ケースのサイズが変わる度に製作する必要があり、さらにコストが増加する。そして、装置の定期的なメンテナンスも必要となる。
本発明は上記の点に鑑みなされたものであり、被包装物である物品を包装するための包装装置において、低コストで簡便な構成により、包装装置の内袋を、被包装物を入れやすい状態に保持することが可能な包装装置を提供することを目的とする。
上記の課題を解決するため、本発明は、上面に開閉式の複数のフラップを備えた箱状のケースと、このケース内に配置される内袋とを備える包装装置において、前記複数のフラップのうち、少なくとも1組の対向フラップに、前記内袋の対向口縁を係止する係止部を設けることとした。
また、前記対向フラップは、互い違いに延びて前記ケース上面をカバーするものであり、互いの間に引いた中間ラインを超えて相手側の付根ラインに接近する箇所に、前記係止部を備えることとした。
また、前記係止部は、前記フラップの縁に設けられた切込みで構成されることとした。
本発明の構成によれば、上面に開閉式の複数のフラップを備えた箱状のケースと、このケース内に配置される内袋とを備える包装装置において、複数のフラップのうち、少なくとも1組の対向フラップに、内袋の対向口縁を係止する係止部を設けることとしたので、対向フラップに内袋の対向口縁を係止させることにより、容易に内袋の口を開いた状態で保持することができる。これにより、低コストで簡便な構成により、包装装置の内袋を、被包装物を入れやすい状態に保持することが可能となる。したがって、被包装物を両手で持って内袋に入れる場合であっても、他人の手や内袋の口縁を保持する装置等による補助を必要とせず、被包装物を内袋に装入する作業の効率を高めることができる。また、閉じられたフラップを開くだけで自動的に内袋の口を開くことができるので、包装装置の開梱作業の効率も向上する。
また、対向フラップは、互い違いに延びて前記ケース上面をカバーするものであり、互いの間に引いた中間ラインを超えて相手側の付根ラインに接近する箇所に、係止部を備えることとしたので、対向フラップを閉じるとともに、内袋の対向口縁を交差させた状態にして被包装物を封入することができる。これにより、内袋の口の封をする作業を別途行うことなく、自動的に封をすることが可能である。したがって、さらに作業効率が高められるとともに、内袋の封に必要な粘着テープ等が不必要であるので、さらに低コスト化を図ることができる。
また、係止部は、フラップの縁に設けられた切込みで構成されることとしたので、内袋の口縁を容易にフラップに係止させることができる。したがって、このような簡便な構造により、内袋の口縁を開いた状態で保持することができるとともに、閉じられたフラップを開くだけで内袋を開くことが可能である。
以下、本発明の実施形態を図1〜図6に基づき説明する。
最初に、本発明の実施形態に係る包装装置について、図1〜図3を用いてその構造の概略を説明する。図1は包装装置の模型的斜視図にして、フラップを開放した状態を示すもの、図2は同じく模型的斜視図にして、1組の対向フラップを閉じた状態を示すもの、図3は同じく模型的斜視図にして、全てのフラップを閉じた包装完了状態を示すものである。
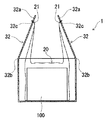
図1において、包装装置1は、ケース10、及び内袋20を備えている。そして、この内袋20の中に、被包装物100が封入され、包装される(図6参照)。
ケース10は段ボールにより構成され、直方体状をなしている。ケース10の上面には、開閉式のフラップ30が4個備えられている。4個のフラップ30は、2組の対向フラップ31、32として構成されている。
一方の対向フラップ31は、平面形状が長方形である。この長方型対向フラップ31は、各々の付根からの延長長さが互いの間に引いた中間ラインAに一致し、各々の先端側の端辺が合わさるようにしてケース10の上面をカバーするものである。4個のフラップ30を閉じる時には、この長方型対向フラップ31が、他方の対向フラップ32の外側になるように閉じ、2個の対向フラップ31の合わせ目を粘着テープ40等で貼り合わせる(図3参照)。
もう1組の対向フラップ32は、平面形状がL字型をなしている。このL字型対向フラップ32は、図2に示すように、互い違いに延びてケース10の上面をカバーするものである。L字型対向フラップ32の先端部32aは、互いの間に引いた中間ラインBを超えて相手側の付根ライン32bに接近するように延びている。この先端部32aには、係止部32cが備えられている。係止部32cは、先端部32aの両側の縁から内側に向かって所定長さで設けられた切込みで構成されている。この係止部32cに、内袋20が引っ掛けられる。
内袋20は、ケース10の内部に配置されている。内袋20は合成樹脂フィルムにより構成され、上方の1辺のみが開口した長方形状、或いはまちを入れたボックス形状をなしている。内袋20の大きさは、ケース10の底部からL字型対向フラップ32の先端部32aにかけての範囲を十分にカバーできる大きさである。内袋20の口縁近傍には、2箇所の円形の開口部21が設けられている。この2箇所の開口部21は互いに対向する位置に設けられ、各々のその大きさはL字型対向フラップ32の先端部32aが挿入可能な大きさである。そして、図1に示すように、この開口部21にL字型対向フラップ32の先端部32aを挿入し、係止部32cの切込みに内袋20の口縁を引っ掛けて係止することが可能である。
続いて、包装装置1による被包装物100の包装方法について、図1〜図3に加えて、図4〜図6を用いて説明する。図4は被包装物を収容した包装装置の模型的垂直断面正面図にして、フラップを開放した状態を示すもの、図5は図4と同様の模型的垂直断面正面図にして、1組の対向フラップを閉じる途中の状態を示すもの、図6は図4と同様の模型的垂直断面正面図にして、1組の対向フラップを閉じた状態を示すものである。
まず、ケース10に対して、図1に示すように、4個のフラップ30を四方に広げるようにして開く。そして、ケース10の内部に内袋20を配置するとともに、内袋20の対向口縁である2箇所の開口部21を、2個のL字型対向フラップ32の各々の係止部32cに引っ掛ける。
次に、図4に示すように、内袋20の中に被包装物100を入れる。そして、内袋20の開口部21を、L字型対向フラップ32の係止部32cに係止させた状態のまま、図5に示すように、L字型対向フラップ32を閉じる作業を行う。引き続きL字型対向フラップ32を閉じていくとその最終段階において、包装装置1は図2、及び図6のようになり、内袋20の口縁が交差した状態でケース1の上面が閉じられる。
その後、2個の長方型対向フラップ31を閉じ、これらの合わせ目を粘着テープ40等で貼り合わせることにより、図3に示すような包装完了状態になる。
包装装置1の開梱作業を行う場合には、図3に示す粘着テープ40を剥がして、長方型対向フラップ31、L字型対向フラップ32の順に開くと、図1のように、自動的に内袋20の口も開くことができる。
このようにして、上面に開閉式の複数のフラップ30を備えた箱状のケース10と、このケース10内に配置される内袋20とを備える包装装置1において、複数のフラップ30のうち、少なくとも1組の対向フラップ32に、内袋20の対向口縁を係止する係止部32cを設けたので、対向フラップ32に内袋20の対向口縁を係止させることにより、容易に内袋20の口を開いた状態で保持することができる。これにより、低コストで簡便な構成により、包装装置1の内袋20を、被包装物100を入れやすい状態に保持することが可能となる。したがって、被包装物100を両手で持って内袋20に入れる場合であっても、他人の手や内袋20の口縁を保持する装置等による補助を必要とせず、被包装物100を内袋20に装入する作業の効率を高めることができる。また、閉じられたフラップ32を開くだけで自動的に内袋20の口を開くことができるので、包装装置1の開梱作業の効率も向上する。
また、対向フラップ32は、互い違いに延びてケース10上面をカバーするものであり、互いの間に引いた中間ラインBを超えて相手側の付根ライン32bに接近する箇所に、係止部32cを備えるので、対向フラップ32を閉じるとともに、内袋20の対向口縁を交差させた状態にして被包装物100を封入することができる。これにより、内袋20の口の封をする作業を別途行うことなく、自動的に封をすることが可能である。したがって、さらに作業効率が高められるとともに、内袋20の封に必要な粘着テープ40等が不必要であるので、さらに低コスト化を図ることができる。
また、係止部32cは、フラップ32の縁に設けられた切込みで構成されることとしたので、内袋20の口縁を容易にフラップ32に係止させることができる。したがって、このような簡便な構造により、内袋20の口縁を開いた状態で保持することができるとともに、閉じられたフラップ32を開くだけで内袋20を開くことが可能である。
なお、係止部32cが設けられたL字型対向フラップ32は、平面形状がL字型であることに限定されるわけではなく、図2に示すように、互い違いに延びてケース10の上面をカバーする形状であればどのような形状でも良く、例えば長方形状であっても構わない。
上記のように本発明の実施形態を示したが、この他、発明の主旨を逸脱しない範囲で種々の変更を加えて実施することができる。
本発明は、上面に開閉式の複数のフラップを備えた箱状のケースと、このケース内に配置される内袋とを備える包装装置全般において利用可能である。
1 包装装置
10 ケース
20 内袋
21 開口部
30 フラップ
31 長方型対向フラップ
32 L字型対向フラップ
32a 先端部
32b 付根ライン
32c 係止部
40 粘着テープ
100 被包装物
10 ケース
20 内袋
21 開口部
30 フラップ
31 長方型対向フラップ
32 L字型対向フラップ
32a 先端部
32b 付根ライン
32c 係止部
40 粘着テープ
100 被包装物
Claims (3)
- 上面に開閉式の複数のフラップを備えた箱状のケースと、このケース内に配置される内袋とを備える包装装置において、
前記複数のフラップのうち、少なくとも1組の対向フラップに、前記内袋の対向口縁を係止する係止部を設けたことを特徴とする包装装置。 - 前記対向フラップは、互い違いに延びて前記ケース上面をカバーするものであり、互いの間に引いた中間ラインを超えて相手側の付根ラインに接近する箇所に、前記係止部を備えることを特徴とする請求項1に記載の包装装置。
- 前記係止部は、前記フラップの縁に設けられた切込みで構成されることを特徴とする請求項1または請求項2に記載の包装装置。
Priority Applications (1)
| Application Number | Priority Date | Filing Date | Title |
|---|---|---|---|
| JP2004121001A JP2005298050A (ja) | 2004-04-16 | 2004-04-16 | 包装装置 |
Applications Claiming Priority (1)
| Application Number | Priority Date | Filing Date | Title |
|---|---|---|---|
| JP2004121001A JP2005298050A (ja) | 2004-04-16 | 2004-04-16 | 包装装置 |
Publications (1)
| Publication Number | Publication Date |
|---|---|
| JP2005298050A true JP2005298050A (ja) | 2005-10-27 |
Family
ID=35330074
Family Applications (1)
| Application Number | Title | Priority Date | Filing Date |
|---|---|---|---|
| JP2004121001A Pending JP2005298050A (ja) | 2004-04-16 | 2004-04-16 | 包装装置 |
Country Status (1)
| Country | Link |
|---|---|
| JP (1) | JP2005298050A (ja) |
Cited By (8)
| Publication number | Priority date | Publication date | Assignee | Title |
|---|---|---|---|---|
| JP2008213869A (ja) * | 2007-03-01 | 2008-09-18 | Toyota Motor Corp | 包装方法、及び包装容器 |
| JP2009001313A (ja) * | 2007-06-22 | 2009-01-08 | Yamato Packing Technology Institute Co Ltd | 物流システムの梱包具とその梱包具を用いた物流方法 |
| CN102807049A (zh) * | 2011-05-30 | 2012-12-05 | 富士施乐株式会社 | 包装容器 |
| JP2012246037A (ja) * | 2011-05-30 | 2012-12-13 | Fuji Xerox Co Ltd | 梱包容器 |
| JP2013154920A (ja) * | 2012-01-31 | 2013-08-15 | Kyocera Document Solutions Inc | 梱包物保護カバー |
| JP2015202883A (ja) * | 2014-04-14 | 2015-11-16 | 凸版印刷株式会社 | バッグインボックス |
| JP2016043934A (ja) * | 2014-08-20 | 2016-04-04 | 株式会社ニチワ | 梱包構造 |
| JP2018024460A (ja) * | 2016-08-10 | 2018-02-15 | グンゼ株式会社 | フィルムロール搬送具 |
-
2004
- 2004-04-16 JP JP2004121001A patent/JP2005298050A/ja active Pending
Cited By (15)
| Publication number | Priority date | Publication date | Assignee | Title |
|---|---|---|---|---|
| JP2008213869A (ja) * | 2007-03-01 | 2008-09-18 | Toyota Motor Corp | 包装方法、及び包装容器 |
| US8622234B2 (en) | 2007-03-01 | 2014-01-07 | Toyota Jidosha Kabushiki Kaisha | Packaging method and packaging container |
| JP2009001313A (ja) * | 2007-06-22 | 2009-01-08 | Yamato Packing Technology Institute Co Ltd | 物流システムの梱包具とその梱包具を用いた物流方法 |
| JP2012246037A (ja) * | 2011-05-30 | 2012-12-13 | Fuji Xerox Co Ltd | 梱包容器 |
| JP2012246038A (ja) * | 2011-05-30 | 2012-12-13 | Fuji Xerox Co Ltd | 梱包容器 |
| CN102807049A (zh) * | 2011-05-30 | 2012-12-05 | 富士施乐株式会社 | 包装容器 |
| KR20150079509A (ko) * | 2011-05-30 | 2015-07-08 | 후지제롯쿠스 가부시끼가이샤 | 곤포 용기 |
| KR101558463B1 (ko) | 2011-05-30 | 2015-10-07 | 후지제롯쿠스 가부시끼가이샤 | 곤포 용기 |
| KR101586043B1 (ko) | 2011-05-30 | 2016-01-19 | 후지제롯쿠스 가부시끼가이샤 | 곤포 용기 |
| CN106081348A (zh) * | 2011-05-30 | 2016-11-09 | 富士施乐株式会社 | 包装容器 |
| CN106081348B (zh) * | 2011-05-30 | 2019-01-25 | 富士施乐株式会社 | 包装容器 |
| JP2013154920A (ja) * | 2012-01-31 | 2013-08-15 | Kyocera Document Solutions Inc | 梱包物保護カバー |
| JP2015202883A (ja) * | 2014-04-14 | 2015-11-16 | 凸版印刷株式会社 | バッグインボックス |
| JP2016043934A (ja) * | 2014-08-20 | 2016-04-04 | 株式会社ニチワ | 梱包構造 |
| JP2018024460A (ja) * | 2016-08-10 | 2018-02-15 | グンゼ株式会社 | フィルムロール搬送具 |
Similar Documents
| Publication | Publication Date | Title |
|---|---|---|
| US7055692B2 (en) | Packaging body | |
| JP2006151493A (ja) | プラスチック箱 | |
| JP2017137117A (ja) | 包装箱 | |
| JP2005298050A (ja) | 包装装置 | |
| KR101420287B1 (ko) | 수납기능이 구비된 포장박스 | |
| JP2018535152A (ja) | 消費財用のパック | |
| US3794793A (en) | Package for flexible articles | |
| JP2013180822A (ja) | 段ボール箱 | |
| JP3199075U (ja) | サンドイッチ用バッグ | |
| JP2004268956A (ja) | 段ボール板製の包装箱 | |
| JP2018508431A (ja) | 喫煙品用パッケージ、対応するブランクおよびそのようなパッケージを形成する方法 | |
| JP3051389U (ja) | 容 器 | |
| CN222158281U (zh) | 一种窗式包装盒 | |
| JP2011173634A (ja) | 包装箱 | |
| JP6626019B2 (ja) | 包装容器およびブランク | |
| JP2008230670A (ja) | 梱包箱 | |
| KR102306077B1 (ko) | 상품 노출형 슬라이딩 포장 상자 | |
| JPH1086929A (ja) | ダンボール箱 | |
| KR200365618Y1 (ko) | 야구공 포장박스 | |
| JP3188465U (ja) | 折り畳み紙箱の開閉板の係止構造 | |
| KR200326483Y1 (ko) | 포장용 박스 | |
| JP6358169B2 (ja) | 包装袋および包装体 | |
| JP2002046733A (ja) | 包装箱 | |
| US20080083647A1 (en) | Display box for flexible contents | |
| KR970006183Y1 (ko) | 포장용 상자의 덮개 개폐구조 |