JP2005297981A - 容器蓋 - Google Patents

容器蓋 Download PDF

Info

Publication number
JP2005297981A
JP2005297981A JP2004113104A JP2004113104A JP2005297981A JP 2005297981 A JP2005297981 A JP 2005297981A JP 2004113104 A JP2004113104 A JP 2004113104A JP 2004113104 A JP2004113104 A JP 2004113104A JP 2005297981 A JP2005297981 A JP 2005297981A
Authority
JP
Japan
Prior art keywords
container lid
container
mouth
neck
peripheral surface
Prior art date
Legal status (The legal status is an assumption and is not a legal conclusion. Google has not performed a legal analysis and makes no representation as to the accuracy of the status listed.)
Pending
Application number
JP2004113104A
Other languages
English (en)
Inventor
Shinji Ooka
新治 大岡
Hisashi Nakajima
寿 中嶋
Seiji Fukushi
誠司 福士
Current Assignee (The listed assignees may be inaccurate. Google has not performed a legal analysis and makes no representation or warranty as to the accuracy of the list.)
Nippon Closures Co Ltd
Original Assignee
Japan Crown Cork Co Ltd
Priority date (The priority date is an assumption and is not a legal conclusion. Google has not performed a legal analysis and makes no representation as to the accuracy of the date listed.)
Filing date
Publication date
Application filed by Japan Crown Cork Co Ltd filed Critical Japan Crown Cork Co Ltd
Priority to JP2004113104A priority Critical patent/JP2005297981A/ja
Publication of JP2005297981A publication Critical patent/JP2005297981A/ja
Pending legal-status Critical Current

Links

Images

Landscapes

  • Closures For Containers (AREA)

Abstract

【課題】容器の口頸部(2)から離脱された容器蓋(10)が傾動せしめられても、ライナー(14)の下面に付着した液体が容器蓋から流出することが充分に防止乃至抑制される、金属薄板製シェル(12)と合成樹脂製ライナー(14)とから構成された容器蓋を提供する。
【解決手段】 合成樹脂製ライナーの薄肉円形中央部(38)の下面周縁部と厚肉周縁部(40)の内周面上端部との間に周方向に間隔をおいて複数個のリブ(50)を配設する。
【選択図】 図2

Description

本発明は、天面壁とこの天面壁の周縁から垂下するスカート壁とを有する金属薄板製シェルと天面壁の内面に配設されている合成樹脂製ライナーとから構成された容器蓋に関する。
周知の如く、近時においては、コーヒ等の飲料のための容器として、上端にはカールが形成され外周面には雄螺条が形成されている金属薄板製容器が広く実用に供されている。そして、特にかような金属薄板製容器に適した容器蓋として、下記特許文献1及び2に開示されている如く、金属薄板製シェルと合成樹脂製ライナーとから構成された容器蓋が提案されている。金属薄板製シェルは天面壁とこの天面壁の周縁から垂下するスカート壁とを有する。合成樹脂製ライナーは天面壁の内面に配設されており、薄肉円形中央部とこの中央部を囲繞する厚肉環状部とを有する。
特開2001−139053号公報 特開2003−175962号公報
而して、上述した形態の従来の容器蓋には次のとおりの解決すべき問題が存在する。例えば容器の口頸部を開封する前に容器に振動が加えられると、容器蓋におけるライナーの下面、特に薄肉円形中央部の下面周縁部に容器内の液体が付着し、そこに保持される傾向がある。ライナーの下面に付着した液体が容器内に落下することなくそこに保持される理由は必ずしも明確ではないが、ライナーの下面には微視的には相当な凹凸が存在し、かかる凹凸と液体の表面張力との協働による保持力等に起因するものと推定される。ライナーの薄肉円形中央部の下面周縁部に液体が保持された状態で容器の口頸部から容器蓋を離脱し、容器蓋を水平状態から傾動せしめると、ライナーの薄肉円形中央部の下面周縁部に付着している液体がライナーの下面に沿って周方向に流動して薄肉円形中央部の下面周縁部の特定角度部位、即ち最下部位に集中する。そして、液体が特定部位に集中して比較的大きな嵩になると、ライナーの下面に保持され得なくなって容器蓋から流出し、消費者の衣服に付着する等の問題を発生せしめる虞がある。
本発明は上記事実に鑑みてなされたものであり、その主たる技術的課題は、上述した形態の容器蓋に改良を加えて、容器の口頸部から離脱された容器蓋が傾動せしめられても、ライナーの下面に付着した液体が容器蓋から流出することが充分に防止乃至抑制されるようになすことである。
本発明によれば、合成樹脂製ライナーの薄肉円形中央部の下面周縁部と厚肉周縁部の内周面上端部との間に周方向に間隔をおいて複数個のリブを配設することによって、上記主たる技術的課題が達成される。
即ち、本発明によれば、上記主たる技術的課題を達成する容器蓋として、天面壁と該天面壁の周縁から垂下するスカート壁とを有する金属薄板製シェルと、該シェルの該天面壁の内面に配設された合成樹脂製ライナーとから構成され、該ライナーは薄肉円形中央部と該中央部を囲繞する厚肉環状部とを有し、該厚肉環状部は実質上鉛直に延びる円筒状内周面を有する容器蓋において、
該中央部の下面周縁部と該厚肉環状部の内周面上端部との間には複数個のリブが周方向に間隔をおいて配設されている、ことを特徴とする容器蓋が提供される。
該リブは、該厚肉環状部の該内周面上端部に接続された外縁と該中央部の該下面周縁部に接続された上縁と半径方向外方に向かって下方に傾斜して延びる傾斜自由縁を有する略直角三角形状であるのが好適である。該リブは周方向に等角度間隔をおいて6個以上配設されているのが好適である。好ましくは、該環状シール部は外側環状突条と内側環状突条とを有し、容器の口頸部に容器蓋を装着した時に該外側環状突条の内周面は容器の口頸部の外周面乃至上面に密接せしめられ、該内側環状突条の外周面は容器の口頸部の内周面に近接して位置せしめられる。本発明に従って構成された容器蓋は、上端にはカールが形成され外周面には雄螺条が形成されている口頸部を有する金属薄板製容器に特に好適に適用される。
本発明の容器蓋においては、容器蓋が傾斜せしめられても、ライナーの薄肉円形中央部の下面周縁部に付着している液体が周方向に流動することが複数個のリブの存在によって阻止され、かくして 液体がライナーの薄肉円形中央部の下面周縁部の特定角度部位に液体が集中して容器蓋から流出することが充分に防止乃至抑制される。
以下、添付図面を参照して、本発明に従って構成された容器蓋の好適実施形態について更に詳細に説明する。
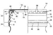
図1には、本発明に従って構成された容器蓋の好適実施形態と共に、かかる容器蓋が適用される容器の口頸部の典型例が図示されている。クロム酸処理鋼薄板、アルムニウム基合金薄板或いはブリキ薄板の如き適宜の金属薄板から形成することができる容器の口頸部2は、全体として略円筒形状であり、その軸線方向中央部には雄螺条4が形成され、かかる雄螺条4の下方には環状膨出形状である係止あご部6が形成されている。口頸部2の上部は上方に向かって直径が漸次減少する円錐台形状にせしめられており、口頸部2の上端には外巻カール8が形成されている。カール8は、断面図において、上方に延び、上方及び半径方向外方に向かって円弧状に延び、下方及び半径方向外方に向かって円弧状に延び、下方に延び、下方及び半径方向内方に向かって円弧状に延び、そして更に上方及び半径方向内方に向かって円弧状に延びている。かような口頸部2を備えた金属製容器自体は周知であるので、金属製容器自体についての詳細な説明は本明細書においては省略する。
図1を参照して説明を続けると、全体を番号10で示す容器蓋は、金属薄板製シェル12と合成樹脂製ライナー14とから構成されている。金属薄板製シェル12は適宜の金属薄板、好ましくは厚さが0.15乃至0.30mm程度であるアルミニウム基合金薄板、から形成されており、円形天面壁16とこの天面壁16の周縁から垂下する略円筒形状のスカート壁18とを有する。
図示の実施形態においては、シェル12の天面壁16はその全体が実質上水平に延在せしめられている。シェル12のスカート壁18の下部には周方向弱化ライン20が形成されており、スカート壁18は周方向弱化ライン20よりも上方の主部22と周方向弱化ライン20よりも下方のタンパーエビデント裾部24とに区画されている。図示の実施形態においては、スカート壁18の下部には環状膨出部26が形成されており、上記周方向弱化ライン20は環状膨出部26に配設されており、周方向に間隔をおいて周方向に延びる複数個のスリット28とこれらのスリット28間に存在する橋絡部30とから構成されている。スカート壁18の上部には環状溝部32が形成されている。スカート壁18の、上記環状溝部32よりも上方の領域には、周方向に凹凸が交互に存在する所謂ナール34が形成されている。ナール34における凹部の上端縁は切断されて半径方向内側に変位せしめられており、これによってスカート壁18の上端部には周方向に間隔をおいて複数個の比較的小さい開口36が形成されている。
図1と共に図2を参照して説明を続けると、合成樹脂製ライナー14は全体として円板形状であり、シェル12の天面壁16の内面に配設されている。かかるライナー14は、適宜の合成樹脂、例えばSEBS(スチレン−エチレン−ブタジエン−スチレン)ブロック共重合体を含有するスチレン系エラストマを、軟化乃至溶融状態でシェル12の天面壁16の内面に供給し、かかる合成樹脂に成形型を押圧せしめて所謂型押成形することによって好都合に形成することができる。
ライナー14は薄肉円形中央部38とかかる中央部38を囲繞する厚肉環状部40とを有する。中央部38の厚さは全体に渡って実質上同一でよく、中央部38の下面は実質上水平に延在せしめられている。一方、厚肉周縁部40は、下方に突出する外側環状突条44、同様に下方に突出する内側環状突条46、及び外側環状突条44と内側環状突条46との間に位置する介在部48を有する。図示の実施形態における外側環状突条44は、実施上鉛直に延びる円筒状外周面44a、実質上水平に延びる下面44b及び半径方向内側に向かって上方に傾斜する円錐台形状の内周面44cを有する。内側環状突条46は、半径方向内方に向かって下方に傾斜する円錐台形状上部、実質上鉛直に延びる円筒形状中間部及び断面形状が円弧状である下部から構成された外周面46a、実質上水平に延びる下面46b及び実質上鉛直に延びる円筒状内周面46cを有する。介在部48の下面は実質上水平に延在する。内側環状突条46の円筒状内周面46cの上端と薄肉円形中央部38の下面周縁とは、断面において曲率半径が小さい弧状をなす接続部によって接続されている。
図2及び図3を参照することによって明確に理解されるとおり、 本発明に従って構成された容器蓋10においては、ライナー14における薄肉円形中央部38の下面周縁部と厚肉周縁部40の内側環状突条46の内周面46cの上端部との間には、周方向に間隔をおいて複数個、好ましくは等角度間隔をおいて6個以上、のリブ50が配設されていることが重要である。図示の実施形態においては、等角度間隔をおいて12個のリブ50が形成されている。リブ50の各々は、内側環状突条46の内周面46cに接続された外縁50aと中央部38の下面に接続された上縁50bと半径方向外方に向かって下方に傾斜して延びる傾斜縁50cとを有する略直角三角形状である。
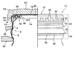
容器内に液体飲料を充填した後に口頸部2に容器蓋10を装着して口頸部2を密封する際には、図1及び図2に図示する如く、口頸部2に容器蓋10を被嵌する。かくすると、ライナー14における外側環状突条44の内周面44cの上部乃至介在部48の下面が口頸部2のカール8の外周面上端乃至上面に接触せしめられる。ライナー14の内側環状突条46の外周面46aはカール8の内周面に近接して位置する。次いで、図4及び図5に明確に図示する如く、平坦な下面を有する押圧工具52を天面壁16に押圧せしめると共に、下方を向いた肩部56を有する押圧工具54を天面壁16とスカート壁18との境界領域に作用せしめて、かかる境界領域を下方及び半径方向内方に没入せしめる。かくすると、図1及び図2と図4及び図5とを比較参照することによって明確に理解される如く、ライナー14の厚肉周縁部40における介在部48が下降せしめられてカール8の上面乃至内周面上部に密接されると共に、外側環状突条44の内周面44cがカール8の外周面上半部に押圧せしめられ、かくして口頸部2が密封される。更に、スカート壁18に螺条形成工具58を作用せしめてスカート壁18に形成されている環状溝部32から下方に向けて口頸部2の雄螺条4に沿ってスカート壁18に雌螺条60を形成し、そしてまたスカート壁18のタンパーエビデント裾部24に係止工具62を作用せしめてタンパーエビデント裾部24を半径方向内側に強制して口頸部2の係止あご部6に係止せしめる。押圧工具52及び54、螺条形成工具58並びに係止工具62の構成並びにこれらによる蓋締加工は当業者には周知の形態でよく、従ってこれらについての詳細な説明は本明細書においては省略する。
図4及び図5に図示する如く、口頸部2に容器蓋10を所要とおりに装着した状態においても、ライナー14の内側環状突条46の外周面46aはカール8の内周面に密接せしめられることなく若干の間隔をおいて近接せしめられているのが好適である。内側環状突条46の外周面46aがカール8の内周面に密接せしめられると、後述するとおりにして口頸部2を開封する際に必要なトルクが過大になる傾向がある。他方、内側環状突条46の外周面46aがカール8の外周面から比較的大きく離隔せしめられると、例えば容器に振動が加えられた時に内側環状突条46の外周面46aとカール8の内周面との間に液体が捕捉される傾向が発生する。そして、口頸部2を開封する際に容器内が加圧状態である場合、口頸部2から容器蓋10を離脱する際に容器内の圧力が、内側環状突条46の外周面46aとカール8の内周面との間に捕捉された液体に作用し、かかる液体を容器蓋10のシェル12に形成されている開口36を通して外部に飛散せしめてしまう或いはシェル12のスカート壁18の内周面乃至容器の口頸部2の外周面に付着せしめてしまう等の虞がある。
容器の口頸部2を開封して内容物を消費する際には、容器蓋10を開方向即ち図4において上方から見て反時計方向に回転せしめる。かくすると、口頸部2の雄螺条4と容器蓋10の雌螺条60との協働によって容器蓋10は回転と共に上昇せしめられる。しかしながら、容器蓋10のシェル12におけるタンパーエビデント裾部24は口頸部2の係止あご部6に係止されている故に上昇が阻止され、これによってシェル14の周方向弱化ライン20の橋絡部30に相当な応力が生成され、周方向破断ライン20が破断されてタンパーエビデント裾部24がスカート壁18の主部22から分離される。周方向破断ライン20が破断されてタンパーエビデント裾部24がスカート壁18の主部22から分離された後においては、タンパーエビデント裾部24を口頸部2に残留せしめて容器蓋10が口頸部2から離脱され、口頸部2が開封される。口頸部2の開封操作段階において、シェル12に形成されている開口36が所謂通気孔として機能する。
例えば容器の口頸部2を開封する前に容器に振動が加えられると、容器蓋10におけるライナー14の下面、特に薄肉円形中央部38の下面周縁部に、容器の内容物である液体が付着し、そこに保持される傾向がある。かかる状態において、口頸部2から容器蓋10を離脱せしめ、次いで容器蓋10を実質上水平な状態から傾動せしめると、薄肉円形中央部38の下面に保持されている液体が最下部位に向かって周方向に流動せしめられる傾向がある。しかしながら、本発明に従って構成された容器蓋10においては、ライナー14における薄肉円形中央部38の下面周縁部と厚肉周縁部40の内側環状突条46の内周面46cの上端部との間に、周方向に間隔をおいて複数個のリブ50が配設されている故に、液体の周方向流動が効果的に阻止される。従って、ライナー14の薄肉円形中央部38の周縁部の特定角度部位、即ち最下部位に液体が集中せしめられてしまって容器蓋10から流出してしまうことが充分効果的に防止乃至抑制される。
容器内の内容物の一部のみを消費した場合には、口頸部2から離脱せしめた容器蓋10を再び口頸部2に被嵌して閉方向即ち図4において上方から見て時計方向に回転せしめて口頸部2の雄螺条4に容器蓋10の雌螺条60を再び螺合せしめ、かくして口頸部2に再び容器蓋10を装着して口頸部2を一時的に密封することができる。図示の実施形態においては、口頸部2から容器蓋10を離脱せしめて口頸部2を開封する際には周方向破断ライン20が周方向全体に渡って破断されタンパーエビデント裾部24がスカート壁18の主部22から完全に分離されるが、所望ならばタンパーエビデント裾部24に1個乃至複数個の軸線方向破断ラインを配設し、口頸部2から容器蓋10を離脱して口頸部2を開封する際には、周方向破断ライン20は完全に破断されることなく一部が残留せしめられ、軸線方向破断ラインが破断されることによってタンパーエビデント裾部24が無端環状から有端帯状に展開され、タンパーエビデント裾部24を含む容器蓋10の全体が口頸部2から離脱されるようになすこともできる。
本発明に従って構成された容器蓋の好適実施形態を、これが適用される容器の口頸部と共に、一部を断面で示す正面図。 図1の一部を拡大して示す拡大断面図。 図1に示す容器蓋の底面図。 図1の容器蓋を図1の容器の口頸部に装着した状態を、一部を断面で示す正面図。 図4の一部を拡大して示す拡大断面図。
符号の説明
2:容器の口頸部
10:容器蓋
12:シェル
14:ライナー
16:シェルの天面壁
18:シェルのスカート壁
38:ライナーの薄肉円形中央部
40:ライナーの厚肉周縁部
44:外側環状突条
46:内側環状突条
48:介在部
50:リブ

Claims (5)

  1. 天面壁と該天面壁の周縁から垂下するスカート壁とを有する金属薄板製シェルと、該シェルの該天面壁の内面に配設された合成樹脂製ライナーとから構成され、該ライナーは薄肉円形中央部と該中央部を囲繞する厚肉環状部とを有し、該厚肉環状部は実質上鉛直に延びる円筒状内周面を有する容器蓋において、
    該中央部の下面周縁部と該厚肉環状部の内周面上端部との間には複数個のリブが周方向に間隔をおいて配設されている、ことを特徴とする容器蓋。
  2. 該リブは、該厚肉環状部の該内周面上端部に接続された外縁と該中央部の該下面周縁部に接続された上縁と半径方向外方に向かって下方に傾斜して延びる傾斜自由縁を有する略直角三角形状である、請求項1記載の容器蓋。
  3. 該リブは周方向に等角度間隔をおいて6個以上配設されている、請求項1又は2記載の容器蓋。
  4. 該環状シール部は外側環状突条と内側環状突条とを有し、容器の口頸部に容器蓋を装着した時に該外側環状突条の内周面は容器の口頸部の外周面乃至上面に密接せしめられ、該内側環状突条の外周面は容器の口頸部の内周面に近接して位置せしめられる、請求項1から3までのいずれかに記載の容器蓋。
  5. 上端にはカールが形成され外周面には雄螺条が形成されている口頸部を有する金属薄板製容器に適用される、請求項1から4までのいずれかに記載の容器蓋。
JP2004113104A 2004-04-07 2004-04-07 容器蓋 Pending JP2005297981A (ja)

Priority Applications (1)

Application Number Priority Date Filing Date Title
JP2004113104A JP2005297981A (ja) 2004-04-07 2004-04-07 容器蓋

Applications Claiming Priority (1)

Application Number Priority Date Filing Date Title
JP2004113104A JP2005297981A (ja) 2004-04-07 2004-04-07 容器蓋

Related Child Applications (1)

Application Number Title Priority Date Filing Date
JP2010101139A Division JP5203414B2 (ja) 2010-04-26 2010-04-26 容器蓋

Publications (1)

Publication Number Publication Date
JP2005297981A true JP2005297981A (ja) 2005-10-27

Family

ID=35330008

Family Applications (1)

Application Number Title Priority Date Filing Date
JP2004113104A Pending JP2005297981A (ja) 2004-04-07 2004-04-07 容器蓋

Country Status (1)

Country Link
JP (1) JP2005297981A (ja)

Cited By (2)

* Cited by examiner, † Cited by third party
Publication number Priority date Publication date Assignee Title
JP2008074440A (ja) * 2006-09-21 2008-04-03 Japan Crown Cork Co Ltd 金属製包装体
JP2016124577A (ja) * 2014-12-26 2016-07-11 株式会社Csiジャパン キャップ、閉止装置、および飲料入り閉止装置

Citations (3)

* Cited by examiner, † Cited by third party
Publication number Priority date Publication date Assignee Title
JPS62135165A (ja) * 1985-12-04 1987-06-18 喜多産業株式会社 ライナ−付き容器蓋及びその製造方法
JP2001139053A (ja) * 1999-11-11 2001-05-22 Daiwa Can Co Ltd ネジ付き缶用キャップの密封ライナー構造
JP2005213836A (ja) * 2004-01-29 2005-08-11 Kamiya Kenchiku Sekkei:Kk 鉄筋コンクリート造建物のフラット床スラブ

Patent Citations (3)

* Cited by examiner, † Cited by third party
Publication number Priority date Publication date Assignee Title
JPS62135165A (ja) * 1985-12-04 1987-06-18 喜多産業株式会社 ライナ−付き容器蓋及びその製造方法
JP2001139053A (ja) * 1999-11-11 2001-05-22 Daiwa Can Co Ltd ネジ付き缶用キャップの密封ライナー構造
JP2005213836A (ja) * 2004-01-29 2005-08-11 Kamiya Kenchiku Sekkei:Kk 鉄筋コンクリート造建物のフラット床スラブ

Cited By (2)

* Cited by examiner, † Cited by third party
Publication number Priority date Publication date Assignee Title
JP2008074440A (ja) * 2006-09-21 2008-04-03 Japan Crown Cork Co Ltd 金属製包装体
JP2016124577A (ja) * 2014-12-26 2016-07-11 株式会社Csiジャパン キャップ、閉止装置、および飲料入り閉止装置

Similar Documents

Publication Publication Date Title
JP2013516367A (ja) 高められた性能をもつプラスチックのクロージャー
JP7506027B2 (ja) 金属製本体及び合成樹脂製ライナーを備えた容器蓋
JP5038934B2 (ja) 容器と容器蓋との組合せ
JP2005320055A (ja) 合成樹脂製容器蓋
JP4253465B2 (ja) 金属薄板製容器と容器蓋との組み合わせ
JP5095097B2 (ja) 容器蓋
JP7001355B2 (ja) 容器蓋
JP4750548B2 (ja) 容器蓋
JP2005297981A (ja) 容器蓋
JP4608333B2 (ja) 容器蓋
JP4503308B2 (ja) 金属薄板製容器のための容器蓋
JP5203414B2 (ja) 容器蓋
JP2015054699A (ja) キャップ、閉止装置、および飲料入り閉止装置
JP4594687B2 (ja) 金属薄板製シェルと合成樹脂製パッキンとから構成された容器蓋
JP3990587B2 (ja) 金属薄板製シェルと合成樹脂製ライナーとから成る容器蓋
JP4585126B2 (ja) 天面壁が補強された容器蓋
JP4630131B2 (ja) 容器蓋及び密封方法
JP5411576B2 (ja) 容器蓋
JP5912247B2 (ja) 合成樹脂製容器蓋
JP2006151405A (ja) 金属薄板製シェルと合成樹脂製パッキンとから構成された容器蓋
JP4575678B2 (ja) 容器蓋
JP4673142B2 (ja) 密封方法
JP4357313B2 (ja) 金属薄板製シェルと合成樹脂製ライナーとから構成された容器蓋
JP6599130B2 (ja) 金属薄板製シェルと合成樹脂製ライナーとを具備する容器蓋
JP2009161227A (ja) キャップ

Legal Events

Date Code Title Description
A621 Written request for application examination

Free format text: JAPANESE INTERMEDIATE CODE: A621

Effective date: 20070228

A977 Report on retrieval

Free format text: JAPANESE INTERMEDIATE CODE: A971007

Effective date: 20091021

A131 Notification of reasons for refusal

Free format text: JAPANESE INTERMEDIATE CODE: A131

Effective date: 20091104

A521 Written amendment

Free format text: JAPANESE INTERMEDIATE CODE: A523

Effective date: 20091224

A02 Decision of refusal

Free format text: JAPANESE INTERMEDIATE CODE: A02

Effective date: 20100202

A521 Written amendment

Free format text: JAPANESE INTERMEDIATE CODE: A523

Effective date: 20100426

A911 Transfer of reconsideration by examiner before appeal (zenchi)

Free format text: JAPANESE INTERMEDIATE CODE: A911

Effective date: 20100531

A912 Removal of reconsideration by examiner before appeal (zenchi)

Free format text: JAPANESE INTERMEDIATE CODE: A912

Effective date: 20100618

A521 Written amendment

Free format text: JAPANESE INTERMEDIATE CODE: A523

Effective date: 20110426