JP2005297738A - 水中スクータ - Google Patents

水中スクータ Download PDF

Info

Publication number
JP2005297738A
JP2005297738A JP2004116152A JP2004116152A JP2005297738A JP 2005297738 A JP2005297738 A JP 2005297738A JP 2004116152 A JP2004116152 A JP 2004116152A JP 2004116152 A JP2004116152 A JP 2004116152A JP 2005297738 A JP2005297738 A JP 2005297738A
Authority
JP
Japan
Prior art keywords
air
underwater scooter
air tank
underwater
watertight container
Prior art date
Legal status (The legal status is an assumption and is not a legal conclusion. Google has not performed a legal analysis and makes no representation as to the accuracy of the status listed.)
Withdrawn
Application number
JP2004116152A
Other languages
English (en)
Inventor
Yoshihiro Iijima
良洋 飯嶋
Hiroshi Sueshige
洋 末繁
Keiji Iino
啓司 飯野
Masayuki Osumi
雅之 大角
Hiroaki Hasebe
博昭 長谷部
Current Assignee (The listed assignees may be inaccurate. Google has not performed a legal analysis and makes no representation or warranty as to the accuracy of the list.)
Honda Motor Co Ltd
Original Assignee
Honda Motor Co Ltd
Priority date (The priority date is an assumption and is not a legal conclusion. Google has not performed a legal analysis and makes no representation as to the accuracy of the date listed.)
Filing date
Publication date
Application filed by Honda Motor Co Ltd filed Critical Honda Motor Co Ltd
Priority to JP2004116152A priority Critical patent/JP2005297738A/ja
Priority to US11/102,163 priority patent/US7011035B2/en
Publication of JP2005297738A publication Critical patent/JP2005297738A/ja
Withdrawn legal-status Critical Current

Links

Images

Landscapes

  • Fire-Extinguishing By Fire Departments, And Fire-Extinguishing Equipment And Control Thereof (AREA)

Abstract

【課題】内燃機関でプロペラを駆動して水上と水中の両方を航行できるようにした水中スクータを提供する。
【解決手段】エンジンが収容される水密容器(14)の内部を大気に連通させるシュノーケル(48)と、水密容器(14)の内部に供給されるべき空気が封入されたエアタンク(22)とを備えると共に、水中スクータ(10)が水上を航行しているときは、シュノーケル(48)とエアタンク(22)のいずれかからエンジンに燃焼用空気を供給する。一方、水中スクータ(10)が水中を航行しているときは、エアタンク(22)から燃焼用空気を供給する。このとき、シュノーケル(48)の上端にスタータグリップ(92)を装着し、水密容器(14)に水が浸入するのを防止する。
【選択図】図2

Description

この発明は、水上または水中を航行する水中スクータに関する。
従来、例えば特許文献1に記載されるように、操縦者(ダイバー)に操縦されて水上または水中を航行する水中スクータが提案されている。特許文献1に記載される水中スクータにあっては、電動モータでプロペラを駆動することによって推進力を得るようにしている。そして、操縦者が把持すべきグリップを備え、かかるグリップを把持した操縦者を牽引することにより、その進行を補助するように構成している。
特公平4−17832号公報
また、例えば特許文献2に記載される技術にあっては、内燃機関でプロペラを駆動することによって推進力を得るように構成している。ここで、前記内燃機関に供給すべき燃焼用の空気は、水中スクータの上面に配置された吸気口(air inlet 50)から導入される。
米国特許第5,394,820号明細書(第4欄、図3など)
上記特許文献2に記載される技術にあっては、内燃機関に供給すべき空気を水中スクータの上面に配置された吸気口から導入しているため、吸気口が冠水しない水上しか航行できないという問題があった。
従って、この発明の目的は上記した課題を解決することにあり、内燃機関でプロペラを駆動して水上と水中の両方を航行できるようにした水中スクータを提供することにある。
上記した課題を解決するために、請求項1にあっては、操縦者に操縦されて水上または水中を航行する水中スクータにおいて、前記操縦者が騎乗すべきメインフレームと、前記メインフレームに配置された水密容器と、前記水密容器に収容された内燃機関と、前記内燃機関によって駆動されて回転して前記水中スクータを推進させるプロペラと、前記水密容器の内部を大気に連通させるシュノーケルと、前記水密容器の内部に供給されるべき空気が封入された第1のエアタンクとを備えると共に、前記シュノーケルおよび前記第1のエアタンクの少なくともいずれかから前記内燃機関に燃焼用空気を供給するように構成した。
また、請求項2にあっては、前記第1のエアタンクに封入された空気を前記操縦者に供給すべく供給先を変更する第1の空気供給先変更手段を備えるように構成した。
また、請求項3にあっては、前記第1のエアタンクが、前記メインフレームに前記水中スクータの進行方向においてスライド自在に装着されるように構成した。
また、請求項4にあっては、前記第1のエアタンクの空気残量を検出して表示する第1の空気残量表示手段を備えるように構成した。
また、請求項5にあっては、前記内燃機関を始動するリコイルスタータを備えると共に、前記リコイルスタータのグリップによって前記シュノーケルの開口部を封止するように構成した。
また、請求項6にあっては、前記リコイルスタータのグリップに、前記水密容器の内圧が所定の圧力を上回ったときに開弁して前記水密容器を外部に連通させるワンウェイチェックバルブを配置するように構成した。
また、請求項7にあっては、前記操縦者に供給されるべき空気が封入された第2のエアタンクを備えるように構成した。
また、請求項8にあっては、前記第2のエアタンクに封入された空気を前記水密容器の内部に供給すべく供給先を変更する第2の空気供給先変更手段を備えるように構成した。
また、請求項9にあっては、前記第2のエアタンクが、前記メインフレームに前記水中スクータの進行方向においてスライド自在に装着されるように構成した。
また、請求項10にあっては、前記第2のエアタンクの空気残量を検出して表示する第2の空気残量表示手段を備えるように構成した。
請求項1に係る水中スクータにあっては、操縦者が騎乗すべきメインフレームと、前記メインフレームに配置された水密容器と、前記水密容器に収容された内燃機関と、前記内燃機関によって駆動されて回転して前記水中スクータを推進させるプロペラと、前記水密容器の内部を大気に連通させるシュノーケルと、前記水密容器の内部に供給されるべき空気が封入された第1のエアタンクとを備えると共に、前記シュノーケルおよび前記第1のエアタンクの少なくともいずれかから前記内燃機関に燃焼用空気を供給するように構成したので、内燃機関でプロペラを駆動して水上と水中の両方を航行することができる。
また、請求項2に係る水中スクータにあっては、前記第1のエアタンクに封入された空気を前記操縦者に供給すべく供給先を変更する第1の空気供給先変更手段を備えるように構成したので、上記した効果に加え、内燃機関の停止時や水中スクータの航行深度が浅くシュノーケルから燃焼用空気が導入できる場合、第1のエアタンクに封入された空気を操縦者に呼吸用の空気として供給することができ、よって操縦者の快適性を向上させることができる。
また、請求項3に係る水中スクータにあっては、前記第1のエアタンクが、前記メインフレームに前記水中スクータの進行方向においてスライド自在に装着されるように構成したので、第1のエアタンクの浮力が作用する位置を変更することができる。このため、上記した効果に加え、水中スクータの姿勢を潜行または浮上に適した姿勢に変更することができ、よって水中スクータの深度調整を容易に行うことができる。
また、請求項4に係る水中スクータにあっては、前記第1のエアタンクの空気残量を検出して表示する第1の空気残量表示手段を備えるように構成したので、上記した効果に加え、水中スクータの潜行可能時間(距離)を報知することができる。
また、請求項5に係る水中スクータにあっては、前記内燃機関を始動するリコイルスタータを備えると共に、前記リコイルスタータのグリップによって前記シュノーケルの開口部を封止するように構成したので、上記した効果に加え、水密容器に収容された内燃機関の始動を容易に行うことができると共に、水中スクータが潜行しているときにシュノーケルから水密容器の内部に水が浸入するのを防止することができる。
また、請求項6に係る水中スクータにあっては、前記リコイルスタータのグリップに、前記水密容器の内圧が所定の圧力を上回ったときに開弁して前記水密容器を外部に連通させるワンウェイチェックバルブを配置するように構成したので、上記した効果に加え、内燃機関の発熱などによって水密容器の内圧が上昇したとき、リコイルスタータのグリップに配置されたワンウェイチェックバルブを介して水密容器内の空気を外部に排出する(水密容器の内圧を減圧する)ことができる。
また、請求項7に係る水中スクータにあっては、前記操縦者に供給されるべき空気が封入された第2のエアタンクを備えるように構成したので、上記した効果に加え、内燃機関への燃焼用空気の供給と操縦者への呼吸用空気の供給を同時に行うことができ、よって操縦者の快適性をより向上させることができる。
また、請求項8に係る水中スクータにあっては、前記第2のエアタンクに封入された空気を前記水密容器の内部に供給すべく供給先を変更する第2の空気供給先変更手段を備えるように構成したので、上記した効果に加え、水中スクータの潜行可能時間(距離)を延長することができる。また、前記した第1の空気供給先変更手段と第2の空気供給先変更手段の両方を備える場合には、燃焼用空気と呼吸用空気の消費量に差が生じても、各エアタンクに封入された空気を効率良く使用することができる。
また、請求項9に係る水中スクータにあっては、前記第2のエアタンクが、前記メインフレームに前記水中スクータの進行方向においてスライド自在に装着されるように構成したので、上記した効果に加え、第2のエアタンクの浮力が作用する位置を変更して水中スクータを潜行または浮上に適した姿勢にすることができ、よって水中スクータの深度調整をより一層容易に行うことができる。
また、請求項10に係る水中スクータにあっては、前記第2のエアタンクの空気残量を検出して表示する第2の空気残量表示手段を備えるように構成したので、上記した効果に加え、操縦者の潜行可能時間(呼吸可能時間)を報知することができる。
以下、添付図面に即してこの発明に係る水中スクータを実施するための最良の形態について説明する。
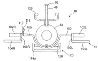
図1は、この実施例に係る水中スクータの平面図である。また、図2は、図1に示す水中スクータの左側面図であり、図3は、図1に示す水中スクータの正面図である。
図1から図3において、符号10は水中スクータを示す。先ず、水中スクータ10の構成について概説すると、水中スクータ10は、円筒状に形成されてその長手方向が水中スクータ10の進行方向に対して平行となるように配置されたメインフレーム12と、メインフレーム12において進行方向前方に配置された卵型の水密(気密)容器14と、水密容器14の内部に収容された内燃機関(駆動源。図1から図3で図示せず。以下「エンジン」という)と、メインフレーム12において進行方向後方に配置され、エンジンで駆動されて回転して水中スクータ10を推進させるプロペラ16と、メインフレーム12の内部に挿通されてエンジンの出力をプロペラ16に伝達するドライブシャフト(図1から図3で図示せず)と、水密容器14の付近に配置されて水中スクータ10の航行深度の調整を行う深度調整機構18と、プロペラ16の付近に配置されて水中スクータ10の進行方向の調整を行う操舵機構20と、メインフレーム12において水密容器14とプロペラ16の間に配置された第1のエアタンク22と第2のエアタンク24を備える。
次いで、上記した各構成について詳説する。
図4は、図1のIV−IV線拡大断面図である。図示の如く、メインフレーム12の内部は区画壁によって分割され、5つの通路が形成される。各通路は、メインフレーム12の先端から後端まで連続する1つの空間として形成される。5つの通路のうち、中心に位置する円筒状の第1の通路12aには、前記したドライブシャフト(符号26で示す)が挿通される。これに対し、第1の通路12aの外周を分割して形成された第2から第5の通路12b,12c,12d,12eは、後述の如く、空気や排出ガスの流路となる。
メインフレーム12の両側面には、断面視において略Cの字状(あるいはその左右対称の断面形状)を呈する溝部28L,28Rが形成される。図2に示すように、溝部28L(およびその裏面に位置する溝部28R)は、メインフレーム12の長手方向(進行方向)に所定の長さを有するように形成される。
図4の説明を続けると、左右の溝部28L,28Rには、それぞれ断面視において略Hの字状を呈するスライダ30L,30Rがスライド自在に嵌められる。即ち、スライダ30L,30Rは、溝部28L,28Rの上端と下端に形成された突起をレールとして、スライド自在に構成される。
スライダ30L,30Rには、それぞれベルト32L,32Rが設けられる。前記した第1のエアタンク22と第2のエアタンク24は、ベルト32L,32Rを介してそれぞれスライダ30L,30Rに装着される。これにより、第1のエアタンク22と第2のエアタンク24は、メインフレーム12の長手方向(即ち、水中スクータ10の進行方向)にスライド自在に装着される。
図1から図3の説明に戻ると、第1のエアタンク22は、バルブ36を介してレギュレータ38に接続される。レギュレータ38は、ホース40を介してメインフレーム12の内部(具体的には第2の通路12b)に接続される。一方、第2のエアタンク24は、バルブ42を介してレギュレータ44に接続される。レギュレータ44は、ホース46を介してメインフレーム12の内部(具体的には、第3の通路12c)に接続される。尚、第1および第2のエアタンク22,24の容積は、例えば12リットル程度であり、その内部には空気が高圧(例えば200気圧程度)に圧縮されて封入される。
第1のエアタンク22に封入された空気は、レギュレータ38で所定の圧力(例えば10気圧程度)まで減圧された後、ホース40を介してメインフレーム12の第2の通路12bに供給される。一方、第2のエアタンク24に封入された空気は、レギュレータ44で前記した所定の圧力(10気圧程度)まで減圧された後、ホース46を介してメインフレーム12の第3の通路12cに供給される。
また、水密容器14の上面には、シュノーケル48と計器盤50が設けられる。計器盤50には、図5に良く示す如く、第1のエアタンク22の空気残量を検出して表示する第1の圧力計50a(第1の空気残量表示手段)と、第2のエアタンク24の空気残量を検出して表示する第2の圧力計50b(第2の空気残量表示手段)が配置される。第1の圧力計50aは、具体的には高圧ホース50a1を介して第1のエアタンク22に接続され、第1のエアタンク22の出口圧力に応じてその空気残量をパーセンテージで表示する。また、第2の圧力計50bは、高圧ホース50b1を介して第2のエアタンク24に接続され、第2のエアタンク24の出口圧力に応じてその空気残量をパーセンテージで表示する。
図6は、図1のVI−VI線拡大断面図である。また、図7は、図2のVII−VII線拡大断面図である。
図6および図7に示すように、水密容器14は、進行方向前方からバンパー14a、燃料タンク14bおよびエンジン収容部14cの3つの部材から構成される。
エンジン収容部14cには、エンジンEが収容される。エンジンEは、例えば排気量30cc程度の単気筒火花点火式ガソリンエンジンである。また、エンジン収容部14cの上部には、上方へと突出するシュノーケル48が設けられ、かかるシュノーケル48を介してエンジン収容部14cの内部と外部(大気)とが連通される。
エンジン収容部14cの前方には、ボルト52によって燃料タンク14bが取り付けられ、燃料タンク14bには、エンジンEに供給されるべきガソリン燃料が貯留される。また、燃料タンク14bの前面には給油口54が穿設され、給油口54は、キャップ56によって封止される。
燃料タンク14bの前方には、前記キャップ56を被覆するようにバンパー14aが取り付けられる。バンパー14aは、水中スクータ10が外部と衝突したときに変形して衝撃を緩和できるように、他の部材よりも硬度の小さい材料で形成される。また、バンパー14aは、燃料タンク14bへのガソリン燃料の供給を容易に行うことができるように、工具を使用することなく着脱自在とされる。
また、エンジン収容部14cの後方には、ボルト58によって接続部材60が取り付けられる。接続部材60は、メインフレーム12の直径と略同径の内径を有する円筒部60aを備える。
図8は、図6のVIII−VIII線拡大断面図である。図8に示すように、メインフレーム12の先端付近には、ナット62が収容される。図6から図8に示すように、接続部材60の円筒部60aにメインフレーム12の先端を挿入し、ちょうボルト64をナット62に螺合させることにより、メインフレーム12の前方に接続部材60を介して水密容器14が取り付けられる。尚、ナット62は、図8に示す如く周囲を区画壁で囲われ、その回転が抑止される。
図6および図7の説明に戻ると、メインフレーム12の第2の通路12bは、接続部材60に形成された連通路60b(図7に示す)を介し、水密容器14内に配置されたレギュレータ68に接続される。また、第3の通路12cは、接続部材60の内部に形成された連通路(図示せず)と水密容器14内に設けられた流路70を介し、水密容器14の外部へと連続するホース72に接続される。ホース72の先端には、レギュレータ74が接続され、レギュレータ74には、さらにマウスピース76(いずれも図1および図2に示す)が接続される。
また、メインフレーム12の第4の通路12dは、接続部材60に形成された連通路60cを介してエンジンEの排気管78に接続される。尚、図示は省略するが、第5の通路12eは、接続部材60に形成された連通路を介して水密容器14の内部と連通される。
エンジンEは、図示しない吸気管を備える。吸気管の入口付近にはエアフィルタが設けられると共に、その下流にはスロットルボディ(いずれも図示せず)が配置される。スロットルボディにはスロットルバルブが収容されると共に、その上流側にはキャブレタ・アシー(いずれも図示せず)が設けられる。キャブレタ・アシーには燃料管80(図6に示す)が接続される。燃料管80は燃料タンク14bの内部に連通されると共に、その先端には燃料ポンプ82が接続される。
また、エンジンEのクランクシャフトES(図6に示す)の一端には、遠心クラッチ84が接続される。遠心クラッチ84の出力側は減速機構86に接続され、減速機構86の出力側はドライブシャフト26の前端に接続される。尚、水中スクータ10にはエンジンEの回転数を調節する図示しないスロットル装置が設けられ、遠心クラッチ84は、エンジンEの回転数が上昇させられたときにその動力を伝達する。
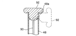
一方、クランクシャフトESの他端には、リコイルスタータ88が取り付けられる。リコイルスタータ88のスタータロープ90は、シュノーケル48の内部に挿通されると共に、その先端にはスタータグリップ92が設けられる。スタータグリップ92は、シュノーケル48の上端に着脱自在に構成される。具体的には、スタータグリップ92は、シュノーケル48の上端にその開口部を水密に封止するように装着されると共に、前記上端から取り外し自在に構成される。即ち、エンジンEを始動させる際はシュノーケル48の上端からスタータグリップ92を取り外し、スタータロープ90を引き出す。エンジンEを始動した後は、シュノーケル48から水が浸入するのを防止すべく、シュノーケル48の上端にスタータグリップ92を取り付けてその開口部を封止する。
図9は、シュノーケル48の上端付近の拡大図であり、図10は図9のX−X線断面図である。図9および図10に示す如く、シュノーケル48の上端には、取り外したスタータグリップ92(図10に破線で示す)を係止すべき切り欠き部48aが設けられる。
ここで、第1のエアタンク22から所定の圧力に減圧されてメインフレーム12の第2の通路12bに供給された空気は、連通路60bを介してレギュレータ68に供給されると共に、レギュレータ68で水密容器14の内圧まで減圧された後、水密容器14の内部(具体的にはエンジン収容部14c)に供給される。
水密容器14に供給された空気は、エアフィルタを介して吸気管に吸入される。キャブレタ・アシーは、吸入された空気にガソリン燃料を噴射して混合気を生成する。生成された混合気は、エンジンEの燃焼室(図示せず)に吸入されて燃焼させられる。混合気の燃焼によって生じた排出ガスは、排気管78および連通路60cを介してメインフレーム12の第4の通路12dに流入する。
一方、第2のエアタンク24から所定の圧力に減圧されてメインフレーム12の第3の通路12cに供給された空気は、前記した連通路と流路70、さらにはホース72を介してレギュレータ74に供給される。レギュレータ74は、図示しないダイヤフラムなどを備え、マウスピース76を咥えた操縦者(ダイバー)によって吸気動作が行われたとき、周囲の水圧まで減圧した空気を操縦者に供給する。
このように、水中スクータ10にあっては、メインフレーム12に第1のエアタンク22を取り付け、第1のエアタンク22に封入された空気をエンジンEの燃焼用の空気として供給するようにした。また、メインフレーム12に第2のエアタンク24を取り付け、第2のエアタンク24に封入された空気を操縦者の呼吸用の空気として供給するようにした。
図11は、図1のXI−XI線拡大断面図である。
図11に示す如く、第1の通路12aに挿通されたドライブシャフト26の後端には、プロペラ16が取り付けられる。即ち、水中スクータ10は、メインフレーム12の前方に配置されたエンジンEの出力を前記した遠心クラッチ84、減速機構86およびメインフレーム12の内部に挿通されたドライブシャフト26を介してメインフレーム12の後方に配置されたプロペラ16に伝達し、よってプロペラ16を駆動して水上または水中を航行する。
また、メインフレーム12の第4の通路12dの後端には、第1のワンウェイチェックバルブ94が配置される。第1のワンウェイチェックバルブ94は、排出ガスが第4の通路12dに流入してその内圧が所定の圧力を上回ったときに開弁し、第4の通路12dを外部(水中)に連通させる。即ち、エンジンEから排出された排出ガスは、排気管78、連通路60c、メインフレーム12の第4の通路12dおよび第1のワンウェイチェックバルブ94を介して水中スクータ10の後方(外部)へと排出される。
さらに、メインフレーム12の第5の通路12eの後端には、第2のワンウェイチェックバルブ96が配置される。第2のワンウェイチェックバルブ96は、第5の通路12eの内圧(別言すれば、第5の通路12eに連通された水密容器14の内圧)が所定の圧力を上回ったときに開弁し、第5の通路12eを外部(水中)に連通させる。即ち、エンジンEの発熱などによって水密容器14の内圧が上昇すると、水密容器14内の空気が、接続部材60に形成された連通路、メインフレーム12の第5の通路12eおよび第2のワンウェイチェックバルブ96を介して水中スクータ10の後方(外部)へと排出され、よって水密容器14の内圧が調整(減圧)される。
上記の如く、メインフレーム12に形成された第1の通路12aは、ドライブシャフト26の挿通路となる。また、第2の通路12bは、エンジンEに供給されるべき燃焼用空気の流路となり、第3の通路12cは、操縦者に供給されるべき呼吸用空気の流路となる。さらに、第4の通路12dは、エンジンEから排出された排出ガスの流路となり、第5の通路12eは、水密容器14内の空気を外部に排出してその内圧を調整するための連通路となる。
尚、図示は省略するが、第2の通路12bと第3の通路12cは、メインフレーム12の後端において封止される。第2の通路12bと第3の通路12cをメインフレーム12の後端で封止するのは、メインフレーム12の前端から後端に空気を充満させ、メインフレーム12全体に均等な浮力を与えるためである。第4の通路12dと第5の通路12eにおいて各ワンウェイチェックバルブをそれらの後端に配置したのも、同様な理由からである。
ここで、図6および図7に示すように、第2の通路12bと第3の通路12cには切り替えバルブ98(空気供給先変更手段)が配置される。切り替えバルブ98は、操縦者によって手動操作自在な切り替えスイッチ98aを備え、かかるスイッチ98aの操作に応じ、切り替えバルブ98よりも上流側の第2の通路12bとそれよりも下流側の第3の通路12cを連通させると共に、切り替えバルブ98よりも上流側の第3の通路12cとそれよりも下流側の第2の通路12bを連通させる。
即ち、切り替えバルブ98は、切り替えスイッチ98aの操作に応じて第1および第2のエアタンク22,24に封入された空気の供給先を変更する、具体的には、第1のエアタンク22に封入された空気が呼吸用空気として操縦者に供給されると共に、第2のエアタンク24に封入された空気が燃焼用空気としてエンジンEに供給されるように、各エアタンクに封入された空気の供給先を変更する。
図1から図3の説明に戻ると、水密容器14には、水中スクータ10を潜行あるいは浮上させて航行深度を調整する深度調整機構18が取り付けられる。深度調整機構18は、バー100と、円筒状の左右のグリップ102L,102Rと、上面視略台形のプレートからなる左右のエレベータ104L,104Rと、グリップ102L,102Rをエレベータ104L,104Rに接続する接続部材106L,106Rとからなる。
深度調整機構18について具体的に説明すると、バー100は水密容器14に取り付けられ、その長手方向が水中スクータ10の左右方向に対して平行となるように配置される。バー100において進行方向に向かって左側の端部には、左グリップ102Lが取り付けられる。同様に、バー100において進行方向に向かって右側の端部には、右グリップ102Rが取り付けられる。尚、左右のグリップ102L,102Rは、それぞれバー100を中心として回転(具体的には自転)自在に取り付けられる。
左右のグリップ102L,102Rには、それぞれ接続部材106L,106Rを介してエレベータ104L,104Rが接続される。これにより、エレベータ104L,104Rは、水中スクータ10の左右軸回りに揺動自在とされる。即ち、グリップ102L,102Rを回転させることにより、エレベータ104L,104Rの左右軸回りの傾きの大きさと方向を変更することができ、よってエレベータ104L,104Rに作用する揚力(水中スクータ10を潜行あるいは浮上させる力)を調整することができる。
また、バー100の適宜位置には、エマージェンシスイッチ110が設けられる。エマージェンシスイッチ110には、そのオン、オフのトリガーとなるエマージェンシコード112(図1および図3に示す)の一端が取り付けられる。エマージェンシコード112の他端は、後述する如く、操縦者の腕に取り付けられる。
一方、メインフレーム12の後端には、操舵機構20が取り付けられる。操舵機構20は、フットスタンド114と、フットスタンド114に接続されたラダー116と、それらをメインフレーム12に接続する接続部材118とからなる。
操舵機構20について具体的に説明すると、接続部材118は、メインフレーム12の直径と略同径の内径を有する円筒部118aを備える。図11に良く示すように、かかる円筒部118aにメインフレーム12の後端を挿入し、ちょうボルト120をメインフレーム12の内部に収容されたナット122に螺合させることにより、メインフレーム12に接続部材118、別言すれば、操舵機構20が取り付けられる。尚、図示は省略するが、ナット122も前述のナット62と同様に周囲を区画壁で囲われ、その回転が抑止される。
接続部材118は、前記円筒部118aに連続する上下左右の計4枚の翼部118bを備える。翼部118bは、プロペラ16との接触を上下方向あるいは左右方向に回避するように形成されると共に、それらの後端は、プロペラ16よりも後方に位置させられる。上記したフットスタンド114とそれに接続されたラダー116は、翼部118bの中、上下に配置された2枚の翼部の後端に上下軸回りに揺動自在に支持される。即ち、フットスタンド114を操作する(上下軸回りに回転させる)ことにより、ラダー116を上下軸回りに揺動させることができ、よって水中スクータ10の進行方向を調整することができる。
図12は、水中スクータ10と、それに騎乗した操縦者を示す左側面図である。
図12に示すように、操縦者OPは、第1のエアタンク22と第2のエアタンク24の上に騎乗する。具体的には、操縦者OPは、メインフレーム12を跨ぐようにして第1のエアタンク22と第2のエアタンク24に着座する。そして、前傾姿勢をとって前方に位置する左右のグリップ102L,102Rを把持すると共に、後方に位置するフットスタンド114の載置部114aに足を載置する、具体的には、足の甲を係止させる。尚、載置部114aは、図1に示すように、平面視において環状を呈する。
このとき、操縦者OPの腰部は、前記したスライダ30L,30Rに取り付けられたウェストホルダ126に支持される。また、操縦者OPの膝裏は、メインフレーム12に取り付けられたフットホルダ128に支持される。尚、フットホルダ128は、前述した接続部材60などと同様に、メインフレーム12の内部に収容されてその回転が抑止されたナット(図示せず)とちょうボルト130を螺合させることによって取り付けられる。
また、操縦者OPの腕には、前述したエマージェンシコード112(図12で図示省略)の他端が装着される。これにより、操縦者OPが水中スクータ10から離脱したときにエマージェンシコード112の一端がエマージェンシスイッチ110から引き抜かれ、緊急停止信号が送出されてエンジンEが停止させられる。
次いで、操縦者OPによる水中スクータ10の操縦、具体的には、航行深度と進行方向の調整について説明する。
先ず、水中スクータ10を潜行させるときは、図13に示す如く、左右のエレベータ104L,104Rの前端を後端よりも下方に位置させるように左右のグリップ102L,102Rを回転させる。この状態で水中スクータ10を前進させることにより、左右のエレベータ104L,104Rには下向きの力が作用し、よって水中スクータ10が潜行させられる。また、このとき、操縦者OPは騎乗部たる第1および第2のエアタンク22,24を後方へとスライドさせる。即ち、第1および第2のエアタンク22,24の浮力が作用する位置を後方へと移動させる。これにより、水中スクータ10の後方の浮力が大きくなり、水中スクータ10の前方が沈み込む(後方が浮き上がる)ことから、潜行に適した(潜行し易い)姿勢となる。
これに対し、水中スクータ10を浮上させるときは、図14に示す如く、左右のエレベータ104L,104Rの前端を後端よりも上方に位置させるように左右のグリップ102L,102Rを回転させる。この状態で水中スクータ10を前進させることにより、左右のエレベータ104L,104Rには上向きの力が作用し、よって水中スクータ10が浮上させられる。また、このとき、操縦者OPは騎乗部たる第1および第2のエアタンク22,24を前方へとスライドさせる。即ち、第1および第2のエアタンク22,24の浮力が作用する位置を前方へと移動させる。これにより、水中スクータ10の前方の浮力が大きくなり、水中スクータ10の前方が浮き上がる(後方が沈み込む)ことから、浮上に適した(浮上し易い)姿勢となる。
一方、水中スクータ10の進行方向を調整するときは、フットスタンド114に載置した足でフットスタンド114を左右に操作し、よってラダー116を上下軸回りに揺動させる。これにより、水中スクータ10が左右に操舵される。
尚、水中スクータ10が水上あるいは水面付近を航行するとき(即ち、航行深度が浅く、シュノーケル48の上端が水面より上方に位置するとき)は、シュノーケル48の上端からスタータグリップ92を取り外して前記切り欠き部48aに係止させる(即ち、開口部を封止しないようにする)ことで、外気をエンジンEの燃焼用空気として取り入れることができる。このとき、第1のエアタンク22に接続されたバルブ36を閉弁し、第1のエアタンク22からの空気の供給は停止させる。
このように、この実施例に係る水中スクータ10にあっては、円筒状に形成されたメインフレーム12の前方にエンジンEを収容する水密容器14を配置する一方、後方にプロペラ16を配置し、メインフレーム12の内部に挿通されたドライブシャフト26でエンジンEの出力をプロペラ16に伝達すると共に、メインフレーム12においてエンジンEとプロペラ16の間に配置された第1および第2のエアタンク22,24に操縦者OPが騎乗するようにしたので、操縦者を牽引するタイプの従来例に比して操縦者の負担を軽減させることができる。
また、プロペラ16が操縦者OPよりも後方に配置されると共に、エンジンEの排出ガスがメインフレーム12の第4の通路12dを通過して操縦者OPの後方に排出されることから、プロペラ16から噴出された水流やエンジンEの排出ガスによって操縦者OPの視界が低下するおそれがない。さらに、プロペラ16から噴出された水流やエンジンEの排出ガスによって操縦者OPの装着物(ゴーグルなど)が脱落するおそれもない。
また、エンジンEが収容される水密容器14の内部を大気に連通させるシュノーケル48と、水密容器14の内部に供給されるべき空気が封入された第1のエアタンク22とを備えるようにしたことから、水中スクータ10が水上を航行するときはシュノーケル48と第1のエアタンク22の少なくともいずれかからエンジンEに燃焼用空気を供給することができると共に、水中スクータ10が水中を航行しているときは第1のエアタンク22から燃焼用空気を供給することができ、よってエンジンEでプロペラ16を駆動して水上と水中の両方を航行することができる。
また、エンジンEを始動するリコイルスタータ88を備えると共に、前記リコイルスタータのスタータグリップ92によってシュノーケル48の開口部を封止するようにしたので、水密容器14に収容されたエンジンEの始動を容易に行うことができると共に、水中スクータ10が潜行しているときにシュノーケル48から水密容器14の内部に水が浸入するのを防止することができる。
また、操縦者OPに供給されるべき空気が封入された第2のエアタンク24を備えるようにしたので、エンジンEへの燃焼用空気の供給と操縦者OPへの呼吸用空気の供給を同時に行うことができ、よって操縦者の快適性を向上させることができる。
また、第1のエアタンク22の空気残量を検出して表示する第1の圧力計50aと第2のエアタンク24の空気残量を検出して表示する第2の圧力計50bを備えるようにしたので、水中スクータ10の潜行可能時間(距離)および操縦者OPの潜行可能時間(呼吸可能時間)を報知することができる。
また、第1および第2のエアタンク22,24が、メインフレーム12に水中スクータ10の進行方向においてスライド自在に装着されるようにしたので、各エアタンクの浮力が作用する位置を変更することができる。このため、水中スクータ10の姿勢を潜行または浮上に適した姿勢に変更することができ、よって水中スクータ10の深度調整を容易に行うことができる。
また、遠心クラッチ84を介してエンジンEの出力をプロペラ16に伝達するようにしたので、エンジンEの運転を停止することなく水中スクータ10の航行を停止することができる。
さらに、第1のエアタンク22に封入された空気と第2のエアタンク24に封入された空気の供給先を変更する切り替えバルブ98を備えるようにしたので、燃焼用空気と呼吸用空気の消費量に差が生じても、各エアタンクに封入された空気を効率良く使用することができる。
尚、1個の切り替えバルブによって第1のエアタンク22に封入された空気と第2のエアタンク24に封入された空気の両方の供給先を変更するようにしたが、異なる切り替えバルブによって各エアタンクに封入された空気の供給先を変更するようにしても良い。また、いずれか一方の空気の供給先のみを変更するようにしても良い。
例えば、第1のエアタンク22に封入された空気を操縦者に供給すべく供給先を変更する切り替えバルブを設ければ、第2のエアタンク24を備えない場合であっても、エンジンEの停止時や水中スクータ10の航行深度が浅くシュノーケル48から燃焼用空気が導入できるときは操縦者に呼吸用の空気を供給することができ、よって操縦者の快適性を向上させることができる。また、第2のエアタンク24に封入された空気を水密容器14(エンジンE)に供給すべく供給先を変更する切り替えバルブを設けておくことで、水中スクータ10の潜行可能時間(距離)を延長するという効果を得ることができる。この意図から、特許請求の範囲では、第1のエアタンクに封入された空気を操縦者に供給すべく供給先を変更する手段を「第1の空気供給先変更手段」と記載し、第2のエアタンクに封入された空気を水密容器の内部に供給すべく供給先を変更する手段を「第2の空気供給先変更手段」と記載した。
次いで、この発明の第2実施例に係る水中スクータについて説明する。図15は、第2実施例に係る水中スクータを示す図6と同様な断面図である。
以下、図15を参照して第1実施例との相違点に焦点をおいて説明すると、第2実施例にあっては、リコイルスタータ88のスタータグリップ92に第3のワンウェイチェックバルブ200を配置するように構成した。具体的には、スタータグリップ92に貫通孔92aを穿設し、かかる貫通孔92aに第3のワンウェイチェックバルブ200を配置するようにした。
第3のワンウェイチェックバルブ200は、第1実施例で述べた第2のワンウェイチェックバルブ96と同様に、シュノーケル48の内圧(別言すれば、シュノーケル48に連通された水密容器14の内圧)が所定の圧力を上回ったときに開弁し、シュノーケル48を外部(大気あるいは水中)に連通させる。即ち、エンジンEの発熱などによって水密容器14の内圧が上昇すると、水密容器14内の空気がシュノーケル48および第3のワンウェイチェックバルブ200を介して水中スクータ10の上方(外部)へと排出され、よって水密容器14の内圧が調整(減圧)される。
このように、第2実施例に係る水中スクータ10にあっては、シュノーケル48の開口部を封止するスタータグリップ92に、水密容器14の内圧が所定の圧力を上回ったときに開弁して水密容器14を外部に連通させる第3のワンウェイチェックバルブ200を配置するようにしたので、水密容器14の内圧調整(減圧)が可能となる。
尚、残余の構成は第1実施例と同様であるので、説明は省略する。但し、スタータグリップ92に第3のワンウェイチェックバルブ200を配置した場合、第1実施例で述べたメインフレーム12の第5の通路12eと第2のワンウェイチェックバルブ96は省略しても良い。
以上の如く、この発明の第1および第2実施例にあっては、操縦者(OP)に操縦されて水上または水中を航行する水中スクータ(10)において、前記操縦者(OP)が騎乗すべきメインフレーム(12)と、前記メインフレーム(12)に配置された水密容器(14)と、前記水密容器(14)に収容された内燃機関(エンジンE)と、前記内燃機関(E)によって駆動されて回転して前記水中スクータ(10)を推進させるプロペラ(16)と、前記水密容器(14)の内部を大気に連通させるシュノーケル(48)と、前記水密容器(14)の内部に供給されるべき空気が封入された第1のエアタンク(22)とを備えると共に、前記シュノーケル(48)および前記第1のエアタンク(22)の少なくともいずれかから前記内燃機関(E)に燃焼用空気を供給するように構成した。
また、前記第1のエアタンク(22)に封入された空気を前記操縦者(OP)に供給すべく供給先を変更する第1の空気供給先変更手段(切り替えバルブ98)を備えるように構成した。
また、前記第1のエアタンク(22)が、前記メインフレーム(12)に前記水中スクータ(10)の進行方向においてスライド自在に装着されるように構成した。
また、前記第1のエアタンク(22)の空気残量を検出して表示する第1の空気残量表示手段(第1の圧力計50a)を備えるように構成した。
また、前記内燃機関(E)を始動するリコイルスタータ(88)を備えると共に、前記リコイルスタータのグリップ(スタータグリップ92)によって前記シュノーケル(48)の開口部を封止するように構成した。
また、第2実施例に係る水中スクータにあっては、前記リコイルスタータのグリップ(92)に、前記水密容器(14)の内圧が所定の圧力を上回ったときに開弁して前記水密容器(14)を外部に連通させるワンウェイチェックバルブ(第3のワンウェイチェックバルブ200)を配置するように構成した。
また、第1および第2の実施例に係る水中スクータにあっては、前記操縦者(OP)に供給されるべき空気が封入された第2のエアタンク(24)を備えるように構成した。
また、前記第2のエアタンク(24)に封入された空気を前記水密容器(14)の内部に供給すべく供給先を変更する第2の空気供給先変更手段(切り替えバルブ98)を備えるように構成した。
また、前記第2のエアタンク(24)が、前記メインフレーム(12)に前記水中スクータ(10)の進行方向においてスライド自在に装着されるように構成した。
また、前記第2のエアタンク(24)の空気残量を検出して表示する第2の空気残量表示手段(第2の圧力計50b)を備えるように構成した。
尚、上記において、シュノーケル48とマウスピース76を接続し、水中スクータ10が水上を航行するときは操縦者の呼吸用空気を外部から導入するようにしても良い。このとき、第2のエアタンク24に接続されたバルブ42を閉弁し、第2のエアタンク24からの空気の供給を停止することで、同様に封入された空気の消費量を低減することができる。
この発明の第1実施例に係る水中スクータの平面図である。 図1に示す水中スクータの左側面図である。 図1に示す水中スクータの正面図である。 図1のIV−IV線拡大断面図である。 図1に示す計器盤の拡大図である。 図1のVI−VI線拡大断面図である。 図2のVII−VII線拡大断面図である。 図6のVIII−VIII線拡大断面図である。 図6などに示すシュノーケルの上端付近の拡大図である。 図9のX−X線断面図である。 図1のXI−XI線拡大断面図である。 図1に示す水中スクータと、それに騎乗した操縦者を示す左側面図である。 同様に、図1に示す水中スクータと、それに騎乗した操縦者を示す左側面図である。 同様に、図1に示す水中スクータと、それに騎乗した操縦者を示す左側面図である。 この発明の第2実施例に係る水中スクータを示す、図6と同様な断面図である。
符号の説明
10 水中スクータ
12 メインフレーム
14 水密容器
16 プロペラ
22 第1のエアタンク
24 第2のエアタンク
50a 第1の圧力計(第1の空気残量表示手段)
50b 第2の圧力計(第2の空気残量表示手段)
88 リコイルスタータ
92 スタータグリップ
98 切り替えバルブ(第1および第2の空気供給先変更手段)
200 第3のワンウェイチェックバルブ
E エンジン(内燃機関)

Claims (10)

  1. 操縦者に操縦されて水上または水中を航行する水中スクータにおいて、前記操縦者が騎乗すべきメインフレームと、前記メインフレームに配置された水密容器と、前記水密容器に収容された内燃機関と、前記内燃機関によって駆動されて回転して前記水中スクータを推進させるプロペラと、前記水密容器の内部を大気に連通させるシュノーケルと、前記水密容器の内部に供給されるべき空気が封入された第1のエアタンクとを備えると共に、前記シュノーケルおよび前記第1のエアタンクの少なくともいずれかから前記内燃機関に燃焼用空気を供給することを特徴とする水中スクータ。
  2. 前記第1のエアタンクに封入された空気を前記操縦者に供給すべく供給先を変更する第1の空気供給先変更手段を備えることを特徴とする請求項1記載の水中スクータ。
  3. 前記第1のエアタンクが、前記メインフレームに前記水中スクータの進行方向においてスライド自在に装着されることを特徴とする請求項1または2記載の水中スクータ。
  4. 前記第1のエアタンクの空気残量を検出して表示する第1の空気残量表示手段を備えることを特徴とする請求項1から3のいずれかに記載の水中スクータ。
  5. 前記内燃機関を始動するリコイルスタータを備えると共に、前記リコイルスタータのグリップによって前記シュノーケルの開口部を封止することを特徴とする請求項1から4のいずれかに記載の水中スクータ。
  6. 前記リコイルスタータのグリップに、前記水密容器の内圧が所定の圧力を上回ったときに開弁して前記水密容器を外部に連通させるワンウェイチェックバルブを配置したことを特徴とする請求項1から5のいずれかに記載の水中スクータ。
  7. 前記操縦者に供給されるべき空気が封入された第2のエアタンクを備えることを特徴とする請求項1から6のいずれかに記載の水中スクータ。
  8. 前記第2のエアタンクに封入された空気を前記水密容器の内部に供給すべく供給先を変更する第2の空気供給先変更手段を備えることを特徴とする請求項7記載の水中スクータ。
  9. 前記第2のエアタンクが、前記メインフレームに前記水中スクータの進行方向においてスライド自在に装着されることを特徴とする請求項7または8記載の水中スクータ。
  10. 前記第2のエアタンクの空気残量を検出して表示する第2の空気残量表示手段を備えることを特徴とする請求項7から9のいずれかに記載の水中スクータ。
JP2004116152A 2004-04-09 2004-04-09 水中スクータ Withdrawn JP2005297738A (ja)

Priority Applications (2)

Application Number Priority Date Filing Date Title
JP2004116152A JP2005297738A (ja) 2004-04-09 2004-04-09 水中スクータ
US11/102,163 US7011035B2 (en) 2004-04-09 2005-04-08 Underwater scooter

Applications Claiming Priority (1)

Application Number Priority Date Filing Date Title
JP2004116152A JP2005297738A (ja) 2004-04-09 2004-04-09 水中スクータ

Publications (1)

Publication Number Publication Date
JP2005297738A true JP2005297738A (ja) 2005-10-27

Family

ID=35329812

Family Applications (1)

Application Number Title Priority Date Filing Date
JP2004116152A Withdrawn JP2005297738A (ja) 2004-04-09 2004-04-09 水中スクータ

Country Status (1)

Country Link
JP (1) JP2005297738A (ja)

Cited By (3)

* Cited by examiner, † Cited by third party
Publication number Priority date Publication date Assignee Title
KR101219625B1 (ko) * 2010-10-04 2013-01-08 박태규 수중 스쿠터
KR20180067969A (ko) * 2016-12-13 2018-06-21 (주)보고 다이버 추진기
KR101908968B1 (ko) * 2017-04-12 2018-10-17 기술융합협동조합 레저 보트

Cited By (4)

* Cited by examiner, † Cited by third party
Publication number Priority date Publication date Assignee Title
KR101219625B1 (ko) * 2010-10-04 2013-01-08 박태규 수중 스쿠터
KR20180067969A (ko) * 2016-12-13 2018-06-21 (주)보고 다이버 추진기
KR102001490B1 (ko) * 2016-12-13 2019-07-18 (주)보고 다이버 추진기
KR101908968B1 (ko) * 2017-04-12 2018-10-17 기술융합협동조합 레저 보트

Similar Documents

Publication Publication Date Title
JP4219848B2 (ja) 水中スクータ
US3890920A (en) Controls for aquatic towing craft
US5433164A (en) Submersible vessel
US5429533A (en) Control for watercraft
FR2617793A1 (fr) Planche a moteur
JP2005297738A (ja) 水中スクータ
JP4219845B2 (ja) 水中スクータ
JP4219847B2 (ja) 水中スクータ
US7597600B2 (en) Engine for driving a watercraft propelled by a water jet
JP4219849B2 (ja) 水中スクータ
JP3952234B2 (ja) 船艇用内燃機関の潤滑油冷却装置
JP4219846B2 (ja) 水中スクータ
JP2005297739A (ja) 水中スクータ
JP2005297745A (ja) 水中スクータ
US7011035B2 (en) Underwater scooter
US7096815B2 (en) Underwater scooter
KR101219625B1 (ko) 수중 스쿠터
JP2005297740A (ja) 水中スクータ
EP0651712B1 (en) A submersible vessel
JP2005297744A (ja) 水中スクータ
JPH0657555B2 (ja) 小型水上乗物
JP2005297746A (ja) 水中スクータ
JP4282433B2 (ja) 小型ジェット推進艇
JP3667711B2 (ja) 水面上・直下走行体
JP3904660B2 (ja) 鞍乗り式小型船舶

Legal Events

Date Code Title Description
A300 Application deemed to be withdrawn because no request for examination was validly filed

Free format text: JAPANESE INTERMEDIATE CODE: A300

Effective date: 20070703