JP2005296750A - 塗布機 - Google Patents

塗布機 Download PDF

Info

Publication number
JP2005296750A
JP2005296750A JP2004114307A JP2004114307A JP2005296750A JP 2005296750 A JP2005296750 A JP 2005296750A JP 2004114307 A JP2004114307 A JP 2004114307A JP 2004114307 A JP2004114307 A JP 2004114307A JP 2005296750 A JP2005296750 A JP 2005296750A
Authority
JP
Japan
Prior art keywords
coating material
bag
paint
coating
hydraulic fluid
Prior art date
Legal status (The legal status is an assumption and is not a legal conclusion. Google has not performed a legal analysis and makes no representation as to the accuracy of the status listed.)
Granted
Application number
JP2004114307A
Other languages
English (en)
Other versions
JP4462987B2 (ja
Inventor
Takao Ueno
野 隆 夫 上
Takao Nomura
村 孝 夫 野
Current Assignee (The listed assignees may be inaccurate. Google has not performed a legal analysis and makes no representation or warranty as to the accuracy of the list.)
Trinity Industrial Corp
Original Assignee
Trinity Industrial Corp
Priority date (The priority date is an assumption and is not a legal conclusion. Google has not performed a legal analysis and makes no representation as to the accuracy of the date listed.)
Filing date
Publication date
Application filed by Trinity Industrial Corp filed Critical Trinity Industrial Corp
Priority to JP2004114307A priority Critical patent/JP4462987B2/ja
Priority to CNB2004100771458A priority patent/CN100408200C/zh
Priority to US10/938,508 priority patent/US7156045B2/en
Publication of JP2005296750A publication Critical patent/JP2005296750A/ja
Application granted granted Critical
Publication of JP4462987B2 publication Critical patent/JP4462987B2/ja
Anticipated expiration legal-status Critical
Expired - Fee Related legal-status Critical Current

Links

Images

Landscapes

  • Electrostatic Spraying Apparatus (AREA)
  • Details Or Accessories Of Spraying Plant Or Apparatus (AREA)

Abstract

【課題】
本発明は、小さな駆動力で確実に塗料その他の塗布材を圧し出すことができ、洗浄時に一々分解洗浄する面倒のない塗布機を提供する。
【解決手段】
塗布材霧化機構(3)を備えた塗布機(1)の機体(2)に、塗布材充填用の塗布材バッグ(9)と、作動液を流入させて膨らませることにより塗布材バッグ(9)に圧力を作用させて塗布材を圧し出す作動液バッグ(10)とを備えると共に、各バッグ(9、10)の接触面同士が位置ずれを起こさないように少なくともその一部が互いに拘束された塗布材圧出機構(P)が設けられ、作動液を作動液バッグ(10)に流入させることにより塗布材バッグ(9)の外側から圧力を作用させ、塗布材バッグ(9)を圧し潰しながら塗料を圧し出すようにした。
【選択図】図1

Description

本発明は、予め充填された塗布材を霧化機構に対して圧し出す塗布材圧出機構を備えた塗布機に関し、特に水性塗料などの導電性塗料を静電霧化する静電塗装機に適用して好適なものである。
自動車ボディの塗装では、有機溶剤を使用した塗料が主流であるが、環境保護及び公害防止の観点から、塗装工程において大量に発生する揮発性有機溶剤を削減することが要請されており、その対策として、水性塗料による塗装が注目を集めている。
水性塗料を無駄なく使用するためには、塗着効率の高い静電塗装装置で塗装するのが好ましいが、水性塗料は電気抵抗が低く、塗料供給系を流れる塗料を介して静電塗装機の回転霧化頭とアース側が導通しやすいため、塗料供給系全体に絶縁対策を施して、回転霧化頭に印加される−60〜90kVの高電圧がリークするのを防止しなければならない。
このため、従来は塗装機内に形成した塗料タンクに塗料を充填したり、塗装機に対して着脱可能に装着されるカートリッジに塗料を充填し、この塗料タンクやカートリッジから塗料を圧し出して塗装することにより、塗料供給系を電気的に遮断して、塗装機に高電圧を印加してもリークしないようにしている。
特開平2000−317354号公報
このような形式の静電塗装機は、通常、シリンダとなる塗料タンクやカートリッジの内周面に沿ってピストンとなる底板が摺動可能に配され、その底板を他のアクチュエータや液圧により圧し込んで塗料を圧し出すようにしている。
しかしながら、この場合、底板と内周面のシールを確実に行わなければならないため、その分摩擦が大きくなって大きな駆動力を必要とし、
底板が往復動するたびに、シールが擦れて摩耗するため、液圧駆動の場合にはその作動駅が流入して塗装品質に悪影響を及ぼすおそれがある。
また、通常のシールは、ピストンとなる底板の外周面に複数のOリングを平行に配する構成となっているため、そのOリングとOリングの間に塗料が入り込んでしまい、一日の作業が終了して洗浄するときには、底板を取り外して分解洗浄しなければならないという面倒があった。
そこで本発明は、底板を摺動させることなく小さな駆動力で確実に塗料その他の塗布材を圧し出すことができ、底板を外して分解洗浄する面倒のない塗布材充填式の塗装機を提供することを技術的課題としている。
この課題を解決するために、請求項1の発明は、予め充填された塗布材を霧化機構に対して圧し出す塗布材圧出機構を備えた塗布機において、前記塗布材圧出機構は、所定容積の塗布材圧出室に、塗布材充填用の塗布材バッグと、作動液を流入させて膨らませることにより前記塗布材バッグに圧力を作用させて塗布材を圧し出す作動液バッグが設けられ、前記塗布材バッグと作動液バッグはその接触面同士が位置ずれを起こさないように少なくともその一部が互いに拘束されていることを特徴とする。
請求項2の塗布機は、請求項1の塗布材バッグと作動液バッグの隙間が、作動液バッグの圧力を塗布材バッグに伝達する圧力伝達液で満たされている。
請求項3の塗布機は、請求項1の塗布材圧出室の内側が円筒内周面に形成されている。
請求項4の塗布機は、塗布材として水性塗料などの導電性塗料が用いられ、その塗料を霧化して被塗物と反対極に帯電させる静電霧化機構が用いられている。
請求項1に係る塗布機は、塗布材圧出室が塗布材バッグ及び作動液バッグで仕切られており、予め塗布材バッグに塗料などの塗布材を充填させた状態で、作動液バッグに作動液を例えば定量で流入させると、その液圧により作動液バッグが膨んで塗布材バッグが圧し潰され、塗布材が定量で圧し出されて霧化機構へ供給される。
このように、作動液を供給することにより塗布材バッグが圧し潰されて塗布材が圧し出されるので、作動液の圧力がそのまま塗布材に作用し、比較的小さな駆動力で塗布材を霧化機構へ供給することができるという効果がある。
また、ピストンとなる底板を使用しないので、底板と塗布材圧出室との間の塗布材が入り込む隙間もなく洗浄も簡単に行うことができ、洗浄不良や底板のシール漏れに起因する塗装不良もないという効果がある。
さらに、使用中に、万一、作動液バッグが破れることがあっても、塗布材は塗布材バッグ内に充填されているので、塗布材圧出室内で塗布材と作動液が混合するおそれもない。
さらにまた、塗布材バッグと作動液バッグはその接触面同士が位置ずれを起こさないように少なくともその一部が互いに拘束されているので、塗布材の充填・吐出及び作動液の流入・流出を繰り返しながら、塗布材バッグ及び作動液バッグが交互に膨らんだり潰れたりする際に、互いの動きが拘束され、二つのバッグが一体となって変形する。
これにより、例えば塗布材バッグのみが塗布材圧出室の片隅に追いやられたり、それによって塗布材バッグのみが圧屈されたりすることなく、塗布材バッグと作動液バッグの接触面が一枚のダイアフラムのように塗布材圧出室内で往復移動するため、夫々のバッグが皺になったり破れたりし難いという効果がある。
請求項2の塗布機によれば、請求項1の塗布材バッグと作動液バッグの隙間が、作動液バッグの圧力を塗布材バッグに伝達する圧力伝達液で満たされているので、空気の隙間がなく、作動液の供給量と塗布材の吐出量が等しい。
請求項3の塗布機によれば、請求項1の塗布材圧出室の内側が円筒内周面に形成されているので、塗布材バッグ及び作動液バッグが塗布材圧出室に押し付けられても折り目がつくことがない。
請求項4の塗布機によれば、塗布材として水性塗料などの導電性塗料を静電霧化機構により静電霧化する場合に、塗料は塗布材バッグに充填されているので、導電性塗料を介して外部に高電圧がリークすることもなく、塗料供給系に絶縁対策を施す必要がない。
本発明は、小さな駆動力で確実に塗料その他の塗布材を圧し出すことができ、分解洗浄しなくても洗浄できるようにするという目的を、ピストンとなる底板を無くすことにより実現した。
以下、本発明に係る塗布機を図面に基づいて具体的に説明する。
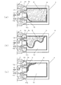
図1は本発明に係る塗布機の一例を示す断面図、図2は塗料圧出機構の動作を示す説明図、図3はその比較例、図4は他の実施形態を示す説明図である。
図1に示す静電塗装機(塗布機)1は、水性塗料などの導電性塗料(塗布材)の静電塗装を行うもので、機体2の先端側に塗料を回転霧化する回転霧化頭(霧化機構)3が配されると共に、その後端側には予め充填された塗料を作動液の液圧で圧し出して回転霧化頭3に供給する塗料(塗布材)圧出機構Pを有する円筒形のカートリッジ4が着脱可能に装着されている。
回転霧化頭3は、機体2内に配されたエアモータ5の管状回転軸6に取り付けられて高速回転駆動されると共に、高電圧発生機7から供給される高電圧が印加されて、霧化された塗料粒子を被塗物と反対極に帯電させるようになっている。
カートリッジ4は、円筒内周面で形成される塗料圧出室8の正面側が蓋体4Aに形成され、その蓋体4Aが機体2の後端側のジョイント11Aに接続されるジョイント11Bに形成されると共に、蓋体4Aに塗料(塗布材)バッグ9を接続する塗料流入流出ポート9aと、作動液バッグ10を接続する作動液流入流出ポート10aが形成されている。
各ポート9a、10aは、夫々のバッグ9及び10の口に形成された雄ネジと、蓋体4Aに形成された雌ネジに螺合する雌雄ソケットで形成されており、ポート内には機体2にに装着したときに開成されるストップバルブが形成されている。
また、塗料バッグ9と作動液バッグ10はその接触面同士が位置ずれを起こさないように少なくともその一部が互いに拘束されており、本例では、夫々のバッグ9及び10の両端側が溶着されているが、これに限らず、接合面の中央一箇所や複数箇所、また前面を接着するなどその態様は任意である。
なお、塗料圧出室8は、塗布材バッグ9と作動液バッグ10の隙間が圧力伝達液で満たされているので、空気の隙間がなく、作動液バッグ10に流入する作動液の圧力が正確に塗布材バッグ9に伝えられ、作動液の供給量と塗料の吐出量を等しくすることができる。
圧力伝達液としては、作動液やシンナーが用いられ、本例では、作動液と同じ酢酸ブチルが用いられている。
また、塗料は塗料バッグ9に充填されるので塗布材圧出室8内に付着することがなく、、洗浄しきれなかった塗料が塗料バッグ9内で硬化することがあっても、塗料バッグ9を交換すれば足り、メンテナンスが非常に簡単である。
機体2にカートリッジ4が装着されると、ジョイント11A、11Bが係合されて、機体2及びカートリッジ4の双方の流路が連通される。
機体2には、塗料バッグ9から圧し出される塗料を回転霧化頭3に送給する塗料供給流路12と、作動液バッグ10に対して作動液の供給/排出を行う作動液流路13が形成され、ジョイント11Aには、カートリッジ側のジョイント11Bと係合されたときのみ各流路12、13を開成されるストップバルブ付の接続ポート12a、13aが形成されている。
これにより、機体2の作動液流路13から作動液流入流出ポート10aを介して流入される作動液により作動液バッグ10が膨らみ、塗料バッグ9の外側から圧力が作用し、塗料圧出室8内の塗料バッグ9が押し潰されて、塗料流入流出ポート9aから塗料が圧し出され、塗料供給流路12を通って回転霧化頭3に供給される。
すなわち、カートリッジ4と機体2に形成された各流路12、13で塗料圧出機構Pが形成されることとなる。
また、塗料バッグ9及び作動液バッグ10の夫々を塗料圧出室8と略等しい大きさ及び容積のチューブ状に形成しておけば、作動液バッグ10に作動液が充満されたときは塗料バッグ9が概ね空になり、塗料バッグ9に作動液が充満されたときは作動液バッグ10が概ね空になる。
しかも、塗料圧出室8の内側が円筒内周面に形成されているので、塗料バッグ9及び作動液バッグ10が塗料圧出室8に押し付けられて折り目がつくことがない。
なお、21は塗装機1の内部及び回転霧化頭3を洗浄する洗浄流路であって、機体2の周面に形成された洗浄コネクタ接続ポート22から前記塗料供給流路12の接続ポート12aに連通され、ジョイント11A、11Bが非係合状態にあるとき、接続ポート12aを介して塗料供給流路12に連通するようになっている。
以上が本発明の一構成例であって、次にその作用について説明する。
静電塗装機1の機体2に各種オペレートエア配管、排気管、電源ケーブル(いずれも図示せず)を接続して、この静電塗装機1を塗装ロボット(図示せず)などのウィービングアームに取り付ける。
そして、塗料バッグ9に塗料を予め充填しておいたカートリッジ4を機体2に装着してジョイント11A及び11Bを係合させ、塗装機1を任意の塗装位置へ移動させると同時に、回転霧化頭3をエアモータ5により高速回転駆動させると共に、高電圧発生機7をオンして高電圧を印加させておく。
ここで、機体2側からカートリッジ4に作動液を定量供給すると、作動液バッグ10が膨んでその作動液バッグ10と塗料圧出室8の内壁の間で塗料バッグ9が圧し潰されるので、塗料は塗料供給流路13を通って定量供給されて、回転霧化頭3で静電霧化される。
この場合に、導電性塗料を用いても塗料は塗料バッグ9に充填されており、その導電性塗料を介して外部と電気的に接続されることがないので、高電圧がリークすることがなく、したがって、カートリッジ4に塗料を充填する塗料供給系(図示せず)に絶縁対策を施す必要がない。
本例によれば、従来のように塗料タンクやカートリッジの底板を摺動させて塗料を圧しだすのではなく、作動液を作動液バッグ10に流入させることにより塗料バッグ9を圧し潰して塗料を圧し出すことができるので、作動液の圧力がそのまま塗料に作用し、比較的小さな駆動力で塗料を圧し出すことができるという効果がある。
また、塗料が塗料バッグ9内に充填されて作動液とは完全に分離されているので、互いが混合するのを防止するシールを設ける必要がなく、また、シール漏れに起因する塗装不良が起こる筈もなく、さらには、塗料が入り込むような隙間も存在しないので洗浄も簡単に行うことができるという効果がある。
さらにまた、塗料バッグ9と作動液バッグ10はその接触面同士が位置ずれを起こさないように少なくともその一部が互いに拘束されているので、塗料の充填・吐出及び作動液の流入・流出を繰り返しながら、塗料バッグ9及び作動液バッグ10が交互に膨らんだり潰れたりする際に、互いの動きが拘束され、二つのバッグ9及び10が一体となって変形する。
すなわち、本発明のような拘束がない場合、図3(a)〜(c)に示すように、塗料の充填・吐出及び作動液の流入・流出を繰り返しながら、塗料バッグ9及び作動液バッグ10が交互に膨らんだり潰れたりする際に、塗料バッグ9のみが塗料圧出室8の片隅に追いやられたり、それによって塗料バッグ9のみが圧屈されて、夫々のバッグが皺になったり破れたりし易いという問題が残る。
しかし本発明のように、塗料バッグ9と作動液バッグ10の少なくともその一部を互いに拘束しておけば、図2(a)〜(c)に示すように、塗料バッグ9と作動液バッグ10の接触面が一枚のダイアフラムDのように塗料圧出室8内で往復移動するため、夫々のバッグが皺になったり破れたりし難いという効果がある。
また、このとき、万一、作動液バッグが破れることがあっても、塗布材は塗布材バッグ内に充填されているので、塗布材圧出室内で塗布材と作動液が混合するおそれもない。
なお、本例では、塗料バッグ9と作動流体バッグ10の口を同じ方向に向けて配する場合について説明したが、カートリッジ4の構造によっては夫々のバッグ9及び10の口が反対向きになるように配することも可能である。
また、各バッグ9及び10の接触面を拘束する場合に、接着や溶着する場合に限らず、バッグ同士を互いに係合させることにより拘束してもよい。
図4はその一例を示し、本例では、塗料バッグ31及び作動液バッグ32として、チューブ33の先端側に口34を形成し、その底面シール部35が、他方のバッグの口34を挿し込む係合孔36を有する折曲片となっている。
これによれば、夫々のバッグ31及び32のシール部35を折り曲げて、互いの口34、34を他方の係合孔36、36に挿し込むことにより、互いの接触面37同士が拘束される。
以上述べたように、本発明は、導電性塗料の静電塗装機に用いて非常に有益である。
本発明に係る塗布機の一例を示す断面図。 塗料圧出機構の動作を示す説明図。 その比較例。 他の実施形態を示す説明図。
符号の説明
1 静電塗装機(塗布機)
2 機体
3 回転霧化頭(霧化機構)
P 塗料(塗布材)圧出機構
4 カートリッジ
5 エアモータ
6 管状回転軸
7 高電圧発生機
8 塗料(塗布材)圧出室
9 塗料(塗布材)バッグ
10 作動液バッグ

Claims (4)

  1. 予め充填された塗布材を霧化機構に対して圧し出す塗布材圧出機構を備えた塗布機において、前記塗布材圧出機構は、所定容積の塗布材圧出室に、塗布材充填用の塗布材バッグと、作動液を流入させて膨らませることにより前記塗布材バッグに圧力を作用させて塗布材を圧し出す作動液バッグが設けられ、前記塗布材バッグと作動液バッグはその接触面同士が位置ずれを起こさないように少なくともその一部が互いに拘束されていることを特徴とする塗布機。
  2. 前記塗布材圧出室に配された塗布材バッグと作動液バッグの隙間が、作動液バッグの圧力を塗布材バッグに伝達する圧力伝達液で満たされている請求項1記載の塗布機。
  3. 前記塗布材圧出室の内側が円筒内周面に形成されてなる請求項1記載の塗布機。
  4. 前記塗布材として水性塗料などの導電性塗料が用いられ、前記霧化機構がその塗料を霧化して被塗物と反対極に帯電させる静電霧化機構である請求項1乃至3記載の塗布機。
JP2004114307A 2003-09-12 2004-04-08 塗布機 Expired - Fee Related JP4462987B2 (ja)

Priority Applications (3)

Application Number Priority Date Filing Date Title
JP2004114307A JP4462987B2 (ja) 2004-04-08 2004-04-08 塗布機
CNB2004100771458A CN100408200C (zh) 2003-09-12 2004-09-10 涂敷机
US10/938,508 US7156045B2 (en) 2003-09-12 2004-09-13 Coating machine

Applications Claiming Priority (1)

Application Number Priority Date Filing Date Title
JP2004114307A JP4462987B2 (ja) 2004-04-08 2004-04-08 塗布機

Publications (2)

Publication Number Publication Date
JP2005296750A true JP2005296750A (ja) 2005-10-27
JP4462987B2 JP4462987B2 (ja) 2010-05-12

Family

ID=35328948

Family Applications (1)

Application Number Title Priority Date Filing Date
JP2004114307A Expired - Fee Related JP4462987B2 (ja) 2003-09-12 2004-04-08 塗布機

Country Status (1)

Country Link
JP (1) JP4462987B2 (ja)

Cited By (8)

* Cited by examiner, † Cited by third party
Publication number Priority date Publication date Assignee Title
JP2006187732A (ja) * 2005-01-06 2006-07-20 Toyota Motor Corp カートリッジタンクおよび塗装機
JP2008018396A (ja) * 2006-07-14 2008-01-31 Trinity Ind Corp 塗料カートリッジ
WO2009069435A1 (ja) 2007-11-29 2009-06-04 Ransburg Industrial Finishing K.K. 塗装ロボット及び塗料カートリッジ
JP5074420B2 (ja) * 2006-12-04 2012-11-14 Abb株式会社 塗装用カートリッジ
JP5292475B2 (ja) * 2009-12-08 2013-09-18 Abb株式会社 塗装用カートリッジ
JP2018047394A (ja) * 2016-09-20 2018-03-29 東メンシステム株式会社 塗装システム
CN111167637A (zh) * 2018-11-13 2020-05-19 田洼工程株式会社 涂装用喷枪装置
KR20200062013A (ko) 2018-11-26 2020-06-03 타쿠보 엔지니어링 가부시키가이샤 도료 충전 유닛 및 그것을 구비한 도료 충전 장치

Citations (4)

* Cited by examiner, † Cited by third party
Publication number Priority date Publication date Assignee Title
JPS5426116U (ja) * 1977-07-26 1979-02-20
JP3029960U (ja) * 1995-01-24 1996-10-18 伊藤工機株式会社 バッグ・イン・ボックス及び流動性内容物供給装置
JPH0941U (ja) * 1996-04-11 1997-01-21 トリニティ工業株式会社 塗装用膜ポンプ
JP2002011396A (ja) * 2000-04-25 2002-01-15 Abb Kk カートリッジ式塗装システム

Patent Citations (4)

* Cited by examiner, † Cited by third party
Publication number Priority date Publication date Assignee Title
JPS5426116U (ja) * 1977-07-26 1979-02-20
JP3029960U (ja) * 1995-01-24 1996-10-18 伊藤工機株式会社 バッグ・イン・ボックス及び流動性内容物供給装置
JPH0941U (ja) * 1996-04-11 1997-01-21 トリニティ工業株式会社 塗装用膜ポンプ
JP2002011396A (ja) * 2000-04-25 2002-01-15 Abb Kk カートリッジ式塗装システム

Cited By (12)

* Cited by examiner, † Cited by third party
Publication number Priority date Publication date Assignee Title
JP2006187732A (ja) * 2005-01-06 2006-07-20 Toyota Motor Corp カートリッジタンクおよび塗装機
JP2008018396A (ja) * 2006-07-14 2008-01-31 Trinity Ind Corp 塗料カートリッジ
JP5074420B2 (ja) * 2006-12-04 2012-11-14 Abb株式会社 塗装用カートリッジ
WO2009069435A1 (ja) 2007-11-29 2009-06-04 Ransburg Industrial Finishing K.K. 塗装ロボット及び塗料カートリッジ
JPWO2009069435A1 (ja) * 2007-11-29 2011-04-07 ランズバーグ・インダストリー株式会社 塗装ロボット及び塗料カートリッジ
US8225740B2 (en) 2007-11-29 2012-07-24 Ransburg Industrial Finishing K.K. Paint robot and paint cartridge
JP5292475B2 (ja) * 2009-12-08 2013-09-18 Abb株式会社 塗装用カートリッジ
JP2018047394A (ja) * 2016-09-20 2018-03-29 東メンシステム株式会社 塗装システム
CN111167637A (zh) * 2018-11-13 2020-05-19 田洼工程株式会社 涂装用喷枪装置
KR20200055641A (ko) 2018-11-13 2020-05-21 타쿠보 엔지니어링 가부시키가이샤 도장용 스프레이 건 장치
CN111167637B (zh) * 2018-11-13 2022-04-29 田洼工程株式会社 涂装用喷枪装置
KR20200062013A (ko) 2018-11-26 2020-06-03 타쿠보 엔지니어링 가부시키가이샤 도료 충전 유닛 및 그것을 구비한 도료 충전 장치

Also Published As

Publication number Publication date
JP4462987B2 (ja) 2010-05-12

Similar Documents

Publication Publication Date Title
JP4462880B2 (ja) 塗布機
US7156045B2 (en) Coating machine
US9630403B2 (en) Multichannel-printhead with mixing capability
EP2442983B1 (en) Multichannel - printhead or dosing head
RU2429919C2 (ru) Устройство для нанесения покрытия
JP4462987B2 (ja) 塗布機
EP1666157B1 (en) Electrostatic coating machine and method of cleaning the same
JPH09234397A (ja) 静電塗装機
JP4709585B2 (ja) 塗布材充填方法及び装置
JP2006341199A (ja) 塗布機
JP5037973B2 (ja) 塗装機
JP4749141B2 (ja) 塗装システム
JPH0941U (ja) 塗装用膜ポンプ
JP6293626B2 (ja) 塗装方法及び塗装装置
JP2008212869A (ja) 塗料充填装置
CN111167637B (zh) 涂装用喷枪装置
JP6281910B2 (ja) 塗装方法及び塗装装置
JP2008023456A (ja) 塗装システムとそれに使用する塗装用作動液
JP2018047394A (ja) 塗装システム
CN111215263B (zh) 涂料填充单元以及具备该涂料填充单元的涂料填充装置
JPH09150079A (ja) 静電塗装機
HK40024934A (en) Paint filling unit and paint filling device having the same
HK40024934B (en) Paint filling unit and paint filling device having the same
JP2007260585A (ja) 塗料充填型塗装機及び塗料充填装置
HK40020237A (en) Paint spray gun device

Legal Events

Date Code Title Description
A621 Written request for application examination

Free format text: JAPANESE INTERMEDIATE CODE: A621

Effective date: 20070402

A977 Report on retrieval

Free format text: JAPANESE INTERMEDIATE CODE: A971007

Effective date: 20090514

A131 Notification of reasons for refusal

Free format text: JAPANESE INTERMEDIATE CODE: A131

Effective date: 20090519

A521 Request for written amendment filed

Free format text: JAPANESE INTERMEDIATE CODE: A523

Effective date: 20090717

TRDD Decision of grant or rejection written
A01 Written decision to grant a patent or to grant a registration (utility model)

Free format text: JAPANESE INTERMEDIATE CODE: A01

Effective date: 20100119

A01 Written decision to grant a patent or to grant a registration (utility model)

Free format text: JAPANESE INTERMEDIATE CODE: A01

A61 First payment of annual fees (during grant procedure)

Free format text: JAPANESE INTERMEDIATE CODE: A61

Effective date: 20100216

FPAY Renewal fee payment (event date is renewal date of database)

Free format text: PAYMENT UNTIL: 20130226

Year of fee payment: 3

R150 Certificate of patent or registration of utility model

Ref document number: 4462987

Country of ref document: JP

Free format text: JAPANESE INTERMEDIATE CODE: R150

Free format text: JAPANESE INTERMEDIATE CODE: R150

FPAY Renewal fee payment (event date is renewal date of database)

Free format text: PAYMENT UNTIL: 20130226

Year of fee payment: 3

FPAY Renewal fee payment (event date is renewal date of database)

Free format text: PAYMENT UNTIL: 20140226

Year of fee payment: 4

R250 Receipt of annual fees

Free format text: JAPANESE INTERMEDIATE CODE: R250

S531 Written request for registration of change of domicile

Free format text: JAPANESE INTERMEDIATE CODE: R313531

R250 Receipt of annual fees

Free format text: JAPANESE INTERMEDIATE CODE: R250

R350 Written notification of registration of transfer

Free format text: JAPANESE INTERMEDIATE CODE: R350

R250 Receipt of annual fees

Free format text: JAPANESE INTERMEDIATE CODE: R250

R250 Receipt of annual fees

Free format text: JAPANESE INTERMEDIATE CODE: R250

R250 Receipt of annual fees

Free format text: JAPANESE INTERMEDIATE CODE: R250

R250 Receipt of annual fees

Free format text: JAPANESE INTERMEDIATE CODE: R250

R250 Receipt of annual fees

Free format text: JAPANESE INTERMEDIATE CODE: R250

R250 Receipt of annual fees

Free format text: JAPANESE INTERMEDIATE CODE: R250

R250 Receipt of annual fees

Free format text: JAPANESE INTERMEDIATE CODE: R250

LAPS Cancellation because of no payment of annual fees