JP2005296532A - 電気掃除機 - Google Patents

電気掃除機 Download PDF

Info

Publication number
JP2005296532A
JP2005296532A JP2004120989A JP2004120989A JP2005296532A JP 2005296532 A JP2005296532 A JP 2005296532A JP 2004120989 A JP2004120989 A JP 2004120989A JP 2004120989 A JP2004120989 A JP 2004120989A JP 2005296532 A JP2005296532 A JP 2005296532A
Authority
JP
Japan
Prior art keywords
dust
filter
case
button
vacuum cleaner
Prior art date
Legal status (The legal status is an assumption and is not a legal conclusion. Google has not performed a legal analysis and makes no representation as to the accuracy of the status listed.)
Pending
Application number
JP2004120989A
Other languages
English (en)
Inventor
Shoji Hayashi
正二 林
Koji Iwase
幸司 岩瀬
Hiroshi Odawara
博志 小田原
Kyoichi Sugano
恭一 菅野
Yoshio Niwase
好夫 庭瀬
Current Assignee (The listed assignees may be inaccurate. Google has not performed a legal analysis and makes no representation or warranty as to the accuracy of the list.)
Hitachi Global Life Solutions Inc
Original Assignee
Hitachi Home and Life Solutions Inc
Priority date (The priority date is an assumption and is not a legal conclusion. Google has not performed a legal analysis and makes no representation as to the accuracy of the date listed.)
Filing date
Publication date
Application filed by Hitachi Home and Life Solutions Inc filed Critical Hitachi Home and Life Solutions Inc
Priority to JP2004120989A priority Critical patent/JP2005296532A/ja
Publication of JP2005296532A publication Critical patent/JP2005296532A/ja
Pending legal-status Critical Current

Links

Images

Landscapes

  • Filters For Electric Vacuum Cleaners (AREA)

Abstract

【課題】
小型で取り扱い易いサイクロン分離式の集塵部を備えた電気掃除機を実現する。
【解決手段】
フィルター枠163の上方には、取っ手102付近に水平に動くボタン142が設け、このボタン142を押すことにより、係止部142aが押され、この係止部142aと、フィルター枠163に設けている係合部163aとが開放され、フィルター枠140とフィルター枠163が開放される構成とした。
【選択図】 図5

Description

本発明は、電気掃除機に関する。
一般的な電気掃除機は、吸口から吸い込んだ含塵空気を掃除機本体に導き、この掃除機本体内の集塵部を通して集塵し、塵埃が補足され清浄になった空気を掃除機本体外に排気する構成である。集塵部は、紙フィルタによる濾過によって塵埃を捕捉して集塵、または、サイクロン分離筒による遠心分離によって塵埃を捕捉して集塵する構成である。
サイクロン分離式電気掃除機の集塵部は、ホースからの塵埃を含んだ空気流を電動送風機側に誘導し、サイクロン分離筒による遠心分離によって塵埃を分離して、その下方にある集塵ケースに捕捉して集塵する構成である。そして、集塵ケースとサイクロン分離筒の蓋体を共用として、これを開放することにより、塵埃を捨てる。
ダストカップの外側面に設けたハンドル部のレバー操作部の操作で、底面部にて閉塞したダストカップの底面開口部が開閉可能に開口し、ダストカップ内に吸気風を通過させて、この吸気風とともに吸い込ませた塵埃をダストカップ内に集塵させる。ダストカップ内に塵埃が溜まった際に、レバーの操作部を操作して、ダストカップの底面開口部を開口させ、ダストカップ内に溜まった塵埃を取り除く。
特開2003−79546号公報
特開2003−79545号公報
一般家庭で使用する電気掃除機は、ゴミが良く吸えて、小型で取り扱い易いことが重要であり、集塵部の小型化と捕捉した塵埃廃棄操作の簡易化が必要である。
また、集塵ケース保持部の近傍に、この集塵ケースから塵埃を廃棄するための蓋体を開放するボタンを設ければ、使用者が集塵ケースを掃除機本体から取り出す際に、誤ってこのボタンを押した場合、前記蓋体が開いてゴミがこぼれてしまう。
また、集塵ケース保持部から離れた場所に、集塵ケースから塵埃を廃棄するための蓋体を開放するボタンを設けた場合、使用者がゴミ捨て時にこの蓋体を開放するのに、保持部を持ち替えたり、両手でゴミを廃棄する必要がある。さらに、両手がふさがっているため、集塵ケースを袋に入れ、この袋の中でゴミを廃棄することは困難である。
本発明の1つの目的は、小型で取り扱い易い集塵部を備えた電気掃除機を提案することにある。
本発明の更に他の目的は、掃除機本体から集塵ケースを取り出すときに、フタの開閉ボタンを押せない機構を備えるとともに、簡単にゴミを廃棄できる集塵部を備えた電気掃除機を提案することにある。
本発明は、掃除機本体内から着脱可能な集塵ケースと、この集塵ケースを前記掃除機本体から取り外す際に集塵ケースを保持するために設けた保持部と、該集塵ケースから塵埃を廃棄するために開閉する蓋体と、前記保持部の近傍に前記蓋体を開放するためのボタンを設けた電気掃除機で、前記集塵ケースを前記掃除機本体に装着したときに、前記ボタンが押せない位置に配置したことを特徴とする。
また、保持部を集塵ケースの上面に配置したことを特徴とする。
また、ボタンの移動方向が水平方向であることを特徴とする。
また、掃除機本体内から着脱可能な集塵ケースと、この集塵ケースを前記掃除機本体から取り外す際に集塵ケースを保持するために設けた保持部と、該集塵ケースから塵埃を廃棄するために開閉する蓋体と、前記保持部の近傍に前記蓋体を開放するためのボタンを設けた電気掃除機で、前記集塵ケースを前記掃除機本体に装着したときに、前記ボタンと該掃除機本体との間に人の指が入らないようにに前記集塵ケースを装着したことを特徴とする。
本発明は、集塵ケース保持部の近傍に、この集塵ケースから塵埃を廃棄するための蓋体を開放するボタンを設けていても、使用者が集塵ケースを掃除機本体から取り出す際に、誤ってこのボタンを押せないため、前記蓋体が開いてゴミがこぼれるのを防ぐことができる。
また、集塵ケース保持部と、集塵ケースから塵埃を廃棄するための蓋体を開放するボタンを近接して設けているので、使用者がゴミ捨て時にこの蓋体を開放するのに、保持部を持ち替えたり、ゴミを廃棄する際に両手で集塵ケースを持つ必要がなく、簡便にゴミを廃棄する事ができる。
また、集塵ケースの保持と、この集塵ケースから塵埃を廃棄するために蓋体を開放するボタンを操作するのを一方の手で行えるので、使用者がゴミ捨て時にこの蓋体を開放するのに、保持部を持ち替える必要はない。一方の手で集塵ケースを持ち、もう一方の手で袋を持ち、この袋の中で前記集塵ケースからゴミを廃棄することができるので、ゴミの廃棄を簡便に行うことができる。
以下本発明に係る実施例を図面を参照して説明する。
図1は、本発明の一実施の形態を示す電気掃除機の外観斜視図である。図2は、この掃除機本体の斜視図である。図3は、この掃除機本体の上蓋を開いた状態を示す斜視図である。図4は、この掃除機本体の上蓋を開いて、サイクロン分離筒と集塵ケースを取り外した状態を示す斜視図である。図5は、この掃除機本体の断側面図である。図6は、図5のA部拡大図である。図7は、この掃除機本体内の空気の流れを示す模式図である。図8はサイクロン分離筒104と集塵ケース105の外観斜視図である。図9はサイクロン分離筒104と集塵ケース105の縦断面図である。図10はサイクロン分離筒104と集塵ケース105の断面図である。図11はサイクロン分離筒104と集塵ケース105を排気側から見たときの側面図である。図12はボタン部の構成図である。
この実施の形態における電気掃除機は、図1に示すように、掃除機本体1とホース2と手元操作管3と伸縮継ぎ手管4と吸口5を備え、掃除機本体1と手元操作管3をホース2で接続し、この手元操作管3に伸縮継ぎ手管4を介して吸口5を接続して使用する。
掃除機本体1は、電動送風機(後述する)を内蔵し、この電動送風機の吸気力によって吸口5から吸気することによって該吸気流に乗せて塵埃を吸い込み、吸い込んだ含塵空気を伸縮継ぎ手管4と手元操作管3とホース2を介して掃除機本体1に吸い込ませ、サイクロン分離式の集塵部103で塵埃捕捉(集塵)した後に機外に排気する。
掃除機本体1は、図2から図5に示すように、下ケース101と上蓋102の間に、サイクロン分離筒104と一体となった集塵ケース105を着脱可能に縦置き装着し、下ケース101と上ケース150の間にフィルターケース113と、このフィルターケース113に取り付ける補助フィルター112と電動送風機107とコードリール110とを内蔵する。また、下ケース101は、この掃除機本体1を床面に走行させるための走行車輪208と案内車輪208bを備えている。さらに、上ケース150の上部にはハンドル207が転回可能に取り付けられており、掃除機本体1を持ち運ぶ事ができる。
上蓋102は、上ケース150の上側後部に転回可能に取り付けている。この上蓋102を閉じた状態において、サイクロン分離筒104の入口管115とホース接続口部116とが弾性体部材を介して気密状態に当接し、集塵ケース105とフィルター枠140とが気密状態に当接し、フィルター枠140とフィルター枠163とが気密状態に当接し、フィルター枠163と補助フィルター112が収納されるフィルターケース113との間が気密状態に当接している。さらに、このフィルターケース113と、電動送風機107が弾性体の防振ゴムを介して気密状態に当接している。また、サイクロン分離筒104の下部の排気口120と集塵ケース105の下部に設けた連絡通路145とが気密状態に当接している。ここで、サイクロン分離筒104の軸方向は鉛直方向を向いているが、鉛直方向でなく斜め方向に傾いたり、横方向を向いていてもかまわない。
この掃除機本体1は、図6に示すように、ホース2を介して含塵空気を入口管115より、サイクロン分離筒104に流し入れて、下側から上側に旋回させることにより遠心分離作用で塵埃を分離して、上部の連通口117から上部開口118を通して集塵ケース105に塵埃を搬送する。サイクロン分離筒104からの排気の一部は内筒131を通り、サイクロン分離筒104の下部に設けた排気口120から排気される。また、サイクロン分離筒104に流入した空気の一部は、集塵ケース105に流れ込み、第1のフィルター106によって塵埃を捕捉する。集塵ケース105の排気は第1のフィルター106の後方にある集塵ケース排気口144から、第2のフィルター161、補助フィルター112の順に通して電動送風機107に吸込ませる。この時サイクロン分離筒104からの排気は前記排気口120から連絡通路145、サイクロン部流出口146を介して、集塵ケース排気口144からの排気と合せて、第2のフィルター161、および、補助フィルター112を通して電動送風機107に吸込ませる。この電動送風機107からの排気はフィルター108を介して、一部は排気流路(図示せず)を介し、一部はコードリール(図示せず)に流してこれらを冷却し、その後に機外に放出される。
つまり、排気口120から流出する空気流の風量Aと、集塵ケース排気口144から流出する空気流の風量Bのサイクロン分離筒104で分流した空気流は、第2のフィルター161の上流側で合流し、この第2のフィルター161に流入する。そして、この空気流は第2のフィルター161で微細塵を集塵された後、電動送風機107に吸引される。
また、上蓋102を透明のプラスチック素材で製作しておけば、図2に示すように上蓋102を閉じた際、この上蓋102がサイクロン分離筒104や、集塵ケース105を覆う場合でも、塵埃のたまり具合は目視で確認することができる。
ここで、前記サイクロン分離筒104で遠心分離された塵埃が連通口117を通じてサイクロン分離筒104から流出する方向は、サイクロン分離筒104内での旋回方向で、かつ、サイクロン分離筒104の接線方向である。このため、本実施の形態では、サイクロン分離筒104の連通口117と、この連通口117と連通する集塵ケース105の上部開口118の両者を、前記集塵ケース105内の開閉する第1のフィルター106から最も離れた電気掃除機本体1の前面側(ホース接続口部116側)に配置することができる。ここで、サイクロン分離筒104で遠心分離された塵埃は、開閉する第1のフィルター106付近から堆積し、サイクロン分離筒104の連通口117と、この連通口117と連通する集塵ケース105の上部開口118側へと、順に堆積していくので、前記集塵ケース105に塵埃が充填されるまで、塵埃が前記連通口117と前記上部開口118を塞ぎにくい。つまり、前記集塵ケース105の容積を有効利用することができる。
ここで、サイクロン分離筒104と集塵ケース105の詳細について説明する。まず、塵埃の流れについて述べる。塵埃を含んだ空気は、サイクロン分離筒104の連通口117から集塵ケース105の上部に設けられた上部開口118より集塵ケース105に流入する。ここで、網フィルター106aで空気中の比較的大きな塵埃がせき止められ、網フィルター106aの手前から堆積していく。細かい塵埃は、第1のフィルター106で捕捉され、さらに細かい塵埃は第2のフィルター161で集塵される。第2のフィルター161を通過した塵埃は補助フィルター112に流れていく。
また、網フィルター133は、内筒131から流出する空気流にのった繊維塵や、紙などの塵埃が吹き抜けるのを防止するように機能する。この網フィルター133を通過したさらに細かい塵埃は、上記と同様に、第2のフィルター161で集塵され、第2のフィルター161を通過した塵埃は補助フィルター112に流れていく。
サイクロン分離筒104の外筒135には、空気取り入れ口である入口管115が、このサイクロン分離筒104の中心軸方向長さの中央より下部に設けられ、略円筒形をなすサイクロン分離筒104の略接線方向に空気が入るように設置されている。サイクロン分離筒104の中央より上部に連通口117が設けられ、集塵ケース105に塵埃とともに空気を流入させる。サイクロン分離筒104の下部には内筒131が設けられ、下部の排気口120につながっている。ここで、内筒131にネジなどで内筒キャップ152を取り付け、排気口120と連絡通路145間は弾性シール部材153を介し、外筒135と内筒131は弾性シール部材151を介して取り付ければ気密を取り易い。内筒131は筒部134と、この筒部134に螺旋状に巻き付いた隔壁132と、入口管115と前記筒部134を結ぶ案内壁137と、前記隔壁132の外周側に配置した外壁139で構成され、該隔壁132の最も高い部分の高さと、前記筒部134の高さを略等しくしている。ここでは、案内壁137の高さも前記筒部134の高さと略等しくしている。また、筒部134には網フィルター133として樹脂繊維性の網を筒部134と一体にインサート成形により構成している。網フィルター133は図8に示すように、筒部134の側面の円筒部分に構成してもよく、筒部134の側面の円筒部分と案内壁132とに構成してもかまわない。
ここで、前記内筒131の筒部134は、前記隔壁132の最も高い部分の高さと略等しく構成しているので、サイクロン分離筒104から空気を排出する内筒131の筒部134に毛髪や、犬や猫などのペットの毛、糸くずなどが巻き付くことを防ぐことができる。また、毛髪などの塵埃が内筒の131の筒部134に巻き付こうとしても、この筒部134に一周巻きつくことができず、これらの塵埃はサイクロン分離筒104内を上昇する旋回空気流により、上方へ移動し、集塵ケース105へと搬送される。このため、内筒134の排気口面積の減少を防げるので、掃除機の吸込み力が低下しにくい。さらに、毛髪などの長い塵埃がサイクロン分離筒104内にとどまらず、集塵室に搬送されることで、このサイクロン分離筒104内の気流の乱れを抑制できるので、掃除機の吸込み力が低下しにくくできる。
さらに、内筒131の筒部134に毛髪や、犬や猫などのペットの毛、糸くずなどが巻き付くことを防ぐことにより、メンテナンス性能を向上したサイクロン分離式の集塵部103を実現できる。なお、内筒131の構成を以上のようにすれば、サイクロン分離筒104の上から下に含塵空気を流入させた場合や、サイクロン分離筒104を横置きにし、旋回流の中心軸が略水平方向に配置した場合でも同様の効果が選られる。
ここで、サイクロン分離筒104の内部や、内筒131の網フィルターが汚れた場合は、上蓋102を上に開け、この状態で集塵ケース105の上部の取っ手123を持って、サイクロン分離筒104と集塵ケース105を取出す。この際、使用者が、取っ手123を保持した際に、この取っ手123を保持した使用者の指がボタン142の付近にあるが、この使用者の指は上ケース150や、前記上蓋102が邪魔になり、ボタン142を押すことができない。なお、本実施の形態では、前記上蓋102を上に開けた時に、上ケ−ス150とボタン142の隙間は5mmとしているが、子供が扱うことを考えるとこの隙間は6mm以下にするのが好ましい。このため、前記使用者は、掃除機本体1から集塵部103を構成する前記サイクロン分離筒104と全前記集塵ケース105を取出す際に、誤ってボタン142を押して、集塵ケース105から塵埃を廃棄するための蓋体であるフィルター枠140とフィルター枠163の両者を一緒に開いて、ゴミをまき散らす恐れはない。このため、電動送風機107が、この誤ってまき散らしたゴミを吸引することを防げるので故障を予防できる。
さらに、掃除機本体1から前記サイクロン分離筒104と全前記集塵ケース105を取出す際に、誤ってボタン142を押さないようにボタン142にカバーなどを設ける必要がないので部品点数を少なくすることができる。
また、前記サイクロン分離筒104と前記集塵ケース105を前記掃除機本体1から取出す方向は垂直方向で、ボタン142を押す方向は水平方向と異なった方向に動くように配置している。このため、使用者は同時に2方向に動く動作を行い難いので、前記サイクロン分離筒104と全前記集塵ケース105を前記掃除機本体1から取出す際に、誤ってボタン142を押して、集塵ケース105からフィルター枠140とフィルター枠163の両者を一緒に開いて、ゴミをまき散らしにくい。また、ゴミ捨て時には、ボタン142を押す動作をすれば、集塵ケース105からフィルター枠140とフィルター枠163の両者が一緒に開くので、使用者は手間がかからずに、ゴミ捨てすることが可能である。
また、取っ手123と、集塵ケース105から塵埃を廃棄するための蓋体であるフィルター枠140とフィルター枠163の両者を開放するボタンを近接して設けているので、使用者がゴミ捨て時にこの蓋体を開放するのに、保持部である取っ手123を持ち替えたり、ゴミを廃棄する際に両手で集塵部103を持つ必要がなく、簡便にゴミを廃棄する事ができる。
また、前記使用者は、集塵ケース105から塵埃を廃棄する際に、一方の手で集塵部103の取っ手123を持ち、この集塵部103を袋に入れて、集塵部103の取っ手123を持った手でボタン142を押すことができるので、この袋の中で前記集塵ケース105からゴミを廃棄することができるので、ゴミの廃棄を簡便に行うことができる。
ここで、前記使用者は、掃除機本体1から前記サイクロン分離筒104と全前記集塵ケース105を取出した後、前記ボタン142を押して、集塵ケース105からフィルター枠140とフィルター枠163の両者を一緒に開いて、集塵ケース105内の塵埃とポケット162内の塵埃を廃棄する。次に、サイクロン分離筒104から内筒キャップ152と一体になった内筒131を取り外し、清掃用ブラシを用いて清掃することができる。
また、網フィルター133にはゴミの色とは違った色、例えば、黄色に着色することにより、使用者は網フィルター133に塵埃が付着したことを目で確認できるので、網フィルター133に繊維塵とか粉塵などが付いて目詰まりしたことを早く見つけることができ、清掃を早期に行うことができる。
ここで、サイクロン分離筒104の内部に設けた内筒131の筒部134に、該内筒131の根元側から先端側へ螺旋状の隔壁132を設け、該隔壁132に略沿って外筒135と内筒131とを弾性シール部材151を介して気密を保つ構成としている。ここで、図9に示すように、外筒135と内筒131の気密は、図の上下方向に付勢することにより気密を保ちやすい。なお、案内壁137の上部付近と当接する部分では外筒135の一部が凹部となるが、この凹部の角部付近をR状にすれば外筒135の強度を確保できる。
なお、シール部材151とシール部材153は一体で構成することもでき、一体で構成した場合は成形を一度で行え、組立ての手間も省略できる。
なお、案内壁137の高さは、入口管115の高さよりも高くすれば、入口管115から流入した空気流れと、サイクロン分離筒104内を旋回した空気流れが、干渉や、混合しにくく、これらに付随する乱れを防ぐとともに、流入時の急拡大も防げ、損失を低減することができる。
集塵ケース105には、サイクロン分離筒104の連通口117に連通する上部開口118が設けられている。集塵ケース105の排気側には、フィルター枠140に取り付けられた第1のフィルター106が設けられている。フィルター枠140は下部に設けた開閉軸143を中心として回動するように設けられ、フィルター枠140が閉まったときには、集塵ケース105とフィルター枠140は気密状態を保って当接している。
第1のフィルター106の集塵性能は、フィルター材の能力で決定されるが、μmオーダーの塵埃までを分離できる能力を持たせると良い。ここで、第1のフィルター106は発泡性の洗える素材のプラスチックでできたスポンジ、あるいは、水洗いできる不織布、あるいは、水洗できる濾紙材などを用いるのが望ましい。また、発泡性のプラスチック材を用いると、塵埃中に含まれる細かい繊維塵などの通過を防止できるので、第2のフィルター161で取り除きにくい繊維塵が第2のフィルター161側に流入するのを防げるのでなお良い。
また、フィルター枠140には、網フィルター106aがインサート成形等で一体に設けられている。網フィルター106aの集塵性能は、網の目の細かさで決定されるが、集塵性能を高くしすぎると目詰まりも早くなり易いので、全体の集塵能力との兼ね合いで決定するのが望ましい。この網フィルター106aに帯電防止処理を施すと、該網フィルター106aに付着した塵埃が離れやすく、清掃用ブラシを用いて清掃すれば良く、清掃は容易である。さらに、該網フィルター106aに撥水処理などを施すと、水洗いした時の乾燥時間が短くてすむ。
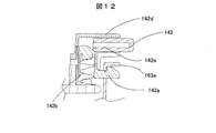
第1のフィルター106の下流側には、フィルター枠163が設けられ、フィルター枠140とフィルター枠163が閉まったときには、この両者は気密状態を保って当接している。フィルター枠163はフィルター枠140の下部に設けた開閉軸143中心として、フィルター枠140と同軸で回動するように設けられている。ここで、係止部142aは、バネ142bにより該係止部142aと係合部163aが係止するように付勢されているので、フィルター枠140とフィルター枠163は集塵ケース105側に気密状態を保つように係止している。なお、係止部142aと係合部163aの形状は、鉤とするとなおよい。
フィルター枠163の上方には、取っ手102付近にボタン142が設けられ、このボタン142を押すことにより、係止部142aが押され、この係止部142aと、フィルター枠163に設けている係合部163aとが開放され、フィルター枠140とフィルター枠163が開放されて、ゴミ捨てが可能となる。ここでは、集塵部103を構成するサイクロン分離筒104と集塵ケース105を掃除機本体1に装着したときに、上ケース150や、上蓋102が邪魔となってボタン142を押せないようにするため、該ボタン142は水平方向に動くように設けている。また、図6に示すように、ボタン142と係止部142aの当接面は45度程度に斜めに配置しているので、ボタン142が水平方向に移動した際、このボタン142に押されて係止部142aは垂直方向に動く様に動作する。なお、ボタン142と係止部142aはガイド142cにより、これらの当接面ががたついて動作不良を起こすのを防いでいる。さらに、ボタン142はボタンケース142dにより、移動方向をガイドされるとともに、リブなどにより、ボタンケース142dから脱落するのを防止している。さらに、係止部142aもボタンケース142dにより移動方向をガイドされている。
ここで、図12に示すように、ボタン142に水平方向のガイド142eを設けて、ボタン142の移動方向をガイドさせるとともに、このガイド142eによって、ボタン142がボタンケース142dから脱落するのを防ぐのを兼用することも可能である。
また、係止部142aの移動はボタン142による摩擦力を利用しているので、これらの部材には摩擦摩耗特性に優れ、長時間の摺動特性に優れたポリオキシメチレン(POM)を用いるのが好ましい。
なお、本実施の形態例では、開閉軸143が下にあり、フィルター枠140とフィルター枠163が、図中上部から開くことになるので、集塵ケース105を横に向けて塵埃を捨てるのが良い。
また、本実施の形態では、集塵部103はサイクロン分離式で構成し、サイクロン分離筒104と、集塵ケース105と、フィルター類などで構成したものを示したが、集塵部を集塵ケースと、フィルターと、開閉する蓋と、この蓋を開閉するためのボタンを有するものとで構成した集塵部にサイクロン分離筒を持たない形式のものでも、同様の構成が可能である。
フィルター枠163には第2のフィルター161が一体に成形されている。第2のフィルター161は、フィルター材をひだ折りに形成し、山折りの折り線方向は床面に略垂直方向としている。この第2のフィルター161には洗える不織布、洗えるろ紙材などを用いる。さらに、撥水処理を施すと水洗い時の乾燥時間を短くできるので、なお良い。また、第2のフィルター161には下流側の山の頂部にプラスチック製の補強部166が第2のフィルター161と一体に形成されている。なお、補強部166は山部全てに渡って設けているのではなく、除塵装置164の除塵ばね170が当たる部分の近くのみに設けている。これにより、除塵ばね170が与えた第2のフィルター161への振動が第2のフィルター161全体に伝わり易くなるので第2のフィルター161を除塵する能力を高くできる。また、補強部166を山部の一つの端まで、例えば、本実施の形態例では、下側の端まで伸ばせば、多少除塵能力が低下するがかまわない。また、第2のフィルター161下流側の山の頂部にプラスチック製の補強部166を設けているので、フィルターの有効面積の低下を抑えることができ、通気抵抗の増大を防止できる。
さらに、第2のフィルター161を清掃するときに清掃用ブラシ168を用いて第2のフィルター161をこすった場合、補強部166があるので、前記第2のフィルター161のフィルター材が図中左右方向に逃げないので、第2のフィルター161を除塵する能力を高めることができる。なお、第2のフィルター161に帯電防止処理を施すと、第2のフィルター161を除塵時に塵埃が剥離し易く、第2のフィルター161を除塵する能力を高めることができる。
第1のフィルター106は、フィルター枠140と第2のフィルター161とで挟み込まれ、なおかつ、フィルター枠140に設けたリブで固定されて設置されている。第1のフィルター106に塵埃が溜まってくると抵抗が増加し、第1のフィルター106は下流側へと力を受けるが、第2のフィルター161の山部で押さえられているので、流れ方向に局部的に圧縮されることもなく、第1のフィルター106の変形を防ぐことができる。このため、第1のフィルター106の目がつぶれることによる流れ抵抗の増加を抑制でき、吸込み力を維持しやすい。
また、第2のフィルター161には、内筒131を通じてサイクロン分離筒104の排気口120から流出した空気と、集塵ケース105の排気口144を流出した空気が合流して通過するようにしているので、この第2のフィルター161を各流路に区切る必要はない。つまり、この第2のフィルター161は、一つの除塵部で除塵を行う事ができる。
また、第2のフィルター161には、内筒131及び排気口120から流出した空気と、集塵ケース排気口144を流出した空気が合流して通過するようにしている。これにより、各流路毎に区画したフィルターを設けるよりも、1つの第2のフィルター161を用いる方が流路面積を大きくする事ができ、フィルターの目詰まりを遅らせる事ができる。さらに、集塵ケース105に吸引したゴミの量によって、排気口120から流出した空気の風量と、集塵ケース排気口144を流出した空気の風量の比は変化していく。第2のフィルター161は、フィルター材をひだ折りに形成し、山折りの折り線方向は床面に略垂直方向としているので、サイクロン部流出口144を流出した空気は、第2のフィルター161の山と山の間を通過しながらこの第2のフィルター161を通過する事ができる。さらに、これらの各風量が合流して混合してから1つの第2のフィルター161を通過するので、フィルターを通過する空気の流速は過大にならず、通気抵抗の増大や、フィルターの集塵率の低下を防げる。
また、フィルター枠163には、両端部をネジ2個所で設置された円弧状のガイド165を設けている。ここで、除塵装置164は、フィルター枠163の上部にある支点167に回動可能にネジ止めされ、下端部がガイド165に挟み込まれている。使用者は除塵装置164のほぼ中央部にある手持ち部を持ち、図14の左右方向に除塵装置164を動かすことによって、第2のフィルター161を除塵することができる。
第1のフィルター106の清掃は、フィルター枠140とフィルター枠163を開けて、フィルター枠140から第1のフィルター106を取り出して洗うなどして行うことができる。また、網フィルター106aに付着したゴミは、清掃用ブラシで網フィルター106aの表面をこすることや、水洗いすることにより清掃できる。第2のフィルター161の清掃は、フィルター枠140とフィルター枠163を開けた状態にして、集塵ケース105を含めて、清掃用ブラシを使って第2のフィルター161の表面をこすることや水洗いすることにより行えばよい。
なお、フィルター枠140とフィルター枠163とが同じ開閉軸143を中心として回動でき、かつ、それぞれを個別に外すことができなくすれば、フィルター枠140とフィルター枠163とを付け忘れて運転するのを防げる。
集塵ケース105は、壁105bにより塵埃収納部105aと連絡通路145に分けられ、この連絡通路145の下部にはポケット162を設けている。フィルター枠140は、塵埃収容部105aに面する部分に網フィルター106aを設け、壁105bと接合する部分は弾性シール部材により気密を保って当接するようになっており、塵埃収容部105aからサイクロン流出口146へゴミが流出するのを防いでいる。また、サイクロン分離筒104の排気口120と連絡通路145も弾性シール部材153を介し気密を保って当接している。
フィルター枠163の外周側には、フィルター枠163と一体となった弾性シール部172があり、電動送風機107の前に設けられた補助フィルター112を収納するフィルターケース113と気密を保って当接している。なお、集塵ケース105を掃除機本体1に収納したときに、弾性シール部172は垂直方向ではなく、上側が電動送風機107側に傾斜して設けている。このため、集塵ケース105を掃除機本体1に押し込むことで、気密が取れ易くなるとともに、掃除機本体1から集塵ケース105の着脱をし易くする。さらに、フィルター枠163の弾性シール部172はフィルター枠140とも気密も取れるので、シール部材の数を低減できるという効果も有る。
なお、集塵ケース105を掃除機本体1に収納したときに、弾性シール部140bは垂直方向ではなく、上側が電動送風機107側に傾斜して設けられている。このため、集塵ケース105を掃除機本体1に押し込むことで、気密が取れ易くなるとともに、掃除機本体1から集塵ケース105の着脱をし易くする。
補助フィルター112は、図14に示すように、フィルター材をひだ折りに形成し、山折りの折り線方向は床面に略平行方向としている。このように補助フィルター112を形成しているので、補助フィルター112で捕捉された塵埃が、下方に移行しにくいので、補助フィルター112の下部に塵埃が落ちることが少なくなり、掃除機本体1に塵埃が落ちることが少ないという効果も得られる。
補助フィルター112は集塵部103に付随する最後段のフィルターとなるので、サブμmまでの塵埃を高い確率をもって捕塵できることが望ましい。これを実現する方法として、フィルター材として帯電処理を施したものを用いる方法がある。あるいは、フィルター材として、サブμmの線径をもつ細い繊維で形成された目の細かい不織布を用いることによって、同様の捕塵性能を実現できる。この場合、目の細かい不織布の前後に、目が粗く、線径が大きく、剛性の高い不織布を補強材として溶着することにより、剛性が高く、サブμmまでの塵埃を捕塵できるフィルター材とすることができる。更にこれらを全て洗える材料で作れば、水洗いも可能になる。たとえば、ポリエステル系の材料とかPTFE(ポリテトラフルオロエチレン)などの材料を使っている。なお、この場合は帯電防止処理を行えば、補助フィルター112に付着した塵埃が剥離しやすく、清掃が容易にできる。
なお、補強材を厚くすると、着色あるいは、印刷により色をつけることもし易くなるので、補強材は前側を厚くしている。ここで、前側を厚くすると、この部分に貯えられる塵埃量を多くできるので、補助フィルター112の目詰まりを遅くできるという効果も得られる。なお、補助フィルター112の色はゴミと違った色にした方が良く、本実施の形態例の場合青色に着色している。このため、使用者は補助フィルター112の汚れを目視で確認でき、水洗いをするなどして、補助フィルター112のフィルターを除塵することにより、吸込み力を回復できる。
以上述べてきたフィルター材の塵埃の集塵性能は、より細かい塵埃を捕塵できる順に、補助フィルター112、第2のフィルター161、第1のフィルター106、網フィルター106aであり、これらは流れの下流側から順に並んでいる。このように構成することにより、それぞれのフィルターに到達する塵埃の総量(容積)が上流側から徐々に減少していくので、目詰まりし易いフィルターになればなるほど、受け持つ塵埃の量が少なくなるので、全体としての目詰まりを遅くできるという効果も得られる。
掃除機本体1内に入ってきた塵埃は、そのほとんどが集塵ケース105内に溜められるので、ごみ捨ては集塵ケース105を掃除機本体1からとり取り出して塵埃を廃棄すれば良い。ごみ捨ては集塵ケース105より塵埃があふれないうちに行うのが望ましい。このため、集塵ケース105には、図7に示すように上部開口118付近の位置にごみ捨てライン155を設けておき、使用者がこれを参考にごみ捨てを行えるようにしている。ごみ捨てライン155は、水平あるいは鉛直を向いているのではなく、集塵ケース105内にごみが溜まっていく時には、上部開口118に近接した部分が最後にごみで埋まるので、ごみのたまり具合から曲線や、くの字が傾いた形状に設定している。
なお、本実施の形態では、掃除機本体1内の空気の流れを図7に示すように2つの経路に分けているので、集塵ケース105内の塵埃には空気の流れ方向に圧力差を生じ、この圧力差によって塵埃が常時圧縮される。この圧力差は、溜められた塵埃が多くなるほど大きくなるので、塵埃が多くなればなるほど圧縮量が多くなるという特徴を併せ持っている。従って、集塵ケース105内の塵埃は、網フィルター106aの手前で層状に堆積していき、かつ微細な粉塵も一緒に堆積していく。このため、繊維塵の間に粉塵がまぎれ込んでいくので、ごみ捨て時に粉塵が舞い上がりにくくなるという効果も得られる。
さらに、サイクロン分離筒104の排気口120を通過する空気流の風量が、集塵ケース排気口144を空気が通過しないときに比べて、少なくなるので、サイクロン分離筒104の通気抵抗を小さくできる。従って、掃除機の吸込仕事率をより大きくすることができるという特徴を持っている。
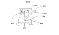
次に図13と図14とを用いて本発明の第2の実施形態を説明する。図13は、ボタン部の構成図である。図14は、サイクロン分離筒104と集塵ケース105の外観斜視図である。なお、本実施形態では、実施例1と同一符号のものは同一構造を有し、その説明は省略する。
係止部242aは、バネ242bにより該係止部242aと係合部163bが係止するように付勢されており、フィルター枠140とフィルター枠163は集塵ケース105側に気密状態を保つように係止している。なお、係止部242aと係合部163bの形状は、鉤状とするとなおよい。
フィルター枠163の上方には、取っ手102付近にボタン242が設けられ、このボタン242を押すことにより、係止部242aが回転し、この係止部242aと、フィルター枠163に設けている係合部163bとが開放され、フィルター枠140とフィルター枠163が開放されて、ゴミ捨てが可能となる。ここでは、集塵部103を掃除機本体1に装着したときに、上ケース150や、上蓋102が邪魔となってボタン242を押せないようにするため、該ボタン242は水平方向に動くように設けている。また、ボタン242が水平方向に移動した際、このボタン242に押されて係止部242aは回転軸242fを中心として回動して、係合部163bを開放する様に動作する。なお、ボタン242はボタンケース242d、ガイド142cにより移動方向をガイドされるとともに、リブなどにより、ボタンケース242dから脱落するのを防止している。なお、このガイド242cによって、ボタン242がボタンケース242dから脱落するのを防ぐのを兼用すると、部品点数の増加を抑えられるので好ましい。
また、係止部142aの移動はボタン142による摩擦力を利用しているので、これらの部材には摩擦摩耗特性に優れ、長時間の摺動特性に優れたポリオキシメチレン(POM)を用いるのが好ましい。
本発明の一実施の形態を示す電気掃除機の外観斜視図である。 図1に示した電気掃除機における掃除機本体の斜視図である。 図1に示した電気掃除機における掃除機本体の上蓋を開いた状態を示す斜視図である。 図1に示した電気掃除機における掃除機本体内の上蓋を開いて、サイクロン分離筒と集塵ケースとを取り外した状態を示す斜視図である。 図1に示した掃除機本体の断側面図である。 図5のA部拡大図である。 空気の流れを示す模式図である。 サイクロン分離筒104と集塵ケース105の外観斜視図である。 サイクロン分離筒104と集塵ケース105の縦断面図である。 サイクロン分離筒104と集塵ケース105の断面図である。 サイクロン分離筒104と集塵ケース105を排気側から見たときの側面図である。 ボタン部の構成図である。 ボタン部の構成図である。 サイクロン分離筒104と集塵ケース105の外観斜視図である。
符号の説明
1…掃除機本体、101…下ケース、103…集塵部、104…サイクロン分離筒、105…集塵ケース、106…第1のフィルター、107…電動送風機、112…補助フィルター、115…入口管、117…連通口、120…排気口、131…内筒、140…フィルター枠、142…ボタン、142a…係止部、142b…バネ、145…連絡通路、146…サイクロン部流出口、150…上ケース、161…第2のフィルター、163…フィルター枠、163a…係合部。

Claims (4)

  1. 掃除機本体内から着脱可能な集塵ケースと、この集塵ケースを前記掃除機本体から取り外す際に集塵ケースを保持するために設けた保持部と、該集塵ケースから塵埃を廃棄するために開閉する蓋体と、前記保持部の近傍に前記蓋体を開放するためのボタンを設けた電気掃除機において、
    前記集塵ケースを前記掃除機本体に装着したときに、前記ボタンが押せない位置に配置したことを特徴とする電気掃除機。
  2. 請求項1において、
    保持部を集塵ケースの上面に配置したことを特徴とする電気掃除機。
  3. 請求項1において、
    ボタンの移動方向が略水平方向であることを特徴とする電気掃除機。
  4. 掃除機本体内から着脱可能な集塵ケースと、この集塵ケースを前記掃除機本体から取り外す際に集塵ケースを保持するために設けた保持部と、該集塵ケースから塵埃を廃棄するために開閉する蓋体と、前記保持部の近傍に前記蓋体を開放するためのボタンを設けた電気掃除機において、
    前記集塵ケースを前記掃除機本体に装着したときに、前記ボタンと該掃除機本体との間に人の指が入らないように前記集塵ケースを装着したことを特徴とする電気掃除機。
JP2004120989A 2004-04-16 2004-04-16 電気掃除機 Pending JP2005296532A (ja)

Priority Applications (1)

Application Number Priority Date Filing Date Title
JP2004120989A JP2005296532A (ja) 2004-04-16 2004-04-16 電気掃除機

Applications Claiming Priority (1)

Application Number Priority Date Filing Date Title
JP2004120989A JP2005296532A (ja) 2004-04-16 2004-04-16 電気掃除機

Publications (1)

Publication Number Publication Date
JP2005296532A true JP2005296532A (ja) 2005-10-27

Family

ID=35328773

Family Applications (1)

Application Number Title Priority Date Filing Date
JP2004120989A Pending JP2005296532A (ja) 2004-04-16 2004-04-16 電気掃除機

Country Status (1)

Country Link
JP (1) JP2005296532A (ja)

Cited By (4)

* Cited by examiner, † Cited by third party
Publication number Priority date Publication date Assignee Title
JP2007229191A (ja) * 2006-03-01 2007-09-13 Hitachi Appliances Inc 電気掃除機
JP2008000381A (ja) * 2006-06-23 2008-01-10 Hitachi Appliances Inc 電気掃除機
JP2008093342A (ja) * 2006-10-16 2008-04-24 Sharp Corp 電気掃除機
JP2011010982A (ja) * 2009-07-06 2011-01-20 Mitsubishi Electric Corp 電気掃除機

Cited By (4)

* Cited by examiner, † Cited by third party
Publication number Priority date Publication date Assignee Title
JP2007229191A (ja) * 2006-03-01 2007-09-13 Hitachi Appliances Inc 電気掃除機
JP2008000381A (ja) * 2006-06-23 2008-01-10 Hitachi Appliances Inc 電気掃除機
JP2008093342A (ja) * 2006-10-16 2008-04-24 Sharp Corp 電気掃除機
JP2011010982A (ja) * 2009-07-06 2011-01-20 Mitsubishi Electric Corp 電気掃除機

Similar Documents

Publication Publication Date Title
JP7055381B2 (ja) 掃除機のための集塵チャンバ及び吸引ヘッド
JP2010035954A (ja) 電気掃除機
JP4521159B2 (ja) 電気掃除機
JP4467473B2 (ja) 電気掃除機
JP4557783B2 (ja) 電気掃除機
JP2006340935A (ja) 電気掃除機
JP4393287B2 (ja) 電気掃除機
JP2005296532A (ja) 電気掃除機
JP6158072B2 (ja) 電気掃除機
JP4399200B2 (ja) 電気掃除機
JP3922131B2 (ja) 電気掃除機
JP2012000210A (ja) 電気掃除機
JP2005021469A (ja) 電気掃除機
JP4102642B2 (ja) 電気掃除機
JP4902703B2 (ja) 電気掃除機
JP4485537B2 (ja) 電気掃除機
JP4408449B2 (ja) 電気掃除機
JP4528641B2 (ja) 電気掃除機
JP4399246B2 (ja) 電気掃除機
JP4340593B2 (ja) 電気掃除機
JP3941628B2 (ja) 電気掃除機
JP4919926B2 (ja) 電気掃除機
JP2005000331A (ja) 電気掃除機
JP2008093277A (ja) 電気掃除機
JP4663552B2 (ja) 電気掃除機

Legal Events

Date Code Title Description
RD04 Notification of resignation of power of attorney

Free format text: JAPANESE INTERMEDIATE CODE: A7424

Effective date: 20060509

A621 Written request for application examination

Effective date: 20060929

Free format text: JAPANESE INTERMEDIATE CODE: A621

A711 Notification of change in applicant

Effective date: 20061005

Free format text: JAPANESE INTERMEDIATE CODE: A712

A521 Written amendment

Effective date: 20060929

Free format text: JAPANESE INTERMEDIATE CODE: A523

A977 Report on retrieval

Effective date: 20090205

Free format text: JAPANESE INTERMEDIATE CODE: A971007

A131 Notification of reasons for refusal

Free format text: JAPANESE INTERMEDIATE CODE: A131

Effective date: 20090210

A521 Written amendment

Free format text: JAPANESE INTERMEDIATE CODE: A523

Effective date: 20090406

A02 Decision of refusal

Effective date: 20090512

Free format text: JAPANESE INTERMEDIATE CODE: A02