JP2005296438A - フロアマット - Google Patents

フロアマット Download PDF

Info

Publication number
JP2005296438A
JP2005296438A JP2004119046A JP2004119046A JP2005296438A JP 2005296438 A JP2005296438 A JP 2005296438A JP 2004119046 A JP2004119046 A JP 2004119046A JP 2004119046 A JP2004119046 A JP 2004119046A JP 2005296438 A JP2005296438 A JP 2005296438A
Authority
JP
Japan
Prior art keywords
floor mat
edge
edge portion
tape
layer
Prior art date
Legal status (The legal status is an assumption and is not a legal conclusion. Google has not performed a legal analysis and makes no representation as to the accuracy of the status listed.)
Granted
Application number
JP2004119046A
Other languages
English (en)
Other versions
JP4624709B2 (ja
Inventor
Kohei Yamada
耕平 山田
Current Assignee (The listed assignees may be inaccurate. Google has not performed a legal analysis and makes no representation or warranty as to the accuracy of the list.)
Daiwa KK
Shoei Bussan KK
Yachiyo Shoji KK
Original Assignee
Daiwa KK
Shoei Bussan KK
Yachiyo Shoji KK
Priority date (The priority date is an assumption and is not a legal conclusion. Google has not performed a legal analysis and makes no representation as to the accuracy of the date listed.)
Filing date
Publication date
Application filed by Daiwa KK, Shoei Bussan KK, Yachiyo Shoji KK filed Critical Daiwa KK
Priority to JP2004119046A priority Critical patent/JP4624709B2/ja
Publication of JP2005296438A publication Critical patent/JP2005296438A/ja
Application granted granted Critical
Publication of JP4624709B2 publication Critical patent/JP4624709B2/ja
Anticipated expiration legal-status Critical
Expired - Fee Related legal-status Critical Current

Links

Images

Landscapes

  • Passenger Equipment (AREA)
  • Carpets (AREA)

Abstract

【課題】かがり縫い作業が不要できわめて簡単に製造することができ、しかも従来のかがり縫いしたマットの縁部分に比べても劣ることがない優れた意匠性を有するフロアマットを提供すること。
【解決手段】パイル糸14を打ち込んだ基布12の裏面側にバッキング13を設けたフロアマット11において、当該フロアマット11周りの縁部分を覆うように発泡樹脂層又は繊維質層15aを内側に設けた縁テープ15が接着されていることを特徴とする。
【選択図】 図2

Description

本発明は、住宅、オフィス、ホテルなどの建物の床面、或いは自動車や鉄道、船舶、飛行機などの車両の床面に敷設されるフロアマットに関する。詳細には、かがり縫い作業が不要できわめて簡単に製造することができ、しかも従来のかがり縫いしたマットの縁部分に比べても劣ることがない優れた意匠性を有するフロアマットに関する。
従来より、例えば自動車床面上には、パイル糸を打ち込んだ基布と、この裏面側にバッキング層を設けたフロアマットが敷かれている。このフロアマットの縁部分はかがり糸でかがり縫いされていて、縁部分の解れの防止と共に縁部分の見栄えをよくし、当該フロアマットの意匠性を高めていた(特許文献1参照)。
特開2001−80403号公報
ところが、従来のフロアマットにおける縁部分のかがり縫い作業は、作業者がミシンでマットの縁部分をかがり糸でかがり縫うという手作業で行われていたため、多くの労力と時間を必要とし、さらにかがり縫いは基布のパイル糸の打ち込み間隔に対応させて行うため、その作業には高度の熟練を必要としていた。
本発明は、このような事情に鑑みなされたものであり、かがり縫い作業が不要できわめて簡単に製造することができ、しかも従来のかがり縫いしたマットの縁部分に比べても劣ることがない優れた意匠性を有するフロアマットを提供することを目的とするものである。
上記目的を達成するため、請求項1記載の発明は、パイル糸を打ち込んだ基布の裏面側にバッキングを設けたフロアマットにおいて、当該フロアマット周りの縁部分を覆うように発泡樹脂層又は繊維質層を内側に設けた縁テープが接着されていることを特徴とするフロアマットをその要旨とした。
請求項2記載の発明は、縁テープが織物及び又は編物からなることを特徴とする請求項1記載のフロアマットをその要旨とした。
請求項3記載の発明は、縁テープの両端部が肉薄状に設けられていることを特徴とする請求項1又は2記載のフロアマットをその要旨とした。
請求項4記載の発明は、発泡樹脂層が接着性樹脂からなることを特徴とする請求項1記載のフロアマットをその要旨とした。
請求項5記載の発明は、繊維質層中に熱接着剤繊維が含まれていることを特徴とする請求項1記載のフロアマットをその要旨とした。
本発明のフロアマットにあっては、パイル糸を打ち込んだ基布の裏面側にバッキングを設けたフロアマットにおいて、当該フロアマット周りの縁部分を覆うように発泡樹脂層又は繊維質層を内側に設けた縁テープが接着されていることから、かがり縫い作業が不要できわめて簡単に製造することができ、しかも従来のかがり縫いしたマットの縁部分に比べても劣ることがない優れた意匠性を有する。
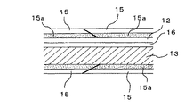
以下、本発明のフロアマットを図面に示した一実施の形態に従って詳細に説明する。図1及び図2に示すフロアマット11は、基布12の裏面側にバッキング13を設けたものである。
基布12としては、例えば不織布、織物、編物、紙、フェルトあるいはこれらの1種若しくは2種以上を組み合わせた複合体を挙げることができる。尚、基布12の素材や構造は、特に限定されず、当該フロアマットの用途や使用状態を考慮して適宜決定すればよい。
この基布12にはパイル糸14が所定のボリュームとなるように所定間隔(図示の例では約4mm間隔)に打ち込まれていて、当該フロアマット11の意匠性が高められている。
この基布12の裏面側にはパイル糸14の抜け止めを行う目的で接着剤層16が形成されている。この接着剤層16は、例えばウレタン系湿気硬化型接着剤やホットメルト接着剤などからなり、前記パイル糸14を打ち込んだ基布12の裏面側でパイル糸14の抜けを止めるようになっている。尚、接着剤層16には、例えば蜘蛛の巣状接着剤からなり、接着時の熱およびまたは圧力で薄膜化されて成るものを使用することもできる。
この接着剤層16を介して基布12の裏面側にバッキング13が設けられている。バッキング層13は、当該フロアマット11の補強および保形、或いはズレ止めを目的として形成されている。
バッキングは繊維層又は樹脂層からなる。繊維層からなるバッキング13には、例えば不織布、フェルト、織物、或いは編物、或いはこれらの2種以上を組み合わせた複合シートからなるものを使用することができる。図示の例ではフェルトからなるバッキング13を採用している。
一方、樹脂層からなるバッキングには、例えばスチレンーブタンジエンースチレン共重合体、アクリルニトリルーブタジエン系共重合体、ウレタン樹脂等の高分子、スチレンーブタンジエンゴム、アクリルニトリルーブタンジエンゴム、ブタンジエンゴム、天然ゴム、イソプレンゴム等のゴム高分子、またはこれらを複数種混合した混合物などからなるものを用いることができる。
また、樹脂層からなるバッキングの場合、層を構成する樹脂に発泡剤を加えて軽量化を計ることもできる。発泡剤としては、例えば脂肪酸石けん、アルキルアリルスルホン酸ナトリウム、高級アルコール硫酸エステルナトリウム、Nーオクタデシルスルホコハク酸モノアミドジナトリウムなどを挙げることができる。
また、樹脂には必要に応じて、ポリアクリル酸ソーダ、カルボキシメチルセルローズ、タルク、水酸化アルミニウム、酸化アンチモンなどの充填剤、ポリアクリル酸ソーダ、カルボキシメチルセルローズ、ポリビニルアルコール、カゼイン、発酵多糖類などの増粘剤、トリポリリン酸ソーダ、ヘキサメタリン酸ソーダなどの分散剤を加えてもよい。
また、樹脂層からなるバッキングの場合、当該フロアマットのズレを防止するためにズレ止め用の突起を設けることもできる。
上記の如く構成されるフロアマット11の縁部分を覆うように縁テープ15が接着されている。縁テープ15は、本発明の最大の特徴をなすものであり、フロアマットの縁部分を覆うように接着される。この縁テープ15は、フロアマット11の縁部分周りの長さと縁部分を覆うだけの幅とを有する織物及び又は編物からなる。図1及び図2に示す縁テープ15は、表編みと裏編みとからなるメリヤス地をフロアマット11の縁部分周りの長さで縁部分を覆うだけの幅に裁断したものを用いた。
この縁テープ15内側に発泡樹脂層又は繊維質層15aが設けられている。発泡樹脂層又は繊維質層15aは、縁テープ15に対応して同じ形状に設けられている。発泡樹脂層は、ポリウレタン、ポリエチレン、ポリプロピレン、アクリロニトリル−ブタジエンゴム(NBR)、スチレン−ブタジエンゴム(SBR)、スチレン−ブタジエン−スチレンゴム(SBS)などの高分子の1種若しくは2種以上を素材としており、これらを従来公知の発泡成形方法を用いて発泡成形したものである。繊維質層は、例えばフェルト、不織布、紙、織物、編物、或いはこれらの複合物から選ばれる1種からなるものである。図示の例では、SBSを発泡成形した発泡樹脂層を用いた。
尚、発泡樹脂層は、発泡成形後に縁テープ15の形状に裁断したものを縁テープ15内側に接着するほかに、縁テープ15の内側に樹脂を塗布しておき、テープ15上で発泡成形させる方法を採ることもできる。
このフロアマット11にあっては、上記のとおり内側に発泡樹脂層又は繊維質層15aを設けた縁テープ15をフロアマット11周りの縁部分を覆うように接着したので、フロアマット11の縁部分は発泡樹脂層又は繊維質層15aの分だけ盛り上がりボリューム感が増し、より高級感が高まることになる。
また、このフロアマット11にあっては、フロアマット11周りの縁部分に縁テープ15を接着するため、縁テープ15の表裏の縁ライン(パイル糸端末の打ち込みライン)が、縁テープ15をフロアマット11周りの縁部分に縫着する場合のように不揃いとなったり、反りが生じたりすることがなく直線状となるので、美観的にも大変に美しい縁ラインとなる。
尚、縁テープ15をフロアマット11周りの縁部分に接着する場合、接着時に縁テープ15及び又はフロアマット11周りの縁部分に接着剤を塗布して行っても良いが、予め縁テープ15内側の発泡樹脂層又は繊維質層15aに接着剤を塗布しておくこともできる。
また、例えばEVA(エチレン−酢酸ビニル共重合体)樹脂などの接着性樹脂を用い、これにアゾ化合物、ニトロソ化合物、ヒドラジン誘導体及び重炭酸塩などの熱分解型発泡剤を加えて発泡成形した発泡樹脂層を用いたり、構成繊維中にポリエチレンやポリエステルなどの熱接着性繊維を含む繊維質材料を用いたりすることもでき、この場合、縁テープ15でフロアマット11周りの縁部分を覆い、この状態で熱プレスするだけで当該縁テープ15のフロアマット11周りの縁部分への接着が完了することから、より効率的である。
図2及び図3に示すように、縁テープ15は、フロアマット11周りに縁部分を覆うように取付けられ接着されるようになっている。この場合、縁テープ15の両端部は、当該縁テープ15をフロアマット11周りの縁部分に接着したときに上下に重なり合うように接着されるようになっている。図3に示す形態では、縁テープ15の両端部が共に肉薄状に設けられている。このため、縁テープ15の両端部の端末の重合部分が厚くなって盛り上がることがない。
尚、本発明の範囲は、「特許請求の範囲」に定義されたとおりのものであり、例えば縁テープ内側に粘着性の発泡樹脂層を設けて、当該縁テープのフロアマット周りの縁部分への取付作業の効率化を計るなど、「特許請求の範囲」の範囲内で自由に変更することができる。
図1は、本発明のフロアマットを示す斜視図である。 図2は、同じく要部拡大断面図である。 図3は、縁テープの両端部の重合部分を示す要部拡大断面図である。
符号の説明
12 ・・・基布
13 ・・・バッキング層
14 ・・・パイル糸
15 ・・・テープ
15a・・・発泡樹脂層又は繊維質層

Claims (5)

  1. パイル糸を打ち込んだ基布の裏面側にバッキングを設けたフロアマットにおいて、当該フロアマット周りの縁部分を覆うように発泡樹脂層又は繊維質層を内側に設けた縁テープが接着されていることを特徴とするフロアマット。
  2. 縁テープが織物及び又は編物からなることを特徴とする請求項1記載のフロアマット。
  3. 縁テープの両端部が肉薄状に設けられていることを特徴とする請求項1又は2記載のフロアマット。
  4. 発泡樹脂層が接着性樹脂からなることを特徴とする請求項1記載のフロアマット。
  5. 繊維質層中に熱接着剤繊維が含まれていることを特徴とする請求項1記載のフロアマット。
JP2004119046A 2004-04-14 2004-04-14 フロアマット Expired - Fee Related JP4624709B2 (ja)

Priority Applications (1)

Application Number Priority Date Filing Date Title
JP2004119046A JP4624709B2 (ja) 2004-04-14 2004-04-14 フロアマット

Applications Claiming Priority (1)

Application Number Priority Date Filing Date Title
JP2004119046A JP4624709B2 (ja) 2004-04-14 2004-04-14 フロアマット

Publications (2)

Publication Number Publication Date
JP2005296438A true JP2005296438A (ja) 2005-10-27
JP4624709B2 JP4624709B2 (ja) 2011-02-02

Family

ID=35328693

Family Applications (1)

Application Number Title Priority Date Filing Date
JP2004119046A Expired - Fee Related JP4624709B2 (ja) 2004-04-14 2004-04-14 フロアマット

Country Status (1)

Country Link
JP (1) JP4624709B2 (ja)

Cited By (4)

* Cited by examiner, † Cited by third party
Publication number Priority date Publication date Assignee Title
JP2005334236A (ja) * 2004-05-26 2005-12-08 Daiwa:Kk フロアマット
JP2006218090A (ja) * 2005-02-10 2006-08-24 Eidai Kako Kk マット
JP2014124353A (ja) * 2012-12-26 2014-07-07 Shinei Techno Kk 吸水マット
KR102585656B1 (ko) * 2023-01-17 2023-10-05 이영성 스페이서 패브릭의 완충패드

Citations (4)

* Cited by examiner, † Cited by third party
Publication number Priority date Publication date Assignee Title
JPH0384312U (ja) * 1989-12-19 1991-08-27
JP2000083797A (ja) * 1998-09-11 2000-03-28 Suminoe Textile Co Ltd パイル敷物
JP2003019067A (ja) * 2001-07-06 2003-01-21 Daiwa:Kk カーペット
JP2003102611A (ja) * 2001-07-23 2003-04-08 Daiwa:Kk カーペット

Patent Citations (4)

* Cited by examiner, † Cited by third party
Publication number Priority date Publication date Assignee Title
JPH0384312U (ja) * 1989-12-19 1991-08-27
JP2000083797A (ja) * 1998-09-11 2000-03-28 Suminoe Textile Co Ltd パイル敷物
JP2003019067A (ja) * 2001-07-06 2003-01-21 Daiwa:Kk カーペット
JP2003102611A (ja) * 2001-07-23 2003-04-08 Daiwa:Kk カーペット

Cited By (4)

* Cited by examiner, † Cited by third party
Publication number Priority date Publication date Assignee Title
JP2005334236A (ja) * 2004-05-26 2005-12-08 Daiwa:Kk フロアマット
JP2006218090A (ja) * 2005-02-10 2006-08-24 Eidai Kako Kk マット
JP2014124353A (ja) * 2012-12-26 2014-07-07 Shinei Techno Kk 吸水マット
KR102585656B1 (ko) * 2023-01-17 2023-10-05 이영성 스페이서 패브릭의 완충패드

Also Published As

Publication number Publication date
JP4624709B2 (ja) 2011-02-02

Similar Documents

Publication Publication Date Title
CN104302830B (zh) 机动车部件
JP2004515265A (ja) 連続発泡体製ラググリッパーおよび該ラググリッパーの使用法
JP6093961B2 (ja) 床構造及びアンダーレイシート
JP4624709B2 (ja) フロアマット
JP2008200288A (ja) 自動車用フロアマットおよびその製造方法
JP4474978B2 (ja) フロアマット
JP6068284B2 (ja) 離型シート付き床材
JP3300631B2 (ja) ルーズレイ施工用シート状下地材を用いた床仕上げ材の施工方法
JP4601997B2 (ja) フロアマット
JP4856372B2 (ja) パイルがタフトされたタフテッドカーペットの製造に用いるカッター
JP4324895B2 (ja) 裏打用不織布およびカーペット
JP2008188202A (ja) 防水性及び通気性のあるカーペット
JP2665536B2 (ja) コンクリートパネル添装用複合材
JPH1122160A (ja) 薄畳用軽量芯材およびこれを用いた薄畳
JP3761697B2 (ja) 陸屋根の防水施工方法
JP2003191426A (ja) 自動車用内装材
JP2005060888A (ja) 内装材、及びその製造方法
CN222451565U (zh) 一种多功能水性发泡绒面环保人造革
JP3253545U (ja) ニードルパンチ基布を用いた無縁加工のタフトカーペット
JP3131839U (ja) カーマット
JP2003225153A (ja) 通気性カーペットおよびその製造方法
JP2006014847A (ja) ファーストカーペット及びフロアマットのズレ防止構造
KR20100007153U (ko) 오바록재봉 카페트
JP3465187B2 (ja) カーペット用裏打ち材及びそれを用いたカーペット
JP3131553U (ja) カーマット

Legal Events

Date Code Title Description
A621 Written request for application examination

Free format text: JAPANESE INTERMEDIATE CODE: A621

Effective date: 20070112

A131 Notification of reasons for refusal

Free format text: JAPANESE INTERMEDIATE CODE: A131

Effective date: 20100224

A521 Written amendment

Free format text: JAPANESE INTERMEDIATE CODE: A523

Effective date: 20100416

RD02 Notification of acceptance of power of attorney

Free format text: JAPANESE INTERMEDIATE CODE: A7422

Effective date: 20100416

TRDD Decision of grant or rejection written
A01 Written decision to grant a patent or to grant a registration (utility model)

Free format text: JAPANESE INTERMEDIATE CODE: A01

Effective date: 20101012

A01 Written decision to grant a patent or to grant a registration (utility model)

Free format text: JAPANESE INTERMEDIATE CODE: A01

A61 First payment of annual fees (during grant procedure)

Free format text: JAPANESE INTERMEDIATE CODE: A61

Effective date: 20101104

R150 Certificate of patent or registration of utility model

Ref document number: 4624709

Country of ref document: JP

Free format text: JAPANESE INTERMEDIATE CODE: R150

Free format text: JAPANESE INTERMEDIATE CODE: R150

FPAY Renewal fee payment (event date is renewal date of database)

Free format text: PAYMENT UNTIL: 20131112

Year of fee payment: 3

R250 Receipt of annual fees

Free format text: JAPANESE INTERMEDIATE CODE: R250

R250 Receipt of annual fees

Free format text: JAPANESE INTERMEDIATE CODE: R250

R250 Receipt of annual fees

Free format text: JAPANESE INTERMEDIATE CODE: R250

R250 Receipt of annual fees

Free format text: JAPANESE INTERMEDIATE CODE: R250

R250 Receipt of annual fees

Free format text: JAPANESE INTERMEDIATE CODE: R250

R250 Receipt of annual fees

Free format text: JAPANESE INTERMEDIATE CODE: R250

LAPS Cancellation because of no payment of annual fees