JP2005296094A - 食器洗い機 - Google Patents

食器洗い機 Download PDF

Info

Publication number
JP2005296094A
JP2005296094A JP2004112957A JP2004112957A JP2005296094A JP 2005296094 A JP2005296094 A JP 2005296094A JP 2004112957 A JP2004112957 A JP 2004112957A JP 2004112957 A JP2004112957 A JP 2004112957A JP 2005296094 A JP2005296094 A JP 2005296094A
Authority
JP
Japan
Prior art keywords
cleaning
pump
water
motor
impeller
Prior art date
Legal status (The legal status is an assumption and is not a legal conclusion. Google has not performed a legal analysis and makes no representation as to the accuracy of the status listed.)
Pending
Application number
JP2004112957A
Other languages
English (en)
Inventor
Tomoyuki Kikukawa
智之 菊川
Takayuki Inoue
隆幸 井上
Hiroaki Inui
浩章 乾
Makoto Oyama
眞 大山
Takashi Miyauchi
隆 宮内
Mamoru Ikejima
衞 池島
Current Assignee (The listed assignees may be inaccurate. Google has not performed a legal analysis and makes no representation or warranty as to the accuracy of the list.)
Panasonic Holdings Corp
Original Assignee
Matsushita Electric Industrial Co Ltd
Priority date (The priority date is an assumption and is not a legal conclusion. Google has not performed a legal analysis and makes no representation as to the accuracy of the date listed.)
Filing date
Publication date
Application filed by Matsushita Electric Industrial Co Ltd filed Critical Matsushita Electric Industrial Co Ltd
Priority to JP2004112957A priority Critical patent/JP2005296094A/ja
Publication of JP2005296094A publication Critical patent/JP2005296094A/ja
Pending legal-status Critical Current

Links

Images

Landscapes

  • Washing And Drying Of Tableware (AREA)

Abstract

【課題】洗浄ポンプの高さを低くし、本体形状を大型化することなく多量の食器が洗浄できるようにする。
【解決手段】遠心式の洗浄ポンプ5のインペラ6の回転軸7と、モータ8の回転軸7を同心として略鉛直方向に構成するとともに、前記洗浄ポンプ5の吸込み経路9を洗浄ポンプ5とこの洗浄ポンプ5を駆動するモータ8との間に設けたものである。
【選択図】図1

Description

本発明は、食器の洗浄を行う食器洗い機に関するものである。
従来、この種の食器洗い機の洗浄ポンプは、例えば、図5に示すような構成が考えられていた。すなわち、ポンプ21は、洗浄ノズル(図示せず)から洗浄水を噴射する第1のインペラ22を有した第1のケーシング23と、機外に洗浄水を排出する第2のインペラ24を有した第2のケーシング25を備え、前記第1のインペラ22と第2のインペラ24を同軸とし、上下方向に配設してモータ26により回転駆動する。そして、第1のケーシング23と第2のケーシング25の間に洗浄水案内部27を設けたものである(例えば、特許文献1参照)。
特開平9−131292号公報
しかしながら、上記の構成によれば、洗浄ポンプ21は強力な洗浄力が得られる遠心ポンプで構成するのが一般的であり、第1のケーシング23の下方に洗浄水案内部27を設けて、洗浄水を下方から吸込む構成としている。加えて、洗浄ポンプの下方に設けた洗浄水案内部27の下方にさらに排水ポンプを構成したものであることから、モータ26を含めたポンプ全体の高さが高くなり、洗浄槽の下方に設置した場合に食器洗い機の本体を小型化することができないという問題があった。
そして、洗浄と排水を1つのポンプで構成することも考えられているが、上記のように洗浄ポンプは強力な洗浄力を得るために遠心ポンプで構成する必要があることから、ポンプの下方に洗浄水案内部を設けなければならず、薄型化には限界があった。
本発明は、上記の課題を解決するもので、洗浄ポンプの高さを低くし、食器洗い機の本体形状を大型化することなく多量の食器が洗浄できるようにすることを目的としている。
上記の目的を達成するために、本発明の食器洗い機は、排水ポンプの機能を備えた洗浄ポンプのインペラの回転軸と、モータの回転軸を同心として略鉛直方向に構成するとともに、吸込み経路をモータと洗浄ポンプの間に配設したものである。
これにより、ポンプの高さを低くすることができ、本体形状を大型化することなく洗浄槽の容積を拡大して、洗浄可能な食器の量を多くすることができ、コンパクトな本体形状で多量の食器を洗浄することができる。
本発明の食器洗い機は、本体形状を大型化することなく洗浄槽の容積を拡大して、洗浄可能な食器の量を多くすることができ、コンパクトな本体形状で多量の食器を洗浄することができる。
第1の発明は、貯水部を有した洗浄槽と、前記貯水部の洗浄水を加圧する洗浄ポンプと、前記洗浄ポンプによって加圧された洗浄水を前記洗浄槽内に噴射する洗浄ノズルと、前記洗浄ポンプを駆動するモータとを具備し、前記洗浄ポンプは遠心式とし、インペラの回転軸と前記モータの回転軸を同心として略鉛直方向に構成するとともに、前記洗浄ポンプの吸込み経路を前記洗浄ポンプとモータとの間に設けたことにより、ポンプの高さを低くすることができ、本体形状を大型化することなく洗浄槽の容積を拡大して、収容可能な食器の量を多くすることができるとともに、コンパクトな本体形状で多量の食器を洗浄することができる。また、洗浄槽を所定の容積に設定した場合は、本体の小型化を促進することができるようになり、狭い場所への設置性を向上することができる。
第2の発明は、吸込み経路を、洗浄ポンプを駆動するモータの回転軸のシール部を囲むように構成したことにより、シール部を吸込み経路内に収容することができ、モータを含めたポンプの高さを低くでき、薄型化を促進することができる。
第3の発明は、洗浄ポンプをモータの下方に配設するとともに、前記洗浄ポンプの吸込み口を同洗浄ポンプの上部に設けたことにより、吸込み経路に流動する洗浄水を引き込む必要がなく、確実かつ容易にポンプ内へ流動させることができる。
第4の発明は、吸込み口をシール部より径大としたことにより、洗浄水が吸込み経路から洗浄ポンプ内へ入る際の抵抗を少なくして、容易に流動させることができる。
第5の発明は、吸込み口を、吸込み経路からインペラの内側に洗浄水を供給する構成としたことにより、インペラの回転によるポンプ能力を高めて洗浄水を効率よく吐出することができ、洗浄効果を高めることができるとともに、短時間で排出することができる。
第6の発明は、吸込み経路を構成する蓋体を有し、前記蓋体にシール部を設けたことにより、モータとポンプを簡略な構成で一体に設けることができる。
第7の発明は、洗浄ポンプは、インペラを正逆反転可能とし、正転時に洗浄水を洗浄ノズルへ吐出して洗浄を行う第1の吐出口と、反転時に洗浄水を吐出して排水を行う第2の吐出口を設けたことにより、1つのモータと1つのポンプで洗浄と排水を行うことができ、構成の簡略化と薄型化を促進することができる。
第8の発明は、第1の吐出口と第2の吐出口は、少なくとも一方の中心をインペラの高さ範囲内に位置するように設定したことにより、インペラの回転によるポンプ能力を高めて洗浄水を効率よく吐出することができ、洗浄効果を高めることができるとともに、短時間で排出することができる。
以下、本発明の実施の形態について、図面を参照しながら説明する。なお、本実施の形態によって本発明が限定されるものではない。
(実施の形態1)
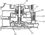
図1〜図3において、1は食器洗い機の本体2内に形成した洗浄槽で、洗浄を行う食器をセットする食器かご3を取り出し可能に設置する。洗浄槽1の底部には水を貯める貯水部4を設けている。洗浄槽1への給水は、水道水の止水あるいは給水を行う給水弁(図示せず)を設けた給水経路(図示せず)を介して行われ、供給される水を所定の水位に保つ水位センサ(図示せず)、および制御回路等からなる貯水量制御手段(図示せず)により行われる。
5は貯水部4に貯水された水を加圧する洗浄ポンプで、この洗浄ポンプ5内のインペラ6の回転軸7と、洗浄ポンプ5の駆動源であるモータ8の回転軸7を同心として略鉛直方向に構成し、洗浄ポンプ5をモータ8の下方に配設している。9は洗浄ポンプ5内に洗浄水を流入させる吸込み経路で、洗浄ポンプ5とこの洗浄ポンプ5を駆動するモータ8との間に設けてあり、インペラ6の回転軸7を取り囲むように中心付近に形成している。
10はモータ8の回転軸7をシールするシール部で、洗浄ポンプ5のインペラ6とモータ8との間に設けており、吸込み経路9内に突出させることにより同吸込み経路9で囲むように構成している。11は吸込み経路9を構成する蓋体で、パッキン12を介して水密に固着しており、上記シール部10はこの蓋体11に設けている。
13は洗浄ポンプ5のインペラ6の上部に設けた吸込み口で、シール部10の直径D3より大なる直径D2の孔を開けてあり、洗浄水が吸込み経路9から洗浄ポンプ5内へ入る際の抵抗を少なくして、容易に流動させることができるようになっている。そして、この吸込み口13の直径D2は、インペラ6の内側に洗浄水を供給するように、インペラ6の直径D1より径小にしている。
洗浄ポンプ5は、インペラ6を正逆反転可能な遠心式とし、正転時は第1の吐出口14から洗浄水を吐出して洗浄ノズル15へ供給し、噴射口16から洗浄槽1内に噴射する。洗浄ノズル15は水平方向に回転可能に設けてあり、噴射口16から洗浄水を噴射する際の反力で回転し、洗浄槽1内の広い範囲に噴射できるようにしている。反転時は第2の吐出口17から機外へ洗浄水を吐出して排水を行う。
18は貯水部4に貯水された水を加熱するヒータで、乾燥時は送風手段(図示せず)により洗浄槽1内に供給される送風を加熱する。19は食器に付着していた残菜を補足するフィルタである。
次に、上記実施の形態における動作について説明する。まず、貯水量制御手段(図示せず)により水道水が洗浄槽1の内部へ給水され、洗浄槽1の底部に設けられた貯水部4に貯まり、所定の水位になったところで給水を停止する。次に、洗浄ポンプ5が正転動作し、貯水部2の洗浄水は洗浄ポンプ5により加圧され、吸込み経路9を通りインペラ6の上部に設けた吸込み口13から洗浄ポンプ5内へ入り、第1の吐出口14から洗浄水を吐出して洗浄ノズル15へ供給し、噴射口16から洗浄槽1内の食器かご3に置かれた食器に向けて噴射され洗浄を行う。
食器の汚れを落とした洗浄水は再び貯水部2へ戻る。洗浄水はヒータ18によって加熱され、予め設定されている適度な高温となって洗浄力が高められるとともに、洗浄を行った洗浄水の汚染物はフィルタ19により捕捉され、再び洗浄ポンプ5へと循環して洗浄を行う際に汚染物の再付着を抑える。所定の洗浄が終了すると洗浄ポンプ5を反転動作し、第2の吐出口17から機外へ洗浄水を吐出して排水を行う。
以上のように本実施の形態によれば、排水ポンプの機能を備えた洗浄ポンプ5のインペラ6の回転軸7と、モータ8の回転軸7を同心として略鉛直方向に構成するとともに、吸込み経路9をモータ8と洗浄ポンプ5の間に配設したことにより、モータ8と洗浄ポンプ5の間に形成される空間を吸込み経路9として有効に利用することができるようになり、モータ8の上端部からポンプ5の下端部までの全体の高さを低くすることができ、貯水部4の側方に形成される洗浄槽1の下方の空間Sにコンパクト収容することができる。したがって、本体形状を大型化することなく洗浄槽1の容積を拡大して、洗浄可能な食器の量を多くすることができる他、洗浄可能な食器の量を少なくすることなく本体形状を小型化することができる。
また、洗浄ポンプ5の吸込み口13を、シール部10より径大としたことにより、筒状のシール部10の下端が吸込み口13に近接する場合でも、吸込み経路9から洗浄ポンプ5内へ洗浄水をスムーズに流入させることができ、その流動を容易にすることができる。そして、シール部10の直径D3と、吸込み口13の直径D2と、インペラ6の直径D1の関係は、D1>D2>D3に設定している。なお、吸込み口13は、必ずしも図2のような回転軸7を中心とした1つの孔である必要はなく、回転軸7から離れた位置に複数の孔を設けて構成することもできる。
(実施の形態2)
図4は、実施の形態2の洗浄ポンプおよびモータの拡大断面図を示したもので、洗浄ポンプ5は、インペラ6を正逆反転可能とし、正転時に洗浄水を洗浄ノズル15へ吐出して洗浄を行う第1の吐出口14と、反転時に洗浄水を吐出して機外へ排水を行う第2の吐出口17を設けている。上記第1の吐出口14と第2の吐出口17は、少なくとも一方の中心Aをインペラ6の高さ範囲B内に位置するように設定している。
この構成によれば、1つのモータと1つのポンプで洗浄と排水を行うことができ、構成の簡略化と薄型化を促進することができるとともに、インペラ6の回転によるポンプ能力を高めて洗浄水を効率よく吐出することができる。したがって、洗浄時には食器等の洗浄効果を高めることができるとともに、排水時には排出時間を短縮することができる。
なお、上記実施の形態1で記載した各構成、ならびに実施の形態2は必ずしも一体で構成する必要はなく、独自に実施することができる。
以上のように、本発明にかかる食器洗い機は、本体形状を大型化することなく洗浄槽の容積を拡大して、洗浄可能な食器の量を多くすることができるので、コンパクトな本体形状で多量の食器を洗浄できる食器洗い機として有用である。
本発明の実施の形態1の食器洗い機の断面図 同食器洗い機の洗浄ポンプおよびモータの拡大断面図 同食器洗い機の洗浄ポンプの内部平面図 本発明の実施の形態2の食器洗い機の洗浄ポンプおよびモータの拡大断面図 従来の食器洗い機の要部断面図
符号の説明
1 洗浄槽
4 貯水部
5 洗浄ポンプ
6 インペラ
7 回転軸
8 モータ
9 吸込み経路
10 シール部
13 吸込み口
15 洗浄ノズル

Claims (8)

  1. 貯水部を有した洗浄槽と、前記貯水部の洗浄水を加圧する洗浄ポンプと、前記洗浄ポンプによって加圧された洗浄水を前記洗浄槽内に噴射する洗浄ノズルと、前記洗浄ポンプを駆動するモータとを具備し、前記洗浄ポンプは遠心式とし、インペラの回転軸と前記モータの回転軸を同心として略鉛直方向に構成するとともに、前記洗浄ポンプの吸込み経路を前記洗浄ポンプとモータとの間に設けた食器洗い機。
  2. 吸込み経路は、洗浄ポンプを駆動するモータの回転軸のシール部を囲むように構成した請求項1記載の食器洗い機。
  3. 洗浄ポンプをモータの下方に配設するとともに、前記洗浄ポンプの吸込み口を同洗浄ポンプの上部に設けた請求項1または2記載の食器洗い機。
  4. 吸込み口をシール部より径大とした請求項2または3記載の食器洗い機。
  5. 吸込み口は、吸込み経路からインペラの内側に洗浄水を供給する構成とした請求項4記載の食器洗い機。
  6. 吸込み経路を構成する蓋体を有し、前記蓋体にシール部を設けた請求項2〜5のいずれか1項に記載の食器洗い機。
  7. 洗浄ポンプは、インペラを正逆反転可能とし、正転時に洗浄水を洗浄ノズルへ吐出して洗浄を行う第1の吐出口と、反転時に洗浄水を吐出して排水を行う第2の吐出口を設けた請求項1〜6のいずれか1項に記載の食器洗い機。
  8. 第1の吐出口と第2の吐出口は、少なくとも一方の中心をインペラの高さ範囲内に位置するように設定した請求項7記載の食器洗い機。
JP2004112957A 2004-04-07 2004-04-07 食器洗い機 Pending JP2005296094A (ja)

Priority Applications (1)

Application Number Priority Date Filing Date Title
JP2004112957A JP2005296094A (ja) 2004-04-07 2004-04-07 食器洗い機

Applications Claiming Priority (1)

Application Number Priority Date Filing Date Title
JP2004112957A JP2005296094A (ja) 2004-04-07 2004-04-07 食器洗い機

Publications (1)

Publication Number Publication Date
JP2005296094A true JP2005296094A (ja) 2005-10-27

Family

ID=35328373

Family Applications (1)

Application Number Title Priority Date Filing Date
JP2004112957A Pending JP2005296094A (ja) 2004-04-07 2004-04-07 食器洗い機

Country Status (1)

Country Link
JP (1) JP2005296094A (ja)

Citations (2)

* Cited by examiner, † Cited by third party
Publication number Priority date Publication date Assignee Title
JPS62117298U (ja) * 1986-01-17 1987-07-25
JPH1043120A (ja) * 1996-08-01 1998-02-17 Zojirushi Corp 食器洗い機用ポンプ

Patent Citations (2)

* Cited by examiner, † Cited by third party
Publication number Priority date Publication date Assignee Title
JPS62117298U (ja) * 1986-01-17 1987-07-25
JPH1043120A (ja) * 1996-08-01 1998-02-17 Zojirushi Corp 食器洗い機用ポンプ

Similar Documents

Publication Publication Date Title
JP6407290B2 (ja) シンク式洗浄機
CN101406382B (zh) 餐具清洗机
KR102695818B1 (ko) 식기세척기
JP2005296094A (ja) 食器洗い機
JP2008167961A (ja) 食器洗い機
JP2008167960A (ja) 食器洗い機
JP2010264160A (ja) 食器洗い機
KR20230040717A (ko) 나노버블이 적용된 식기세척기
JP4400318B2 (ja) ポンプおよびこのポンプを備えた食器洗い機
JP2004060620A (ja) リバーシブルポンプ及び食器洗い機
JP3661390B2 (ja) 食器洗い機
JP4444009B2 (ja) 食器洗い機
JP4830783B2 (ja) 食器洗い機
JP2005296533A (ja) 食器洗い機
JP4548106B2 (ja) 食器洗い機
KR101048204B1 (ko) 식기세척기용 펌프하우징
JP4121290B2 (ja) ポンプ及び食器洗い機
JP2000237114A (ja) 食器洗浄機
JP4561466B2 (ja) 食器洗い機
JP4339010B2 (ja) 食器洗い機
JP4602234B2 (ja) 食器洗い機
JP2014054401A (ja) 食器洗い機
JP4412717B2 (ja) 食器洗い機
JP4650347B2 (ja) 食器洗い機
JP3787918B2 (ja) 食器洗浄機

Legal Events

Date Code Title Description
A621 Written request for application examination

Free format text: JAPANESE INTERMEDIATE CODE: A621

Effective date: 20070305

RD01 Notification of change of attorney

Free format text: JAPANESE INTERMEDIATE CODE: A7421

Effective date: 20070412

A131 Notification of reasons for refusal

Free format text: JAPANESE INTERMEDIATE CODE: A131

Effective date: 20090818

A521 Request for written amendment filed

Free format text: JAPANESE INTERMEDIATE CODE: A523

Effective date: 20091015

RD01 Notification of change of attorney

Free format text: JAPANESE INTERMEDIATE CODE: A7421

Effective date: 20091120

A02 Decision of refusal

Free format text: JAPANESE INTERMEDIATE CODE: A02

Effective date: 20100420