JP2005295898A - 苗移植機 - Google Patents
苗移植機 Download PDFInfo
- Publication number
- JP2005295898A JP2005295898A JP2004117235A JP2004117235A JP2005295898A JP 2005295898 A JP2005295898 A JP 2005295898A JP 2004117235 A JP2004117235 A JP 2004117235A JP 2004117235 A JP2004117235 A JP 2004117235A JP 2005295898 A JP2005295898 A JP 2005295898A
- Authority
- JP
- Japan
- Prior art keywords
- seedling
- pair
- groove
- seedling planting
- wheels
- Prior art date
- Legal status (The legal status is an assumption and is not a legal conclusion. Google has not performed a legal analysis and makes no representation as to the accuracy of the status listed.)
- Pending
Links
Images
Landscapes
- Transplanting Machines (AREA)
Abstract
【課題】畝間の溝部に植え付ける苗の植付姿勢を向上させると共に、苗植付位置をより溝部の左右中央に植付け可能にした苗移植機を提供すること。
【解決手段】畝上を走行する進行方向に向かって左右の一対の後輪7,7と機体を支持し、畝間に形成される溝部を走行する一対の前輪6,6と苗を畝間の溝部に植え付ける苗植付装置4aと、該苗植付装置4aで苗を植え付けた後に苗の周囲の土を鎮圧する一対の鎮圧輪38、38とを備え、苗植付装置4aで苗を植え付ける位置及び前記一対の鎮圧輪38、38の各下端部が左右一対の前輪6,6のそれぞれの接地箇所より機体左右内側に位置するような構成とした苗移植機である。
【選択図】図1
【解決手段】畝上を走行する進行方向に向かって左右の一対の後輪7,7と機体を支持し、畝間に形成される溝部を走行する一対の前輪6,6と苗を畝間の溝部に植え付ける苗植付装置4aと、該苗植付装置4aで苗を植え付けた後に苗の周囲の土を鎮圧する一対の鎮圧輪38、38とを備え、苗植付装置4aで苗を植え付ける位置及び前記一対の鎮圧輪38、38の各下端部が左右一対の前輪6,6のそれぞれの接地箇所より機体左右内側に位置するような構成とした苗移植機である。
【選択図】図1
Description
本発明は、畑用の苗移植機の技術分野に属する。
昇降駆動するリンク機構と連結して昇降動作する開閉可能なくちばし状の苗植付け具と、走行装置と、操縦ハンドルとを備えた歩行型の苗移植機の中には、畝上を走行する駆動輪の前方に畝間の溝端に沿って走行する案内輪を設け、溝に苗を植付ける苗移植機がある。
特開平8−56432号公報
畝の間の溝部に苗を植付ける苗移植機においては、駆動輪が畝上を走行するため、溝に植える苗の左右方向位置がずれ易くなる。また、上記引用文献では溝への追従性を向上させるために前輪を畝端に沿わせて走行させているが、機体の前側のみで走行機体を支持するので機体の後方で苗を植え付ける時に苗を植え付ける位置が左右方向にずれが生じる場合がある。
本発明の課題は、畝間の溝部に植え付ける苗の植付姿勢を向上させると共に、苗植付位置をより溝部の左右中央に植付け可能にした苗移植機を提供することである。
本発明の上記課題は、次の解決手段により解決される。
請求項1記載の発明は、畝間に形成される一つの溝部を走行する左右一対の走行回転体(実施例では前輪6又はクローラ30)と、苗を溝部に植え付ける苗植付装置4aと、該苗植付装置4aで植え付けた苗の側方近傍の土を鎮圧する左右一対の鎮圧輪38,38とを設け、前記苗植付装置4aで苗を植え付ける箇所及び一対の鎮圧輪38,38の各接地箇所が左右の走行回転体それぞれの接地箇所より機体左右方向内側に位置する構成とした苗移植機である。
請求項1記載の発明は、畝間に形成される一つの溝部を走行する左右一対の走行回転体(実施例では前輪6又はクローラ30)と、苗を溝部に植え付ける苗植付装置4aと、該苗植付装置4aで植え付けた苗の側方近傍の土を鎮圧する左右一対の鎮圧輪38,38とを設け、前記苗植付装置4aで苗を植え付ける箇所及び一対の鎮圧輪38,38の各接地箇所が左右の走行回転体それぞれの接地箇所より機体左右方向内側に位置する構成とした苗移植機である。
請求項2記載の発明は、前記苗植付装置4aは前記左右一対の走行回転体の機体前後方向の後側に設け、該苗植付装置4aの機体前後方向の後側には畝間の溝部に隣接する左右の畝の傾斜側面の上下方向に沿って当接し、当接した状態で移動する機体左右方向上開きの左右一対のガイド体61,61を設け、該ガイド体61,61の傾斜角度の調節、及び機体左右方向の位置調節を可能に構成した請求項1記載の苗移植機である。
請求項3記載の発明は、前記畝溝に隣接する畝上を走行する左右一対の走行体7,7を設け、該走行体7,7は前記左右一対の走行回転体とガイド体61,61との機体前後方向の間に設けた請求項2記載の苗移植機である。
請求項1記載の発明によれば、畝の間の溝に苗を植付ける時に左右一対の走行回転体(実施例では前輪6又はクローラ30)が当該溝内を走行し、苗植付装置4aは左右一対の走行回転体のそれぞれの接地箇所より機体左右方向内側に苗を植えつける。そして、植え付けた苗の側方近傍を鎮圧輪38,38で覆土する。
そのため、左右一対の走行回転体で固められていない溝部に苗を植え付け、かつ、鎮圧輪38,38で土を覆土することができるので、苗を植え付け易くすることができる。
請求項2記載の発明によれば、苗植付装置4aの前方では左右一対の前記走行回転体が、植付装置の後方では左右一対のガイド体61,61がそれぞれ機体を支持し、左右一対の前記走行回転体とガイド体61,61とが溝部の両端と畝の傾斜面にそれぞれ沿って移動することで、苗植付け作業時の苗移植機の機体前後方向、及び左右方向の機体バランスを向上させ、機体の直進性を向上させることができ、苗植付位置を安定させることができる。また、ガイド体は溝の幅や畝の傾斜角度に応じて調節できるので、様々な畝の状態に適した走行をすることができる。
請求項3記載の発明によれば、畝溝に隣接する畝上を走行する走行体7,7を前記左右一対の走行回転体とガイド体61,61との機体前後方向の間に設けたことで、苗植付装置4aを前後左右から支持することができるため、苗植付け作業時の機体の走行をより安定させることができる。
本発明の実施例では、さとうきび等の側枝苗と呼ばれる苗の移植用の苗移植機を例にして図面と共に説明する。本実施例の苗移植機は、走行装置1と操縦ハンドル2を備えた機体に、昇降駆動するリンク機構3と連結して昇降動作する開閉可能なくちばし状の苗植付装置4aを備えた構成としている。
なお、以下の各実施例についての説明で前又は後というときは、操縦ハンドル2を配置した側を後とし、その反対側、即ちエンジン5を配置した側を前とする。そして、右又は左というときは、機体後部において機体前部側を前側として立つ作業者から見て右手側を右とし、左手側を左としていう。
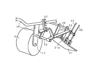
図1、図2及び図3に本発明の実施例1の苗移植機の側面図、平面図及び背面図を示す。
苗移植機は、走行装置1と操縦ハンドル2を備えた機体に、昇降駆動するリンク機構3と連結して昇降動作する開閉可能なくちばし状の苗植付装置4aを備えた構成としている。
苗移植機は、走行装置1と操縦ハンドル2を備えた機体に、昇降駆動するリンク機構3と連結して昇降動作する開閉可能なくちばし状の苗植付装置4aを備えた構成としている。
走行装置1は、図示例では、エンジン5と、該エンジン5の動力が伝達されて駆動回転する左右一対の後輪7,7と、転動自在に支持した左右一対の前輪6,6とを備えたものとしている。
エンジン5の後部には、ミッションケース8を配置し、そのミッションケース8は、その左側部からエンジン5の左側方に延びるケース部分を有し、これがエンジン5の左側部と連結している。このケース部分にエンジン5の出力軸が入り込んでミッションケース8内の伝動機構に動力が伝達する構成となっている。ミッションケース8の左右両側部に伝動ケース9,9を回動自在に取り付け、この伝動ケース9,9の回動中心にミッションケース8から左右両外側方に延出させた車輪駆動軸9Aの先端が入り込んで伝動ケース9,9内の伝動機構に走行用の動力を伝達している。そして、走行用の動力は伝動ケース9,9内の伝動機構を介して、機体後方側に延びてその後端側側方に突出する車軸10,10に伝動し、後輪7,7が駆動回転するようになっている。
また、伝動ケース9,9のミッションケース8への取付部には、上方に延びるアーム11,11を一体的に取り付けていて、該アーム11,11間に昇降用油圧シリンダ12の基部が回動自在に連結している。
昇降用油圧シリンダ12のピストンロッド先端に上下軸心周りに回動自在に天秤杆13が取り付られている。また、天秤杆13の連結部の右側はロッド12aで連結し、左側は伸縮作動可能な左右水平制御用油圧シリンダ15で連結している。
昇降用油圧シリンダ12が作動してそのピストンロッドが機体後方に突出すると、左右水平制御用油圧シリンダ15およびロッド12aが後方に回動し、これに伴い伝動ケース9,9が下方に回動して、機体が上昇する。反対に、昇降用油圧シリンダ12のピストンロッドが機体前方に引っ込むと、左右の前記アーム11,11は前方に回動し、これに伴い伝動ケース9,9が上方に回動して、機体が下降する。この昇降用油圧シリンダ12は、機体に対する畝上面高さを検出するセンサーS0の検出結果に基づいて機体を畝上面高さに対して設定高さになるよう作動するよう構成しており、また、操縦ハンドル2近傍に配置した操作具の人為操作によって機体を上昇或は下降させるよう作動する構成ともしている。
また、前記左右水平制御用油圧シリンダ15が伸縮作動すると、前記天秤杆13が、その左右中央部の昇降用油圧シリンダ12のピストンロッド先端と連結する上下軸心周りに回動して左右の伝動ケース9,9を互い違いに上下動させ機体を左右に傾斜させる。この左右水平制御用油圧シリンダ15は、左右水平に対する機体の左右傾斜を検出するセンサの検出結果に基づいて機体を左右水平になるように作動する構成にしている。
一対の前輪6,6は、エンジン5の下方の左右中央位置で前後方向の軸心周りに回動自在に取り付けた前輪支持フレーム16の左右両側部の下方に延びるアーム部分の下端部側方に固定した車軸17に回転自在に取り付けている。
操縦ハンドル2は、ミッションケース8に前端部を固定した機体フレーム14の後端部に取り付けられている。機体フレーム14は、機体の左右中央から右側に偏った位置に配置されて後方に延び、また、前後中間部から斜め後上方に延びている。操縦ハンドル2は、機体フレーム14の後端部から左右に後方に延びてその各後端部を操縦ハンドル2のグリップ部2a,2aとしている。操縦ハンドル2の左右のグリップ部2a,2aは、作業者がそのグリップ部2a,2aを楽に手で握れるように適宜高さに設定する。なお、図例ではグリップ部2a,2aを左右に分かれた構成としているが、操縦ハンドル2の左右の後端部を互いに左右に連結してその連結部分をグリップ部2a,2aとしても良い。
リンク機構3は、ミッションケース8内から苗植付け具駆動用の動力を受けて伝動する伝動機構を内装する植付け伝動ケース18に装着している。図例のように植付け伝動ケース18は、その前部がミッションケース8の後部に連結し、そこから後斜め上方に延びる第一ケース部18aと、この第一ケース部18aの上部左側部に固定され、左側方に延びる第二ケース部18bと、その第二ケース部18bの左端部に固定され、後斜め下方に伸びる第三ケース部18cと、その第三ケース部18cの下端部外側部に固定され、左側方に伸びる第四ケース部18dと、その第四ケース部18dの左端部に固定され後方水平状に伸びる第五ケース部18eを有するものとしている。これら第一ケース部18a〜第五ケース部18e内にリンク機構3を昇降駆動するための動力を伝達する伝動機構を内装している。
なお、第一ケース部18a内に内装した伝動機構には、リンク機構3及び苗植付装置4aをその昇降動最上位の位置で、又はその近傍位置で設定時間停止させる間欠駆動機構と、リンク機構3及び苗植付装置4aの昇降動を停止させるクラッチ機構とを備えている。間欠駆動機構によって停止する時間は、該間欠駆動機構が備える変速機構によって調節され、この調節によって苗植付装置4aによる苗植付株間が変更調節されるようになっている。
そして、リンク機構3は、苗植付装置4aの前側に設けた左右方向の軸19の左右中間部に回動自在に連結する第一昇降アーム20と、苗植付装置4aの後側に設けた左右方向の軸21の左側部に回動自在に連結する第二昇降アーム22とを備える。
詳細は省略するが、第一昇降アーム20と第二昇降アーム22とが揺動しながら昇降動し、その結果、苗植付装置4aの下端部が側面視で上下に長い略楕円形状の軌跡Tで昇降動する。
苗植付装置4aには、下方に向かって伸びる左側くちばし部4aLと右側くちばし部4aRを設けている。そして、落下した苗を収納した苗植付装置4aはリンク機構3によって、側面視で上下に長い略楕円形状の軌跡Tに従って下降して圃場内に挿入され、左側くちばし部4aLと右側くちばし部4aRが機体左右方向に開放すると苗が圃場に植え付けられ、その後に苗植付装置4aが上昇する。
苗植付装置4aの下端部が左側方から見て反時計回りに略楕円形状の軌跡Tで昇降回動する。従って、作業走行しながら苗植付装置4aが上記回転方向で前記軌跡Tを描くように昇降回動すると、軌跡Tの下端部で苗植付装置4aの下端部が圃場の畝Uの土壌中に苗を植付け、くちばし状の苗植付装置4aは、機体左右方向に開いて苗植付装置4a内の苗を畝Uの土壌に放出する。そのため、苗植付装置4aで苗の左右方向の隣接する畝の斜面に寄せられた土が、再度苗の周辺に流入し易くなり、より鎮圧輪38,38で覆土し易くなる。また、機体左右方向に開くことで、苗を溝部の土壌中に植え付けて挿して上昇するときに植え付けた苗に苗植付装置4aがあたって苗の植付姿勢を乱すことを防止することができる。これは特にサトウキビ等のように30cm以上もある長い苗を植え付ける場合に効果がある。
苗供給装置4はスプロケット51,51の一方の回転軸51aと第一ケース部18aとを自在継ぎ手53a及び伝動軸53bを介して連結することでエンジンからの動力を伝動して左右のスプロケット51,51を回転駆動させて苗供給カップ40を周回移動させる構成としている。
苗供給装置4の上方には、多数の苗供給カップ40が等間隔で連結され、苗供給カップ40の周回移動軌跡に沿う移動を案内するガイド体35,35を苗供給カップ40…の周回移動軌跡の内側と外側とにそれぞれ設けている。これにより、苗供給カップ40…の周回移動が適確且つ円滑に行われる。
また移動作用体51,51は図示しないラチェットアームなどの回動規制部材により、第一ケース部18a内の駆動機構からロッドを介して間欠的に駆動制御され、順次苗供給カップ40が移動作用体51,51により回動する。
また、ハンドル操作を行う作業者はハンドル2に設けた主クラッチレバー27を操作して主クラッチの入切操作を行うことができるが、苗案内体41の近傍で苗供給作業を行っている作業者も主クラッチの入切操作を行うことができるように苗案内体41の近傍にサブクラッチレバー28を設けているので、主クラッチの入切操作を苗供給作業中の作業者も即座に行うことができ、何らかの危険を回避する場合などに苗供給作業を行っている作業者も作業走行を停止させることができる。
なお、苗植付装置4aによって畝Uに植付けられた苗に対して左右から覆土し鎮圧する転動自在な鎮圧輪38が左右一対設けられている。鎮圧輪38は支持フレーム14に端部が支持された揺動アーム33から伸びる支持アーム34に回動自在に支持されている。
また、鎮圧輪38は鎮圧輪固定レバー37により、圃場に対して非接地状態まで上昇させた位置で固定させる。また重り36は鎮圧輪38の鎮圧効果をさらに増強させるためのものである。
上記苗移植機は、畝Uの間にある溝の中央部に苗を植え付ける溝植用の苗移植機であり、左右一対の前輪6,6が畝間の溝を走行し、一対の後輪7,7が隣接する畝Uの上を走行する。図3の背面図に示すように左右一対の鎮圧輪38,38は機体の背面視で逆「ハ」字状態に傾斜配置され、鎮圧輪38,38の接地箇所が前輪6,6の接地箇所より機体左右方向内側に位置する構成としている。そして苗植付装置4aは左右一対の前輪6,6の接地箇所より機体左右方向内側、すなわち、前輪6,6で走行していない土壌の部分に苗を植えつける。そして、苗を植え付けた後、鎮圧輪38,38で苗の周辺を覆土する。
このような構成にすることで、一対の前輪6,6で踏み固められていない箇所に苗を植え付け、そして鎮圧輪38,38で土を鎮圧するので、苗を植え付け易く、苗の植え付け姿勢を良好にすることができる。
また、図12の平面図に示すように畝Uの間にある溝の中で横幅が、溝の幅とほぼ同じ単一の前輪6’を用いる場合には、溝の床面と接する前輪面がフラットに成っているので前輪6’で溝の床面を平らにする。平らになった後の溝床面高さをセンサS0がセンシングするので、センサーS0が適切に溝床面高さを検出するので、該検出結果に基づいて機体を溝の床面高さに対して設定高さになるよう作動させることができる。また、苗の植付深さの制御にも用いることができる。
また、溝床面に植付溝を作るための突起SaをセンサS0の底面の中央部に設けた(図4参照)。このため苗の植付位置での苗植付具4aの先端の溝床面に対する差し込みが容易に成る。
本実施例の苗移植機は、後輪7、7が畝上を走行するため、畝の終端部で急激な段差部分で機体が落下するおそれがある。そこで前記センサS0の他に畝面の高さを検出する畝上センサS1(図1)を一方の前輪6の外側の畝面に接触するように設けて、前記センサS0と併用しても良い。この畝上センサS1が、畝の終端を検知すると機体を自動的にリフトさせる機構を設けておくと、畝の終端部を通過したときの急激な段差部分で機体が落下して苗植付装置等が大きな衝撃を受けることを防止できる。また、図5に示すように畝上センサS1は上下方向に設置位置を調節可能に機体に取付けることで、各種の畝形状への適応性を高めることができる。
前輪支持フレーム16には、前輪6の車軸17と平行な向きにロッド49が固定されており、該ロッド49に設けた一対のプレート50の端部に平板状の畝上センサS1が回動自在に取り付けられている。また前輪6の車軸17を支持するフレーム16から前輪6の車軸17と平行な向きに伸びたロッド52に基部側を回動自在に取り付けたプレート53を設け、該プレート53の先端部側に畝上センサS1と連動する畝上センサケーブル55とメイン油圧ケーブル48を途中部分を固定させる。また前記ロッド52に回動自在に設けたプレート53の基部側には畝上センサS1の上下位置を変更できる複数段の高さ位置調整部材57を取り付けている。
油圧シリンダ12用の制御バルブ連動部材は機体が畝の終端を通過して畝上げセンサS1が回動支点S1aを中心に下方に所定量以上下がると、メイン油圧ケーブル48が引かれ、該ケーブル48が引かれると油圧シリンダ12が作動して後輪7を車輪駆動軸9Aを中心に下向きに回動させ、機体を上昇させる。
また、図6に示すように畝上センサS1が畝の終端の通過を検知すると作動する警報装置56を設けておけば、警報により作業者は容易に畦終まいを知ることができ、より安全になる。この場合、前記機体の自動リフト機構に比べて、構成が簡略化できる利点がある。図6の畝上センサS1の斜視図にあるように、畝上センサケーブル55とメイン油圧ケーブル48の他に前輪支持フレーム16に固定したロッド49に設けた一対のプレート50(2つの内の1つしか図示していない)の一方に警報装置56と該警報装置56のスイッチ56aを設けておき、メイン油圧ケーブル48が緩んでいる時にだけ、センサーS1が回動して、その一部がスイッチ56aに触れて警報装置56を入力状態にさせると、警報を発する構成である。
図7には畝溝中を走行する一輪式の前輪6’の外周に耕耘用突起6aを設けた構成を示す。この耕耘用突起6aで溝床面を耕耘し、苗の植付面をやわらかくし、苗の植え付けが容易に行えるようにすることができる。該耕耘用突起6aを回転させるための駆動力はトランスミッションケース8から突出させた回動軸からベルト58とプーリ59a,59bを用いて、前輪6の車軸17に駆動力を伝達することで行う。
これは畝の溝を畝成形板により成形するときに溝床面が堅く締まるので、苗の植付が上手にできないことがあるので、溝部の苗植付け箇所を耕耘して柔らかくしておくことで植付けが容易になる。
また、図1の苗植付装置4aの後方に左右一対のガイド輪61,61を設ける。図9(b)に示すように、畝の側面に沿うように上広がりに正面視略ハの字状に傾斜配置されており、高さ位置の調整(矢印N方向)と左右幅方向の配置位置を調整(矢印M方向)と揺動アーム33に設けられた回動支点44aを中心に回動(矢印O方向)できる構成にしている。具体的な構成を説明すると、ガイド輪61,61は機体方向左右内側に向かって屈曲形成する屈曲軸39の一端側に摺動自在に取り付けており、屈曲軸39の他端側は揺動アーム33に取り付けているプレート44に摺動自在(矢印M方向)に取り付けている。また、プレート44は44aを支点に正面視で上下方向に回動可能に構成している。
ガイド輪61,61を溝の幅にあわせるよう調節するときは屈曲軸39をプレート44に沿って摺動させる。そして、畝の傾斜角度に合わせるよう調節するときはプレート44を回動支点44aを中心に回動させる。また、ガイド輪61,61を屈曲軸39に沿って摺動させることで、畝の傾斜面のうち所望の場所に設定することができる。
本実施例ではガイド輪61,61を一対の鎮圧輪38,38の機体前後方向の後方に設けているが、鎮圧輪38,38と後輪7,7との機体前後方向の間に設けても良い。
これら、図8〜図9に示す構成により、前輪6,6と鎮圧輪38,38の後ろのガイド輪61,61で溝をガイドしながら走行するので、図1に示す苗移植機の構成に比べて溝追従性が良くなり、直進走行性もより良くなる。
また、畝上を走行する走行体7,7を案内輪とガイド輪との機体前後方向の間に設けることで、苗植付装置を前後左右から支持することができるため、苗植付け作業時の機体の走行をより安定することができる。
また、図10に苗移植機の側面図(図10(a))と前輪部分の正面図(図10(b))を示すように一対の前輪6,6と鎮圧輪38,38の間に溝内を走行する中央ガイド輪62,62を設けると、畝上を走行する後輪7,7が溝に落下しても、機体が急に落ちることがないので、機体保護ができる。
また、図11の側面図と図12の平面図に示すように、畝間の溝に更に溝を切りながら前進できる溝切り板63,63を前輪6’の後方に設置すると、溝切り板63,63でできた溝に長い側枝苗を植え付け易くなる。
図13に側面図を示す本実施例の苗移植機は、実施例1で用いていた前輪6に代えて一対のクローラ30,30を用い、実施例1の苗移植機の後輪7を用いないことが主要な相違点であり、図1等と同一部材には同一番号を付した。走行装置1と操縦ハンドル2を備えた機体に、昇降駆動するリンク機構3と連結して昇降動作する開閉可能なくちばし状の苗植付装置4aを備えた構成としている。
走行装置1は図示例ではエンジン5と該エンジン5の動力が伝達されて駆動回転する駆動輪30aと、従動輪30bとを巻回する左右一対のクローラ30,30を備え、溝部を走行する該クローラ30,30の後方に転動自在に支持した左右一対の鎮圧輪38,38を備えたものとしている。
苗植付装置4aの植え付け箇所と鎮圧輪38,38の接地箇所は駆動輪30aと従動輪30bより内側にあることで、走行すると特に土壌面に力が加わって固まり易くなる駆動輪30a、従動輪30bの幅内の土壌面ではない箇所に苗を植え付けることができるため、より苗を植え付け易くなる。また、本図示例では鎮圧輪接地箇所とクローラ30,30の接地箇所とが一部オーバーラップしているがクローラ30,30の内側にする構成とすることで、より苗を植えつけた後、鎮圧輪38で苗の側方近傍を鎮圧して覆土し易くすることができる。
エンジン5の後部にはミッションケース8を配置し、そのミッションケース8は、その左側部からエンジン5の左側方に延びるケース部分を有し、これがエンジン5の左側部と連結している。このケース部分にエンジン5の出力軸が入り込んでミッションケース8内の伝動機構に動力が伝達する構成となっている。ミッションケース8の左右両側部にはミッションからの動力を伝動する伝達機構を内蔵する左右一対の第一伝動ケース9a,9aがミッションケース8に対して上下方向回動自在に取り付けられており、また第一伝動ケース9aの先端部には、該第一伝動ケース9a内の駆動機構からクローラ駆動用の駆動輪30aに動力を伝達する伝動機構を備えた左右一対の第二伝動ケース9b,9bが設けられている。
この第二伝動ケース9b,9bは第一伝動ケース9aに固着されており、該第一伝動ケース9aが回動中心軸9Aを中心に回動すると、それに連動して上下方向に移動してクローラ30を上下動させる。この結果、圃場面に対して機体を上下動させることができる。
また、伝動ケース9a,9aのミッションケース8への取付部には、上方に延びるアーム11,11を一体的に取り付けていて、該アーム11,11間を結ぶロッドに昇降用油圧シリンダ(図示せず)の基部が回動自在に連結している。
ミッションケース8に固定された図示しない昇降用油圧シリンダのピストンロッド先端に上下軸心周りに回動自在に天秤杆13が取り付けられている。たの左右両側部と連結している。その連結部の右側はロッド12aで連結し、左側は伸縮作動可能な左右水平制御用油圧シリンダ15で連結している。
昇降用油圧シリンダが作動してそのピストンロッドが機体後方に突出すると、左右の前記アーム11,11は後方に回動し、これに伴い伝動ケース9a,9a、9b,9bが下方に回動して、機体が上昇する。反対に、昇降用油圧シリンダのピストンロッドが機体前方に引っ込むと、左右の前記アーム11,11は前方に回動し、これに伴い伝動ケース9a,9a、9b,9bが上方に回動して、機体が下降する。この昇降用油圧シリンダ12は、機体に対する畝上面高さを検出するセンサーS0の検出結果に基づいて機体を畝上面高さに対して設定高さになるよう作動するよう構成しており、また、操縦ハンドル2近傍に配置した操作具の人為操作によって機体を上昇或は下降させるよう作動する構成ともしている。
また、前記左右水平制御用油圧シリンダ15が伸縮作動すると、前記天秤杆13が、その左右中央部の昇降用油圧シリンダのピストンロッド先端と連結する上下軸心周りに回動して左右の伝動ケース9a,9a、9b,9bを互い違いに上下動させ機体を左右に傾斜させる。この左右水平制御用油圧シリンダ15は、左右水平に対する機体の左右傾斜を検出するセンサの検出結果に基づいて機体を左右水平になるように作動する構成にしている。
リンク機構3及び苗植付装置4aは実施例1と同一構成であるので説明は省略する。
リンク機構3及び苗植付装置4aは実施例1と同一構成であるので説明は省略する。
前記センサS0は一対のクローラ30,30の間にあるスペースを利用して畝Uの間の溝床面に達するように取り付ける。そのため、苗植付け箇所を確実に検出することができるので、苗の植え付け深さの精度をより向上させることができる。
左右一対のクローラ30,30と左右一対の鎮圧輪38,38が畝間の溝を走行する。一対のクローラ30,30が溝内にあるので、機体の直進走行性を良く維持でき、しかもクローラ30,30が一対あることで、旋回性も確保できる。すなわち、クローラ30,30の旋回は各クローラ30にエンジン駆動力を伝達する伝動機構にそれぞれサイドクラッチ(図示せず)を設けているので、これらサイドクラッチの入・切により行うことができ、車輪を用いる場合より容易に旋回操作ができる。
さらに、補助の苗を載置する苗載置部45が機体に設けられた支持アーム43によって支持される。
さらに、補助の苗を載置する苗載置部45が機体に設けられた支持アーム43によって支持される。
前記操縦ハンドル2は、ミッションケース8に前端部を固定した支持フレーム14の後端部に取り付けられている。機体フレーム14は、機体の左右中央から右側に偏った位置に配置されて後方に延び、また、前後中間部から斜め後上方に延びている。操縦ハンドル2は、支持フレーム14の後端部から左右に後方に延びてその各後端部を操縦ハンドル2のグリップ部2a,2aとしている。操縦ハンドル2の左右のグリップ部2a,2aは、作業者がそのグリップ部2a,2aを楽に手で握れるように適宜高さに設定する。なお、図例ではグリップ部2a,2aを左右に分かれた構成としているが、操縦ハンドル2の左右の後端部を互いに左右に連結してその連結部分をグリップ部としても良い。
また、上記走行装置1は、一対のクローラ30,30で走行する構成であるが、一対のクローラ30,30に代えて左右一対の駆動輪を前輪として、さらに後輪も設けた構成としたものでも良い。
図14の側面図及び図15の背面図には、前記クローラ式の苗移植機において、機体の両サイドに一対の補助輪65,65を設け、その補助輪65,65はセンサS2により検出される畝上面の高さに上下位置を調整できる構成にした例を示す。クローラ30,30で畝間の溝を走行させているが、溝幅が狭い場合には機体が振れて安定走行ができなくなる。そのような場合に、図Bに示す機体両側に畝の高さに対応して上下位置を調整できる補助輪40,40を設けた構成から成る苗移植機を用いると、安定した走行ができる。
図17には本実施例の変形例のクローラ30,30の駆動機構を備えたケース内の要部断面図を示すが、クローラ30,30の首振りが可能な構成例である。
トランスミッションケース8内の駆動系からギア機構を介して左右のクローラに動力伝達される。このときクローラ30,30のギア機構を収納したケース68とトランスミッションケース8内の駆動系からギア機構を収納したケース69との接合部を回動自在に組み付け、前記2つのギア機構収納ケース68,69の接合部を回動させることでクローラ30,30を首振り可能な構成とする。そして、詳述はしないが、クローラ首振り角度がある一定以上になると、クローラの首振りと逆の方のサイドクラッチが切れて機体を修正する構成にすることで、溝追従性を向上させることができる。
トランスミッションケース8内の駆動系からギア機構を介して左右のクローラに動力伝達される。このときクローラ30,30のギア機構を収納したケース68とトランスミッションケース8内の駆動系からギア機構を収納したケース69との接合部を回動自在に組み付け、前記2つのギア機構収納ケース68,69の接合部を回動させることでクローラ30,30を首振り可能な構成とする。そして、詳述はしないが、クローラ首振り角度がある一定以上になると、クローラの首振りと逆の方のサイドクラッチが切れて機体を修正する構成にすることで、溝追従性を向上させることができる。
前記クローラ30,30に首振機構を設けると、畝間に設けた溝への苗移植機の追従性が良くなる。また、詳述はしないが、クローラ首振り角度がある一定以上になると、クローラの首振りと逆の方のサイドクラッチが切れて機体を修正する構成にすることで、より溝追従性を向上させることができる。
また路上走行時など、首振り機構をロックするためには、ロック装置70を掛けることで二つのケース68,69の間の首振りを不能にする。
また、図16(a)の苗移植機の側面図と図16(b)のクローラ部分の正面図に示すように、畝Uの間の溝を走行する一対のクローラ30,30の間に溝床面の溝切り板66を設けることが望ましい。溝切り板66で溝床面に溝を設けると、該溝に容易に苗植付具4aが挿入できるので、苗の移植が容易になる。
本発明の苗移植機は、さとうきび側枝苗などの畝間の溝に植え付ける苗の移植機として利用可能性がある。
1 走行装置 2 操縦ハンドル
3 リンク機構 4a 苗植付け具
5 エンジン 6 前輪(二輪式)
6’ 前輪(一輪式) 7 後輪
8 ミッションケース 9 伝動ケース
9a 第一伝動ケース 9b 第二伝動ケース
10 車軸 11 アーム
12 昇降用油圧シリンダ 12a ロッド
13 天秤杆 14 機体フレーム
15 左右水平制御用油圧シリンダ 16 前輪支持フレーム
17 車軸 18 植付け伝動ケース
19、21 開閉支点 20 第一昇降アーム
22 第二昇降アーム 27 主クラッチレバー
28 サブクラッチレバー 30 クローラ
33、34 アーム 35 案内体
36 重り 37 鎮圧輪固定レバー
38 鎮圧輪 39 屈曲軸
40 苗供給カップ 41 案内体
43 アーム 44,50,53 プレート
45 苗置部 48 メイン油圧ケーブル
49 ロッド 51 スプロケット
52 ロッド 53a 自在継ぎ手
53b 伝動軸 55 畝上センサケーブル
56 警報装置 57 高さ位置調整部材
58 ベルト 59a,59b プーリ
61 ガイド輪 63,66 溝切り板
65 補助輪 68,69 ケース
70 ロック装置 U 畝
S0 センサ S1 畝上センサ
S2 センサ
3 リンク機構 4a 苗植付け具
5 エンジン 6 前輪(二輪式)
6’ 前輪(一輪式) 7 後輪
8 ミッションケース 9 伝動ケース
9a 第一伝動ケース 9b 第二伝動ケース
10 車軸 11 アーム
12 昇降用油圧シリンダ 12a ロッド
13 天秤杆 14 機体フレーム
15 左右水平制御用油圧シリンダ 16 前輪支持フレーム
17 車軸 18 植付け伝動ケース
19、21 開閉支点 20 第一昇降アーム
22 第二昇降アーム 27 主クラッチレバー
28 サブクラッチレバー 30 クローラ
33、34 アーム 35 案内体
36 重り 37 鎮圧輪固定レバー
38 鎮圧輪 39 屈曲軸
40 苗供給カップ 41 案内体
43 アーム 44,50,53 プレート
45 苗置部 48 メイン油圧ケーブル
49 ロッド 51 スプロケット
52 ロッド 53a 自在継ぎ手
53b 伝動軸 55 畝上センサケーブル
56 警報装置 57 高さ位置調整部材
58 ベルト 59a,59b プーリ
61 ガイド輪 63,66 溝切り板
65 補助輪 68,69 ケース
70 ロック装置 U 畝
S0 センサ S1 畝上センサ
S2 センサ
Claims (3)
- 畝間に形成される一つの溝部を走行する左右一対のと、苗を溝部に植え付ける苗植付装置4aと、該苗植付装置4aで植え付けた苗の側方近傍の土を鎮圧する左右一対の鎮圧輪38,38とを設け、前記苗植付装置4aで苗を植え付ける箇所及び一対の鎮圧輪38,38の各接地箇所が左右の走行回転体それぞれの接地箇所より機体左右方向内側に位置する構成としたことを特徴とする苗移植機。
- 前記苗植付装置4aは前記走行回転体の機体前後方向の後側に設け、該苗植付装置4aの機体前後方向の後側には畝間の溝部に隣接する左右の畝の傾斜側面の上下方向に沿って当接し、当接した状態で移動する機体左右方向上開きの左右一対のガイド体61,61を設け、
該ガイド体61,61の傾斜角度の調節、及び機体左右方向の位置調節を可能に構成したことを特徴とする請求項1記載の苗移植機。 - 前記畝溝に隣接する畝上を走行する左右一対の走行体7,7を設け、該走行体7,7は前記走行回転体とガイド体61,61との機体前後方向の間に設けたことを特徴とする請求項2記載の苗移植機。
Priority Applications (1)
| Application Number | Priority Date | Filing Date | Title |
|---|---|---|---|
| JP2004117235A JP2005295898A (ja) | 2004-04-12 | 2004-04-12 | 苗移植機 |
Applications Claiming Priority (1)
| Application Number | Priority Date | Filing Date | Title |
|---|---|---|---|
| JP2004117235A JP2005295898A (ja) | 2004-04-12 | 2004-04-12 | 苗移植機 |
Publications (1)
| Publication Number | Publication Date |
|---|---|
| JP2005295898A true JP2005295898A (ja) | 2005-10-27 |
Family
ID=35328194
Family Applications (1)
| Application Number | Title | Priority Date | Filing Date |
|---|---|---|---|
| JP2004117235A Pending JP2005295898A (ja) | 2004-04-12 | 2004-04-12 | 苗移植機 |
Country Status (1)
| Country | Link |
|---|---|
| JP (1) | JP2005295898A (ja) |
Cited By (5)
| Publication number | Priority date | Publication date | Assignee | Title |
|---|---|---|---|---|
| JP2009055830A (ja) * | 2007-08-31 | 2009-03-19 | Iseki & Co Ltd | 苗植機の姿勢制御装置 |
| JPWO2008023682A1 (ja) * | 2006-08-22 | 2010-01-14 | パナソニック株式会社 | 軟出力復号器、反復復号装置、及び軟判定値算出方法 |
| CN114679941A (zh) * | 2020-12-28 | 2022-07-01 | 常德市桃花源区鲜达农业发展有限公司 | 一种手扶式单人操作侧身植苗设备 |
| CN115250695A (zh) * | 2022-07-21 | 2022-11-01 | 山西平阳重工机械有限责任公司 | 一种甘蔗苗培土机构 |
| JP2024054042A (ja) * | 2022-10-04 | 2024-04-16 | みのる産業株式会社 | 作業台車 |
-
2004
- 2004-04-12 JP JP2004117235A patent/JP2005295898A/ja active Pending
Cited By (7)
| Publication number | Priority date | Publication date | Assignee | Title |
|---|---|---|---|---|
| JPWO2008023682A1 (ja) * | 2006-08-22 | 2010-01-14 | パナソニック株式会社 | 軟出力復号器、反復復号装置、及び軟判定値算出方法 |
| JP5116677B2 (ja) * | 2006-08-22 | 2013-01-09 | パナソニック株式会社 | 軟出力復号器、反復復号装置、及び軟判定値算出方法 |
| JP2009055830A (ja) * | 2007-08-31 | 2009-03-19 | Iseki & Co Ltd | 苗植機の姿勢制御装置 |
| CN114679941A (zh) * | 2020-12-28 | 2022-07-01 | 常德市桃花源区鲜达农业发展有限公司 | 一种手扶式单人操作侧身植苗设备 |
| CN115250695A (zh) * | 2022-07-21 | 2022-11-01 | 山西平阳重工机械有限责任公司 | 一种甘蔗苗培土机构 |
| CN115250695B (zh) * | 2022-07-21 | 2024-04-05 | 山西平阳重工机械有限责任公司 | 一种甘蔗苗培土机构 |
| JP2024054042A (ja) * | 2022-10-04 | 2024-04-16 | みのる産業株式会社 | 作業台車 |
Similar Documents
| Publication | Publication Date | Title |
|---|---|---|
| JP5276545B2 (ja) | 水田作業車 | |
| JP2005295898A (ja) | 苗移植機 | |
| JP5120282B2 (ja) | 作業機 | |
| JP4631314B2 (ja) | 苗移植機 | |
| JP5217419B2 (ja) | 移植機 | |
| JP4993069B2 (ja) | 苗移植機 | |
| JP2009153471A (ja) | 作溝装置 | |
| JP5417789B2 (ja) | 苗移植機 | |
| JP5617953B2 (ja) | 苗移植機 | |
| JP2011050287A (ja) | 苗移植機 | |
| JP5245663B2 (ja) | 苗移植機 | |
| JP5103262B2 (ja) | 移植機 | |
| JP5069169B2 (ja) | 移植機 | |
| JP6071817B2 (ja) | 苗移植機 | |
| JP3956054B2 (ja) | 歩行型の苗移植機 | |
| JP2010029073A (ja) | 畝溝植付用苗移植機 | |
| JP5103261B2 (ja) | 移植機 | |
| JP4200300B2 (ja) | 苗移植機 | |
| JP3815372B2 (ja) | 苗移植機 | |
| JP4345303B2 (ja) | 苗移植機 | |
| JP2008099571A (ja) | 複数条植え用苗移植機 | |
| JP2007295816A (ja) | 苗植機 | |
| JP2007074947A (ja) | 走行車両 | |
| JP2009165375A (ja) | 苗移植機 | |
| JP2005102568A (ja) | 苗移植機 |