JP2005295845A - 脱穀機 - Google Patents
脱穀機 Download PDFInfo
- Publication number
- JP2005295845A JP2005295845A JP2004114344A JP2004114344A JP2005295845A JP 2005295845 A JP2005295845 A JP 2005295845A JP 2004114344 A JP2004114344 A JP 2004114344A JP 2004114344 A JP2004114344 A JP 2004114344A JP 2005295845 A JP2005295845 A JP 2005295845A
- Authority
- JP
- Japan
- Prior art keywords
- dust
- case
- conveyor
- intermediate processing
- discharge
- Prior art date
- Legal status (The legal status is an assumption and is not a legal conclusion. Google has not performed a legal analysis and makes no representation as to the accuracy of the status listed.)
- Pending
Links
Images
Landscapes
- Threshing Machine Elements (AREA)
Abstract
【課題】 選別部からの2番処理物を穀粒と塵埃に精度よく選別して穀粒を脱穀機体内に還元することができるようし、かつ、穀粒が塵埃と共に排出されることを回避しやすいようにする。
【解決手段】 2番コンベヤ22の搬送終端部に接続した中間処理ケース40の排出口42の機体上方側部分に揚送コンベヤ23を連通させ、機体下方側部分に排塵ケース50を連通させてある。中間処理ケース40は、2番コンベヤ22からの処理物を放出回転体43によって排出口42から放出して揚送コンベヤ23と排塵ケース50に供給する。揚送コンベヤ23は、中間処理ケース40からの穀粒を脱穀機体内に還元する。排塵ケース50は、中間処理ケース40からの塵埃を排塵口53から排出する。排塵ケース50に入り込んだ穀粒は、選別部56によって塵埃から比重選別され、回転体57によって排塵ケース50から中間処理ケース40に還元される。
【選択図】 図3
【解決手段】 2番コンベヤ22の搬送終端部に接続した中間処理ケース40の排出口42の機体上方側部分に揚送コンベヤ23を連通させ、機体下方側部分に排塵ケース50を連通させてある。中間処理ケース40は、2番コンベヤ22からの処理物を放出回転体43によって排出口42から放出して揚送コンベヤ23と排塵ケース50に供給する。揚送コンベヤ23は、中間処理ケース40からの穀粒を脱穀機体内に還元する。排塵ケース50は、中間処理ケース40からの塵埃を排塵口53から排出する。排塵ケース50に入り込んだ穀粒は、選別部56によって塵埃から比重選別され、回転体57によって排塵ケース50から中間処理ケース40に還元される。
【選択図】 図3
Description
本発明は、選別部からの2番処理物を搬送する2番コンベヤ、この2番コンベヤからの処理物を揚送して脱穀機体内に還元する揚送コンベヤを備えた脱穀機に関する。
上記脱穀機において、従来、例えば特許文献1に示されるように、スクリューケース30(揚送コンベヤの搬送ケースに相当)の外方に向けて塵埃を掻き出す掻出羽根32をスクリュー軸24に一体回転するように設け、スクリューケース30の掻出羽根32外周箇所に除塵用の開口33を設け、処理物揚送用スクリュー25によって揚送される処理物からの塵埃をスクリューケース30の外へ排出するように除塵構造Eを構成されたものがあった。
上記の2番コンベヤからの処理物が穀粒と、ワラ屑などの塵埃とに選別処理されて脱穀機体内に還元されるようにするのに、従来の技術を採用すると、穀粒が塵埃に混入して排出されやすくなるか、塵埃が排出されにくくなる問題が発生しやすくなっていた。
すなわち、揚送コンベヤにおいて塵埃を処理物から抽出されることから、塵埃がスムーズに排出されるようにすれば、殊に大きな塵埃が排出されやすくなるようにすれば、塵埃の排出通路を大きくする必要があることから、穀粒が塵埃と共に排出されやすくなっていた。穀粒が塵埃に混入して排出されにくくなるようにすれば、塵埃の排出通路を小さくする必要があることから、塵埃がスムーズに排出されにくくなっていた。
すなわち、揚送コンベヤにおいて塵埃を処理物から抽出されることから、塵埃がスムーズに排出されるようにすれば、殊に大きな塵埃が排出されやすくなるようにすれば、塵埃の排出通路を大きくする必要があることから、穀粒が塵埃と共に排出されやすくなっていた。穀粒が塵埃に混入して排出されにくくなるようにすれば、塵埃の排出通路を小さくする必要があることから、塵埃がスムーズに排出されにくくなっていた。
本発明の目的は、穀粒が塵埃と共に排出されにくいように、かつ、塵埃がスムーズに排出されるように精度よく選別処理させながら2番処理物を脱穀機体内に還元することができる脱穀機を提供することにある。
本第1発明にあっては、選別部からの2番処理物を搬送する2番コンベヤ、この2番コンベヤからの処理物を揚送して脱穀機体内に還元する揚送コンベヤを備えた脱穀機であって、
前記2番コンベヤからの処理物を脱穀機体横向きの軸芯まわりで回転する放出回転体による放出作用によって排出口から排出する中間処理ケースを設け、前記中間処理ケースの前記排出口の機体上方側部分に、前記揚送コンベヤの受け入れ口を連通させ、
前記中間処理ケースの前記排出口の機体下方側部分に連通されて、前記中間処理ケースからの処理物を前記放出回転体による放出作用によって排塵口から排出する排塵ケースを設け、
前記排塵ケースの内部に、流動する処理物から穀粒を比重選別によって抽出する選別部、及び、前記選別部からの穀粒を前記中間処理ケースに前記排出口を介して還元する回転体を設けてある。
前記2番コンベヤからの処理物を脱穀機体横向きの軸芯まわりで回転する放出回転体による放出作用によって排出口から排出する中間処理ケースを設け、前記中間処理ケースの前記排出口の機体上方側部分に、前記揚送コンベヤの受け入れ口を連通させ、
前記中間処理ケースの前記排出口の機体下方側部分に連通されて、前記中間処理ケースからの処理物を前記放出回転体による放出作用によって排塵口から排出する排塵ケースを設け、
前記排塵ケースの内部に、流動する処理物から穀粒を比重選別によって抽出する選別部、及び、前記選別部からの穀粒を前記中間処理ケースに前記排出口を介して還元する回転体を設けてある。
すなわち、2番コンベヤからの処理物が中間処理ケースにおいて放出回転体による放出作用によって排出口から排出されて揚送コンベヤ及び排塵ケースに供給される。このとき、穀粒や塵埃の重量差などに起因して穀粒が排出口の機体上方側部分に飛びやすく、塵埃が排出口の機体下方側部分に飛びやすいことから、穀粒は塵埃と分別されて揚送コンベヤに供給されやすくなり、塵埃は穀粒と分別されて排塵ケースに供給されやすくなる。穀粒が塵埃に混入して排塵ケースに入り込んだ場合、この排塵ケースの選別部によって抽出されて回転体によって中間処理ケースに還元され、再度、放出回転体による放出作用によって排出口から放出されて揚送コンベヤに供給される。これにより、2番コンベヤからの処理物が中間処理ケースで穀粒と塵埃に選別されてから揚送コンベヤと排塵ケースに分けて供給され、穀粒が排塵ケースに入り込むことがあっても、排塵ケースから中間処理ケースに還元されて中間処理ケースから揚送コンベヤに供給され、穀粒を混入塵埃が少ない状態にして、かつ、塵埃と共に排出されにくいようにして脱穀機体内に還元することができ、塵埃が揚送コンベヤを介さずに排塵ケースから排出されるようにできる。
従って、本第1発明によれば、2番コンベヤからの処理物を穀粒と塵埃に精度よく選別し、穀粒を混入塵埃が少ない状態で脱穀機体内に還元して効率よく再処理することができ、かつ、穀粒が塵埃と共に排出される損失を極力回避することでき、さらに、塵埃が揚送コンベヤを介さずにスムーズに排出されるようにできる。
本第2発明にあっては、本第1発明の構成において、前記排塵ケースの前記排塵口を前記選別部に対して昇降調節する調節部を設けてある。
すなわち、処理物の湿り度合いが高い場合、調節部によって排塵口を選別部に対して低く位置するように調節し、塵埃を高い含水率や濡れ度合いにかかわらず排塵口から出やすくすることができ、処理物の湿り度合いが低い場合、調節部によって排塵口を選別部に対して高く位置するように調節し、穀粒が塵埃に混入して排塵口から出ることを発生しにくくしながら塵埃を排塵口から排出することができる。
従って、本第2発明によれば、脱穀処理する穀稈が湿っている場合も乾燥している場合も、塵埃が排塵ケースから排出されやすくて穀粒に混入しにくくしながら、かつ、穀粒が排塵ケースから排出される損失を発生しにくくしながら2番処理物を脱穀機体内に還元することができる。
以下、本発明の実施例を図面に基づいて説明する。
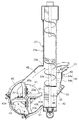
図1に示すように、脱穀フィードチェーン1、扱室2などを備えた脱穀部A、前記扱室2の下方に前端側が位置する駆動揺動自在な揺動選別装置11、扱室2の後方に位置する排塵ファン12などを備えた選別部B、前記揺動選別装置11の下方に脱穀機体の前後方向に並べて設けた1番コンベヤ21、2番コンベヤ22、2番コンベヤ22の搬送終端部に接続された揚送コンベヤ23を備えさせ、脱穀機体の後部に連結した排ワラ細断装置30を有した排ワラ処理部Cを備えさせて、コンバイン用の排ワラ細断装置付き脱穀機を構成してある。
図1に示すように、脱穀フィードチェーン1、扱室2などを備えた脱穀部A、前記扱室2の下方に前端側が位置する駆動揺動自在な揺動選別装置11、扱室2の後方に位置する排塵ファン12などを備えた選別部B、前記揺動選別装置11の下方に脱穀機体の前後方向に並べて設けた1番コンベヤ21、2番コンベヤ22、2番コンベヤ22の搬送終端部に接続された揚送コンベヤ23を備えさせ、脱穀機体の後部に連結した排ワラ細断装置30を有した排ワラ処理部Cを備えさせて、コンバイン用の排ワラ細断装置付き脱穀機を構成してある。
この脱穀機は、コンバインの前処理部によって刈取り処理された稲、麦などの刈取穀稈を脱穀処理し、脱穀処理物を選別処理し、脱穀排ワラを細断や長ワラ状態で放出するものであり、各部は次の如く処理を行なうようになっている。
すなわち、脱穀部Aは、脱穀フィードチェーン1によって前処理部からの刈取穀稈の株元側を挟持して脱穀機体後方向きに搬送することにより、その刈取穀稈の穂先側を扱室2に供給して脱穀機体前後向きの軸芯まわりで回動する扱胴3によって脱穀処理し、脱穀排ワラを脱穀フィードチェーン1によって扱室2の送塵口4から搬出する。
すなわち、脱穀部Aは、脱穀フィードチェーン1によって前処理部からの刈取穀稈の株元側を挟持して脱穀機体後方向きに搬送することにより、その刈取穀稈の穂先側を扱室2に供給して脱穀機体前後向きの軸芯まわりで回動する扱胴3によって脱穀処理し、脱穀排ワラを脱穀フィードチェーン1によって扱室2の送塵口4から搬出する。
選別部Bは、扱室2の受網5から落下した脱穀処理物を揺動選別装置11によって受け止めて脱穀機体後方向きに搬送しながら、この揺動選別装置11と、揺動選別装置11の前端側の下方に位置する唐箕13によって脱穀機体後方向きに供給される選別風とによって穀粒と塵埃とに選別処理し、穀粒を揺動選別装置11から落下させ、塵埃を選別風と共に排塵ファン12の吐出口12aや脱穀機体の排塵口14から脱穀機体の後方側に排出する。
1番コンベヤ21は、スクリューコンベヤで成り、選別部Bから落下した1番処理物を回収して脱穀機体の底板の一部で成る樋形の搬送ガイド板に沿わせて脱穀機体の横外側に搬出する。2番コンベヤ22は、スクリューコンベヤで成り、選別部Bから落下した2番処理物を回収して脱穀機体の底板の一部で成る樋形の搬送ガイド板に沿わせて脱穀機体の横外側に搬出する。
揚送コンベヤ23は、スクリューコンベヤで成り、2番コンベヤ22からの処理物を脱穀機体の横外側で選別部Bの上部付近の高さまで揚送し、脱穀機体横側壁の投入口24から脱穀機体の内部に吐出して前記揺動選別装置11に還元する。
排ワラ処理部Cは、脱穀フィードチェーン1によって扱室2から排出された脱穀排ワラを、株元側に作用する挟持搬送装置と、穂先側に作用する係止搬送装置とで成る排ワラ搬送装置31によって横倒れ姿勢で脱穀機体後方側に搬送して前記排ワラ細断装置30のカッターケース32の上に落下させる。このカッターケース32の排ワラ受け入れ口の揺動開閉自在な蓋体33が閉じられていると、排ワラ搬送装置31から落下した脱穀排ワラを蓋体33の外面側に沿わせて機体後方側に移動させ、排ワラ細断装置30の後側から圃場に長ワラ状態で落下させる。カッターケース32の前記蓋体33が開かれていると、排ワラ搬送装置31から落下した脱穀排ワラをカッターケース32の内部に落下させてカッター軸の円盤刃34と、供給軸の円盤供給刃35とによって排ワラ稈身方向に細断し、細断ワラをカッターケース32の底部の排出口から圃場に落下させる。
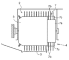
図2,3に示すように、前記2番コンベヤ21の搬送終端部と、前記揚送コンベヤ23との間に中間処理ケース40を設け、揚送コンベヤ23の下部に排塵ケース50を連設してある。
中間処理ケース40の脱穀機体の横側壁に面した側壁に、2番コンベヤ22の搬送終端部に連通した投入口41を設けてある。中間処理ケース40の周壁に排出口42を設けるとともに、この排出口42の機体上方側に位置する部分を、揚送コンベヤ23の搬送ガイド筒23aの下端部に位置する受け入れ口23bに連通させ、前記排出口42の機体下方側に位置する部分を、前記排塵ケース50の内部に連通させてある。中間処理ケース40の内部に、複数枚の回転羽根43aを有した放出回転体43を設けるとともに、この放出回転体43は、2番コンベヤ22のスクリュー軸22aの端部に一体回転自在に連結されている
これにより、中間処理ケース40は、2番コンベヤ22から前記投入口41を介して中間処理ケース40の内部に供給された穀粒やワラ屑などの処理物を、2番コンベヤ22の駆動力によってスクリュー軸22aの機体横向きの軸芯43bまわりで回転方向Fに回転する状態に駆動される回転体43の回転羽根43aによる放てきと、回転羽根43aによって発生する搬送風とによって中間処理ケース40の排出口42から排出して揚送コンベヤ23及び排塵ケース50に供給する。
排塵ケース50は、前記中間処理ケース40の前記排出口42に連通する開口51を有したケース本体52と、このケース本体52の上端部から機体上方向きに延出するとともに延出端部に排塵口53を有した排出ケース部54とによって構成してある。
排塵ケース50の前記ケース本体52内の上部に、傾斜ガイド面55を有した選別部56を設け、排塵ケース50のケース本体52の内部に、一枚の羽根形の回転体57を揚送コンベヤ23のスクリュー軸23cによって回動駆動されるように構成して設けてある。
前記選別部56は、中間処理ケース40の排出口42からケース本体52の内部に供給され、中間処理ケース40の放出回転体43による移送作用のために水平またはほぼ水平方向に流動するワラ屑などの処理物を傾斜ガイド面55による案内作用によって排出ケース部54に向けて機体上方向きに向き変更させる。すると、ワラ屑など比較的軽量な物が排出ケース部54に流入しやすくなり、穀粒が塵埃に比して重くて失速しやすくなる。これにより、選別部56は、流動する処理物から穀粒を比重選別によって選別してケース本体52内の下部に落下させる。前記回転体57は、前記選別部56から落下した穀粒に放てき作用してこの穀粒を中間処理ケース40の前記排出口42を介して中間処理ケース40の内部に還元する。
排塵ケース50の前記ケース本体52内の上部に、傾斜ガイド面55を有した選別部56を設け、排塵ケース50のケース本体52の内部に、一枚の羽根形の回転体57を揚送コンベヤ23のスクリュー軸23cによって回動駆動されるように構成して設けてある。
前記選別部56は、中間処理ケース40の排出口42からケース本体52の内部に供給され、中間処理ケース40の放出回転体43による移送作用のために水平またはほぼ水平方向に流動するワラ屑などの処理物を傾斜ガイド面55による案内作用によって排出ケース部54に向けて機体上方向きに向き変更させる。すると、ワラ屑など比較的軽量な物が排出ケース部54に流入しやすくなり、穀粒が塵埃に比して重くて失速しやすくなる。これにより、選別部56は、流動する処理物から穀粒を比重選別によって選別してケース本体52内の下部に落下させる。前記回転体57は、前記選別部56から落下した穀粒に放てき作用してこの穀粒を中間処理ケース40の前記排出口42を介して中間処理ケース40の内部に還元する。
排塵ケース50における前記排出ケース部54の前記排塵口53が装備されている延出端側部分54aと、前記ケース本体52に連結されている基端側部分54bとの間に、前記排塵口53の高さ変更のための調節部60を設けてある。
すなわち、この調節部60は、前記延出端側部分54aを前記基端側部分54bに対して機体上下方向に伸縮調節自在に連結しており、延出端側部分54aを基端側部分54bに対して伸縮調節することにより、排塵口53の前記選別部56からの機体上下方向での高さが変化するように排塵口53を選別部56に対して昇降調節できるようにしている
すなわち、この調節部60は、前記延出端側部分54aを前記基端側部分54bに対して機体上下方向に伸縮調節自在に連結しており、延出端側部分54aを基端側部分54bに対して伸縮調節することにより、排塵口53の前記選別部56からの機体上下方向での高さが変化するように排塵口53を選別部56に対して昇降調節できるようにしている
つまり、2番コンベヤ22によって脱穀機体の横一端側に搬送された選別部Bからの2番処理物が中間処理ケース40の内部に投入口41から導入され、放出回転体43の回転羽根43aによる放てきによる放出作用と、放出回転体43の回転羽根43aが発生させる風による放出作用とによって中間処理ケース40の排出口42から排出されて揚送コンベヤ23及び排塵ケース50に供給される。このとき、穀粒や塵埃の重量差などに起因して穀粒が排出口42の機体上方側部分に飛びやすく、塵埃が排出口42の下方側部分に飛びやすいことから、穀粒は塵埃と分別されて揚送コンベヤ23に供給されやすくなり、塵埃は穀粒と分別されて排塵ケース50のケース本体52に供給されやすくなる。穀粒が塵埃に混入して排塵ケース50のケース本体52に入り込んだ場合、選別部56によって抽出されて回転体57によって中間処理ケース40に還元され、再度、放出回転体43によって排出口42から放出されて揚送コンベヤ23に供給される。これにより、2番コンベヤ22からの処理物が中間処理ケース40で穀粒と塵埃に選別され、穀粒は混入塵埃が少ない状態にして揚送コンベヤ23によって脱穀機体内に還元されて揺動選別装置11に供給され、塵埃は排塵ケース50の排塵口53から排出される。穀粒が排塵ケース50に入り込むことがあっても、排塵ケース50の選別部56で抽出されて中間処理ケース40に還元され、中間処理ケース40から揚送コンベヤ23に供給されて脱穀機体内に還元される。
また、脱穀処理される穀稈が湿っている場合、処理物の湿り度合いも高くなっており、排塵ケース50の排塵口53の選別部56からの高さが高くなっていると、塵埃が排塵ケース50の排塵口53から出にくくなって穀粒に混入しやすくなる。このため、調節部60によって排塵口53を選別部56からの高さが低くなるように下降調節する。すると、処理物の湿り度合いも高くても、塵埃が排塵ケース50の排塵口53から出やすくなり、塵埃を穀粒に混入しにくくしながら穀粒を脱穀機体内に還元することができるようになる。
脱穀処理される穀稈が乾燥している場合、処理物も乾燥しており、排塵ケース50の排塵口53の選別部56からの高さが低くなっていると、穀粒が排塵ケース50の排塵口53から出やすくなる。このため、調節部60によって排塵口53を選別部56からの高さが高くなるように上昇調節する。すると、穀粒が排塵ケース50の排塵口53から出にくくなり、処理物が乾燥していても、穀粒を塵埃と共に排出されにくくしながら脱穀機体内に還元することができるようになる。
脱穀処理される穀稈が乾燥している場合、処理物も乾燥しており、排塵ケース50の排塵口53の選別部56からの高さが低くなっていると、穀粒が排塵ケース50の排塵口53から出やすくなる。このため、調節部60によって排塵口53を選別部56からの高さが高くなるように上昇調節する。すると、穀粒が排塵ケース50の排塵口53から出にくくなり、処理物が乾燥していても、穀粒を塵埃と共に排出されにくくしながら脱穀機体内に還元することができるようになる。
図4に示すように、前記揚送コンベヤ23が脱穀機体内に処理物を吐出する前記投入口24を、扱室2の後側板6の後方側近くに配置してある。すなわち、回動する扱胴3のために扱室内で発生した風が送塵口4の図4に示す部分4aから脱穀機体後方向きに吹き出ており、揚送コンベヤ23から脱穀機体内に還元される処理物が扱室2から吹き出る風の通路に落下し、その吹き出し風による選別処理を受けて揺動選別装置11に落下するようになっている。
図1に示すように、扱胴3の後端部に、前端側部分のドラムに比して外径が小さい小径ドラム7a、及び、前端側部分の扱歯に比してドラムからの突出長さが長い長尺扱歯7bを備えた仕上げ扱胴部7を設けてある。この仕上げ扱胴部7は、扱室3から搬出される直前の脱穀排ワラを長い扱歯7bでほぐし処理して扱き残しやササリ粒を解消する仕上げ処理を行なう。
図5は、別の実施形態を備えた仕上げ扱胴部7を備えた扱胴3を示し、この扱胴3の仕上げ扱胴部7にあっては、外径が小さい小径ドラム7a、及び、ドラムからの突出長さが長い長尺扱歯7bを備える他に、小径ドラム7aの周方向での2〜4箇所に固設された仕上げプレート7cを備えている。この仕上げプレート7cは、脱穀排ワラを叩き処理してササリ粒を取り出す仕上げ処理を行なう。
図6は、別の実施形態を備えた扱胴3を示し、この扱胴3にあっては、扱胴後端部のドラムの周方向での複数箇所に固設した仕上げ板7cを備えてある。この扱胴3は、扱室2から搬出される直前の脱穀排ワラを仕上げ板7cによってほぐし処理や叩き処理してササリ粒や扱き残しを解消する仕上げ処理を行なう。
22 2番コンベヤ
23 揚送コンベヤ
40 中間処理ケース
42 中間処理ケースの排出口
43 放出回転体
23b 揚送コンベヤの受け入れ口
50 排塵ケース
53 排塵ケースの排塵口
57 回転体
60 調節部
B 選別部
23 揚送コンベヤ
40 中間処理ケース
42 中間処理ケースの排出口
43 放出回転体
23b 揚送コンベヤの受け入れ口
50 排塵ケース
53 排塵ケースの排塵口
57 回転体
60 調節部
B 選別部
Claims (2)
- 選別部からの2番処理物を搬送する2番コンベヤ、この2番コンベヤからの処理物を揚送して脱穀機体内に還元する揚送コンベヤを備えた脱穀機であって、
前記2番コンベヤからの処理物を脱穀機体横向きの軸芯まわりで回転する放出回転体による放出作用によって排出口から排出する中間処理ケースを設け、前記中間処理ケースの前記排出口の機体上方側部分に、前記揚送コンベヤの受け入れ口を連通させ、
前記中間処理ケースの前記排出口の機体下方側部分に連通されて、前記中間処理ケースからの処理物を前記放出回転体による放出作用によって排塵口から排出する排塵ケースを設け、
前記排塵ケースの内部に、流動する処理物から穀粒を比重選別によって抽出する選別部、及び、前記選別部からの穀粒を前記中間処理ケースに前記排出口を介して還元する回転体を設けてある脱穀機。 - 前記排塵ケースの前記排塵口を前記選別部に対して昇降調節する調節部を設けてある請求項1記載の脱穀機。
Priority Applications (1)
| Application Number | Priority Date | Filing Date | Title |
|---|---|---|---|
| JP2004114344A JP2005295845A (ja) | 2004-04-08 | 2004-04-08 | 脱穀機 |
Applications Claiming Priority (1)
| Application Number | Priority Date | Filing Date | Title |
|---|---|---|---|
| JP2004114344A JP2005295845A (ja) | 2004-04-08 | 2004-04-08 | 脱穀機 |
Publications (1)
| Publication Number | Publication Date |
|---|---|
| JP2005295845A true JP2005295845A (ja) | 2005-10-27 |
Family
ID=35328143
Family Applications (1)
| Application Number | Title | Priority Date | Filing Date |
|---|---|---|---|
| JP2004114344A Pending JP2005295845A (ja) | 2004-04-08 | 2004-04-08 | 脱穀機 |
Country Status (1)
| Country | Link |
|---|---|
| JP (1) | JP2005295845A (ja) |
Cited By (1)
| Publication number | Priority date | Publication date | Assignee | Title |
|---|---|---|---|---|
| CN116941432A (zh) * | 2023-06-05 | 2023-10-27 | 吉林纳海农业装备有限公司 | 一种将田间秸秆处理成饲料的破碎打包机 |
-
2004
- 2004-04-08 JP JP2004114344A patent/JP2005295845A/ja active Pending
Cited By (1)
| Publication number | Priority date | Publication date | Assignee | Title |
|---|---|---|---|---|
| CN116941432A (zh) * | 2023-06-05 | 2023-10-27 | 吉林纳海农业装备有限公司 | 一种将田间秸秆处理成饲料的破碎打包机 |
Similar Documents
| Publication | Publication Date | Title |
|---|---|---|
| JP6300862B2 (ja) | 脱穀機 | |
| JP2005295845A (ja) | 脱穀機 | |
| JP2006014708A (ja) | 全稈投入型脱穀機 | |
| JP4605663B2 (ja) | 脱穀機 | |
| JP2867070B2 (ja) | 脱穀機における排塵物処理装置 | |
| JPH0719231Y2 (ja) | 軸流形脱穀機における扱室受網 | |
| JPH0333234Y2 (ja) | ||
| JP2953459B2 (ja) | 脱穀装置 | |
| JP3146924B2 (ja) | 脱穀装置 | |
| JP4628289B2 (ja) | コンバインの二番還元縦コンベア | |
| JP3328021B2 (ja) | 普通形コンバインの2番還元装置 | |
| JP3797943B2 (ja) | 脱穀装置 | |
| JP2016140281A (ja) | コンバイン | |
| JPH0541659Y2 (ja) | ||
| JPH02200115A (ja) | コンバイン | |
| JPH0438676Y2 (ja) | ||
| JP2009065950A (ja) | コンバイン | |
| JP4766261B2 (ja) | 脱穀装置 | |
| JPH1175521A (ja) | 脱穀機の選別部構造 | |
| JP2004267022A (ja) | コンバイン | |
| JPH10201359A (ja) | 脱穀装置 | |
| JP2008228650A (ja) | 脱穀機 | |
| JP2004267021A (ja) | コンバイン | |
| JP2002176837A (ja) | 脱穀機における処理室構造 | |
| JP2006180824A (ja) | 脱穀機 |