JP2005295818A - 細胞培養装置 - Google Patents

細胞培養装置 Download PDF

Info

Publication number
JP2005295818A
JP2005295818A JP2004112792A JP2004112792A JP2005295818A JP 2005295818 A JP2005295818 A JP 2005295818A JP 2004112792 A JP2004112792 A JP 2004112792A JP 2004112792 A JP2004112792 A JP 2004112792A JP 2005295818 A JP2005295818 A JP 2005295818A
Authority
JP
Japan
Prior art keywords
incubator
image
camera
culturing
cells
Prior art date
Legal status (The legal status is an assumption and is not a legal conclusion. Google has not performed a legal analysis and makes no representation as to the accuracy of the status listed.)
Granted
Application number
JP2004112792A
Other languages
English (en)
Other versions
JP4490154B2 (ja
JP2005295818A5 (ja
Inventor
Yoshihiro Komori
義広 小森
Tsutomu Suzuki
力 鈴木
Current Assignee (The listed assignees may be inaccurate. Google has not performed a legal analysis and makes no representation or warranty as to the accuracy of the list.)
Hitachi Healthcare Manufacturing Ltd
Original Assignee
Hitachi Medical Corp
Priority date (The priority date is an assumption and is not a legal conclusion. Google has not performed a legal analysis and makes no representation as to the accuracy of the date listed.)
Filing date
Publication date
Application filed by Hitachi Medical Corp filed Critical Hitachi Medical Corp
Priority to JP2004112792A priority Critical patent/JP4490154B2/ja
Publication of JP2005295818A publication Critical patent/JP2005295818A/ja
Publication of JP2005295818A5 publication Critical patent/JP2005295818A5/ja
Application granted granted Critical
Publication of JP4490154B2 publication Critical patent/JP4490154B2/ja
Anticipated expiration legal-status Critical
Expired - Fee Related legal-status Critical Current

Links

Images

Classifications

    • CCHEMISTRY; METALLURGY
    • C12BIOCHEMISTRY; BEER; SPIRITS; WINE; VINEGAR; MICROBIOLOGY; ENZYMOLOGY; MUTATION OR GENETIC ENGINEERING
    • C12MAPPARATUS FOR ENZYMOLOGY OR MICROBIOLOGY; APPARATUS FOR CULTURING MICROORGANISMS FOR PRODUCING BIOMASS, FOR GROWING CELLS OR FOR OBTAINING FERMENTATION OR METABOLIC PRODUCTS, i.e. BIOREACTORS OR FERMENTERS
    • C12M41/00Means for regulation, monitoring, measurement or control, e.g. flow regulation
    • C12M41/30Means for regulation, monitoring, measurement or control, e.g. flow regulation of concentration
    • C12M41/36Means for regulation, monitoring, measurement or control, e.g. flow regulation of concentration of biomass, e.g. colony counters or by turbidity measurements

Landscapes

  • Chemical & Material Sciences (AREA)
  • Organic Chemistry (AREA)
  • Health & Medical Sciences (AREA)
  • Life Sciences & Earth Sciences (AREA)
  • Engineering & Computer Science (AREA)
  • Bioinformatics & Cheminformatics (AREA)
  • Zoology (AREA)
  • Wood Science & Technology (AREA)
  • Microbiology (AREA)
  • Sustainable Development (AREA)
  • Biotechnology (AREA)
  • Biomedical Technology (AREA)
  • Biochemistry (AREA)
  • General Engineering & Computer Science (AREA)
  • General Health & Medical Sciences (AREA)
  • Genetics & Genomics (AREA)
  • Analytical Chemistry (AREA)
  • Apparatus Associated With Microorganisms And Enzymes (AREA)

Abstract

【課題】 細胞を培養する平面状の培養器と、その平面に直交する方向に光軸を有しその視野範囲が前記培養器の表面より狭い撮像装置と、前記培養器表面と撮像装置の光軸が直交する状態を保ったまま前記培養器表面と撮像装置のうち少なくとも一方を相対的に移動させる駆動手段と、を有する細胞培養装置において、前記駆動手段は、前記撮像装置の視野範囲に入らない培養器の表面部分が前記視野範囲に入るように前記相対的移動をさせた際に、前記撮像装置は、前記培養器表面の撮影を行う。
【解決手段】 細胞培養の際、任意のコロニー内の細胞の培養状態を詳細に観察できる。また、レンズの交換作業しなくとも、培養状態の詳細観察用の高倍率レンズとカメラを用いたまま、カメラの走査と画像処理によって培養細胞のコロニーの存在有無とサイズを容易に確認できる。
【選択図】 図1

Description

この発明は、細胞培養容器内の細胞の培養状態を培養容器表面の全面に渉って高倍率で観察する技術に関する。
特に、平面状に展開された培養細胞を詳細に観察可能とするとともに、培養細胞の表面を全面的に走査して培養細胞のコロニーの有無とサイズも同時に観察可能な技術に関する。
培養細胞のコロニーの有無またはその大きさを確認するには、細胞を染色して肉眼で確認したり、カメラで撮影した画像に対して画像処理を施すことによって確認していた。カメラを用いてコロニーを撮影する際は、たとえば[特許文献1]に記載されるように、培養器全体が一時に撮影できるような広い画角を持った低倍率のレンズを使用する。
培養器全体を低倍率広画角のレンズを使ったカメラで撮影する場合、コロニーの有無の迅速に確認できる。
しかし、コロニーが小さい場合やカメラの解像度が低い場合等では、コロニーを明瞭に描出できないことがある。
また、コロニーの有無とサイズを確認した後、任意のコロニー内の細胞を撮影するには、より高い倍率のレンズを別途用意しなければならない。
そして、この際、低倍率のレンズで確認された位置精度の低い画像から目標位置を探し出して、高倍率レンズでの撮影のためカメラまたは培養器をその位置に移動するのは大変に手間のかかる作業である。
特開2001−275659号公報
本発明の課題は、細胞を培養する際に、コロニーの有無とそのサイズ確認という作業が、コロニー内の細胞の培養経過の詳細な観察という作業と同時に可能な、培養状態確認機能つきの培養装置を提供することにある。
また、上記作業間の切り替えをするにあたり、外部からのコンタミを排除可能な培養装置を提供することにある。
また、上記培養状態の観察にあたり、培養細胞へのダメージを極力排除可能な培養装置を提供することにある。
上記課題を解決するために、本発明では以下のような手段を提供する。
すなわち、本発明第一の特徴によれば、細胞を培養する平面状の培養器と、その平面に直交する方向に光軸を有しその視野範囲が前記培養器の表面より狭い撮像装置と、前記培養器表面と撮像装置の光軸が直交する状態を保ったまま前記培養器表面と撮像装置のうち少なくとも一方を相対的に移動させる駆動手段と、を有する細胞培養装置において、
前記駆動手段は、前記撮像装置の視野範囲に入らない培養器の表面部分が前記視野範囲に入るように前記相対的移動をさせた際に、前記撮像装置は、前記培養器表面の撮影を行う。
本発明第二の特徴によれば、前記前記培養器の表面と前記視野範囲との関係から前記相対的移動の経路を計画するとともに、前記経路上の撮影位置を事前に決定する手段をさらに備えた。
本発明第三の特徴によれば、第二または三の特徴において、さらに細胞を照射する光源を備えた。
本発明第四の特徴によれば、前記撮像装置として高倍率のレンズを備えたカメラを使用し、カメラあるいは培養器を移動可能な構造とし、培養器内の任意の位置を撮像する。撮影した位置情報は記憶手段に記憶することができ、再度同一位置での撮影が可能である。撮影した画像データは多値化処理を実施した後、コロニーの有無とサイズを求めるために用いる。コロニーの判別には画像の濃淡変化を用いる。
本発明第五の特徴によれば、第四の特徴において、カメラあるいは培養器の位置移動と撮影のタイミングに関するもので、カメラまたは培養器が移動後停止した状態で撮影する方法と移動しながら撮影をする。
本発明第六の特徴によれば、第四または五の特徴において、移動しながら撮影し、コロニーの有無とサイズを求めるために、コロニーの辺縁あるいは画像の濃淡変化でコロニーの有無とサイズを判別できる。
本発明第七の特徴によれば、上記いずれかの特徴において、コロニーの有無とサイズを求めた後、任意のコロニーへカメラまたは培養器を正確に移動できる手段を含むことで、コロニー内の細胞観察、コロニーの拡大あるいは縮小の統計を取得することができる。
この発明には以下のような効果がある。
細胞培養の際、任意のコロニー内の細胞の培養状態を詳細に観察できる。
また、レンズの交換作業をぜずに、培養状態の詳細観察用の高倍率レンズとカメラを用いたまま、カメラの走査と画像処理によって培養細胞のコロニーの存在有無とサイズを容易に確認できる。
以下、この発明の実施形態を図面に基づいて詳細に説明する。
本発明に係わる培養装置は、図1に示すような構成をもつ。
細胞培養装置11は、少なくとも細胞を培養する培養器12や細胞を撮影するためのカメラ13を内部に閉鎖的に収納したインキュベータ22と、カメラ13から得られる画像データを画像処理ユニット14に転送するため電気信号に変換するコンバータ15と、カメラ13または培養器12を移動するためのカメラ・培養器駆動装置16、カメラ・培養器駆動装置16を任意の位置に移動するためのモータコントローラ17から構成されている。
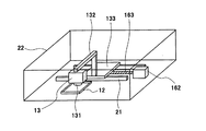
図2は図1内のインキュベータ22のみの概念図である。
図2に基づいて、インキュベータ22を詳しく説明する。
インキュベータ22の中には、少なくともカメラ13と、培養器12と、カメラ13または培養器12の移動のガイド21とが閉鎖的に内含されるが、培養器12内の細胞に光をあてる照明装置(図示せず)やカメラ・培養器駆動装置16によって駆動されるモーター16や画像信号を電気信号に変換するコンバータ15を含んでもよい。
培養器12は、培養に通常使用されるフラスコや培養皿であってもよいし、特願2002−180120号公報、特願2003−027710号公報、および特願2003−420510号公報のような構成を有するものであってもよい。
カメラ13は光学的な撮像装置であればよい。
撮像素子はCCDでもよいしCMOSでもよいし、そのほか電気的、電子的、あるいは光学的な信号を取得できるものであれば何でもよい。カメラ13にはレンズ131が取り付け可能であり、レンズ131は交換式でもあるいは据付式でもよい。カメラのレンズ交換マウントとして、例えば通称Cマウントと呼ばれるネジ式のマウントの他、バヨネット式のものも適用可能である。
レンズ据付式であれば、カメラ内へのごみやほこりや湿気の混入をより避けることが可能で、撮影画像にこれらが映りこむ危険を減らすことができるとともに、これらがインキュベータ22内にもれてコンタミを生じる危険も回避可能である。
本発明の場合、レンズの交換は必須ではないために安価でコンタミ招来の危険性の少なく密封性の高いレンズ固定式のカメラが使用可能である。
レンズ131は、比較的高い倍率で視野が広くないものを使用する。
なお、以降倍率といえば、カメラの撮像素子サイズとレンズの焦点距離と撮影距離によって決まる撮影倍率をいうものとする。
また、視野範囲も同様にカメラの撮像素子サイズとカメラの絞りないしはシャッター開口径とレンズの画角によって決まるものをいう。
照明装置は図示していないが、培養容器を透明にしてその裏側から照射する透過光を撮影する方式やカメラ側から光を当てて反射光を撮影する方式がある。
透過光方式であれば、照明装置は培養容器の下部に配置する。このとき必ずしもインキュベータ22におく必要はなく、インキュベータの下部を光透過性のある構成とすれば、インキュベータの外側においてもよい。
インキュベータの外においておけば、万が一の故障や玉切れなどの際に、コンタミの危険を冒さずに修理交換できる。
また、光源は、培養する細胞にとって有害な波長成分を有さないものがよい。例えば、紫外線は細胞のDNAに損傷を与えたり、紫外線誘発アポトーシスを惹起し、結果的に細胞の癌化の原因となると言われている。
したがって、通常の細胞を培養するときは、光源としてそのような成分を含むことは避けなければならない。
また、赤外線は熱を生じるために細胞にとってストレスとなりうる。 逆に、特定の波長の光が細胞を活性化することもあるので、積極的に光源の波長が培養に有利なものとなるよう制御することもできる。光源の波長やその成分比は、培養する細胞やその目的に合わせて変更できるようにしておくことが望ましい。
具体的には、光源と培養容器の間にフィルターを介在させることで上記のように細胞の培養に好ましくない紫外線成分を遮断させたり、単色性の強いLEDなどの光源を複数用意しておき選択的にオンオフすることでも任意の波長成分を含んだ光源の作成が可能である。
あるいは3波長蛍光管とフィルターを併用することでも波長の選択が可能である。
また、反射光式の場合も、透過光式と同様に、光源はインキュベータ22内にあっても外にあってもよい。
インキュベータ22内にあれば細胞との距離が短いため光源への供給電力が少なくて済む反面、光強度が強すぎて細胞にダメージを与えたり、光が十分拡散しないため画像に明度のむらを生じることもある。
インキュベータ22外にあれば、上記透過光式のところで説明したのと同じ理由でコンタミの機会を減少できるとともに、光源の保守が容易となる反面、照明からの光がカメラによってさえぎられるために画像に明度のむらの生じることもある。
このような場合には、インキュベータ内にレンズ周りを取り囲むようなリングライトを使用することもできる。
あるいは、特に照明装置を設けずにインキュベータ外の部屋の照明で細胞を照らすことも可能である。
この場合も、光源の波長についてはすでに透過光方式のところで説明したとおりである。
なお、透過光の場合は光が細胞表面に回りこみにくいために、培養細胞の下にフィーダー細胞が存在するときなどは、細胞表面が確認しにくい場合が生じる。このような場合には、反射光方式を併用するとよい。
照明装置は、波長だけでなくその光量や照射角度などを調整可能なものとすれば、撮影画像をより高画質にすることができる。
次に、カメラ培養器駆動装置16について説明する。
カメラ培養器駆動装置16もインキュベータ22内に配置する。
例えば図2では、カメラ13とそれを支えるスタンド132、およびスタンドを支え台車を有するベース133が、レール22上を移動可能となっている。ベース133には動力伝達部163を介してモーター162が取り付けられており、モーター162を駆動することで、動力伝達部163経由でベース133を移動させる。
図2では、カメラ培養器駆動装置16は、モーター162、ベースの台車(図示せず)、およびレール22から成り立っている。
モーター162は後述するモーターコントローラ17から指示を受けて、培養器131の表面との距離をほぼ一定に保ちながら、その表面を2次元的に走査する。
走査と同時に撮影することで、培養器の全面を画像化可能である。
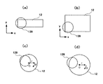
図3を用いて走査の様子について説明する。
図3(a)のように、培養容器の形状が横長矩形で、Y方向を視野範囲139に収められる様な倍率のレンズ131の場合には、X方向にだけ走査すればよい。
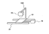
このとき培養容器とカメラの位置関係は相対的なものであればいいので、図3(a)のような走査をする場合は、図2のようなカメラ側を動かす構成と図4のような培養器12側を動かす構成のいずれも使用可能である。
図3(b)のように、培養容器が正方形に近くその面積が大きいためX方向の走査だけではY方向を視野範囲139に収められない場合には、XおよびYの両方向に走査すればよい。この場合も、図2あるいは図4の構成で走査ができるが、カメラ培養器駆動装置16はX−Yの両方向に走査可能であるよう構成する。
図2でいえば、モータ162、動力伝達部163、およびレール21のセットをベース133上に90度回転させて載置すればX−Y方向に走査が可能となる。
また、図4の培養器を動かす構成でも、同様に直交する2方向に走査可能な構成であれば図3(b)のように撮影できる。
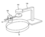
図3(c)のように、培養容器が円形に近く、その半径が視野範囲139に収められる場合には、θ方向にのみ走査すればよい。
この場合は図5のような構成を利用することで走査可能となる。
図5では、培養器12は円形のものとし、スタンド135の先端にモーター16を取り付けて、モーター16を回転させることでカメラ13を円状に走査する。また、上記したようにカメラ13ではなく培養器12を移動可能としてもよい。
図3(d)のように、培養容器が円形に近く、その半径が視野範囲139に収められない場合には、r方向とθ方向に走査すればよい。この場合も、図5のような構成によって走査可能である。
ただし、r方向にも走査する必要があるために、カメラ13が回転アーム136上をスライド可能とする必要がある。
この場合、カメラ13の上に搭載した別のモーター162によって回転アーム136上を移動できるようにすればよい。
また、上記したようにカメラ13ではなく培養器12を移動可能としてもよい。
次に図6を用いて画像処理ユニット14の構成を説明する。
図6は、画像処理ユニット14の構成を詳細に示した図である。
画像処理ユニット14には、データバス41を介して演算処理を行うCPU42,CPU42が一時記憶領域として使用する主メモリ43と、画像データやその位置情報を格納する外部記憶装置44と、モーターコントローラ17と通信するための通信ポート45と、コロニーの有無と大きさを表示するモニタ46、ユーザーからの入力インターフェイスであるキーボード47から構成される。
次に、画像処理ユニット14内でのコロニー判別の手順を、図7のソフトウェアフローチャートに沿って説明する。
培養器12の大きさは予め外部記憶装置44に設定されている場合と、カメラ13を用いて画像処理により検出する方法があるが、本実施例1は前者の場合である。
ステップ51においては、培養器12を撮影するための走査位置情報である画像撮影位置リストを作成する。
走査にあたっては培養器12全体を撮影するように決定してもよいし、培養器の一部を撮影するように決定してもよい。
画像位置リストは、例えば培養器面をX−Y軸で座標系とすると、その上の複数のX―Y座標点の集合である。画像位置リストは、主メモリ43に格納し、内容はモーターコントローラ17などによって随時参照可能とする。画像撮影位置リストは、レンズの視野範囲(画角)と培養器12の大きさに応じて決まる。
ステップ52では、上記作成された画像撮影位置リストに従って、CPU42が移動命令を出す。CPU42が出した移動命令はデータバス41、通信ポート45を経由してモーターコントローラ17に到達する。
モーターコントローラ17は、カメラ・培養器駆動装置16を動作させて、画像撮影位置リストに記録された撮影位置でカメラ13または培養器12を停止させる。
目的位置に達する度、ステップ53で画像の撮影と多値化処理を行う。
つまり、CPU42により画像取り込み命令がカメラ13に出される。カメラ13は、画像データをコンバータ15にて電気的信号に変換した後、この信号をデータバス41経由で主メモリ43に転送する。
CPU42ではこの信号をモニタ46に表示するための多値化処理する。
ステップ54では、主メモリ43に格納されている画像データからCPU42によりヒストグラムを算出する。
ステップ55では、ヒストグラムが最大となる画素値を撮影位置情報とともに外部記憶装置44に保存する。
ステップ56において画像撮影位置リストに記された撮影位置をすべて撮影し終えたならば、ステップ57に進む。
ステップ57では、外部記憶装置44に格納されている位置情報と画素値を読み出し、主メモリ43に位置情報に対応する画素値を格納し、モニタ46に表示可能な画像として準備する。
ステップ58において、このようにして作成された濃淡画像を、予め経験的に求められ外部記憶装置44に格納されている閾値と比較することにより、二値化する。
ステップ58,ステップ57で得られた二値化画像からコロニーの大きさ、面積、周囲長を算出する。
以上のようにして、コロニーの大きさ、面積、周囲長が取得できるが、こうして確認したコロニーの詳細画像を確認する場合は、撮影データを外部記憶装置44などに画像撮影位置リスト内の走査位置情報や撮影位置の情報とともに記録しておき、該当する撮影位置を手がかりに撮影画像を呼び出すようにすればよい。
先述したように、レンズは高い倍率のものを使用可能であるため、再度別のレンズを使用して撮りなおさなくても、撮影済みの画像から培養状態を評価可能である。
これによって継代のタイミングなどの決定がより確実に短時間でコンタミのリスクなしに行えるようになる。
実施例2では、培養器12の大きさをカメラ13を用いて画像処理により検出する。
上記実施例1とは、ステップ51の画像撮影位置リストの作成の部分以外は同じである。
従ってステップ51以外の説明は省略する。
本実施例では、ステップ51の実行にあたり、設計の許す範囲内で、できるだけ広く培養容器12を含む領域をスキャンする。こうして得られた画像から培養容器の大きさを求める。さらに、カメラの倍率や視野範囲の情報からCPU42にて画像撮影位置リストを作成する。この際、カメラの撮影距離からレンズの倍率やカメラの視野範囲の情報も認識可能である。
したがって、培養容器の大きさ及びレンズの倍率やカメラの視野範囲の情報を全て撮影前に自動的に認識可能であり、画像撮影位置リストも全自動で設定可能となる。
画像撮影位置リストを作成するにあたっては、CPUは図3(a)から(d)のように培養容器12を網羅的に走査できる視野範囲139の経路を決定する。さらに同経路中撮影するタイミングも計算して、その地点を撮影位置とする。
上記経路は培養物に極力ストレスを与えない観点から、ひとふで書きでトレースできるようなものが望ましい。
こうして作成した撮影位置の集合を、X−Y座標ないしはr−θ座標の集合として外部記憶装置などに記憶する。これが画像撮影位置リストの作成方法である。なお、ステップ51の実行に当たっては実施例1のステップ53で説明した照明を使用して撮影してもよい。
実施例2は、このようにしてカメラ13を用いて画像処理により撮影位置を特定しているために、異なるサイズの培養容器に対してそのサイズを入力しなくても走査が可能となる。
例えば、完全密閉のインキュベータ内で培養の前に培養器表面積を計測し忘れても、ステップ51の事前走査によって画像撮影位置リストを作成可能である。このためより作業者の負担が軽減できる。
実施例1および2では、画像撮影位置リストに記載の撮影位置で撮影を行った。
実施例3では、走査の経路に沿ってカメラを随時移動させながら撮影位置でカメラを停止させることなく撮影を行う。
それ以外の構成は実施例1と2に記載したとおりであるので説明を省略する。
撮影位置でカメラを停止させることなく撮影を行う場合に、カメラが移動していることによって画像のブレが心配される。
画像のブレはシャッタースピードと走査速度によってその許容度が決まる。たとえば、培養細胞の大きさが100マイクロミリ程度、走査速度が1mm当り1秒、シャッタースピードが1/1000秒ならば、一画像あたりの移動距離は1マイクロミリであるため、培養細胞の大きさに対し無視できるブレとなる。
このように培養対象の細胞の大きさに応じて、走査速度とシャッタースピードを変化させて連続撮影に最適なパラメータを決定する。
コロニー判別のためには画像の濃淡を用いるため、コロニーの辺縁を明瞭に捉える必要はなく、また撮影は短時間で終了するため、撮影時にカメラ13または培養器12が完全に静止している必要はない。
連続撮影することでカメラや培養器の移動停止を繰り返す必要がなくなり培養容器に与える震動なども小さくすることができる。
このように構成することで撮影時間を短縮可能であるとともに、特に培養器を移動させて撮影する場合には、細胞に対するストレスを低減できるという長所もある。
また、以上の実施例で、カメラの光学系は、単純光を用いて細胞表面における散乱光ないしは透過光を検出する方式で説明したが、これにこだわらず位相差方式の光学系を用いてもよい。
細胞培養装置を示す模式図。 カメラを移動する場合の駆動系斜視図。 (a)小型方形培養器とカメラの視野範囲との関係図、(b)大型方形培養器とカメラの視野範囲との関係図、(c)小型円形培養器とカメラの視野範囲との関係図、(d)大型方形培養器とカメラの視野範囲との関係図。 培養器を移動して走査する培養装置の要部を示した図。 円形培養器を上を走査して撮影する培養装置の要部を示した図。 画像処理ユニットの構成図。 コロニー判別画像処理のフローチャート。
符号の説明
11 細胞培養装置
12 培養器
13 カメラ
14 画像処理ユニット
15 コンバータ
16 カメラ・培養器駆動装置
17 モータコントローラ
21 ガイド
22 インキュベータ
139 視野範囲

Claims (3)

  1. 細胞を培養する平面状の培養器と、その平面に直交する方向に光軸を有しその視野範囲が前記培養器の表面より狭い撮像装置と、前記培養器表面と撮像装置の光軸が直交する状態を保ったまま前記培養器表面と撮像装置のうち少なくとも一方を相対的に移動させる駆動手段と、を有する細胞培養装置において、
    前記駆動手段は、前記撮像装置の視野範囲に入らない培養器の表面部分が前記視野範囲に入るように前記相対的移動をさせた際に、前記撮像装置は、前記培養器表面の撮影を行うことを特徴とする細胞培養装置。
  2. 前記培養器の表面と前記視野範囲との関係から前記相対的移動の経路を計画するとともに、前記経路上の撮影位置を事前に決定する手段をさらに備えた請求項1に記載の細胞培養装置。
  3. さらに細胞を照射する光源を備えた請求項1または2に記載の細胞培養装置。
JP2004112792A 2004-04-07 2004-04-07 細胞培養装置 Expired - Fee Related JP4490154B2 (ja)

Priority Applications (1)

Application Number Priority Date Filing Date Title
JP2004112792A JP4490154B2 (ja) 2004-04-07 2004-04-07 細胞培養装置

Applications Claiming Priority (1)

Application Number Priority Date Filing Date Title
JP2004112792A JP4490154B2 (ja) 2004-04-07 2004-04-07 細胞培養装置

Publications (3)

Publication Number Publication Date
JP2005295818A true JP2005295818A (ja) 2005-10-27
JP2005295818A5 JP2005295818A5 (ja) 2007-05-31
JP4490154B2 JP4490154B2 (ja) 2010-06-23

Family

ID=35328116

Family Applications (1)

Application Number Title Priority Date Filing Date
JP2004112792A Expired - Fee Related JP4490154B2 (ja) 2004-04-07 2004-04-07 細胞培養装置

Country Status (1)

Country Link
JP (1) JP4490154B2 (ja)

Cited By (16)

* Cited by examiner, † Cited by third party
Publication number Priority date Publication date Assignee Title
JP2006141326A (ja) * 2004-11-22 2006-06-08 Hitachi Medical Corp 培養装置
JP2007330145A (ja) * 2006-06-14 2007-12-27 Nikon Corp 細胞培養装置
JP2008092811A (ja) * 2006-10-06 2008-04-24 Hitachi Medical Corp 細胞培養装置
JP2008092882A (ja) * 2006-10-13 2008-04-24 Hitachi Medical Corp 自動培養装置
JP2010213582A (ja) * 2009-03-13 2010-09-30 Olympus Corp 培養細胞照明装置、及び培養細胞照明方法
CN102762713A (zh) * 2010-01-20 2012-10-31 Emd密理博公司 细胞图像捕捉和远程监控系统
US9145572B2 (en) 2011-12-22 2015-09-29 Panasonic Healthcare Holdings Co., Ltd. Observation system, recording medium, and control method of observation system
JP2016116460A (ja) * 2014-12-19 2016-06-30 パナソニック株式会社 細胞培養装置
JP2017153441A (ja) * 2016-03-03 2017-09-07 オリンパス株式会社 観察装置、測定システム及び観察方法
CN107231507A (zh) * 2016-03-25 2017-10-03 奥林巴斯株式会社 摄像装置和摄像方法
JP2018007587A (ja) * 2016-07-11 2018-01-18 オリンパス株式会社 観察装置
JP2018025627A (ja) * 2016-08-09 2018-02-15 オリンパス株式会社 観察装置
WO2018110053A1 (ja) * 2016-12-13 2018-06-21 株式会社サイフューズ 細胞構造体製造装置および細胞トレイ
US10275882B2 (en) 2016-03-23 2019-04-30 Olympus Corporation Observation apparatus, measurement system and observation method
CN111893039A (zh) * 2020-07-27 2020-11-06 广东海洋大学 一种新型计算机图像识别细胞分离系统
USD907244S1 (en) 2019-06-14 2021-01-05 Emd Millipore Corporation Cell imager

Cited By (27)

* Cited by examiner, † Cited by third party
Publication number Priority date Publication date Assignee Title
JP2006141326A (ja) * 2004-11-22 2006-06-08 Hitachi Medical Corp 培養装置
JP2007330145A (ja) * 2006-06-14 2007-12-27 Nikon Corp 細胞培養装置
JP2008092811A (ja) * 2006-10-06 2008-04-24 Hitachi Medical Corp 細胞培養装置
JP2008092882A (ja) * 2006-10-13 2008-04-24 Hitachi Medical Corp 自動培養装置
JP2010213582A (ja) * 2009-03-13 2010-09-30 Olympus Corp 培養細胞照明装置、及び培養細胞照明方法
CN105907634A (zh) * 2010-01-20 2016-08-31 Emd密理博公司 细胞图像捕捉和远程监控方法
CN102762713A (zh) * 2010-01-20 2012-10-31 Emd密理博公司 细胞图像捕捉和远程监控系统
CN105907634B (zh) * 2010-01-20 2018-09-07 Emd密理博公司 细胞图像捕捉和远程监控方法
US9145572B2 (en) 2011-12-22 2015-09-29 Panasonic Healthcare Holdings Co., Ltd. Observation system, recording medium, and control method of observation system
JP2016116460A (ja) * 2014-12-19 2016-06-30 パナソニック株式会社 細胞培養装置
JP2017153441A (ja) * 2016-03-03 2017-09-07 オリンパス株式会社 観察装置、測定システム及び観察方法
US10129474B2 (en) 2016-03-03 2018-11-13 Olympus Corporation Observation apparatus, measurement system and observation method
US10275882B2 (en) 2016-03-23 2019-04-30 Olympus Corporation Observation apparatus, measurement system and observation method
CN107231507A (zh) * 2016-03-25 2017-10-03 奥林巴斯株式会社 摄像装置和摄像方法
JP2018007587A (ja) * 2016-07-11 2018-01-18 オリンパス株式会社 観察装置
CN107613217A (zh) * 2016-07-11 2018-01-19 奥林巴斯株式会社 观察装置、观察装置的控制方法和记录介质
US10674044B2 (en) 2016-07-11 2020-06-02 Olympus Corporation Observation apparatus, method for controlling observation apparatus, and non-transitory computer-readable medium storing control program for observation apparatus
US10310242B2 (en) 2016-08-09 2019-06-04 Olympus Corporation Observation apparatus, method for controlling observation apparatus, and non-transitory computer readable storage medium storing control program for observation apparatus
EP3284814A1 (en) 2016-08-09 2018-02-21 Olympus Corporation Observation apparatus, method for controlling observation apparatus, and computer readable storage medium storing control program for observation apparatus
CN107699477A (zh) * 2016-08-09 2018-02-16 奥林巴斯株式会社 观察装置、观察装置的控制方法和记录介质
JP2018025627A (ja) * 2016-08-09 2018-02-15 オリンパス株式会社 観察装置
WO2018110058A1 (ja) * 2016-12-13 2018-06-21 株式会社サイフューズ 細胞構造体製造装置
WO2018110053A1 (ja) * 2016-12-13 2018-06-21 株式会社サイフューズ 細胞構造体製造装置および細胞トレイ
JPWO2018110058A1 (ja) * 2016-12-13 2019-10-24 株式会社サイフューズ 細胞構造体製造装置
USD907244S1 (en) 2019-06-14 2021-01-05 Emd Millipore Corporation Cell imager
CN111893039A (zh) * 2020-07-27 2020-11-06 广东海洋大学 一种新型计算机图像识别细胞分离系统
CN111893039B (zh) * 2020-07-27 2022-11-01 广东海洋大学 一种计算机图像识别细胞分离系统

Also Published As

Publication number Publication date
JP4490154B2 (ja) 2010-06-23

Similar Documents

Publication Publication Date Title
JP4490154B2 (ja) 細胞培養装置
CN102313982B (zh) 显微镜及区域确定方法
US7876948B2 (en) System for creating microscopic digital montage images
US8363099B2 (en) Microscope system and method of operation thereof
CN111183385B (zh) 实时自动聚焦扫描
US7885447B2 (en) Image acquiring apparatus including macro image acquiring and processing portions, image acquiring method, and image acquiring program
JP6972188B2 (ja) 異なるサイズのスライド用の調整可能なスライドステージ
JP7021348B2 (ja) カルーセルの回転を不能にするセーフティライトカーテン
CA3061440C (en) Optical scanning arrangement and method
CN107743583B (zh) 用于至少对半导体装置的侧表面进行检验的设备、方法及计算机程序产品
JP2020535478A (ja) 2回通過式マクロ画像
JP2008216248A (ja) ウエハ縁端部の上部表面の欠陥の高分解能画像を取得する方法
JP2021193459A (ja) 二重光学経路および単一撮像センサを使用した低解像度スライド撮像、スライドラベル撮像および高解像度スライド撮像
JP6940696B2 (ja) 二次元および三次元の固定式z走査
KR20200041983A (ko) 실시간 오토포커스 포커싱 알고리즘
JP7004808B2 (ja) スライドガラスの走査および処理のための対向縁部システム
JP2021502552A (ja) スライドラックカルーセル
JP2007506081A5 (ja)
JP2007506081A (ja) ウェハの検査方法及び装置
JP7044875B2 (ja) スライドラック判定システム
US20130016192A1 (en) Image processing device and image display system
EP1882967B1 (en) Scanning examination apparatus
JP2021512346A (ja) 衝撃再走査システム
JP2007334423A (ja) 自動撮影装置
JP6255305B2 (ja) 光学顕微装置

Legal Events

Date Code Title Description
A521 Request for written amendment filed

Free format text: JAPANESE INTERMEDIATE CODE: A523

Effective date: 20070406

A621 Written request for application examination

Free format text: JAPANESE INTERMEDIATE CODE: A621

Effective date: 20070406

A711 Notification of change in applicant

Free format text: JAPANESE INTERMEDIATE CODE: A711

Effective date: 20090409

A521 Request for written amendment filed

Free format text: JAPANESE INTERMEDIATE CODE: A821

Effective date: 20090409

A977 Report on retrieval

Free format text: JAPANESE INTERMEDIATE CODE: A971007

Effective date: 20090929

A131 Notification of reasons for refusal

Free format text: JAPANESE INTERMEDIATE CODE: A131

Effective date: 20091215

A521 Request for written amendment filed

Free format text: JAPANESE INTERMEDIATE CODE: A523

Effective date: 20100212

TRDD Decision of grant or rejection written
A01 Written decision to grant a patent or to grant a registration (utility model)

Free format text: JAPANESE INTERMEDIATE CODE: A01

Effective date: 20100309

A01 Written decision to grant a patent or to grant a registration (utility model)

Free format text: JAPANESE INTERMEDIATE CODE: A01

A61 First payment of annual fees (during grant procedure)

Free format text: JAPANESE INTERMEDIATE CODE: A61

Effective date: 20100401

FPAY Renewal fee payment (event date is renewal date of database)

Free format text: PAYMENT UNTIL: 20130409

Year of fee payment: 3

R150 Certificate of patent or registration of utility model

Ref document number: 4490154

Country of ref document: JP

Free format text: JAPANESE INTERMEDIATE CODE: R150

Free format text: JAPANESE INTERMEDIATE CODE: R150

S531 Written request for registration of change of domicile

Free format text: JAPANESE INTERMEDIATE CODE: R313531

R250 Receipt of annual fees

Free format text: JAPANESE INTERMEDIATE CODE: R250

FPAY Renewal fee payment (event date is renewal date of database)

Free format text: PAYMENT UNTIL: 20140409

Year of fee payment: 4

R350 Written notification of registration of transfer

Free format text: JAPANESE INTERMEDIATE CODE: R350

R250 Receipt of annual fees

Free format text: JAPANESE INTERMEDIATE CODE: R250

R250 Receipt of annual fees

Free format text: JAPANESE INTERMEDIATE CODE: R250

R250 Receipt of annual fees

Free format text: JAPANESE INTERMEDIATE CODE: R250

R250 Receipt of annual fees

Free format text: JAPANESE INTERMEDIATE CODE: R250

R250 Receipt of annual fees

Free format text: JAPANESE INTERMEDIATE CODE: R250

R250 Receipt of annual fees

Free format text: JAPANESE INTERMEDIATE CODE: R250

R250 Receipt of annual fees

Free format text: JAPANESE INTERMEDIATE CODE: R250

R250 Receipt of annual fees

Free format text: JAPANESE INTERMEDIATE CODE: R250

LAPS Cancellation because of no payment of annual fees