JP2005295502A - 録音及び撮像機能付電子機器と、録音及び撮像機能付装置と、その使用方法と、それに用いるマイクセット - Google Patents

録音及び撮像機能付電子機器と、録音及び撮像機能付装置と、その使用方法と、それに用いるマイクセット Download PDF

Info

Publication number
JP2005295502A
JP2005295502A JP2004363771A JP2004363771A JP2005295502A JP 2005295502 A JP2005295502 A JP 2005295502A JP 2004363771 A JP2004363771 A JP 2004363771A JP 2004363771 A JP2004363771 A JP 2004363771A JP 2005295502 A JP2005295502 A JP 2005295502A
Authority
JP
Japan
Prior art keywords
audio
recording
microphone
unit
file
Prior art date
Legal status (The legal status is an assumption and is not a legal conclusion. Google has not performed a legal analysis and makes no representation as to the accuracy of the status listed.)
Pending
Application number
JP2004363771A
Other languages
English (en)
Inventor
Yoshito Suzuki
芳人 鈴木
Masayoshi Kawashima
正義 河島
Takeshi Sugiura
剛 杉浦
Current Assignee (The listed assignees may be inaccurate. Google has not performed a legal analysis and makes no representation or warranty as to the accuracy of the list.)
Pentax Sales Co Ltd
Original Assignee
Pentax Sales Co Ltd
Priority date (The priority date is an assumption and is not a legal conclusion. Google has not performed a legal analysis and makes no representation as to the accuracy of the date listed.)
Filing date
Publication date
Application filed by Pentax Sales Co Ltd filed Critical Pentax Sales Co Ltd
Priority to JP2004363771A priority Critical patent/JP2005295502A/ja
Priority to US11/073,589 priority patent/US20050200710A1/en
Priority to KR20050019735A priority patent/KR20060043599A/ko
Publication of JP2005295502A publication Critical patent/JP2005295502A/ja
Pending legal-status Critical Current

Links

Images

Classifications

    • HELECTRICITY
    • H04ELECTRIC COMMUNICATION TECHNIQUE
    • H04NPICTORIAL COMMUNICATION, e.g. TELEVISION
    • H04N5/00Details of television systems
    • H04N5/222Studio circuitry; Studio devices; Studio equipment
    • AHUMAN NECESSITIES
    • A47FURNITURE; DOMESTIC ARTICLES OR APPLIANCES; COFFEE MILLS; SPICE MILLS; SUCTION CLEANERS IN GENERAL
    • A47JKITCHEN EQUIPMENT; COFFEE MILLS; SPICE MILLS; APPARATUS FOR MAKING BEVERAGES
    • A47J36/00Parts, details or accessories of cooking-vessels
    • A47J36/02Selection of specific materials, e.g. heavy bottoms with copper inlay or with insulating inlay
    • A47J36/04Selection of specific materials, e.g. heavy bottoms with copper inlay or with insulating inlay the materials being non-metallic
    • HELECTRICITY
    • H04ELECTRIC COMMUNICATION TECHNIQUE
    • H04NPICTORIAL COMMUNICATION, e.g. TELEVISION
    • H04N23/00Cameras or camera modules comprising electronic image sensors; Control thereof
    • HELECTRICITY
    • H04ELECTRIC COMMUNICATION TECHNIQUE
    • H04NPICTORIAL COMMUNICATION, e.g. TELEVISION
    • H04N5/00Details of television systems
    • H04N5/76Television signal recording
    • H04N5/765Interface circuits between an apparatus for recording and another apparatus
    • H04N5/77Interface circuits between an apparatus for recording and another apparatus between a recording apparatus and a television camera
    • H04N5/772Interface circuits between an apparatus for recording and another apparatus between a recording apparatus and a television camera the recording apparatus and the television camera being placed in the same enclosure
    • HELECTRICITY
    • H04ELECTRIC COMMUNICATION TECHNIQUE
    • H04NPICTORIAL COMMUNICATION, e.g. TELEVISION
    • H04N9/00Details of colour television systems
    • H04N9/79Processing of colour television signals in connection with recording
    • H04N9/80Transformation of the television signal for recording, e.g. modulation, frequency changing; Inverse transformation for playback
    • H04N9/804Transformation of the television signal for recording, e.g. modulation, frequency changing; Inverse transformation for playback involving pulse code modulation of the colour picture signal components
    • H04N9/806Transformation of the television signal for recording, e.g. modulation, frequency changing; Inverse transformation for playback involving pulse code modulation of the colour picture signal components with processing of the sound signal
    • AHUMAN NECESSITIES
    • A47FURNITURE; DOMESTIC ARTICLES OR APPLIANCES; COFFEE MILLS; SPICE MILLS; SUCTION CLEANERS IN GENERAL
    • A47JKITCHEN EQUIPMENT; COFFEE MILLS; SPICE MILLS; APPARATUS FOR MAKING BEVERAGES
    • A47J37/00Baking; Roasting; Grilling; Frying
    • A47J37/06Roasters; Grills; Sandwich grills
    • A47J37/067Horizontally disposed broiling griddles
    • A47J37/0682Horizontally disposed broiling griddles gas-heated
    • AHUMAN NECESSITIES
    • A47FURNITURE; DOMESTIC ARTICLES OR APPLIANCES; COFFEE MILLS; SPICE MILLS; SUCTION CLEANERS IN GENERAL
    • A47JKITCHEN EQUIPMENT; COFFEE MILLS; SPICE MILLS; APPARATUS FOR MAKING BEVERAGES
    • A47J43/00Implements for preparing or holding food, not provided for in other groups of this subclass
    • A47J43/04Machines for domestic use not covered elsewhere, e.g. for grinding, mixing, stirring, kneading, emulsifying, whipping or beating foodstuffs, e.g. power-driven
    • A47J43/07Parts or details, e.g. mixing tools, whipping tools
    • HELECTRICITY
    • H04ELECTRIC COMMUNICATION TECHNIQUE
    • H04NPICTORIAL COMMUNICATION, e.g. TELEVISION
    • H04N5/00Details of television systems
    • H04N5/76Television signal recording
    • H04N5/907Television signal recording using static stores, e.g. storage tubes or semiconductor memories

Landscapes

  • Engineering & Computer Science (AREA)
  • Multimedia (AREA)
  • Signal Processing (AREA)
  • Food Science & Technology (AREA)
  • Studio Devices (AREA)
  • Television Signal Processing For Recording (AREA)

Abstract

【課題】 離れた距離にある被写体の音声も録音できる録音及び撮影機能付装置を実現する。
【解決手段】 外部マイク2から微弱FM波のような無線で送信される音声情報を受信窓3を通して受信部11にて受信するようにし、その受信した音声情報は音声モニター部12からイヤホンジャック13を通じてイヤホン6に出力され、被写体10の音声情報のモニターができるようにする。
また、受信部11で受信した音声情報は、音声データ作成部14でディジタル信号であって且つ取り扱いやすい形式のデータに変換し、ファイル名作成部16で作成されたファイル名を付けられて音声ファイル保存部15で保存される。音声ファイル保存部16での音声データの保存は、音声録音ボタン5で制御され、音声録音ボタン5がオンの状態の間に保存される。
【選択図】 図1

Description

本発明は、録音及び撮像機能を備えた電子機器、例えばディジタルカメラ、ディジタルムービー、ICレコーダ等と、録音及び撮像機能を備えた電子機器を本体とし、それに一つ又は二つのマイクセットを付加し、市販の2台の携帯電話機を活用してカメラから離れた被写体からの音声を良好に録音することができる録音及び撮像機能付装置或いは2台の携帯電話機からなる録音及び撮像機能付装置と、その使用方法と、それ等に用いるマイクに関する。
カメラは、銀塩フィルムに撮影する従来型に代わり、固体撮像素子に撮像して得た撮像信号を例えばメモリカード等に記憶するディジタルカメラが普及し、主流になりつつある。
そして、そのディジタルカメラには、撮影時に音声を録音できるようにしたものがある(特開2004−120147号参照)。
このような録音機能付カメラは、撮影に必要な機能を備えていることは当然であるが、更に、マイクロフォンを内蔵し、そのマイクロフォンで収音した信号を処理して音声データを音声ファイルとしてメモリカード等に保存する機能を有している。
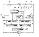
図8はそのようなタイプのディジタルカメラの一例である、シャッターを押下している間画像を1秒あたり数十フレーム連続して撮影でき、同時に音声も録音できるディジタルカメラの概略構成を示すブロック図である。
図において、aは撮像部で、被写体の画像を撮像し、画像情報を電気信号に変換し、液晶ディスプレイ等からなる画像モニター部b及び画像データ作成部dへ送出する。画像モニター部bは撮像部aからの画像情報を受けるその画像を再生表示する。
このディジタルカメラのシャッターcが押下されると、撮像部aで撮像された画像情報は、画像データ作成部dでディジタル信号であって且つ取り扱いやすい形式のデータに変換され、ファイル名作成部eにより作成されたファイル名がつけられて画像ファイル保存部fに送られる。画像ファイル保存部fに送られた画像ファイルは、メモリカード制御部gの制御によりメモリカードhにより保存される。
被写体の音声は、内蔵マイク部kにおいて受信され、電気信号に変換される。そして、前述のシャッターcが押下されたときは、その押下されている間、音声データ作成部mで内蔵マイクkからの音声情報をディジタル信号であって且つ取り扱いやすい形式のデータに変換され続け、その押下されている間の音声情報が一つの音声ファイルとして上記ファイル作成部eで作成されたファイル名が付けられて画像ファイル保存部fに保存される。該画像ファイル保存部fに送られた音声ファイルは、メモリカード制御部gの制御により、メモリカードhに保存される
特開2004−120147号
ところで、図8に示すような従来のディジタルカメラには、下記のような問題があった。第1に、内蔵マイクにより音声を録音するため、ディジタルカメラの周辺の音声しか録音できず、画像の方はズーム機能により遠くの被写体でも大きく写せるようになっているにも拘わらず、遠くの被写体の音声は録音できないという問題があった。
第2に、カメラがアナログからディジタルに進歩したことにより、アナログ写真では画像だけの楽しみであったものが、ディジタル写真では、写真に関連する音声や音楽、更にはテキスト等を一緒に保存し、それをパーソナルコンピュータ(パソコン)等で再生して楽しめるようになる筈である。しかし、従来のディジタルカメラでは、被写体の写真の撮影とそれに対応すべき音声の録音を良好に関係づけて行うことが難しいという問題があり、そのことがパーソナルコンピュータ等で再生して楽しめるようにすることを阻んでいるという面があった。
本発明はこのような問題点を解決すべく為されたものであり、従来のディジタルカメラ等の録音及び撮影機能付電子機器に内蔵されたマイクでは録音できなかったような離れた距離にある被写体の音声も録音できるようにし、更には、写真の撮影と同時に、写真撮影時とその前後に被写体で収音した音声の録音をも行えるようにすることを目的とする。
請求項1の録音及び撮影機能付電子機器は、外部マイクにより収音され無線で送信される音声情報を受信できる受信部と、該受信部で受信された音声情報から音声データを作成する音声データ作成部と、該音声データ作成部で作成された音声データを保存する音声ファイル保存部と、撮影により得られた画像情報から画像データを作成する画像データ作成部と、該画像データ作成部で作成された画像データを保存する画像ファイル保存部と、上記音声ファイル保存部に保存された音声データからなる音声ファイル及びこの音声ファイルに関連する撮影により上記画像データ作成部にて作成され上記画像ファイル保存部により保存された画像ファイルに、互いを関連付けるファイル名を付与するファイル名作成部を少なくとも備えたことを特徴とする。
請求項2の録音及び撮影機能付電子機器は、請求項1記載の録音及び撮影機能付電子機器において、前記音声無線送信セットの前記外部マイクのスイッチングを、前記録音及び撮影機能付電子機器からの操作により為し得るようにしたことを特徴とする。
請求項3の録音及び撮像機能付装置は、外部マイクにより収音し、その収音した音声情報を送信部により無線の音声信号にして送信する音声無線送信セットと、外部マイクにより収音され上記送信部により無線送信された上記音声無線送信セットからの音声情報を受信できる受信部、該受信部で受信された音声情報から音声データを作成する音声データ作成部、該音声データ作成部で作成された音声データを保存する音声ファイル保存部、撮影により得られた画像情報から画像データを作成する画像データ作成部、該画像データ作成部で作成された画像データを保存する画像ファイル保存部及び上記音声ファイル保存部に保存された音声データからなる音声ファイル及びこの音声ファイルに関連する撮影により上記画像データ作成部にて作成され上記画像ファイル保存部により保存された画像ファイルに、互いを関連付けるファイル名を付与するファイル名作成部を少なくとも備えた録音及び撮影機能付電子機器と、からなることを特徴とする。
請求項4の録音及び撮影機能付電子機器は、音声信号を伝達する経路の端子を着脱可能に接続される音声信号ジャックと、上記音声信号ジャックを通じて入力された音声情報から音声データを作成する音声データ作成部と、上記音声データ作成部で作成された音声データを保存する音声ファイル保存部と、撮影により得られた画像情報から画像データを作成する画像データ作成部と、上記画像データ作成部で作成された画像データを保存する画像ファイル保存部と、上記音声ファイル保存部に保存された音声データからなる音声ファイル及びこの音声ファイルに関連する撮影により上記画像データ作成部にて作成され上記画像ファイル保存部により保存された画像ファイルに、互いを関連付けるファイル名を付与するファイル名作成部と、を少なくとも備えたことを特徴とする。
請求項5の録音及び撮像機能付装置は、請求項2の録音及び撮像機能付装置において、前記外部マイクに、前記音声ファイル保存部に対して音声データの保存動作をスタートさせたりストップさせたりストップさせたりするスイッチを設けたことを特徴とする。
請求項6の録音及び撮像機能付電子機器は、請求項1、2、4又は5記載の録音及び撮像機能付電子機器において、前記音声ファイル保存部に、シャッターを押した時刻以前の時間と、シャッターを押した時刻以後の時間をそれぞれ設定可能とし、この以前の時間と、シャッターを押していた時間と、以後の時間だけ音声データを保存するようにしたことを特徴とする。
請求項7の録音及び撮像機能付装置は、外部マイクにより収音し、その収音した音声情報を送信部により無線信号にして送信する音声無線送信セットと、上記音声無線送信セットからの無線信号による音声情報を受信し、それを端子から出力する音声無線受信セットと、上記音声無線送信セットの上記端子が着脱可能に接続される音声信号ジャック、該音声信号ジャックを通じて入力された音声情報から音声データを作成する音声データ作成部、該音声データ作成部で作成された音声データを保存する音声ファイル保存部、撮影により得られた画像情報から画像データを作成する画像データ作成部、該画像データ作成部で作成された画像データを保存する画像ファイル保存部及び該音声ファイル保存部に保存された音声デー情報から画像データを作成する画像データ作成部、該画像データ作成部で作成された画像データを保存する画像ファイル保存部及び該音声ファイル保存部に保存された音声データからなる音声ファイル及びこの音声ファイルに関連する撮影により上記画像データ作成部にて作成され上記画像ファイル保存部により保存された画像ファイルに、互いを関連付けるファイル名を付与するファイル名作成部を備えた録音及び撮影機能付電子機器と、を有することを特徴とする録音及び撮像機能付装置。
請求項8の録音及び撮像機能付装置は、少なくとも録音ジャックを有し、該録音ジャックから入力された音声信号を録音する録音及び撮像機能付電子機器と、マイク、上記録音ジャックに接続される端子及び携帯電話機の音声ジャックに接続される端子を備え、該両端子間及び上記マイクで音声信号の伝送をするようにしたマイクセットと、を少なくとも備えたことを特徴とする。
請求項9の録音及び撮像機能付装置は、請求項8記載の録音及び撮像機能付装置において、携帯電話機の音声ジャックに接続される端子を備えた被写体側のマイクを有することを特徴とする。
請求項10の録音及び撮像機能付装置の使用方法は、少なくとも録音ジャックを有し、該録音ジャックから入力された音声信号を録音する録音機能付き撮影機能を備えた電子機器と、マイク、上記録音ジャックに接続される端子及び携帯電話機の音声ジャックに接続される端子を備え、該両端子間及び上記マイクロフォンで音声信号の伝送をするようにしたマイクセットを少なくとも備えた録音及び撮像機能付装置の使用方法であって、市販の2台の携帯電話機を用意し、上記マイクセットの端子を上記録音及び撮像機能付電子機器及び一方の携帯電話機の上記ジャックに接続し、上記2台の携帯電話機間における通話機能を活かして被写体側の音声を上記録音及び撮像機能付電子機器に送って撮影に伴う録音を行うことを特徴とする。
請求項11のマイクセットは、イヤホンマイクの一つの端子からマイクロフォンへ音声信号を送るの線路とは別に、その音声信号を分岐させる線路が形成され、上記分岐させる線路の端を以て上記端子とは別の端子であってカメラの録音ジャックに接続される端子とされてなることを特徴とする。
請求項12の被写体側マイクセットは、イヤホンマイクセット、或いはそれからイヤホンを除いたものからなることを特徴とする。
請求項13の録音及び撮像機能付装置は、被写体側の携帯電話機及び撮影側の携帯電話機からなり、少なくとも、上記撮影側の携帯電話機は撮影機能を有することを特徴とする。
請求項14の録音及び撮像機能付装置は、請求項13記載の録音及び撮像機能付装置において、前記撮影側の携帯電話機の撮影機能はズーム機能を有していることを特徴とする。
請求項15の録音及び撮像機能付装置の使用方法は、被写体側の携帯電話機及び撮影側の携帯電話機からなり、少なくとも、該撮影側の携帯電話機は撮影機能を有する録音及び撮像機能付装置の使用方法であって、上記被写体側の携帯電話機と撮影側の携帯電話機携帯電話機間における通話機能を活かして被写体側の音声を撮影者側の携帯電話機に送って該撮影者側の携帯電話機にて撮影とその撮影に伴う録音とを行うことを特徴とする。
請求項1の録音及び撮影機能付電子機器によれば、無線で送信される音声情報を受信する受信部で受信された音声情報から音声データを音声データ作成部において作成し、その音声データをファイル(音声ファイル)にして音声ファイル保存部にて保存することとし、更に、その音声ファイルとこれに関連して撮影した画像情報に基づく画像ファイルとに、ファイル名作成部によりつくったところのそのファイル同士を互いに関連付けるファイル名を付与することとしたので、自身(本録音及び撮影機能付電子機器自身)の他には、外部マイクにより収音し、その収音した音声情報を送信部により無線の音声信号にして送信する音声無線送信セットを用意すれば、撮影と録音ができる。
というのは、外部マイクにより収音し、その収音した音声情報を送信部により無線の音声信号にして送信し、電子機器の受信部でそれを受信して音声録音し、別途電子機器自身で撮影した画像を撮影し画像情報と共にその音声情報を保存すると、画像ファイルをパーソナルコンピュータ(以下「パソコン」という。)等で画像再生して見るとき、音声ファイルも音声に変換して聴くということができるようになる。
従って、記憶を後世に残す役割を持つ写真に、音声を付随させて保存できるようになれば、写真を音声付きにすることができ、写真の価値を向上することができる。
そして、外部マイクで収音された音声を無線で送信するようにした音声情報を受信部にて受信するようにしたので、従来、録音及び撮影機能付電子機器(例えばディジタルカメラ)の内部マイクでは録音できなかったような離れた距離にある被写体の音声も録音できるようになる。
請求項2の録音及び撮影機能付電子機器によれば、外部マイクのスイッチング(オン、オフ)を行うことができるので、被写体が子供や動物等のように外部マイクのスイッチング操作(オン、オフ操作)ができなくても、電子機器自身の操作により外部マイクを必要に応じてオンにしたり、オフにしたりすることができ、録音を伴う撮影をスムーズに行うことができるのみならず、外部マイクを使わないときはオフさせることができるようになる。
請求項3の録音及び撮像機能付装置によれば、請求項1の録音及び撮影機能付電子機器と、音声無線送信セットがあるので、自身(本録音及び撮像機能付装置自身)のみで、外部マイクで収音された音声を無線で送信するようにした音声情報を受信部にて受信するようことができる。
従って、従来、録音及び撮影機能付電子機器(例えばディジタルカメラ)の内部マイクでは録音できなかったような離れた距離にある被写体にて収音された音声も録音できるようになる。
請求項4の録音及び撮影機能付電子機器によれば、音声信号ジャックを備え、該音声信号ジャックを通じて入力された音声情報を請求項1の録音及び撮影機能付電子機器と同様に音声ファイルにし、画像ファイルと関連付けたファイル名を付与して保存できるようにしたので、自身の他に、外部マイクにより収音し、その収音した音声情報を送信部により無線の音声信号にして送信する音声無線送信セットと、そのセットからの無線の音声信号を受信する音声無線受信セットとを用意し、該音声無線受信セットの出力端子を音声信号ジャックに接続することにより、上記外部マイクにより収音した音声を、自身(録音及び撮影機能付電子機器自身)内部にて録音することが可能となる。
請求項5の録音及び撮影機能付装置によれば、前記音声ファイル保存部に音声データの保存をスタートさせたりストップさせたりするスイッチを、外部マイクに設けたので、自身(録音及び撮影機能付電子機器自身)を三脚等に設置して、撮影者が撮影者自身を撮影するときにも、その外部マイクに設けたスイッチの操作により音声の録音をスタートさせたり、ストップさせたりすることができるようになる。
請求項6の録音及び撮影機能付電子機器によれば、音声ファイル保存部に、シャッターを押下する以前の時間と、押下し終えた以後の時間を設定可能とし、シャッターを押下した場合、そのシャッターを押下している時間の他に、その押下する以前の時間と押下し終えた以後の時間だけ音声データを保存したので、画像を撮影するシャッターの操作だけで、その前後の音声も録音できるようになる。
従って、シャッタータイミングとしては適切だが、録音タイミングが遅れ、録音に関しては音切れが生じたということを回避することが可能となり、撮影及び録音を適切なタイミングで為すことが可能になる。
請求項7の録音及び撮像機能付装置によれば、被写体側に音声無線送信セットを配置し(例えば被写体に持たせる)、録音及び撮影機能付電子機器の音声信号ジャックに、音声無線受信セットの端子を接続することにより、上記音声無線送信セットにより送信された被写体側の音声を、音声無線受信セットにて受信し、その音声無線受信セットから録音及び撮影機能付電子機器内部に取り込むようにしたので、請求項3の録音及び撮像機能付装置と同様の録音及び撮影をすることができる。
請求項8の録音及び撮像機能付装置によれば、録音ジャックを有し該録音ジャックから入力された音声信号を録音する録音及び撮像機能付電子機器と、マイク、上記録音ジャックに接続される端子及び携帯電話機の音声ジャックに接続される端子を備え、該両端子間及び上記マイクロフォンで音声信号の伝送をするようにしたマイクセットと、を備えたので、手持ちの2台の携帯電話機を併用し、その2台の携帯電話機間における携帯電話通話システムによる通話機能を活かして被写体側マイクで収音した音声を2台の携帯電話機間で伝送することにより、送受信周波数の設定の必要性をなくし、混信、S/N低下のおそれを伴うことなく被写体側の音声を電子機器内に録音できるようにすることができる。
即ち、今日、携帯電話機の普及は著しく、一家に1台という段階はとっくに突破し、成人は1人1台所有しているという状態であり、また、未成年でも中学生、高校生以上の生徒、大学生等は1台所有するようになっている。従って、夫婦は各々が1台ずつ携帯電話機を持つことは今や常識である。
であるから、子供で遊園地や運動会に行った場合、或いは、子供が出演する学芸会、演奏会に親が観客として言った場合、子供と親とがそれぞれ1台ずつ持つということは充分に可能である。
そこで、子供に1台の携帯電話機を持たせ(例えば衣服のポケットに入れておくなどする。)る。更には、被写体側マイクセットを持たせ、その端子をその携帯電話機の音声ジャックに接続させる。その被写体側マイクは例えば口元の近傍に位置するようにピンを用いる等して衣服に止めておく。尤も、被写体側マイクセットを用いないで、携帯電話機の内蔵マイクを被写体側の音声の収音を行うこともできる。
一方、親は録音ジャックを有する録音及び撮像機能を備えた電子機器(例えばカメラ)と、音声無線送信セットと、一台の携帯電話機を持ち、その本体側マイクの一方の端子をその携帯電話機の音声ジャックに、他方の端子を電子機器(例えばカメラ)の録音端子に接続しておく。
そして、子供の携帯電話機をオート着信モードに(更に必要に応じてマナーモード)にしておき、子供が例えば台詞を発するするとき或いは演奏をする番になったら、親の携帯電話機からその子供の携帯電話機を呼び出す操作をする。即ち、携帯電話をかけるのである。すると、ほんの何秒かで自動的に親の携帯電話機が子供の携帯電話機に繋がり、親子の携帯電話機間で通話状態が形成される。
従って、子供の学芸会、演奏発表会での演技による台詞、歌唱、演奏の音声が、衣服にピンを用いる等して止められた被写体側マイクによって収音され、それが子供の持つ携帯電話機に入力され、携帯電話通話システムにより親の携帯電話機に送信される。
親の携帯電話機はその送信された音声信号を受信し、その音声信号は音声ジャックを通じて更に本体側マイクと接続された経路を通じて電子機器(例えばカメラ)に入力され、その電子機器(例えばカメラ)が持つ録音機能により、撮影と共に録音が為されるのである。尚、携帯電話機の種類は多く、種類の違いによってはモードの種類、機能が異なる場合がある。しかし、比較的新しいタイプのものは、ほとんど、オート着信モード、更にはマナーモードを有しているので、本発明には適用可能である。
請求項9の録音及び撮像機能付装置によれば、携帯電話機の音声ジャックに接続される被写体側のマイクを有するので、被写体側の音声を、携帯電話機内蔵のマイクによってではなく、携帯電話機に接続された被写体側のマイクにより収音した音声を録音することができ、より良好に、明確に被写体の音声を録音することが可能になる。
請求項10の録音及び撮像機能付装置の使用方法によれば、自身(録音及び撮像機能付装置自身)の他に、単に既存の2台の携帯電話機を用意し、その2台の携帯電話機間における携帯電話通話システムによる通話機能を活かして被写体側マイクで収音した音声を2台の携帯電話機間で伝送するので、被写体側のマイクにより収音した音声を録音及び撮影機能付電子機器において録音することができる。
従って、送受信周波数の設定の必要性をなくし、混信、S/N低下のおそれを伴うことなく被写体側の音声をそれから離れた電子機器内にて録音できるようにすることができる。
請求項11のマイクセットによれば、単に、既存のイヤホンマイクセットに線路とその端に接続された端子を付加しただけの簡単な構成で、携帯電話機(本体側の携帯電話機)にて受信した音声を録音及び撮影機能付電子機器に伝達するようにできるのみならず、音声をイヤホンによってモニターすることができる。
請求項12の被写体側のマイクセットによれば、被写体側の音声をマイクにて収音して被写体側の携帯電話機に伝達することができ、被写体側の音声を、携帯電話機内蔵のマイクによってではなく、携帯電話機に接続された被写体側のマイクにより収音した音声を録音することができ、より良好に、明確に被写体の音声を録音することが可能になる。
請求項13の録音及び撮像機能付装置によれば、被写体側の携帯電話機及び撮影側の携帯電話機からなり、この撮影側の携帯電話機は撮影機能を有するので、被写体側で収音した音声を被写体側の携帯電話機から撮影者側の携帯電話機へ、携帯電話通話システムにより送信することができ、撮影者側の携帯電話機で、音声情報を受信すると共に、その携帯電話機が持つ撮影機能により撮影して保存することができる。
従って、少なくとも1台は撮像機能を有する市販の2台携帯電話機(勿論、2台とも撮像機能付でも良い。)を持てば、録音及び撮像機能付装置を構成することができ、録音及び撮像機能付装置を構成するために、特別の電子機器を購入する必要はなく、経済的に優れている。
請求項14の録音及び撮像機能付装置によれば、録音及び撮像機能付装置において、前記撮影側の携帯電話機の撮影機能はズーム機能を有しているので、遠いところの被写体をもそのズーム機能によって支障なく撮影することができる。
そして、被写体側で収音した音声を被写体側の携帯電話機から撮影者側の携帯電話機へ、携帯電話通話システムにより送信することができので、被写体との距離が遠くてもその距離によって音質が悪くなるということはなく、ズーム機能にて遠い距離の被写体側にて収音した音声を混信、ノイズのおそれを伴うことなく録音ができる。
従って、携帯電話機のズーム機能を充分に活かした撮影を録音を伴って行うことができる。
請求項15の録音及び撮像機能付装置の使用方法によれば、上記被写体側の携帯電話機と撮影側の携帯電話機携帯電話機間における通話機能を活かして被写体側の音声を撮影者側の携帯電話機に送って該撮影者側の携帯電話機にて撮影とその撮影に伴う録音とを行うので、被写体側のマイクにより収音した音声と被写体像を録音及び撮影機能付電子機器において録音及び撮影することができる。
従って、送受信周波数の設定の必要性をなくし、混信、S/N低下のおそれを伴うことなく被写体側の音声をそれから離れた電子機器内にて録音できるようにすることができ、それを市販の携帯電話機を用意することによって容易に為しうる。
本発明の形態は、基本的に、録音及び撮影機能付電子機器を主体とし、被写体側で収音した音声を無線でその電子機器内部乃至外部の受信手段に送信するようにしたものであり、マイクで収音した音声を無線で録音及び撮影機能付電子機器(主体)へ送信し、この電子機器側で受信する態様には、一つには、外部マイク等と称される音声無線送信セットを用い、そのマイクで収音した音声を無線で送信(無線信号の送信)するようにし、その送信された音声信号を電子機器内部の受信部で或いは電子機器に接続された音声無線受信セットで受信する態様がある。
他には、携帯電話機を2台用い、その2台の携帯電話機間における携帯電話通話システムによる通話機能を活かして被写体側マイクで収音した音声を2台の携帯電話機間で伝送する態様がある。
上記音声無線受信セットと、電子機器内部の受信部或いは音声無線送信セットを使用する態様は、FM通信、ブルートゥース(Bluetooth)が好適であり、被写体・電子機器間の距離が10メートル以上であっても比較的良好な録音ができ、周りの状況によっては、15メートル程度でも充分実用的レベルでの録音が可能である。
また、携帯電話機を2台用いた技術によれば、携帯電話通話システムによる通話機能を活かすので、被写体・電子機器間の距離には音声に関しては制約が無く、撮影のズーム機能により撮影可能な距離であればどのような距離であっても同じ音質で良好な録音が可能である。しかも、混信やノイズが多いというおそれは伴わない。その面できわめて優れているといえる。特に、撮影機能付携帯電話機としてズーム機能付のものを用いると、そのズーム機能を充分に活かして遠くの被写体を、その被写体で収音した音声の録音と共に撮影することができる。
更に、本発明は、単に、少なくとも1台は撮影機能付携帯電話機である、2台の市販の携帯電話機(2台とも撮影機能付でも良い。)を用意し、少なくとも撮影機能のついた携帯電話機を撮影者用の携帯電話機とし、もう一方の携帯電話機を被写体側の携帯電話機とし、その携帯電話機によって被写体側の音声を収音し、携帯電話通話システムによる通話機能を活かして送信し、被写体側の携帯電話機で受信し、且つ、撮影するという態様でも実施することができる。
その場合、被写体側の携帯電話機には携帯電話機用の市販のイヤホンマイクセットを接続して、そのイヤホンマイクセットのマイクにより収音し、また、撮影者側の携帯電話機からの通話音声はイヤホンにて聴くようにすることが可能である。
本発明における、上記録音及び撮影機能付電子機器の典型例はスチール(静止)画像を撮影することを主目的とするディジタルカメラ(ディジタルスチールカメラ)であるが、しかし、電子機器は必ずしもディジタルカメラ(ディジタルスチールカメラ)に限らず、例えばムービー(動画)画像を撮影することを主目的とするディジタルムービーカメラ、撮影機能付携帯電話機、ICレコーダであっても良い。
尚、被写体側マイクセットは、携帯電話機用のイヤホンマイクセットをそのまま用いても良い。しかし、イヤホンは不可欠とはいえないので、イヤホンを取り除いても良い。勿論、携帯電話機用イヤホンマイクからイヤホンを除いた構成のものを、本発明録音及び撮像機能付装置専用として製造するようにしても良い。
尤も、被写体側マイクセットを用いず、被写体側の携帯電話機の内蔵マイクをマイクとして収音し、録音、撮影が行われるようにすることも不可能ではない。ただ、被写体となる例えば子供の声をより明確に収音するには、被写体マイクセットのマイクを口元近くに位置させて使用することが好ましい。
また、本体側マイクは、市販の携帯電話機用イヤホンマイクに、イヤホンへの信号を分岐して電子機器(例えばカメラ)の録音ジャックに送る経路とその端子を付加した構造のものを用いることができる。しかし、イヤホンは不可欠ではないので、その構造からイヤホンを取り除いた構造のものを用いても良い。尚、市販の携帯電話機用イヤホンマイクを加工して本体側マイクを作るようにしても良いが、本発明録音及び撮像機能付装置専用として本体側マイクを作るようにしても良いこと、被写体側用マイクの場合と同様である。
以下に、本発明の第1の実施例を図1(A)、(B)を参照して説明する。
図1(A)は概略図で、先ず、これを参照してそのディジタルカメラの概略を説明する。図において、1はディジタルカメラ(特許請求の範囲の録音及び撮影機能付電子機器に該当する)、2は外部マイク送信セットで、マイクで収音すると共に、収音した音声信号を無線(例えば微弱FM波)で送信する。この外部マイク送信セット2は被写体10が持つ(勿論、被写体の近くにおいても良い場合もある。)。3は受信窓で、その外部マイク送信セット2からの無線による音声信号をカメラ1内部に受け入れる。
4はシャッターで、撮影するとき操作するものである。5は音声録音ボタン、6は音声モニター用イヤホン、7は映像信号及び音声信号を記憶するメモリカードである。
図1(B)はディジタルカメラ1の構成を示す回路ブロック図であり、次に、これを参照してこの回路構成及びその動作を説明する。
11は受信部で、上記被写体10に配置された外部マイク送信セット2から送信された無線による音声信号を上記受信窓3越しに受信する。12は音声モニター部で、受信部11で受信した音声信号を処理し、イヤホンジャック13へ送出する。従って、このイヤホンジャック13に音声モニター用イヤホン6の端子を接続すれば、撮影時に録音した場合、その録音した音声をそのイヤホン6により聴くこと(モニター)ができる。
14は音声データ作成部で、受信部11からの音声信号をディジタル信号に変換する等の処理をして音声データを作り、更に、その音声データに、次に述べるファイル名作成部(15)により作られたファイル名を付加して音声ファイルをつくる動作を繰り返す。
15はファイル名作成部で、日付(年、付、日)及び日における連続撮影番号とによってファイル名を作成する。16は音声ファイル保存部で、その音声データ作成部14で音声ファイルがつくられる毎に、その音声ファイルを記憶する。該音声ファイル保存部16は音声録音ボタン5で制御され、該ボタン5がオンの状態の間その音声ファイルを保存する。
8は撮像用レンズで、被写体10の画像を撮像部21の撮像面に結像する。この撮像部21は画像を例えば光電変換により電荷に、更には電気的な映像信号に変換する。22は画像モニター回路で、撮像部21から出力された映像信号を受けてその信号を再生処理して、例えば液晶ディスプレイからなる画像モニター部22によって画像再生する。
24は映像データ作成部で、撮像部21からの映像信号をディジタル信号に変換等の処理をして映像データを作り、更に、その映像データに、前述のファイル名作成部15に作成されたファイル名を付加して映像ファイルをつくる動作を繰り返す。
26は映像ファイル保存部で、映像ファイル作成部24において映像ファイルがつくられる毎にその映像ファイルを記憶する。該映像ファイル保存部26はシャッター4で制御され、シャッター4が押下されている間、画像ファイルを1秒あたり例えば数十ファイル連続して保存したり、或いは1回の押下で1画像ファイルを保存したりする。
ここで、ファイル名作成部15では、音声録音ボタン5がオン状態の間を同じシーンであるとし、この間に保存された音声ファイルと、画像ファイルに、互いに関連したファイル名をつける。音声録音ボタン5がオンの状態の間に、シャッターが押下されないときは、音声ファイルのみが音声ファイル保存部16に保存される。
従って、音声ファイルを、音声録音ボタン5がオンの状態の発生順に通し番号等からなるファイル名と音声データを表す識別子をつけて保存し、音声録音ボタン5がオンの状態の間に、シャッター4を押下して保存した画像ファイルにも、音声ファイルと同じファイル名と画像データを表す識別子をつけることで、これらのファイルを関連付けることができる。但し、動画のように画像ファイルを連続して保存するときは、音声ファイルと同じファイル名に保存順番を示す番号を枝番号として付加するようにする。
17はメモリカード制御部で、音声ファイル保存部16と画像ファイル保存部16で保存されたデータに基づいて画像ファイルとそれに対応する音声ファイルを結びつけてメモリカード7に記憶する。
このようなディジタルカメラ1によれば、録音に関しては、被写体10に持たせたマイク2により収音した音声が無線でカメラ1内の受信部11へ送信され、該受信部11により受信され、受信信号が処理されて画像ファイルとの関連付けてメモリカード7に録音ファイルとして保存されるので、被写体10がディジタルカメラ1から遠くても被写体10が身につけたマイク2により収音された音声が音声ファイル化される。
従って、カメラ1から離れた被写体10からの音声を良好に録音することができるので、前述した課題、例えば親が学芸会等で演技する我が子の姿を撮影すると共に、その我が子の台詞(せりふ)を録音しようとしても、従来においては、カメラによって収音された音声しか録音できず、我が子の台詞がカメラの位置では小さな音声にしかならず、また、騒音によりその小さな音声がかき消されてしまうというような課題を解決することができる。
次に、本発明の第2の実施例を、そのディジタルカメラ1aの概略構成を示す回路ブロック図である図2を参照して説明する。
本実施例のディジタルカメラ1aは、音声録音ボタン5がなく、シャッター4を押下した時刻以前の時間(T1)と、シャッター4の押下を終えた時刻以後の時間(T3)とをそれぞれ任意の値に設定可能とし、この以前の時間(T1)と、シャッター4を押下していた時間(T2)と、以後の時間(T3)を合わせた時間(T1+T2+T3)だけ音声データを保存するようにしたもので、その音声データ作成時間を音声データ作成時間制御部19により制御する。
この点でのみ、本実施例は第1の実施例と異なる。
このような実施の形態例によれば、画像を撮影するシャッター4の操作だけで、その前後の音声ファイルも保存できるようにすることにより、音声録音ボタン5がなくても、従来のディジタルカメラの操作と同じ行うことにより音声ファイルの保存をも行うようにすることができるのである。
尚、本実施例は動作において多くの点で第1の実施例と共通するが、動作中は常に音声を取り込み上記時間T1分の音声信号をが常に音声ファイル保存部16aに保存しておく必要がある。さもないと、シャッター4を押下する前の時間T1の録音が不可能になるからである。
即ち、受信部11で受信された音声信号は、音声データ作成部14aでディジタル信号であって且つ取り扱いやすい形式のデータに変換され、音声データ作成時間制御部19の制御のもと、T1の時間だけ常に音声ファイル保存部16aに保存される。この常にT1の時間だけ音声ファイルを保存するメモリ回路は、FIFO(ファーストインファーストアウト)のような回路で構成され、最新の音声データを保存すると同時にT1時間を超えた古い音声データは自動的に消去され、常に最新のT1時間の音声データを保存し続ける。
次に、シャッター4が押下された場合の音声録画の動作は次のようになる。
シャッター4が押下されると、T1時間を越えた古い音声データの消去は止め、新しい音声データの保存は継続する。そして、T2時間とシャッター4の押下を止めた後のT3時間が過ぎた時点で、その音声データの保存が終了する。このT1、T2及びT3を合わせた時間(T1+T2+T3)保存した音声データは、ファイル名作成部15aで作成されたファイル名をつけて音声ファイル保存部16aに保存される。
ちなみに、映像情報の保存についても説明する。被写体10の画像は、レンズ8を通して撮像部21により撮像され、その撮像部21から出力された映像信号が画像モニター部22に送られ、画像再生される。
シャッター4が押下されると、撮像部21で認識された画像情報は、画像データ作成部24でディジタル信号として取り扱いやすい形式のデータに変換され、ファイル名作成部15aで生成されたファイル名を付けて画像ファイル保存部26に送られる。
画像ファイル保存部26での画像データの保存の動作は、シャッター4で制御され、シャッター4が押下されている間、画像ファイルを1秒あたり数十ファイル連続して保存したり、1回の押下で1画像ファイルを保存したりする。
ここで、ファイル名作成部15aでは、シャッター4が押下されているT2と、その前後のT1とT3を合わせた時間を同じ一つのシーンであるとし、この時間に保存された音声ファイル画像ファイルに、関連したファイル名を付ける。
前述の通り、本実施例においては常に時間T1分の音声ファイルが音声ファイル保存部16aに保存されるようになっているが、シャッター4が押下されても、音声ファイルを作成しないモードを本実施の形態例1aに設けたり、そのモードを指定するスイッチを設けるようにしても良い。
図3(A)、(B)は本発明の第3の実施例を示し、(A)は概略図で、先ず、これを参照してそのディジタルカメラの概略を説明する。図において、1bはディジタルカメラ(特許請求の範囲の録音及び撮影機能付電子機器に該当する)で、撮影者が持つ。2aは音声無線送信セットで、マイクで収音すると共に、収音した音声信号を無線(例えば微弱FM波)で送信する。この音声無線送信セット2aは被写体10が持つ(勿論、被写体の近くにおいても良い場合もある。)。
4はシャッター、5は音声録音ボタン、8はレンズ、27は録音ジャックで、音声無線受信セット2bの出力端子が着脱可能に接続され得る。28は内蔵マイクである。
本ディジタルカメラ1bは、図1(A)、(B)に示したディジタルカメラ1とは概ね共通するが、外部マイクからの音声を受信するのではなく、音声ジャック(27)から入力した音声信号を録音するようにしたという違いに起因する相違がある。
即ち、本ディジタルカメラ1bには、受信窓3と受信部11がない。代わりに内蔵マイク28を有する。また、音声のモニターは、出力端子が録音ジャック27に接続された音声無線受信セット2bのイヤホン40bにて行うので、音声モニター部12は必要ではなく、存在しない。
そして、録音ジャック27はあるが、図1(A)のディジタルカメラ1のイヤホンジャック13とは異なり、音声信号をディジタルカメラ1b内に取り込む入力端子としての役割を果たし、その録音ジャック27から入力された音声信号は音声データ作成部14に入力される。
尚、録音ジャック27に音声無線受信セット2bの出力端子が装着されたときはその出力端子からの音声信号が音声データ作成部14に入力され、録音ジャック27に端子が装着されていないときは、内蔵マイク28から出力された音声信号が音声データ作成部14に入力されるようになっている。
以上が、本ディジタルカメラ1bと図1に示したディジタルカメラ1との違いであり、それ以外の点では、図4に示したディジタルカメラ1とは同じである。
次に、実際に本録音及び撮像機能付装置の使用方法について説明する。
本体側(ディジタルカメラ1b側)においては、撮影者がディジタルカメラ1bを持ち、その録音ジャック27に音声無線受信セット2bの出力端子を接続し、イヤホン40bを耳にあてる。一方、被写体には、上記音声無線送信セット2aを持たせ、そのマイクを被写体の音声をより良く収音出来るように位置させる。ディジタルカメラ1bと被写体との距離は例えば15メートル以下、特に10メートル程度が好適である。
そして、ディジタルカメラ1bを持った撮影者が合図を送り、適当なタイミングで録音ボタン5を押す等の操作をする。すると、音声データ作成部14、ファイル名作成部15、音声ファイル保存部16の働きにより、音声ファイルの作成、保存が開始される。
そして、シャッター4を操作すると、撮像部21、画像データ作成部24、ファイル名作成部24、画像ファイル保存部26の働きにより画像ファイル保存動作が開始され、露光時間が経過すると、その撮影が終了する。
そして、録音ボタン5をリリースすると、録音が終了する。
尚、音声データ作成部14、音声ファイル保存部16、ファイル名作成部15、撮像部、画像データ作成部24、画像ファイル保存部26等の働きは、図1(B)に示したディジタルカメラ1のそれ等の働きと同じなのでその詳細な説明は省略する。
本発明はこの図3に示すような態様でも実施することができる。
図4は本発明録音及び撮像機能付装置の第4の実施例のディジタルカメラ1cの概略構成を示す回路ブロック図である。
該ディジタルカメラ1cは、受信窓3と受信部11がなく、代わりに内蔵マイク28を有し、また、音声のモニターは、音声無線送信セット2bのイヤホン40bにて行うので、音声モニター部12は必要ではなく、存在しないという点で、図3に示したディジタルカメラ1bと共通し、図1、図2に示したディジタルカメラ1、1aとは相違する。
そして、録音ジャック27があるが、録音ジャック27に音声無線送信セット2b等の出力端子が接続されたときはその出力端子から出力された音声信号が録音ジャック27を経由して音声データ作成部14に入力され、録音ジャック27に端子が装着されていないときは、内蔵マイク28から出力された音声信号が音声データ作成部14に入力されるようになっているという点でも図3に示したディジタルカメラ1bと共通し、図1、図2に示したディジタルカメラ1、1aとは相違する。
また、音声録音ボタン5がない点で、本ディジタルカメラ1dは、図3に示すディジタルカメラ1bとは異なるが、図2に示すディジタルカメラ1aと共通する。つまり、本実施例は、第3の実施例を、シャッター4が押下されているT2と、その前後の時間T1とT3を合わせた時間を同じ一つのシーンであるとし、この時間に保存された音声ファイル画像ファイルに、関連したファイル名を付けることができるようにアレンジしたものといえ、それ以外の点では、図3に示す実施例とは異なるところはない。
そして、音声データ作成部14に音声信号が入力されたときの本ディジタルカメラ1cのシャッター4が押されたときの、その音声データ作成部14、音声ファイル保存部16a、ファイル名作成部15、撮像部、画像データ作成部24、画像ファイル保存部26、撮像部21、画像データ作成部24、画像ファイル保存部26及びメモリカード制御部17、等の動作は、図3に示したディジタルカメラ1bのそれ等の働きと同じであり、その説明は重複するので省略する。
尚、上記各実施例において、前記音声無線送信セット2aの外部マイクに、前記音声ファイル保存部16、16aに対して音声データの保存動作をスタートさせたりストップさせたりストップさせたりするスイッチを設けるようにするようにしても良い。
なぜならば、ディジタルカメラ1、1a、1b、1c、1d自身を三脚等に設置して、撮影者が撮影者自身を撮影するときにも、その外部マイクに設けたスイッチの操作により音声の録音をスタートさせたり、ストップさせたりすることができるようになるからである。
更に、上記各実施例において、音声無線送信セット2、2aの前記外部マイクのスイッチングを、ディジタルカメラの操作により為し得るようにしても良い。
というのは、被写体が子供や動物等のように外部マイクのスイッチング操作(オン、オフ操作)ができなくても、ディジタルカメラ1、1a、1b、1cの操作により外部マイクを必要に応じてオンにしたり、オフにしたりすることができ、録音を伴う撮影をスムーズに行うことができるのみならず、外部マイクを使わないときはオフさせることができるようになるからである。。
図5及び図6は本発明の第5の実施例を示すもので、図5(A)、(B)は録音及び撮像機能付装置の基本構成図で、(A)は本体側を、(B)は被写体側をそれぞれ示し、図6(A)、(B)は一つの使用例を説明する斜視図で、(A)は本体側を、(B)は被写体側をそれぞれ示す。尚、録音及び撮像機能付の電子機器であるディジタルカメラの回路構成は図3に示す回路ブロック図と全く同じなので、図示を省略し、動作説明は図3を参照して行う。
図面において、1bは録音及び撮像機能付の電子機器であるディジタルカメラであり、図3に示すものと同様である。図6に示す使用例では、図6(B)に示すようにお父さん100が持ち、使用する。該ディジタルカメラ1bは、図3に示したディジタルカメラ1bとは同じであり、既にその構成及び動作は説明済みであるので、詳細な説明を省略する。
30aは図6(A)に示すように撮影をするお父さん100が持つ本体側の携帯電話機であり、音声ジャック32aを有する。34aは音声無線送信セットで、市販の携帯電話機用イヤホンマイクセットの音声信号線にその音声信号を分岐する分岐線35(実線で示すように接続しても良いし、破線で示すように接続しても良い。)を接続し、その分岐線35の端に、上記カメラ1cの上記音声ジャック27と着脱自在に接続される端子36を接続したものである。
尚、38aはマイク、40aはイヤホンである。このイヤホン40aはあってもなくても良い。マイク38aは被写体(例えば子供)10へ音声で指示をするのに使うことができる。
そして、使用時には、元々あるイヤホンマイクセットの端子37は携帯電話機32aの音声ジャック32aに接続し、また、上記端子36は当然のことながらディジタルカメラ1bの音声ジャック27に接続することが必要である。
30bは図6(B)に示すように被写体となるお子様10が持つ市販の携帯電話機で、メーカー、機種が携帯電話機30aと同じであることは必要ではなく、携帯電話ネットワークを利用した通話が可能であれば良い。そして、例えば、携帯電話機30aはお父さん100がいつも用いているものを、携帯電話機30bはお母さん(図面には現れない)がいつも用いているものを用いることにより、つまり既にある2台の携帯電話機を本発明に係る録音及び撮像機能付装置と併用することにより録音、撮影が可能であり、本録音及び撮像機能付装置による録音、撮影のためだけに専用の携帯電話機を購入するということは必要ではない。
尚、32aは携帯電話機30aの音声ジャックである。
34bは被写体側マイクセットで、市販のイヤホンマイクセットをそのまま用いても良いし、イヤホンをなくしても良い。というのは、イヤホンは本体側からの指示を受ける場合に、そのイヤホンを通じて指示を聞くことができるという利便さがあるが、被写体側マイクセットの最大の役割は、被写体側における音声を収音し、携帯電話通信ネットワークを利用して本体側の携帯電話機に音声情報が伝わるようにすることにあるので、マイクがあれば被写体側マイクセットとして最低限必要な機能を果たしうるからである。
尚、被写体側マイクセット34bを用いず、携帯電話機30bの内蔵マイクを利用して収音するようにしても良い。
38bはマイクで、それにはピン42が固定されている。このピン42を用いて衣服の一部にマイク38bを位置させてお子様10の口元からの音声を有効に収音するようにすると良い。40bはイヤホンである。このイヤホン40bはなくても良い(故に破線で示した。)が、あると、お子様10の耳に直接本体側のお父さん100の指示(例えば「写すからちゃんとしてよね」とか「撮るから笑って」等)、その他のメッセージ(例えば「頑張って」、「いいよ」等)を送ることが可能である。
次に、実際に本録音及び撮像機能付装置の使用方法について説明する。
本体側においては、本体側携帯電話機32aの音声ジャック32aに音声無線送信セット34aの端子37を接続し、ディジタルカメラ1bの録音ジャック27に音声無線送信セット34aの端子36を接続する。すると、内蔵マイク28と音声データ作成部14との間が切断された状態になる。
そして、イヤホン40aを耳に(イヤホン40aがある場合)、マイク38aを口元に位置させる。
一方、被写体側においては、お子様10bに被写体側携帯電話機30bを持たせ、例えば衣服のポケットに忍ばせさせる。そして、被写体側マイクセット34bの端子を音声ジャック32bに接続させ、ピン42をマイク38bが口元近くに位置するように衣服に止める。そして、被写体側携帯電話機32bの電源をオンにし、オート着信モードにする。
そして、お父さん100は本体側携帯電話機32aを操作して被写体側携帯電話機32bを呼び出す。すると、何秒か後に被写体側携帯電話機32が呼び出され、自動的に通話状態が形成される。
そこで、お父さん100が話しかけ、撮る旨を伝えると、その音声がお子様10の耳に入る、そして、録音ボタン5を操作すると、音声データ作成部14、ファイル名作成部15、音声ファイル保存部16の働きにより、音声ファイルの作成、保存が開始される。
そして、シャッター4を操作すると、撮像部21、画像データ作成部24、ファイル名作成部24、画像ファイル保存部26の働きにより画像ファイル保存動作が開始され、露光時間が経過すると、その撮影が終了する。
そして、録音ボタン5をリリースすると、録音が終了する。
尚、音声データ作成部14、音声ファイル保存部16a、ファイル名作成部15、撮像部、画像データ作成部24、画像ファイル保存部26等の働きは、前述のとおり図3(B)に示したディジタルカメラ1のそれ等の働きと同じである。
このような実施例によれば、2台の携帯電話機30a・30b間における携帯電話通話システムにより形成された通話状態を利用して、被写体側マイク38bで収音した音声をディジタルカメラ1cに録音させることができるので、被写体側から本体側への音声情報の伝送のために送受信周波数を設定するという必要性をなくし、混信、S/N低下のおそれを伴うことなく被写体側の音声を電子機器内に録音できるようにすることができる。
尚、本実施例において、そのディジタルカメラ1bに代えて図4に示すディジタルカメラ1cを用いるようにしても良い。
即ち、そのようにした場合は、音声録音ボタン5がなく、シャッター4を押下した時刻以前の時間(T1)と、シャッター4の押下を終えた時刻以後の時間(T3)とをそれぞれ任意の値に設定可能とし、この以前の時間(T1)と、シャッター4を押下していた時間(T2)と、以後の時間(T3)を合わせた時間(T1+T2+T3)だけ音声データを保存するようにしたもので、その音声データ作成時間を音声データ作成時間制御部19により制御する。
図7(A)、(B)は本発明の第6の実施例を示すもので、(A)は概略図、(B)はこの実施例の一つの使用例を示す斜視図である。
本実施例は、撮影者側が持つ録音及び撮影機能付電子機器として、図7(A)に示すように、撮影機能付携帯電話機30aを用いる。この撮影機能付携帯電話機としてズーム機能を用いると良いことは言うまでもない。被写体には、図7(B)に示す携帯電話機30bを持たせる。被写体側の携帯電話機30bは通話機能があれば充分であるが、撮影機能はあっても良いし、無くても良い。34a、34bはイヤホンマイクセットである。
そして、図7(B)に示すように、撮影者、お父さん100が撮影機能付携帯電話機30aを持ち、それに接続したイヤホンセット34aのイヤホンを耳にし、マイクを口元にセットする。
同様に、被写体、お子様10には、携帯電話機30bを持たせ、それに接続したイヤホンマイクセット34bのイヤホンを耳にさせ、マイクを口元にセットさせる。
そして、図5、図6に示した実施例とほぼ同様に、携帯電話通話システムによる通話機能を活かして被写体、例えばお子様10の持つ携帯電話機30bにより収音した音声を、撮影者、例えばお父さん100が持つ携帯電話機30aにより受信し、録音し、また、被写体の撮影を行う。
本実施例によれば、ズーム機能のついた撮影機能付携帯電話機30aを用い、ズーム機能を最大限活かして遠い被写体の画像を撮影しても、その距離とは関係なく、携帯電話通話システムによる通話機能により定まる音質での音声録音ができる。
本発明は、録音及び撮像機能を備えた電子機器を本体とし、それに一つ又は二つのマイクセットを付加し、市販の2台の携帯電話機を活用してカメラから離れた被写体からの音声を良好に録音することができる録音及び撮像機能付装置と、その使用方法並びに、それに用いるマイクセット、或いは携帯電話機そのものを電子機器として用いた撮像気のつき装置について産業上の利用可能性を有する。
そして、上記録音及び撮像機能を備えた電子機器の典型例は、ディジタルスチールカメラであるが、必ずしもそれに限定されるものではなく、例えば、ビデオカメラ(ムービー)カメラ等、録音及び撮像機能を備えたものは、すべて本発明における録音及び撮像機能を備えた電子機器になり得る。
(A)、(B)は本発明の第1の実施例を示すもので、(A)は概略図、(B)は録音及び撮像機能付電子機器の回路構成図である。 本発明の第2の実施例の録音及び撮像機能付電子機器の回路構成図である。 (A)、(B)は本発明の第3の実施例を示すもので、(A)は概略図、(B)は録音及び撮像機能付電子機器の回路構成図である。 本発明の第4の実施例の録音及び撮像機能付電子機器の回路構成図である。 (A)、(B)は本発明の第5の実施例を示すもので、(A)は本体側(撮影者側)を、(B)は被写体側を示す。 (A)、(B)は本発明の第5の実施例の一つの使用例を示すもので、(A)は本体側(撮影者側)を、(B)は被写体側を示す。 (A)、(B)は本発明の第6の実施例を示すもので、(A)は概略図、(B)は一つの使用例を示す。 ディジタルカメラの従来例を示す回路構成図である。
符号の説明
1c、1d・・・録音及び撮像機能付電子機器(ディジタルカメラ)、
2a・・・音声無線送信セット、2b・・・音声無線受信セット、
4・・・シャッター、5・・・音声録音ボタン、8・・・レンズ、
10・・・被写体(お子様)、27・・・音声ジャック、28・・・内蔵マイク、
30a・・・本体側携帯電話機、30b・・・被写体側携帯電話機、
32a、32b・・・音声ジャック、34a・・・音声無線送信セット、
35・・・既存のイヤホンマイクセットに付加した分岐線、36・・・分岐線の端子、
37・・・既存のイヤホンマイクセットに元々ある端子、
36・・・音声無線送信セット34aの端子、38a・・・マイク、
34b・・・被写体側マイクセット、38b・・・マイク、40b・・・イヤホン、
42・・・ピン、100・・・撮影者(お父さん)。

Claims (15)

  1. 外部マイクにより収音され無線で送信される音声情報を受信できる受信部と、
    上記受信部で受信された音声情報から音声データを作成する音声データ作成部と、
    上記音声データ作成部で作成された音声データを保存する音声ファイル保存部と、
    撮影により得られた画像情報から画像データを作成する画像データ作成部と、
    上記画像データ作成部で作成された画像データを保存する画像ファイル保存部と、
    上記音声ファイル保存部に保存された音声データからなる音声ファイル及びこの音声ファイルに関連する撮影により上記画像データ作成部にて作成され上記画像ファイル保存部により保存された画像ファイルに、互いを関連付けるファイル名を付与するファイル名作成部と、
    を少なくとも備えたことを特徴とする録音及び撮影機能付電子機器。
  2. 前記音声無線送信セットの前記外部マイクのスイッチングを、前記録音及び撮影機能付電子機器からの操作により為し得るようにした
    ことを特徴とする請求項1記載の録音及び撮影機能付電子機器。
  3. 外部マイクにより収音し、その収音した音声情報を送信部により無線の音声信号にして送信する音声無線送信セットと、
    外部マイクにより収音され上記送信部により無線送信された上記音声無線送信セットからの音声情報を受信できる受信部、該受信部で受信された音声情報から音声データを作成する音声データ作成部、該音声データ作成部で作成された音声データを保存する音声ファイル保存部、撮影により得られた画像情報から画像データを作成する画像データ作成部、該画像データ作成部で作成された画像データを保存する画像ファイル保存部及び上記音声ファイル保存部に保存された音声データからなる音声ファイル及びこの音声ファイルに関連する撮影により上記画像データ作成部にて作成され上記画像ファイル保存部により保存された画像ファイルに、互いを関連付けるファイル名を付与するファイル名作成部を少なくとも備えた録音及び撮影機能付電子機器と、
    からなることを特徴とする録音及び撮像機能付装置。
  4. 音声信号を伝達する経路の端子を着脱可能に接続される音声信号ジャックと、
    上記音声信号ジャックを通じて入力された音声情報から音声データを作成する音声データ作成部と、
    上記音声データ作成部で作成された音声データを保存する音声ファイル保存部と、
    撮影により得られた画像情報から画像データを作成する画像データ作成部と、
    上記画像データ作成部で作成された画像データを保存する画像ファイル保存部と、
    上記音声ファイル保存部に保存された音声データからなる音声ファイル及びこの音声ファイルに関連する撮影により上記画像データ作成部にて作成され上記画像ファイル保存部により保存された画像ファイルに、互いを関連付けるファイル名を付与するファイル名作成部と、
    を少なくとも備えたことを特徴とする録音及び撮影機能付電子機器。
  5. 外部マイクに、前記音声ファイル保存部に対して音声データの保存動作をスタートさせたりストップさせたりストップさせたりするスイッチを設けた
    ことを特徴とする請求項3記載の録音及び撮像機能付装置。
  6. 前記音声ファイル保存部に、シャッターを押した時刻以前の時間と、シャッターを小塩江他時刻以後の時間をそれぞれ設定可能とし、この以前の時間と、シャッターを押していた時間と、以後の時間だけ音声データを保存するようにした
    ことを特徴とする請求項1、2、4又は5記載の録音及び撮像機能付電子機器。
  7. 外部マイクにより収音し、その収音した音声情報を送信部により無線信号にして送信する音声無線送信セットと、
    上記音声無線送信セットからの無線信号による音声情報を受信し、それを端子から出力する音声無線受信セットと、
    上記音声無線送信セットの上記端子が着脱可能に接続される音声信号ジャック、該音声信号ジャックを通じて入力された音声情報から音声データを作成する音声データ作成部、該音声データ作成部で作成された音声データを保存する音声ファイル保存部、撮影により得られた画像情報から画像データを作成する画像データ作成部、該画像データ作成部で作成された画像データを保存する画像ファイル保存部及び該音声ファイル保存部に保存された音声データからなる音声ファイル及びこの音声ファイルに関連する撮影により上記画像データ作成部にて作成され上記画像ファイル保存部により保存された画像ファイルに、互いを関連付けるファイル名を付与するファイル名作成部を備えた録音及び撮影機能付電子機器と、
    を有することを特徴とする録音及び撮像機能付装置。
  8. 少なくとも録音ジャックを有し、該録音ジャックから入力された音声信号を録音する録音及び撮像機能付電子機器と、
    マイク、上記録音ジャックに接続される端子及び携帯電話機の音声ジャックに接続される端子を備え、該両端子間及び上記マイクで音声信号の伝送をするようにしたマイクセットと、
    を少なくとも備えた録音及び撮像機能付装置。
  9. 携帯電話機の音声ジャックに接続される端子を備えた被写体側のマイクを有する
    ことを特徴とする請求項8記載の録音及び撮像機能付装置。
  10. 少なくとも録音ジャックを有し、該録音ジャックから入力された音声信号を録音する録音機能付き撮影機能を備えた電子機器と、マイク、上記録音ジャックに接続される端子及び携帯電話機の音声ジャックに接続される端子を備え、該両端子間及び上記マイクロフォンで音声信号の伝送をするようにしたマイクセットを少なくとも備えた録音及び撮像機能付装置の使用方法であって、
    市販の2台の携帯電話機を用意し、
    上記マイクセットの端子を上記録音及び撮像機能付電子機器及び一方の携帯電話機の上記ジャックに接続し、
    上記2台の携帯電話機間における通話機能を活かして被写体側の音声を上記録音及び撮像機能付電子機器に送って撮影に伴う録音を行う
    ことを特徴とする録音及び撮像機能付装置の使用方法
  11. イヤホンマイクの一つの端子からマイクロフォンへ音声信号を送るの線路とは別に、その音声信号を分岐させる線路が形成され、
    上記分岐させる線路の端を以て、上記端子とは別の端子であってカメラの録音ジャックに接続される端子とされてなる
    ことを特徴とするマイクセット。
  12. イヤホンマイク、或いはそれからイヤホンを除いたものからなる
    ことを特徴とする被写体側用のマイクセット。
  13. 被写体側の携帯電話機及び撮影側の携帯電話機からなり、
    少なくとも、上記撮影側の携帯電話機は撮影機能を有する
    ことを特徴とする録音及び撮像機能付装置。
  14. 前記撮影側の携帯電話機の撮影機能はズーム機能を有している
    ことを特徴とする請求項13記載の録音及び撮像機能付装置。
  15. 被写体側の携帯電話機及び撮影側の携帯電話機からなり、少なくとも、該撮影側の携帯電話機は撮影機能を有する録音及び撮像機能付装置の使用方法であって、
    上記被写体側の携帯電話機と撮影側の携帯電話機携帯電話機間における通話機能を活かして被写体側の音声を撮影者側の携帯電話機に送って該撮影者側の携帯電話機にて撮影とその撮影に伴う録音とを行う
    ことを特徴とする録音及び撮像機能付装置の使用方法。
JP2004363771A 2004-03-09 2004-12-16 録音及び撮像機能付電子機器と、録音及び撮像機能付装置と、その使用方法と、それに用いるマイクセット Pending JP2005295502A (ja)

Priority Applications (3)

Application Number Priority Date Filing Date Title
JP2004363771A JP2005295502A (ja) 2004-03-09 2004-12-16 録音及び撮像機能付電子機器と、録音及び撮像機能付装置と、その使用方法と、それに用いるマイクセット
US11/073,589 US20050200710A1 (en) 2004-03-09 2005-03-08 Photographing and recording system
KR20050019735A KR20060043599A (ko) 2004-03-09 2005-03-09 촬영 및 녹음 시스템

Applications Claiming Priority (2)

Application Number Priority Date Filing Date Title
JP2004110528 2004-03-09
JP2004363771A JP2005295502A (ja) 2004-03-09 2004-12-16 録音及び撮像機能付電子機器と、録音及び撮像機能付装置と、その使用方法と、それに用いるマイクセット

Publications (1)

Publication Number Publication Date
JP2005295502A true JP2005295502A (ja) 2005-10-20

Family

ID=34921791

Family Applications (1)

Application Number Title Priority Date Filing Date
JP2004363771A Pending JP2005295502A (ja) 2004-03-09 2004-12-16 録音及び撮像機能付電子機器と、録音及び撮像機能付装置と、その使用方法と、それに用いるマイクセット

Country Status (3)

Country Link
US (1) US20050200710A1 (ja)
JP (1) JP2005295502A (ja)
KR (1) KR20060043599A (ja)

Families Citing this family (6)

* Cited by examiner, † Cited by third party
Publication number Priority date Publication date Assignee Title
KR20120016928A (ko) * 2010-08-17 2012-02-27 엘지이노텍 주식회사 촬영 시스템
KR20160024002A (ko) 2014-08-21 2016-03-04 삼성전자주식회사 비쥬얼 사운드 이미지를 제공하는 방법 및 이를 구현하는 전자 장치
CN105827931B (zh) * 2015-06-19 2019-04-12 维沃移动通信有限公司 一种基于拍照的音频输出方法和装置
FR3073113B1 (fr) * 2017-10-26 2021-10-01 Regis Micheli Dispositif de captation pedagogique pour systeme informatise d'apprentissage en ligne
CN109361858A (zh) * 2018-10-29 2019-02-19 北京小米移动软件有限公司 获取图像的方法、装置、电子设备及存储介质
JP2024100597A (ja) * 2023-01-16 2024-07-26 キヤノン株式会社 撮像装置、マイク装置、それらの制御方法、撮像システム、プログラム、記憶媒体

Citations (7)

* Cited by examiner, † Cited by third party
Publication number Priority date Publication date Assignee Title
JPH02200070A (ja) * 1989-01-30 1990-08-08 Fuji Photo Film Co Ltd ナレーションマイク内蔵形リモコン
JPH08279942A (ja) * 1995-04-07 1996-10-22 Sony Corp 信号処理装置およびそれに使用される増設アダプタ
JPH1175280A (ja) * 1997-08-29 1999-03-16 Matsushita Electric Ind Co Ltd 無線収音システム、イヤホン/マイクロホン装置および撮影システム
JP2000078516A (ja) * 1998-08-26 2000-03-14 Canon Inc 記録装置、記録再生装置、音声情報記録方法及び記憶媒体
JP2001045347A (ja) * 1999-07-28 2001-02-16 Fuji Photo Film Co Ltd データ通信システムおよびそのシステムを構成するディジタル・カメラ
JP2002223401A (ja) * 2001-01-29 2002-08-09 Fuji Photo Film Co Ltd デジタルカメラのデータ処理方法
JP2004040491A (ja) * 2002-07-03 2004-02-05 Sony Ericsson Mobilecommunications Japan Inc 映像通信装置

Family Cites Families (6)

* Cited by examiner, † Cited by third party
Publication number Priority date Publication date Assignee Title
JPS61156979A (ja) * 1984-12-27 1986-07-16 Sony Corp 録音機能付き電子スチルカメラ装置
US5387955A (en) * 1993-08-19 1995-02-07 Eastman Kodak Company Still camera with remote audio recording unit
US5550754A (en) * 1994-05-13 1996-08-27 Videoptic Research Teleconferencing camcorder
JPH10304234A (ja) * 1997-04-24 1998-11-13 Sony Corp 撮像システム、及びビデオカメラ装置
US5995763A (en) * 1997-10-10 1999-11-30 Posa; John G. Remote microphone and range-finding configurations
JP4378072B2 (ja) * 2001-09-07 2009-12-02 キヤノン株式会社 電子機器、撮像装置、携帯通信機器、映像の表示制御方法及びプログラム

Patent Citations (7)

* Cited by examiner, † Cited by third party
Publication number Priority date Publication date Assignee Title
JPH02200070A (ja) * 1989-01-30 1990-08-08 Fuji Photo Film Co Ltd ナレーションマイク内蔵形リモコン
JPH08279942A (ja) * 1995-04-07 1996-10-22 Sony Corp 信号処理装置およびそれに使用される増設アダプタ
JPH1175280A (ja) * 1997-08-29 1999-03-16 Matsushita Electric Ind Co Ltd 無線収音システム、イヤホン/マイクロホン装置および撮影システム
JP2000078516A (ja) * 1998-08-26 2000-03-14 Canon Inc 記録装置、記録再生装置、音声情報記録方法及び記憶媒体
JP2001045347A (ja) * 1999-07-28 2001-02-16 Fuji Photo Film Co Ltd データ通信システムおよびそのシステムを構成するディジタル・カメラ
JP2002223401A (ja) * 2001-01-29 2002-08-09 Fuji Photo Film Co Ltd デジタルカメラのデータ処理方法
JP2004040491A (ja) * 2002-07-03 2004-02-05 Sony Ericsson Mobilecommunications Japan Inc 映像通信装置

Also Published As

Publication number Publication date
US20050200710A1 (en) 2005-09-15
KR20060043599A (ko) 2006-05-15

Similar Documents

Publication Publication Date Title
KR101371413B1 (ko) 통신이 가능한 촬영장치 및 그 제어방법
JP2011188210A (ja) 撮影機器及び撮影システム
JP2012100216A (ja) カメラおよび動画撮影プログラム
JP2011015279A (ja) デジタルカメラ及び動画像再生方法
JP3098991B2 (ja) 電話付きビデオカメラ及びその制御方法、並びに記録媒体
KR102517503B1 (ko) 전자기기, 그 제어 방법, 및 기억매체
JP2005295502A (ja) 録音及び撮像機能付電子機器と、録音及び撮像機能付装置と、その使用方法と、それに用いるマイクセット
JP4446781B2 (ja) デジタルカメラ
JP3891147B2 (ja) 動画編集装置、動画編集方法及びプログラム
JP7378936B2 (ja) 電子機器、その制御方法、およびそのプログラム
KR100629442B1 (ko) 카메라를 장착한 다수의 이동통신 단말기를 이용한 와이드화상 촬영 방법 및 장치
JP7353797B2 (ja) 電子機器、その制御方法、およびそのプログラム
JP3174613U (ja) リアルタイム画像音声通信装置
JPH10257367A (ja) 情報通信装置
KR100365862B1 (ko) 휴대용 이동무선 단말기에서 뮤직기능 구현방법
JP2018191023A (ja) 撮像システム
JP4379078B2 (ja) 携帯電話装置
JP4105459B2 (ja) 撮影機能と音声録音機能を備えた電気機器
KR20060006304A (ko) 파노라마 영상 촬영 기능을 가지는 마스터/슬래이브용무선통신 단말기 및 그 방법
JP2021002802A (ja) 撮像装置、撮像装置の制御方法、プログラム
JP2021035049A (ja) 撮像装置、制御方法、およびプログラム
JP2001103409A (ja) カメラ、カメラシステム、腕時計およびカメラと腕時計のリンクシステム
JP2024147994A (ja) 電子機器、通信装置、制御方法およびプログラム
JP2000278570A (ja) 撮像装置および画像伝送方法
JP2024167813A (ja) 撮像装置及びその制御方法、プログラム、記憶媒体

Legal Events

Date Code Title Description
A711 Notification of change in applicant

Free format text: JAPANESE INTERMEDIATE CODE: A712

Effective date: 20070126

A621 Written request for application examination

Free format text: JAPANESE INTERMEDIATE CODE: A621

Effective date: 20071113

A521 Request for written amendment filed

Free format text: JAPANESE INTERMEDIATE CODE: A523

Effective date: 20071204

A711 Notification of change in applicant

Free format text: JAPANESE INTERMEDIATE CODE: A712

Effective date: 20080501

A711 Notification of change in applicant

Free format text: JAPANESE INTERMEDIATE CODE: A711

Effective date: 20091208

A977 Report on retrieval

Free format text: JAPANESE INTERMEDIATE CODE: A971007

Effective date: 20100104

A131 Notification of reasons for refusal

Free format text: JAPANESE INTERMEDIATE CODE: A131

Effective date: 20100202

A02 Decision of refusal

Free format text: JAPANESE INTERMEDIATE CODE: A02

Effective date: 20100824