JP2005294344A - コンデンサ - Google Patents

コンデンサ Download PDF

Info

Publication number
JP2005294344A
JP2005294344A JP2004103774A JP2004103774A JP2005294344A JP 2005294344 A JP2005294344 A JP 2005294344A JP 2004103774 A JP2004103774 A JP 2004103774A JP 2004103774 A JP2004103774 A JP 2004103774A JP 2005294344 A JP2005294344 A JP 2005294344A
Authority
JP
Japan
Prior art keywords
capacitor
metal case
capacitor element
sealing plate
current collector
Prior art date
Legal status (The legal status is an assumption and is not a legal conclusion. Google has not performed a legal analysis and makes no representation as to the accuracy of the status listed.)
Granted
Application number
JP2004103774A
Other languages
English (en)
Other versions
JP4432580B2 (ja
Inventor
Teruhisa Miura
照久 三浦
Hideki Shimamoto
秀樹 島本
Koji Kamioka
浩二 上岡
Yoichi Harada
洋一 原田
Current Assignee (The listed assignees may be inaccurate. Google has not performed a legal analysis and makes no representation or warranty as to the accuracy of the list.)
Panasonic Holdings Corp
Original Assignee
Matsushita Electric Industrial Co Ltd
Priority date (The priority date is an assumption and is not a legal conclusion. Google has not performed a legal analysis and makes no representation as to the accuracy of the date listed.)
Filing date
Publication date
Application filed by Matsushita Electric Industrial Co Ltd filed Critical Matsushita Electric Industrial Co Ltd
Priority to JP2004103774A priority Critical patent/JP4432580B2/ja
Publication of JP2005294344A publication Critical patent/JP2005294344A/ja
Application granted granted Critical
Publication of JP4432580B2 publication Critical patent/JP4432580B2/ja
Anticipated expiration legal-status Critical
Expired - Fee Related legal-status Critical Current

Links

Images

Classifications

    • YGENERAL TAGGING OF NEW TECHNOLOGICAL DEVELOPMENTS; GENERAL TAGGING OF CROSS-SECTIONAL TECHNOLOGIES SPANNING OVER SEVERAL SECTIONS OF THE IPC; TECHNICAL SUBJECTS COVERED BY FORMER USPC CROSS-REFERENCE ART COLLECTIONS [XRACs] AND DIGESTS
    • Y02TECHNOLOGIES OR APPLICATIONS FOR MITIGATION OR ADAPTATION AGAINST CLIMATE CHANGE
    • Y02EREDUCTION OF GREENHOUSE GAS [GHG] EMISSIONS, RELATED TO ENERGY GENERATION, TRANSMISSION OR DISTRIBUTION
    • Y02E60/00Enabling technologies; Technologies with a potential or indirect contribution to GHG emissions mitigation
    • Y02E60/13Energy storage using capacitors

Landscapes

  • Electric Double-Layer Capacitors Or The Like (AREA)

Abstract

【課題】複数のコンデンサを連結する際に陽極/陰極端子が相反する方向に引き出されているために接続スペースが大きくなり小型化できないという課題を解決し、接続が容易で接続スペースを低減し、かつ不要な抵抗を少なくできるコンデンサを提供することを目的とする。
【解決手段】コンデンサ素子2を収容した金属ケース3の開口部を陽極/陰極端子5、6を設けた封口板4で封止し、コンデンサ素子2の陽極を陽極端子5に、同陰極を金属ケース3と接続部材8を介して陰極端子6に接続した構成により、コンデンサ素子2の端面から陽極/陰極の取り出しが直接、かつ同方向からできるために低抵抗化が図れ、また複数のコンデンサを連結する際に接続スペースの半減による小型化が図れる。
【選択図】図1

Description

本発明はハイブリッドカーや燃料電池車の回生用、あるいは電力貯蔵用に使用されるコンデンサに関するものである。
図10はこの種の従来のコンデンサの構成を示した断面図であり、図10において20はコンデンサ素子であり、このコンデンサ素子20はアルミニウム箔からなる集電体上に分極性電極層を形成した一対の電極を互いに逆方向に位置をずらしてその間にセパレータを介在させて巻回する(全て図示せず)ことにより構成され、このコンデンサ素子20の両端面(図10において上下方向)から陽極と陰極を取り出すようにしたものである。
21は上記コンデンサ素子20を図示しない駆動用電解液と共に収容したアルミニウム製の金属ケース、21aはこの金属ケース21の底面に一体で設けられた外部接続用の陰極端子であり、コンデンサ素子20の陰極側の端面を金属ケース21の内底面にレーザー溶接等の手段によって接合することにより、機械的、電気的に接続したものである。
22はアルミニウム製の蓋、22aはこの蓋22に一体で設けられた外部接続用の陽極端子であり、コンデンサ素子20の陽極側の端面を蓋22の内面にレーザー溶接等の手段によって接合することにより機械的、電気的に接続すると共に、この蓋22の周縁と上記金属ケース21の開口部とを(図10において符号23で示す部分)、その間に図示しない絶縁部材を介在させて共に巻き込むように加工(一般に、カーリング加工と呼ばれている)することによって封止して構成されたものである。
このように構成された従来のコンデンサは、金属ケース21の中心軸方向(図10において上下方向)に外部接続用の陽極端子22aと陰極端子21aが設けられた構成となり、この陽極端子22aと陰極端子21aを(後述する図11に示す)バスバーと呼ばれる接続部材24を用いて複数のコンデンサを接続することにより、複数個のコンデンサを連結したキャパシタユニットとして車載用のバックアップ電源等に使用されているものであった。
なお、この出願の発明に関連する先行技術文献情報としては、例えば、特許文献1が知られている。
特開2000−315632号公報
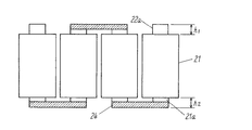
しかしながら上記従来のコンデンサでは、図11に示すようにコンデンサを複数個連結してキャパシタユニットとして使用する場合に、陽極端子22aならびに陰極端子21aを接続する際に、各端子が夫々相反する方向に引き出されているために接続作業が大変であるばかりでなく、接続スペースh1とh2が両端に夫々必要なため、結果的に大きな取り付けスペースを必要として小型化できないという問題があった。
また、この問題を解決するために陽極端子と陰極端子を同一方向から引き出す手段として、アルミニウム箔からなる集電体上に分極性電極層を形成した一対の電極に外部引き出し用のリード部材を夫々接続し、このリード部材が接続された一対の電極を巻回することにより陽極端子と陰極端子を同一方向から引き出すということも可能であるが、この方法においては帯状に長い電極の1箇所(あるいは複数箇所)から電極引き出しを行うために、上記コンデンサ素子20の端面全体から引き出しを行う端面集電と呼ばれる構成のものに比べて抵抗が大きく増大するという問題があり、コンデンサを複数個連結してキャパシタユニットとして使用する場合には到底採用できないという課題を有したものであった。
本発明はこのような従来の課題を解決し、コンデンサを複数個連結してキャパシタユニットとして使用する際に、容易に接続することができると共に接続スペースを低減し、かつコンデンサとしても不要な抵抗を極めて少なくすることができるコンデンサを提供することを目的とするものである。
上記課題を解決するために本発明は、コンデンサ素子を駆動用電解液と共に金属ケース内に収容し、この金属ケースの開口部を封口板で封止したコンデンサにおいて、上記コンデンサ素子の互いに逆方向に位置する電極の一方を封口板に設けられた端子に接続し、電極の他方を金属ケースの内底面に接合することにより陽極/陰極のいずれかの取り出しを端子で、他方の取り出しを金属ケースで行うようにした、あるいは、上記封口板に一対の端子を設け、この一対の端子の一方にコンデンサ素子の電極の一方を接続し、他方の端子に電極の他方を金属ケースを介して接続することにより陽極/陰極の取り出しを封口板に設けられた一対の端子で行うようにしたという構成のものである。
以上のように本発明によるコンデンサは、コンデンサ素子からの陽極/陰極の取り出しをリード部材等を用いることなく、素子の端面から直接取り出すようにしているために低抵抗化が図れ、また、陽極/陰極の外部取り出しを同一方向から取り出すことができるようになるため、このコンデンサを複数個連結してキャパシタユニットを構成する際に各コンデンサ間の接続スペースを半減することができるようになり、小型化を図り易くなるという格別の効果が得られるものである。
(実施の形態1)
以下、実施の形態1を用いて、本発明の特に請求項1〜5、12〜14に記載の発明について説明する。
図1は本発明の実施の形態1によるコンデンサの構成を示した断面図、図2は同斜視図であり、図1、図2において1はコンデンサ、2はコンデンサ素子を示し、このコンデンサ素子1はアルミニウム箔からなる集電体上の一端側に集電体の露出部分が形成されるように活性炭とバインダーを主体とした分極性電極層を形成した一対の電極(図示せず)を上記集電体の露出部分が互いに逆方向になるようにしてその間にセパレータ(図示せず)を介在させて巻回することにより構成されたものであり、図1において上面が陽極、下面が陰極となるように構成されているものである。
3はアルミニウムからなる有底筒状の金属ケースであり、上記コンデンサ素子2を図示しない駆動用電解液と共に収容し、この金属ケース3の内底面とコンデンサ素子2の陰極側端面とをレーザー溶接、金属溶射、ろう付け等の手段により接合することにより、機械的ならびに電気的に接続しているものであり、例えばアルミ半田のようなろう材を介在させた状態でレーザー溶接により接合する方法が作業性、接合強度面において優れた結果が得られるために好ましい。
4は封口板、5と6はこの封口板4に植設されたネジ付きの陽極端子と陰極端子であり、この封口板4はその底面部が上記コンデンサ素子2の陽極側端面に接合されることにより、この封口板4に植設された陽極端子5と電気的に接続された構成になっており、かつ陰極端子6は封口板4とは絶縁された状態としたものである。
7は円環状の封止ゴムであり、この封止ゴム7は上記封口板4の上面周縁に配設された状態で封口板4と共に金属ケース3の開口部に嵌め込まれ、金属ケース3の開口部近傍を絞り加工すると共に開口端をカーリング加工して封止する際に、金属ケース3の開口端が封止ゴム7に食い込むことによって確実な封止が行われるものである。
8は導電性の接続部材であり、この接続部材8は一端が金属ケース3に溶接により接合され、他端が陰極端子6に溶接により接合されることにより、上記コンデンサ素子2の陰極側が接合された金属ケース3を介して陰極端子6から陰極取り出しを行うように構成されたものである。
また、この接続部材8と封口板4に設けた陰極端子6、接続部材8と金属ケース3との接合面に例えばアルミ半田のようなろう材を介在させた状態で溶接を行ったり、あるいはコンデンサ素子2の陽極側端面ならびに陰極側端面にもろう材を介在させたり、あるいはディップしたりすることにより、緻密でかつ溶接強度に優れた接合が行えるようになるものである。
9は金属ケース3の開口端の内面に施された絶縁層であり、この絶縁層9は図示しない駆動用電解液が毛細管現象によって這い上がり、封止ゴム7と反応して封止ゴム7が劣化するのを防止する目的で設けたものである。
このように構成された本実施の形態によるコンデンサ1は、コンデンサ素子2の陽極側端面を封口板4の底面に接合(一般に端面集電と呼ばれる)することによってこの封口板4に植設された陽極端子5と接続し、同陰極側端面を金属ケース3の内底面に接合(一般に端面集電と呼ばれる)し、この金属ケース3と上記封口板4に設けた陰極端子6を接続部材8を介して接続した構成にしたことにより、コンデンサ素子2の陽極/陰極取り出しを端面集電により取り出すことを基本にし、かつ陰極側は接続部材8を介して最短距離で陰極端子6に接続しているため、不要な抵抗の発生を可能な限り抑制した低抵抗のコンデンサ1を実現することができるようになるものである。
さらに、陽極/陰極の取り出しを封口板4に設けた一対の陽極端子5と陰極端子6で同一方向から行うことができるようになるため、従来の課題であったコンデンサを複数個連続してキャパシタユニットとして使用する際に、各端子が夫々相反する方向に引き出されているために接続作業が大変であるばかりでなく、接続スペースが両端に夫々必要なため、結果的に大きな取り付けスペースを必要として小型化できないという課題を一挙に解決することができるようになるものである。
従って、図3に示すように、本実施の形態によるコンデンサ1をバスバー10を用いて複数個連結してキャパシタユニットとして使用する場合に、陽極端子5ならびに陰極端子6を接続する際に、各端子が同一方向に引き出されているために接続作業が極めて容易になるばかりでなく、接続スペースはh1のみで良いため、結果的に取り付けスペースを半減して小型化を図ることができるようになるものである。
なお、本実施の形態においては、コンデンサ素子2の陰極側の取り出しは接続部材8を介して金属ケース3から陰極端子6に接続するように説明したが、本発明はこれに限定されるものではなく、接続部材8を用いることなく、金属ケース3の開口端を直接陰極端子6に接合する構成にしたり、あるいは金属ケース3から直接陰極取り出しを行うようにすることもできるものである。
また、本実施の形態においては、コンデンサ素子2の陽極側を封口板4に設けた陽極端子5に、同陰極側を金属ケース3に接合する構成として説明したが、本発明はこれに限定されるものではなく、陽極と陰極が逆になった構成としても良いものである。
また、本実施の形態においては、コンデンサが円筒形のものを例にして説明したが、本発明はこれに限定されるものではなく、楕円形や角形で構成することも可能である。
(実施の形態2)
以下、実施の形態2を用いて、本発明の特に請求項7〜10、15〜17に記載の発明について説明する。
本実施の形態は上記実施の形態1におけるコンデンサの陽極側の取り出し構造を一部異なるようにしたものであり、これ以外の構成は実施の形態1と同様であるために同一部分には同一の符号を付与してその詳細な説明は省略し、異なる部分についてのみ以下に図面を用いて説明する。
図4は本発明の実施の形態2によるコンデンサの構成を示した断面図、図5は同コンデンサに使用される集電板の斜視図であり、図4、図5において、11はアルミニウム製の集電板である。この集電板11は図5にその詳細を示すように、コンデンサ素子2の陽極側端面と略同形状に形成されコンデンサ素子2の陽極側端面とレーザー溶接により接合される側に向かって複数のリブ11aが設けられ、このリブ11aをコンデンサ素子2の陽極側端面に押し当てるか、またはリブ11aに対応するようにコンデンサ素子2の陽極側端面を加工しておき、リブ11aを介してレーザー溶接により集電板11とコンデンサ素子2の陽極側端面とを接合するようにしたものである。また、図5において11dは集電板11に設けた電解液通過孔である。
なお、このレーザー溶接を行う際に、集電板11とコンデンサ素子2の陽極側端面との接合面に例えばアルミ半田のようなろう材を介在させた状態で溶接を行うことにより、緻密でかつ溶接強度に優れた接合が行えるようになるものである。
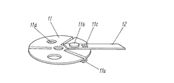
また、12は上記集電板11に結合されたアルミニウム製のリード板であり、このリード板12は集電板11に第1の結合部11bにかしめ加工により結合され、かつ第2の結合部11cに超音波溶接により結合され、先端部分が陽極端子5にかしめ加工によって接合されることにより、この陽極端子5からコンデンサ素子2の陽極側取り出しを行うようにしているものである。なお、上記リード板12は集電板11と一体に設けても良いものである。
また、13はゴムや熱可塑性樹脂等からなる固定部材であり、この固定部材13は封口板4と集電板11の間に配設されることによりコンデンサ素子2の耐振動対策を行うようにしたものであり、この固定部材13が封口板4や金属ケース3の内面と接するまで大きくすればその効果をより大きく引き出すことができるようになるものである。
このように本実施の形態によるコンデンサは、コンデンサ素子2の陽極側端面に集電板11を端面集電により接合したことによってより低抵抗化を図ることができると共に、封口板4と集電板11の間に固定部材13を配設したことによって耐振動性に優れたコンデンサを提供することができるようになるものである。
また、図示はしないが、金属ケース3の内面とコンデンサ素子2の外面との隙間に熱可塑性の固定剤(例えば、APP(アイソタクチックポリプロピレン)等)を設けたり、金属ケース3の底面周縁にテーパまたはRを設けることにより、更に耐振動性に優れたコンデンサを提供することができるようになるものである。
(実施の形態3)
以下、実施の形態3を用いて、本発明の特に請求項6に記載の発明について説明する。
本実施の形態は上記実施の形態2におけるコンデンサにおいて、金属ケースによってコンデンサ素子を固定するようにしたものであり、これ以外の構成は実施の形態2と同様であるために同一部分には同一の符号を付与してその詳細な説明は省略し、異なる部分についてのみ以下に図面を用いて説明する。
図6は本発明の実施の形態3によるコンデンサの構成を示した断面図であり、図6において14はコンデンサ素子であり、このコンデンサ素子14は上記実施の形態2のコンデンサ素子2に比べて外形が大きく形成された例を示しており、その外周が金属ケース3の内径と略同じ寸法に形成されているものである。3aは金属ケース3の開口部近傍を内部に向かって絞り加工することにより形成された円環状の窪みである。
このように形成されたコンデンサ素子14を図示しない駆動用電解液と共に収容した金属ケース3の開口部近傍を内部に向かって絞り加工して窪み3aを形成することにより、この窪み3aの下端が(集電板11、固定部材13を介して)コンデンサ素子14の上部を下方に付勢すると共に、窪み3aの上端が封口板4と当接することにより封口板4の位置決めを行うことができるようになり、精度の良い組み立てと、より優れた耐振動性を発揮することができるようになるものである。
(実施の形態4)
以下、実施の形態4を用いて、本発明の特に請求項11、16に記載の発明について説明する。
本実施の形態は上記実施の形態1におけるコンデンサの金属ケースの内底面の形状が異なるようにしたものであり、これ以外の構成は実施の形態1と同様であるために同一部分には同一の符号を付与してその詳細な説明は省略し、異なる部分についてのみ以下に図面を用いて説明する。
図7は本発明の実施の形態4によるコンデンサに用いる金属ケースの構成を示した斜視図であり、図7において15は金属ケースであり、この金属ケース15にはコンデンサ素子2の陰極側端面とレーザー溶接により接合される側に向かって複数のリブ15aが設けられ、このリブ15aをコンデンサ素子2の陰極側端面に押し当てるか、またはリブ15aに対応するようにコンデンサ素子2の陰極側端面を加工しておき、リブ15aを介してレーザー溶接により金属ケース15とコンデンサ素子2の陰極側端面とを接合するようにしたものである。
このように構成することにより、金属ケース15とコンデンサ素子2の陰極側端面の接合をより確実に行うことができるばかりでなく、低抵抗の接合を行うことができるようになるものであり、かつ、このレーザー溶接を行う際に、金属ケース15とコンデンサ素子2の陰極側端面との接合面に例えばアルミ半田のようなろう材を介在させた状態で溶接を行うことにより、緻密でかつ溶接強度に優れた接合が行えるようになるものである。
(実施の形態5)
以下、実施の形態5を用いて、本発明の特に請求項3に記載の発明について説明する。
本実施の形態は上記実施の形態1におけるコンデンサの接続部材の構成が異なるものであり、これ以外の構成は実施の形態1と同様であるために同一部分には同一の符号を付与してその詳細な説明は省略し、異なる部分についてのみ以下に図面を用いて説明する。
図8(a)〜(c)及び図9(a)、(b)は本発明の実施の形態5によるコンデンサに用いる接続部材の構成を示した断面図、及び断面図と平面図であり、図8と図9において8、8a、8b、8cは導電性の接続部材であり、これらの接続部材8、8a、8b、8cは一端が金属ケース3に溶接により接合され、他端が陰極端子6に溶接により接合されることにより、上記コンデンサ素子2の陰極側が接合された金属ケース3を介して陰極端子6から陰極取り出しを行うように構成されているのは全て同じ構成のものである。
図8(a)においては、接続部材8は階段状に形成され、カーリング加工された金属ケース3の上端面(図8(a)の上部端面)と陰極端子6の段付き部分に跨るようにして溶接により接合されているものである。
図8(b)においては、接続部材8aは角度を持った階段状に形成され、カーリング加工された金属ケース3の上端部(図8(a)の上部端面)と陰極端子6の上端面に跨るようにして溶接により接合されているものであり、このコンデンサを取り付ける際に陰極端子6に図示しないネジを締め付けることによって陰極端子6を上面から抑えるようになるため、接合部分に余計な負荷が加わらないという効果を有する。
図8(c)においては、接続部材8bは角度を持った階段状に形成され、その一端が金属ケース3の開口端と封口板4の間に挟み込まれるように、金属ケース3をカーリング加工する際に挟み込み、かつ他端が陰極端子6の上端面に当接するようにして溶接により接合されているものであり、このコンデンサを取り付ける際に陰極端子6に図示しないネジを締め付けることによって陰極端子6を上面から抑えるようになるために接合部分に余計な負荷が加わらないという効果に加え、金属ケース3の開口端と封口板4の間に一端側が挟み込まれているために、より信頼性が安定するという効果を有する。
図9(a)、(b)においては、接続部材8cはその外形が封口板4の全面を覆う大きさの円形に形成され、周縁が金属ケース3のカーリング加工された上端部(図9(a)の上部端面)に溶接により接合され、かつ陰極端子6と当接する部分が凸状に形成されて陰極端子6の上端面に当接するようにして溶接により接合されているものである。なお、図中の符号16は圧力調整弁である。
このように構成されることにより、コンデンサを取り付ける際に陰極端子6に図示しないネジを締め付けることによって陰極端子6を上面から抑えるようになるために接合部分に余計な負荷が加わらないという効果に加え、接続部材8cの周縁が全て金属ケース3の上端部と接合されている(部分的な接合でも良い)ために、ネジ締めに伴って接続部材8cが回転しようとすることがなくなり、より信頼性が安定するという効果を有する。
本発明によるコンデンサは、コンデンサ素子からの陽極/陰極の取り出しをリード部材等を用いることなく、素子の端面から直接取り出すようにしているために低抵抗化が図れ、また、陽極/陰極の外部取り出しを同一方向から取り出すことができるようになるため、このコンデンサを複数個連結してキャパシタユニットを構成する際に各コンデンサ間の接続スペースを半減することができるようになるという格別の効果を有し、ハイブリッドカーや燃料電池車の回生用、あるいは電力貯蔵用等として有用である。
本発明の実施の形態1によるコンデンサの構成を示した断面図 同斜視図 同コンデンサを複数個連結したキャパシタユニットの正面図 本発明の実施の形態2によるコンデンサの構成を示した断面図 同コンデンサに使用される集電板の斜視図 本発明の実施の形態3によるコンデンサの構成を示した断面図 本発明の実施の形態4によるコンデンサに用いる金属ケースの構成を示した斜視図 (a)〜(c)本発明の実施の形態5によるコンデンサに用いる接続部材の構成を示した断面図 (a)本発明の実施の形態5によるコンデンサに用いる接続部材の構成を示した断面図、(b)同平面図 従来のコンデンサの構成を示した断面図 従来のコンデンサを複数個連結したキャパシタユニットの正面図
符号の説明
1 コンデンサ
2、14 コンデンサ素子
3、15 金属ケース
3a 窪み
4 封口板
5 陽極端子
6 陰極端子
7 封止ゴム
8、8a、8b、8c 接続部材
9 絶縁層
10 バスバー
11 集電板
11a、15a リブ
11b 第1の結合部
11c 第2の結合部
11d 電解液通過孔
12 リード板
13 固定部材
16 圧力調整弁

Claims (17)

  1. 金属箔からなる集電体上に分極性電極層を形成した一対の電極を互いに逆方向に位置をずらしてその間にセパレータを介在させて巻回することにより構成されたコンデンサ素子と、このコンデンサ素子を駆動用電解液と共に収容した有底筒状の金属ケースと、この金属ケースの開口部を封止した封口板からなるコンデンサにおいて、上記コンデンサ素子の互いに逆方向に位置する電極の一方を封口板に設けられた端子に接続し、電極の他方を金属ケースの内底面に接合することにより、陽極/陰極のいずれかの取り出しを封口板に設けられた端子で、他方の取り出しを金属ケースで行うようにしたコンデンサ。
  2. 封口板に一対の端子を設け、この一対の端子の一方にコンデンサ素子の互いに逆方向に位置する電極の一方を接続し、他方の端子に電極の他方を金属ケースを介して接続することにより、陽極/陰極の取り出しを封口板に設けられた一対の端子で行うようにした請求項1に記載のコンデンサ。
  3. 封口板に設けた他方の端子と金属ケースを接続部材を用いて接合した請求項2に記載のコンデンサ。
  4. 封口板に設けた他方の端子と接続部材および/または金属ケースと接続部材の接合面にろう材を介在させた請求項3に記載のコンデンサ。
  5. 電極を構成する分極性電極層を集電体上の一端側に集電体の露出部分が残るように形成し、この分極性電極層が形成された一対の電極を上記集電体の露出部分が互いに逆方向になるようにしてその間にセパレータを介在させて巻回することにより構成したコンデンサ素子を用いた請求項1〜3のいずれか一つに記載のコンデンサ。
  6. 金属ケースの外周面から内部に向かう窪みを円環状に設け、この窪みの下端がコンデンサ素子の上部を下方に付勢すると共に、上端が封口板と当接することにより封口板の位置決めを行うようにした請求項1〜3のいずれか一つに記載のコンデンサ。
  7. コンデンサ素子の互いに逆方向に位置する電極の封口板に設けられた端子に接続される側に集電板を接合し、この集電板を介して上記封口板に設けられた端子に接続するようにした請求項1〜3のいずれか一つに記載のコンデンサ。
  8. 集電板を封口板に設けられた端子と接続するためのリード板を集電板に設けた請求項7に記載のコンデンサ。
  9. 封口板と集電板の間に固定部材を配設した請求項7に記載のコンデンサ。
  10. 集電板のコンデンサ素子との接合面に部分的に突出するリブを設けた請求項7に記載のコンデンサ。
  11. 金属ケースの内底面のコンデンサ素子との接合面に部分的に突出するリブを設けた請求項1〜3のいずれか一つに記載のコンデンサ。
  12. 封口板と組み合わさって封止を行う封止ゴムを設けると共に、少なくともこの封止ゴムと接触する部分の金属ケースに絶縁処理を施した請求項1〜3のいずれか一つに記載のコンデンサ。
  13. 金属ケースの少なくとも封止ゴムまたは固定部材と接する部分に絶縁処理を施した請求項1〜3、9,12のいずれか一つに記載のコンデンサ。
  14. コンデンサ素子の互いに逆方向に位置する電極にろう材をディップした請求項1〜3のいずれか一つに記載のコンデンサ。
  15. 金属ケースの内面とコンデンサ素子の外面との隙間に熱可塑性の固定剤を設けた請求項1〜3のいずれか一つに記載のコンデンサ。
  16. 金属ケースの内底面とコンデンサ素子との接合面および/または集電板とコンデンサ素子との接合面の少なくとも一部にろう材を介在させた請求項1〜3、7のいずれか一つに記載のコンデンサ。
  17. 金属ケースの底面周縁にテーパまたはRを設けた請求項1〜3のいずれか一つに記載のコンデンサ。
JP2004103774A 2004-03-31 2004-03-31 コンデンサ Expired - Fee Related JP4432580B2 (ja)

Priority Applications (1)

Application Number Priority Date Filing Date Title
JP2004103774A JP4432580B2 (ja) 2004-03-31 2004-03-31 コンデンサ

Applications Claiming Priority (1)

Application Number Priority Date Filing Date Title
JP2004103774A JP4432580B2 (ja) 2004-03-31 2004-03-31 コンデンサ

Publications (2)

Publication Number Publication Date
JP2005294344A true JP2005294344A (ja) 2005-10-20
JP4432580B2 JP4432580B2 (ja) 2010-03-17

Family

ID=35326978

Family Applications (1)

Application Number Title Priority Date Filing Date
JP2004103774A Expired - Fee Related JP4432580B2 (ja) 2004-03-31 2004-03-31 コンデンサ

Country Status (1)

Country Link
JP (1) JP4432580B2 (ja)

Cited By (9)

* Cited by examiner, † Cited by third party
Publication number Priority date Publication date Assignee Title
JP2007165521A (ja) * 2005-12-13 2007-06-28 Matsushita Electric Ind Co Ltd コンデンサ
WO2008072511A1 (ja) * 2006-12-07 2008-06-19 Panasonic Corporation キャパシタ
EP2017862A1 (en) * 2007-07-20 2009-01-21 Nisshinbo Industries, Inc. Electric double layer capacitor
WO2011080988A1 (ja) * 2009-12-28 2011-07-07 Jmエナジー株式会社 蓄電デバイス
JP2012094854A (ja) * 2010-09-30 2012-05-17 Nippon Chemicon Corp コンデンサ及びコンデンサの製造方法
JP2013062525A (ja) * 2012-11-16 2013-04-04 Panasonic Corp コンデンサ
JPWO2011080989A1 (ja) * 2009-12-28 2013-05-09 Jmエナジー株式会社 蓄電デバイス
KR101462155B1 (ko) * 2013-02-28 2014-11-14 삼화전기주식회사 저esr 전기 이중층 커패시터
KR20170019752A (ko) * 2015-08-12 2017-02-22 엘에스엠트론 주식회사 울트라 커패시터

Citations (8)

* Cited by examiner, † Cited by third party
Publication number Priority date Publication date Assignee Title
JPH01101617A (ja) * 1987-10-14 1989-04-19 Nec Corp 電気二重層コンデンサの製造方法
JPH01290215A (ja) * 1988-05-18 1989-11-22 Murata Mfg Co Ltd 電気二重層コンデンサ
JPH0368125A (ja) * 1989-08-05 1991-03-25 Matsushita Electric Ind Co Ltd アルミ電解コンデンサ
JP2001035474A (ja) * 1999-07-27 2001-02-09 Sanyo Electric Co Ltd 電気エネルギー蓄積デバイス及びその製造方法
JP2001068379A (ja) * 1999-08-24 2001-03-16 Honda Motor Co Ltd 電気二重層コンデンサ
JP2001230160A (ja) * 2000-02-16 2001-08-24 Nippon Chemicon Corp 電解コンデンサ
JP2002083739A (ja) * 2000-09-07 2002-03-22 Honda Motor Co Ltd 電気二重層キャパシタ
JP2002100403A (ja) * 2000-09-26 2002-04-05 Matsushita Electric Ind Co Ltd 非水電解液およびそれを含む非水電気化学装置

Patent Citations (8)

* Cited by examiner, † Cited by third party
Publication number Priority date Publication date Assignee Title
JPH01101617A (ja) * 1987-10-14 1989-04-19 Nec Corp 電気二重層コンデンサの製造方法
JPH01290215A (ja) * 1988-05-18 1989-11-22 Murata Mfg Co Ltd 電気二重層コンデンサ
JPH0368125A (ja) * 1989-08-05 1991-03-25 Matsushita Electric Ind Co Ltd アルミ電解コンデンサ
JP2001035474A (ja) * 1999-07-27 2001-02-09 Sanyo Electric Co Ltd 電気エネルギー蓄積デバイス及びその製造方法
JP2001068379A (ja) * 1999-08-24 2001-03-16 Honda Motor Co Ltd 電気二重層コンデンサ
JP2001230160A (ja) * 2000-02-16 2001-08-24 Nippon Chemicon Corp 電解コンデンサ
JP2002083739A (ja) * 2000-09-07 2002-03-22 Honda Motor Co Ltd 電気二重層キャパシタ
JP2002100403A (ja) * 2000-09-26 2002-04-05 Matsushita Electric Ind Co Ltd 非水電解液およびそれを含む非水電気化学装置

Cited By (14)

* Cited by examiner, † Cited by third party
Publication number Priority date Publication date Assignee Title
JP2007165521A (ja) * 2005-12-13 2007-06-28 Matsushita Electric Ind Co Ltd コンデンサ
US7995328B2 (en) 2006-12-07 2011-08-09 Panasonic Corporation Capacitor
WO2008072511A1 (ja) * 2006-12-07 2008-06-19 Panasonic Corporation キャパシタ
JPWO2008072511A1 (ja) * 2006-12-07 2010-03-25 パナソニック株式会社 キャパシタ
EP2017862A1 (en) * 2007-07-20 2009-01-21 Nisshinbo Industries, Inc. Electric double layer capacitor
JPWO2011080988A1 (ja) * 2009-12-28 2013-05-09 Jmエナジー株式会社 蓄電デバイス
JPWO2011080989A1 (ja) * 2009-12-28 2013-05-09 Jmエナジー株式会社 蓄電デバイス
WO2011080988A1 (ja) * 2009-12-28 2011-07-07 Jmエナジー株式会社 蓄電デバイス
JP2012094854A (ja) * 2010-09-30 2012-05-17 Nippon Chemicon Corp コンデンサ及びコンデンサの製造方法
JP2013062525A (ja) * 2012-11-16 2013-04-04 Panasonic Corp コンデンサ
KR101462155B1 (ko) * 2013-02-28 2014-11-14 삼화전기주식회사 저esr 전기 이중층 커패시터
CN105027241A (zh) * 2013-02-28 2015-11-04 三和电机株式会社 低esr电气双层电容器及其组装方法
KR20170019752A (ko) * 2015-08-12 2017-02-22 엘에스엠트론 주식회사 울트라 커패시터
KR102217991B1 (ko) * 2015-08-12 2021-02-18 엘에스엠트론 주식회사 울트라 커패시터

Also Published As

Publication number Publication date
JP4432580B2 (ja) 2010-03-17

Similar Documents

Publication Publication Date Title
JP6249963B2 (ja) 蓄電素子の製造方法及び蓄電素子アセンブリの製造方法
US9287059B2 (en) Electric storage device and method of manufacture thereof
JP5920650B2 (ja) 蓄電素子
JP6037204B2 (ja) 蓄電素子及び導電性部材
JP2005520344A (ja) コップ形ケーシング及びケーシングを有するコンデンサ
JP2012151097A (ja) 蓄電素子
JP4894543B2 (ja) キャパシタ
JP2008227472A (ja) キャパシタ
JP4432580B2 (ja) コンデンサ
US7457102B2 (en) Capacitor and method for making the same
JP2012023353A (ja) キャパシタ及びこれを用いたキャパシタモジュール
JP6870316B2 (ja) 角形二次電池及びその製造方法
JP2007258414A (ja) 電気二重層コンデンサ
US9030805B2 (en) Capacitor and capacitor module using the same
JP4600028B2 (ja) コンデンサ
JP2012099746A (ja) 蓄電装置
JP6760045B2 (ja) 角形二次電池及びその製造方法
JP2005340610A (ja) コンデンサ及びその製造方法
JP2005340609A (ja) コンデンサ及びその製造方法
JP2008300499A (ja) キャパシタ
JP4424327B2 (ja) コンデンサの製造方法
JP2007189184A (ja) コンデンサ
JP2012089689A (ja) キャパシタ及びこれを用いたキャパシタモジュール
JP2007258413A (ja) 電気二重層コンデンサ
JP2007189188A (ja) コンデンサ

Legal Events

Date Code Title Description
A621 Written request for application examination

Free format text: JAPANESE INTERMEDIATE CODE: A621

Effective date: 20070119

RD01 Notification of change of attorney

Free format text: JAPANESE INTERMEDIATE CODE: A7421

Effective date: 20070214

A977 Report on retrieval

Free format text: JAPANESE INTERMEDIATE CODE: A971007

Effective date: 20090702

A131 Notification of reasons for refusal

Free format text: JAPANESE INTERMEDIATE CODE: A131

Effective date: 20090714

A521 Request for written amendment filed

Free format text: JAPANESE INTERMEDIATE CODE: A523

Effective date: 20090914

RD01 Notification of change of attorney

Free format text: JAPANESE INTERMEDIATE CODE: A7421

Effective date: 20091120

TRDD Decision of grant or rejection written
A01 Written decision to grant a patent or to grant a registration (utility model)

Free format text: JAPANESE INTERMEDIATE CODE: A01

Effective date: 20091201

A01 Written decision to grant a patent or to grant a registration (utility model)

Free format text: JAPANESE INTERMEDIATE CODE: A01

A61 First payment of annual fees (during grant procedure)

Free format text: JAPANESE INTERMEDIATE CODE: A61

Effective date: 20091214

R151 Written notification of patent or utility model registration

Ref document number: 4432580

Country of ref document: JP

Free format text: JAPANESE INTERMEDIATE CODE: R151

FPAY Renewal fee payment (event date is renewal date of database)

Free format text: PAYMENT UNTIL: 20130108

Year of fee payment: 3

FPAY Renewal fee payment (event date is renewal date of database)

Free format text: PAYMENT UNTIL: 20130108

Year of fee payment: 3

LAPS Cancellation because of no payment of annual fees