JP2005294058A - 補償回路を有する有機エレクトロルミネッセンス素子 - Google Patents
補償回路を有する有機エレクトロルミネッセンス素子 Download PDFInfo
- Publication number
- JP2005294058A JP2005294058A JP2004107925A JP2004107925A JP2005294058A JP 2005294058 A JP2005294058 A JP 2005294058A JP 2004107925 A JP2004107925 A JP 2004107925A JP 2004107925 A JP2004107925 A JP 2004107925A JP 2005294058 A JP2005294058 A JP 2005294058A
- Authority
- JP
- Japan
- Prior art keywords
- light emitting
- layer
- extraction electrode
- intermediate layer
- anode
- Prior art date
- Legal status (The legal status is an assumption and is not a legal conclusion. Google has not performed a legal analysis and makes no representation as to the accuracy of the status listed.)
- Pending
Links
Images
Landscapes
- Electroluminescent Light Sources (AREA)
Abstract
【解決手段】 対向する陽極と陰極の間に、少なくとも1層以上の発光層を含む発光ユニットを複数個有する有機エレクトロルミネッセンス素子において、各発光ユニットが少なくとも1層以上からなる中間層によって仕切られており、該中間層の少なくとも1層が取り出し電極を有し、該取り出し電極が、任意の中間層の取り出し電極、及び/又は、陽極及び/又は陰極に接続できるスイッチング回路を有することを特徴とする有機エレクトロルミネッセンス素子である。
【選択図】 図1
Description
これらの直列積層型有機EL素子において、もし、何処かのユニットで不具合(製造時における異物の混入、短絡、非発光箇所の発生、欠陥、連続駆動時における有機物の劣化、何らかの電界集中による短絡等)が発生した場合、直列積層型有機EL素子として発光面の輝度ムラや非発光点の発生を招いてしまうという問題がある。製造時、連続発光時を含め、ある1つのユニットの不具合から生じた問題(局所的な電界集中、異物の短絡など)から積層したユニット全てが機能しなくなるという最悪の場合も予想される。
また、本発明に係る発光ユニットを複数個有する有機EL素子においては、構造、特性、及び/又は発光色が各々異なる発光ユニットを積層してもよい。
透明ガラス基板上にIZOからなる陽極を形成した。その後、SiOからなる絶縁層(厚み50nm)を所定の発光エリアとなる場所以外に真空蒸着法によりパターン形成した。真空度5×10−5Pa、成膜速度5Å/秒とした。
次に、陽極を備えた透明ガラス基板を酸素プラズマ下に曝し、その後、真空加熱蒸着法により、陽極を覆うように下記構造式で示されるビス(N−ナフチル)−N−フェニルベンジジン(α−NPD)からなる正孔輸送層(厚み50nm)を形成した。この正孔輸送層の成膜条件は、真空度5×10−5Pa、成膜速度2Å/秒、加熱温度350℃とした。
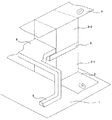
上記発光ユニット上にIZO薄膜(膜厚150nm)を形成した。IZOは対向ターゲット式スパッタリングによりスパッタガスとしてArを使用し、圧力7.0×10−2Pa、DC出力150W、RF出力100Wとした。次に、IZOの端部にマスク蒸着でAuの取り出し電極(膜厚100nm)を図5のようにパターン形成した。なお、図5において陽極と陰極が重なる部分(発光エリア)及び取り出し電極以外の空間は絶縁層(図示せず)が形成されている。
その後、再び所定の発光エリア以外に絶縁層(厚み50〜100nm)をパターン形成し、再度1番目の発光ユニットと同様に2番目の発光ユニットを形成し、最後にAl陰極を蒸着し形成した。
実施例1と同様に、1番目の発光ユニットまで形成し、最後にAl陰極を蒸着し形成した。
実施例1と同様に、1番目の発光ユニットまで作製した。中間層には、IZO、Au、IZOの3層構成で形成。Au形成後、取り出し電極Auを形成した。
上記1番目の発光ユニット上にIZO薄膜(膜厚70nm)を形成した。IZOは対向ターゲット式スパッタリングによりスパッタガスとしてArを使用し、圧力7.0×10−2Pa、DC出力150W、RF出力100Wとした。次に、Auを10nmの厚みで蒸着した。蒸着条件は、真空度5×10−5Pa、成膜速度1Å/秒とした。次に、このAu薄膜の端部にマスク蒸着でAuの取り出し電極(膜厚100nm)をパターン形成した。さらに、上記と同様にIZO薄膜(膜厚70nm)を形成した。
その後、再び所定の発光エリア以外に絶縁層(厚み50nm)をパターン形成し、再度1番目の発光ユニットと同様に2番目の発光ユニットを形成し、上記と同様に中間層を作製した。更に、2番目のユニットの中間層の上に、再度絶縁層および1番目の発光ユニットと同様に3番目の発光ユニットを形成し、最後にAl陰極を蒸着し形成した。
2…陽極
3(3−1、3−2、・・・3−n)…発光ユニット
4(4−1、4−2、・・・4−(n−1))…中間層
5…陰極
6…取り出し電極
7…スイッチング回路
8…不具合
9…絶縁層
Claims (6)
- 対向する陽極と陰極の間に、少なくとも1層以上の発光層を含む発光ユニットを複数個有する有機エレクトロルミネッセンス素子において、各発光ユニットが少なくとも1層以上からなる中間層によって仕切られており、該中間層の少なくとも1層が取り出し電極を有し、該取り出し電極が、任意の中間層の取り出し電極、及び/又は、陽極及び/又は陰極に接続できるスイッチング回路を有することを特徴とする有機エレクトロルミネッセンス素子。
- 前記中間層の全てが各々取り出し電極を有し、該取り出し電極が、隣接する中間層の取り出し電極、及び/又は、陽極及び/又は陰極に接続できるスイッチング回路を有することを特徴とする、請求項1に記載の有機エレクトロルミネッセンス素子。
- 前記中間層は等電位面であることを特徴とする、請求項1又は2に記載の有機エレクトロルミネッセンス素子。
- 前記中間層の取り出し電極が、当該中間層に用いられた少なくとも1つの物質を含む材料により形成されていることを特徴とする、請求項1乃至3いずれかに記載の有機エレクトロルミネッセンス素子。
- 前記取り出し電極が、仕事関数が4.2eV以上の物質を含むこと特徴とする、請求項3又は4に記載の有機エレクトロルミネッセンス素子。
- 対向する陽極と陰極の間に、少なくとも1層以上の発光層を含む発光ユニットを複数個有し、各発光ユニットが少なくとも1層以上からなる中間層によって仕切られている有機エレクトロルミネッセンス素子において、(1)該中間層の少なくとも1層に取り出し電極を設け、該取り出し電極に、任意の中間層の取り出し電極、及び/又は、陽極及び/又は陰極に接続できるスイッチング回路を設置する第1ステップと、(2)上記発光ユニットの何れかに不具合が発生した場合に、該不具合ユニットに電力を供給しないように上記回路を接続させる第2ステップ、を有する有機エレクトロルミネッセンス素子の制御方法。
Priority Applications (1)
| Application Number | Priority Date | Filing Date | Title |
|---|---|---|---|
| JP2004107925A JP2005294058A (ja) | 2004-03-31 | 2004-03-31 | 補償回路を有する有機エレクトロルミネッセンス素子 |
Applications Claiming Priority (1)
| Application Number | Priority Date | Filing Date | Title |
|---|---|---|---|
| JP2004107925A JP2005294058A (ja) | 2004-03-31 | 2004-03-31 | 補償回路を有する有機エレクトロルミネッセンス素子 |
Publications (1)
| Publication Number | Publication Date |
|---|---|
| JP2005294058A true JP2005294058A (ja) | 2005-10-20 |
Family
ID=35326753
Family Applications (1)
| Application Number | Title | Priority Date | Filing Date |
|---|---|---|---|
| JP2004107925A Pending JP2005294058A (ja) | 2004-03-31 | 2004-03-31 | 補償回路を有する有機エレクトロルミネッセンス素子 |
Country Status (1)
| Country | Link |
|---|---|
| JP (1) | JP2005294058A (ja) |
Cited By (6)
| Publication number | Priority date | Publication date | Assignee | Title |
|---|---|---|---|---|
| WO2009154288A1 (en) * | 2008-06-20 | 2009-12-23 | Canon Kabushiki Kaisha | Organic electroluminescence display apparatus |
| WO2014178282A1 (ja) * | 2013-05-01 | 2014-11-06 | コニカミノルタ株式会社 | 有機エレクトロルミネッセンス素子 |
| CN104716264A (zh) * | 2013-12-11 | 2015-06-17 | 昆山工研院新型平板显示技术中心有限公司 | 一种有机电致发光器件及应用该发光器件的显示装置 |
| WO2015133275A1 (ja) * | 2014-03-06 | 2015-09-11 | シャープ株式会社 | 混合材料、その製造方法、及びそれを用いた有機素子 |
| CN107946343A (zh) * | 2017-11-15 | 2018-04-20 | 江苏集萃有机光电技术研究所有限公司 | 像素结构及oled面板 |
| CN108063153A (zh) * | 2016-11-07 | 2018-05-22 | 上海和辉光电有限公司 | 一种oled显示器件 |
Citations (4)
| Publication number | Priority date | Publication date | Assignee | Title |
|---|---|---|---|---|
| JP2000195664A (ja) * | 1998-12-24 | 2000-07-14 | Rohm Co Ltd | 発光装置 |
| JP2001273979A (ja) * | 1994-12-13 | 2001-10-05 | Trustees Of Princeton Univ | オーガニック発光構造 |
| JP2002513503A (ja) * | 1997-02-03 | 2002-05-08 | ザ トラスティーズ オブ プリンストン ユニバーシテイ | スタック型有機発光デバイス用駆動回路 |
| JP2004063079A (ja) * | 2002-07-24 | 2004-02-26 | Seiko Precision Inc | El素子 |
-
2004
- 2004-03-31 JP JP2004107925A patent/JP2005294058A/ja active Pending
Patent Citations (4)
| Publication number | Priority date | Publication date | Assignee | Title |
|---|---|---|---|---|
| JP2001273979A (ja) * | 1994-12-13 | 2001-10-05 | Trustees Of Princeton Univ | オーガニック発光構造 |
| JP2002513503A (ja) * | 1997-02-03 | 2002-05-08 | ザ トラスティーズ オブ プリンストン ユニバーシテイ | スタック型有機発光デバイス用駆動回路 |
| JP2000195664A (ja) * | 1998-12-24 | 2000-07-14 | Rohm Co Ltd | 発光装置 |
| JP2004063079A (ja) * | 2002-07-24 | 2004-02-26 | Seiko Precision Inc | El素子 |
Cited By (12)
| Publication number | Priority date | Publication date | Assignee | Title |
|---|---|---|---|---|
| WO2009154288A1 (en) * | 2008-06-20 | 2009-12-23 | Canon Kabushiki Kaisha | Organic electroluminescence display apparatus |
| US8395316B2 (en) | 2008-06-20 | 2013-03-12 | Canon Kabushiki Kaisha | Organic electroluminescence display apparatus |
| WO2014178282A1 (ja) * | 2013-05-01 | 2014-11-06 | コニカミノルタ株式会社 | 有機エレクトロルミネッセンス素子 |
| CN105165122A (zh) * | 2013-05-01 | 2015-12-16 | 柯尼卡美能达株式会社 | 有机电致发光元件 |
| JPWO2014178282A1 (ja) * | 2013-05-01 | 2017-02-23 | コニカミノルタ株式会社 | 有機エレクトロルミネッセンス素子 |
| US9899598B2 (en) | 2013-05-01 | 2018-02-20 | Konica Minolta, Inc. | Organic electroluminescent element |
| JP2018133346A (ja) * | 2013-05-01 | 2018-08-23 | コニカミノルタ株式会社 | 有機エレクトロルミネッセンス素子 |
| CN104716264A (zh) * | 2013-12-11 | 2015-06-17 | 昆山工研院新型平板显示技术中心有限公司 | 一种有机电致发光器件及应用该发光器件的显示装置 |
| WO2015133275A1 (ja) * | 2014-03-06 | 2015-09-11 | シャープ株式会社 | 混合材料、その製造方法、及びそれを用いた有機素子 |
| US9812316B2 (en) | 2014-03-06 | 2017-11-07 | Sharp Kabushiki Kaisha | Mixed material, method for producing same, and organic element using same |
| CN108063153A (zh) * | 2016-11-07 | 2018-05-22 | 上海和辉光电有限公司 | 一种oled显示器件 |
| CN107946343A (zh) * | 2017-11-15 | 2018-04-20 | 江苏集萃有机光电技术研究所有限公司 | 像素结构及oled面板 |
Similar Documents
| Publication | Publication Date | Title |
|---|---|---|
| CN104576950B (zh) | 有机发光器件 | |
| KR101345617B1 (ko) | 유기 일렉트로루미네센스 소자 | |
| US8482017B2 (en) | Organic light emitting diode device | |
| JP6060361B2 (ja) | 有機発光素子 | |
| WO2005027586A1 (ja) | 有機el素子および表示装置 | |
| KR20070076521A (ko) | 적층형 유기발광소자 | |
| KR20130014470A (ko) | 유기 전계 발광 소자 | |
| KR100844788B1 (ko) | 유기발광소자의 제조방법 및 이에 의하여 제조된유기발광소자 | |
| JP6815294B2 (ja) | 有機el素子、および有機elパネル | |
| CN113964279A (zh) | 顶发射有机电致发光元件和顶发射有机电致发光器件 | |
| JP5791129B2 (ja) | 有機エレクトロルミネッセンス素子及び有機エレクトロルミネッセンス照明装置 | |
| JP2005294058A (ja) | 補償回路を有する有機エレクトロルミネッセンス素子 | |
| JP2007067291A (ja) | エレクトロルミネッセンス素子および機能デバイス | |
| US9136493B2 (en) | Organic EL element | |
| CN100534246C (zh) | 有机电致发光器件及显示器 | |
| CN115117265B (zh) | 发光器件和显示面板 | |
| JP2006108190A (ja) | エレクトロルミネッセンス素子 | |
| JP2004207000A (ja) | 有機el素子 | |
| JP4026343B2 (ja) | 有機エレクトロルミネッセンス素子の製造方法 | |
| CN117042507A (zh) | 显示器件及其制作方法 | |
| CN100473247C (zh) | 电激发光元件 | |
| KR102803734B1 (ko) | 유기 발광 소자 | |
| KR100972290B1 (ko) | 유기전계발광소자 | |
| KR20250144097A (ko) | 유기전기소자 및 그 전자 장치 | |
| JP4228021B2 (ja) | 有機el素子 |
Legal Events
| Date | Code | Title | Description |
|---|---|---|---|
| A621 | Written request for application examination |
Free format text: JAPANESE INTERMEDIATE CODE: A621 Effective date: 20070123 |
|
| A977 | Report on retrieval |
Free format text: JAPANESE INTERMEDIATE CODE: A971007 Effective date: 20090910 |
|
| A131 | Notification of reasons for refusal |
Free format text: JAPANESE INTERMEDIATE CODE: A131 Effective date: 20090929 |
|
| A521 | Request for written amendment filed |
Free format text: JAPANESE INTERMEDIATE CODE: A523 Effective date: 20091130 |
|
| A131 | Notification of reasons for refusal |
Free format text: JAPANESE INTERMEDIATE CODE: A131 Effective date: 20100105 |
|
| A521 | Request for written amendment filed |
Free format text: JAPANESE INTERMEDIATE CODE: A523 Effective date: 20100305 |
|
| A02 | Decision of refusal |
Free format text: JAPANESE INTERMEDIATE CODE: A02 Effective date: 20100406 |
