JP2005294028A - リチウム二次電池 - Google Patents
リチウム二次電池 Download PDFInfo
- Publication number
- JP2005294028A JP2005294028A JP2004107291A JP2004107291A JP2005294028A JP 2005294028 A JP2005294028 A JP 2005294028A JP 2004107291 A JP2004107291 A JP 2004107291A JP 2004107291 A JP2004107291 A JP 2004107291A JP 2005294028 A JP2005294028 A JP 2005294028A
- Authority
- JP
- Japan
- Prior art keywords
- lithium
- secondary battery
- lithium secondary
- negative electrode
- carbonate
- Prior art date
- Legal status (The legal status is an assumption and is not a legal conclusion. Google has not performed a legal analysis and makes no representation as to the accuracy of the status listed.)
- Pending
Links
Images
Classifications
-
- Y—GENERAL TAGGING OF NEW TECHNOLOGICAL DEVELOPMENTS; GENERAL TAGGING OF CROSS-SECTIONAL TECHNOLOGIES SPANNING OVER SEVERAL SECTIONS OF THE IPC; TECHNICAL SUBJECTS COVERED BY FORMER USPC CROSS-REFERENCE ART COLLECTIONS [XRACs] AND DIGESTS
- Y02—TECHNOLOGIES OR APPLICATIONS FOR MITIGATION OR ADAPTATION AGAINST CLIMATE CHANGE
- Y02E—REDUCTION OF GREENHOUSE GAS [GHG] EMISSIONS, RELATED TO ENERGY GENERATION, TRANSMISSION OR DISTRIBUTION
- Y02E60/00—Enabling technologies; Technologies with a potential or indirect contribution to GHG emissions mitigation
- Y02E60/10—Energy storage using batteries
-
- Y—GENERAL TAGGING OF NEW TECHNOLOGICAL DEVELOPMENTS; GENERAL TAGGING OF CROSS-SECTIONAL TECHNOLOGIES SPANNING OVER SEVERAL SECTIONS OF THE IPC; TECHNICAL SUBJECTS COVERED BY FORMER USPC CROSS-REFERENCE ART COLLECTIONS [XRACs] AND DIGESTS
- Y02—TECHNOLOGIES OR APPLICATIONS FOR MITIGATION OR ADAPTATION AGAINST CLIMATE CHANGE
- Y02P—CLIMATE CHANGE MITIGATION TECHNOLOGIES IN THE PRODUCTION OR PROCESSING OF GOODS
- Y02P70/00—Climate change mitigation technologies in the production process for final industrial or consumer products
- Y02P70/50—Manufacturing or production processes characterised by the final manufactured product
Landscapes
- Secondary Cells (AREA)
- Battery Electrode And Active Subsutance (AREA)
Abstract
【課題】 充放電容量の低下が少なく、サイクル特性に優れたリチウム二次電池を提供する。
【解決手段】 リチウム含有複合酸化物を正極活物質として含む正極2と、予めリチウムがドープされた黒鉛を負極活物質として含む負極3と、非水電解質とを具備してなり、前記負極における放電終止電位が0.5V(対リチウム)以下に設定されていることを特徴とするリチウム二次電池1を採用する。
【選択図】 図1
【解決手段】 リチウム含有複合酸化物を正極活物質として含む正極2と、予めリチウムがドープされた黒鉛を負極活物質として含む負極3と、非水電解質とを具備してなり、前記負極における放電終止電位が0.5V(対リチウム)以下に設定されていることを特徴とするリチウム二次電池1を採用する。
【選択図】 図1
Description
本発明は、リチウム二次電池に関するものであり、特に、サイクル特性に優れたリチウム二次電池に関するものである。
エネルギー・環境問題を背景に、電力負荷平準化による電気事業者の発電コストの低減とユーザの夜間電力利用による電気料金低減の両立を可能とする電力貯蔵システムが求められている。リチウム二次電池は、鉛電池など他の電池に比べてエネルギー密度が高く、サイクル寿命も長いことから、電力貯蔵の用途に適した電池といえる。特に、電池の寿命が長いほど夜間電力利用によるコスト低減のメリットが大きくなるため、電池寿命の向上が求められている。
電池寿命を向上させる手段として、電解液にビニレンカーボネートを添加する手段が知られている(例えば下記特許文献1)。ビニレンカーボネートは、負極表面に安定な皮膜を形成させ、電解液の分解反応などの副反応を抑制できると言われている。
特開2001-126763号公報
ところで、ビニレンカーボネートにより形成された皮膜は、リチウムの吸蔵に伴う負極の体積変化の影響により、皮膜自体が割れたり分解することがある。この場合、割れや分解により消失した皮膜を補うべく、新たな皮膜を形成しようとする。しかし、新たな皮膜が形成されると、リチウムイオンが消費されてしまうため、これにより電池の充放電容量が低下して、電池寿命が短くなるといった問題があった。
本発明は、上記事情に鑑みてなされたものであって、充放電容量の低下が少なく、サイクル特性に優れたリチウム二次電池を提供することを目的とする。
上記の目的を達成するために、本発明は以下の構成を採用した。
本発明のリチウム二次電池は、リチウム含有複合酸化物を正極活物質として含む正極と、予めリチウムがドープされた黒鉛を負極活物質として含む負極と、非水電解質とを具備してなり、前記負極における放電終止電位が0.5V(対リチウム)以下に設定されていることを特徴とする。
なお、上記放電終止電圧は、リチウムを対極としたときの負極の電位である。
本発明のリチウム二次電池は、リチウム含有複合酸化物を正極活物質として含む正極と、予めリチウムがドープされた黒鉛を負極活物質として含む負極と、非水電解質とを具備してなり、前記負極における放電終止電位が0.5V(対リチウム)以下に設定されていることを特徴とする。
なお、上記放電終止電圧は、リチウムを対極としたときの負極の電位である。
上記の構成によれば、あらかじめ負極活物質にリチウムをドープさせることにより、電池放電末期に負極からリチウムイオンが完全に脱離することを抑制でき,負極活物質の急激な体積変化が防止される。これにより、サイクル特性を向上することができる。
また本発明のリチウム二次電池は、先に記載のリチウム二次電池であり、前記非水電解質に0.1重量%以上のビニレンカーボネートが添加されていることを特徴とする。
上記の構成によれば、負極活物質表面にビニレンカーボネートによる被膜が形成され、この被膜は、負極の体積変化が少ないために割れたり剥がれたりすることがなく、被膜を再生するための余計なリチウムを消費せずに済み、充放電容量の劣化を防止できる。
また本発明のリチウム二次電池は、先に記載のリチウム二次電池であり、前記負極の表面に、金属リチウム箔を配置・接合させることにより、前記黒鉛にリチウムがドープさせたことを特徴とする。
金属リチウム箔として負極に接合されたリチウムは、非水電解質との接触に伴って負極活物質である黒鉛に直ちに拡散し、充放電反応に供される。このようにして、電池の充放電反応に係るリチウム量を増加させることができ、リチウム二次電池のエネルギー密度を高くすることができる。
また上記の構成によれば、負極中の黒鉛に均等にリチウムをドープさせることができる。
また上記の構成によれば、負極中の黒鉛に均等にリチウムをドープさせることができる。
また本発明のリチウム二次電池は、先に記載のリチウム二次電池であり、前記リチウム含有複合酸化物が、下記の組成式により表されるリチウムマンガン複合酸化物であり、前記金属リチウム箔の重量をLimとし、前記リチウムマンガン複合酸化物の3V放電域のサイトを満たすリチウムの重量をLi3Vとし、前記負極表面での初回充電時の前記非水電解質の還元反応により消費されるリチウムの重量をLi1cとしたとき、前記金属リチウム箔の重量が、Lim≧Li3V+Li1cの関係を満たすことを特徴とする。より具体的には金属リチウム量として負極活物質の黒鉛に対して3重量%以上10重量%以下とすることが好ましい。
LiMn2-xMxO4
ただし、MはTi、V、Cr、Fe、Co、Ni、Al、Ag、Mg、Liのうちの少なくとも1種以上の元素であり、組成比を示すxは、0≦x≦1.0である。
LiMn2-xMxO4
ただし、MはTi、V、Cr、Fe、Co、Ni、Al、Ag、Mg、Liのうちの少なくとも1種以上の元素であり、組成比を示すxは、0≦x≦1.0である。
なお、Li3V及びLi1cは、前記の正極合材及び前記の負極合材をそれぞれ作用極とし、リチウムを対極として充放電試験を行い、その試験結果から求めることができる。
また本発明のリチウム二次電池は、先に記載のリチウム二次電池であり、前記非水電解質が高誘電率溶媒と低粘度溶媒とリチウム塩との混合物であって、且つ全溶媒に占める高誘電率溶媒の割合が30〜6体積%としてなることを特徴とする。この構成により、時間劣化比を低減することができる。
また本発明のリチウム二次電池は、先に記載のリチウム二次電池であり、前記非水電解質中のリチウム塩濃度が1モル/リットル未満であることを特徴とする。この構成により、リチウム二次電池の高温特性を改善することができる。
また本発明のリチウム二次電池は、先に記載のリチウム二次電池であり、前記高誘電率溶媒がエチレンカーボネート、プロピレンカーボネート、ブチレンカーボネート、γ-ブチロラクトン、γ-バレロラクトン、アセトニトリル、スルホラン、3-メチルスルホラン、ジメチルスルホキシド、N、N-ジメチルホルムアミド、N-メチルオキサゾリジノン、又はN、N-ジメチルアセトアミドのいずれか1種、または2種以上であることを特徴とする。
また本発明のリチウム二次電池は、先に記載のリチウム二次電池であり、前記低粘度溶媒がジメチルカーボネート(DMC)、ジエチルカーボネート(DEC)、エチルメチルカーボネート(EMC)、ジメトキシメタン、1,2ジメトキシエタン、テトラヒドロフラン、2-メチルテトラヒドロフラン、1,3-ジオキソラン、4-メチル-1,3-ジオキソラン、メチルホルメート、メチルアセテート、メチルプロピネートのいずれか1種、または2種以上であることを特徴とする。
また本発明のリチウム二次電池は、先に記載のリチウム二次電池であり、前記リチウム塩がLiPF6 、LiBF4
、LiSbF6 、LiAsF6 、LiClO4 、LiCF3SO3、LiC4F9SO3、LiSbF6、LiAlO4、LiAlCl4、LiN(CxF2x+1SO2)(CyF2y+1SO2)(ただしx、yは自然数)、LiCl、LiI等のいずれか一種、または二種以上であることを特徴とする。
、LiSbF6 、LiAsF6 、LiClO4 、LiCF3SO3、LiC4F9SO3、LiSbF6、LiAlO4、LiAlCl4、LiN(CxF2x+1SO2)(CyF2y+1SO2)(ただしx、yは自然数)、LiCl、LiI等のいずれか一種、または二種以上であることを特徴とする。
また本発明のリチウム二次電池は、先に記載のリチウム二次電池であり、前記高誘電率溶媒がエチレンカーボネートであり、前記低粘度溶媒がジメチルカーボネート、ジエチルカーボネート、エチルメチルカーボネートのいずれか一種又はこれらの混合物であり、且つリチウム塩がLiPF6であることを特徴とする。
また本発明のリチウム二次電池は、先に記載のリチウム二次電池であり、前記高誘電率溶媒と前記低粘度溶媒との配合比率が体積比で15:85〜7:93としてなることを特徴とする。
また本発明のリチウム二次電池は、先に記載のリチウム二次電池であり、前記LiPF6の濃度が0.15〜0.6モル/リットルであることを特徴とする。
本発明のリチウム二次電池によれば、充放電容量の低下を少なくするとともに、サイクル特性を向上させることができる。
以下、本発明の実施の形態を図面を参照して説明する。
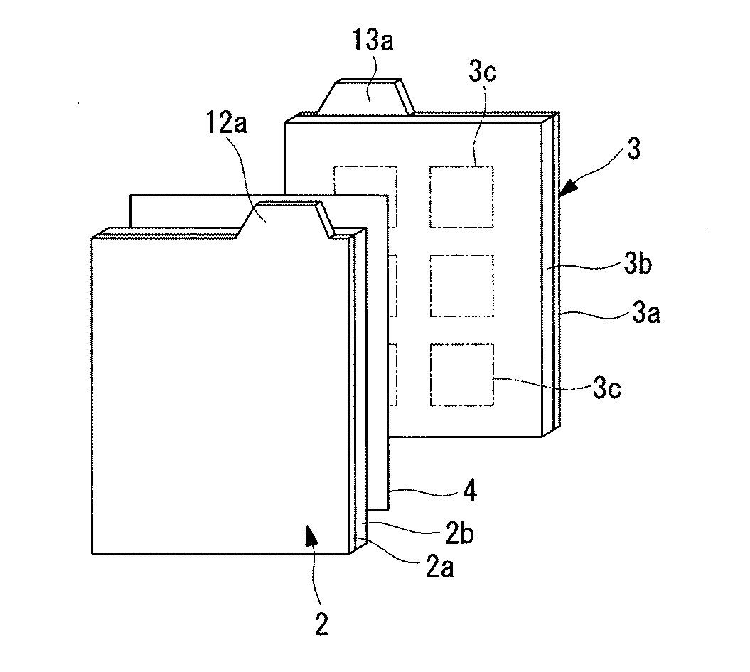
図1に、本実施形態のリチウム二次電池の一例を示す。このリチウム二次電池1は、いわゆる角型と呼ばれるもので、複数の正極電極(正極)2…と、複数の負極電極(負極)3…と、正極電極2と負極電極3との間にそれぞれ配置されたセパレータ4…と、非水電解液(非水電解質)とを主体として構成されてなるものである。
図1に、本実施形態のリチウム二次電池の一例を示す。このリチウム二次電池1は、いわゆる角型と呼ばれるもので、複数の正極電極(正極)2…と、複数の負極電極(負極)3…と、正極電極2と負極電極3との間にそれぞれ配置されたセパレータ4…と、非水電解液(非水電解質)とを主体として構成されてなるものである。
正極電極2…、負極電極3…及びセパレータ4…並びに非水電解液は、ステンレス等からなる電池ケース5に収納されている。そして電池ケース5の上部には封口板6が取り付けられている。この封口板6のほぼ中央には電池の内圧上昇を防止する安全弁9が設けられている。また、セパレータ4には、ポリエチレン、ポリプロピレン等の多孔性高分子材料膜、ガラス繊維、各種高分子繊維からなる不織布等が用いられる。
正極電極2…の一端には正極タブ12…が形成され、正極タブ12a…の上部には該正極タブ12a…を連結する正極リード12bが取り付けられている。この正極リード12bには、封口板6を貫通する正極端子7が取り付けられている。同様に、負極電極3…の一端には負極タブ13a…が形成され、負極タブ13a…の上部には該負極タブ13a…を連結する負極リード13bが取り付けられている。この負極リード13bには、封口板6を貫通する負極端子8が取り付けられている。上記構成により、正極端子7及び負極端子8から電流を取り出せるようになっている。
図2に示すように、正極電極2は、例えばAl箔等からなる正極集電体(集電体)2aと、正極集電体2a上に成膜された正極電極膜(電極膜)2bとから構成されている。正極集電体2aの一端に前述の正極タブ12aが突出して形成されている。正極電極膜2bは、リチウム含有複合酸化物からなる正極活物質粉末と導電助材粉末と結着剤とが混合されて膜状に成形されている。
正極活物質粉末としては、リチウムを電気化学的に脱挿入できるリチウム含有複合酸化物が好ましく、例えば、マンガン酸リチウム、コバルト酸リチウム、ニッケル酸リチウム、鉄酸リチウム、酸化バナジウム、バナジン酸リチウム等のいずれか1種,または2種以上を使用できる。また、導電助材粉末としては、例えば、カーボンブラック、アセチレンブラック、黒鉛、炭素繊維等の炭素質材料を用いることができる。更に結着剤としては、例えば、ポリフッ化ビニリデンや、ポリ4フッ化エチレン、ポリイミド、スチレンブタジエンゴム等を用いることができる。
更に正極電極膜2bにポリアニリン、ポリピロール、ポリチオフェン、ポリイミダゾール等の導電性高分子材料を添加しても良い。これらの導電性高分子材料は電気化学的に安定であり、しかも電子伝導性に優れているため、正極電極膜2bの内部抵抗を低減する効果がある。
尚、正極集電体2aとしては、金属箔、金属網、エキスパンドメタル等を用いることができ、またこれらの材質はAlの他、Ti、ステンレス等でもよい。
更に正極電極膜2bにポリアニリン、ポリピロール、ポリチオフェン、ポリイミダゾール等の導電性高分子材料を添加しても良い。これらの導電性高分子材料は電気化学的に安定であり、しかも電子伝導性に優れているため、正極電極膜2bの内部抵抗を低減する効果がある。
尚、正極集電体2aとしては、金属箔、金属網、エキスパンドメタル等を用いることができ、またこれらの材質はAlの他、Ti、ステンレス等でもよい。
特に、正極活物質粉末として、組成式LiMn2-xMxO4で表されるリチウムマンガン複合酸化物を用いることが好ましい。ここで、元素MはTi、V、Cr、Fe、Co、Ni、Al、Ag、Mg、Liのうちの少なくとも1種以上の元素を示し、組成比を示すxは、0≦x≦1.0である。
LiMn2-xMxO4は、スピネル型のリチウムマンガン複合酸化物と呼ばれるもので、結晶中に3.6〜4.4V(.vs. Li/ Li+)の電位範囲でリチウムイオンが挿入・脱離するサイト(以下、4V放電域のサイトと称する)と、3.6V(.vs. Li/
Li+)以下でリチウムイオンが挿入・脱離するサイト(以下、3V放電域のサイトと称する)とを有している。また、LiMn2-xMxO4に含まれるリチウムは4V放電域のサイトを満たしており、3V放電域のサイトは空いた状態になっている。
LiMn2-xMxO4は、スピネル型のリチウムマンガン複合酸化物と呼ばれるもので、結晶中に3.6〜4.4V(.vs. Li/ Li+)の電位範囲でリチウムイオンが挿入・脱離するサイト(以下、4V放電域のサイトと称する)と、3.6V(.vs. Li/
Li+)以下でリチウムイオンが挿入・脱離するサイト(以下、3V放電域のサイトと称する)とを有している。また、LiMn2-xMxO4に含まれるリチウムは4V放電域のサイトを満たしており、3V放電域のサイトは空いた状態になっている。
このLiMn2-xMxO4には、元素MとしてTi、V、Cr、Fe、Co、Ni、Al、Ag、Mg、Liのうちの少なくとも1種以上の元素が添加されているが、この中でもCr、Fe、Co、Ni、Al、Ag、Mg、Liのいずれか1種以上を添加されたことが好ましい。これら元素Mを添加すると、放電の進行によってLiMn2-xMxO4に引き起こされるヤーン・テラー効果による結晶構造の転移を抑制することができ、充放電サイクルの進行に伴う電池の放電容量の低下を抑えることが可能となる。
次に図2に示すように負極電極3は、Cu箔等からなる負極集電体3aと、この負極集電体3a上に成膜された負極電極膜3bとから構成されている。負極集電体3aの一端に前述の負極タブ13aが形成されている。負極電極膜3bは、例えば、予めリチウムがドープされた黒鉛からなる負極活物質粉末とポリフッ化ビニリデン等の結着剤とが混合されて形成されている。尚、負極電極膜3bにカーボンブラック等の導電助材粉末が添加される場合もある。
黒鉛にリチウムをドープさせるには、図2の波線で示すように、負極電極膜3bに金属リチウム箔3cを貼り合わせればよい。貼り合わされた金属リチウム箔は、負極電極3が電解液と共に電池ケース5内に封入された後、リチウムイオンとなって黒鉛の層間にドープされ、充放電反応に供される。
金属リチウム箔3cは、厚さが50μm以下とすることが好ましい。また、図2に示すように、複数枚の金属リチウム箔3cを相互に離間させて負極電極膜3bの表面に接合することが、リチウムを均一にドープできる点で好ましい。特に、相互に離間されて均一に分散配置された金属リチウム箔の間隔が、31mm以下であることが好ましい。
金属リチウム箔3cは、厚さが50μm以下とすることが好ましい。また、図2に示すように、複数枚の金属リチウム箔3cを相互に離間させて負極電極膜3bの表面に接合することが、リチウムを均一にドープできる点で好ましい。特に、相互に離間されて均一に分散配置された金属リチウム箔の間隔が、31mm以下であることが好ましい。
また、金属リチウム箔の重量をLimとし、LiMn2-xMxO4の3V放電域のサイトを満たすリチウムの重量をLi3Vとし、リチウム二次電池の初回充電時に負極活物質(黒鉛)にて起きる非水電解質の還元反応で消費されるリチウムの重量をLi1cとしたとき、金属リチウム箔の重量が、Lim≧Li3V+Li1cを満たすことが好ましい。なお、Li3V及びLi1cは、前記の正極電極膜及び前記の負極電極膜をそれぞれ作用極とし、リチウムを対極として充放電試験を行い、その試験結果から求めることができる。特に、金属リチウム箔の重量が、負極活物質(黒鉛)の重量に対して3重量%以上10重量%以下、より好ましくは4.5重量%以上10重量%以下とされるとよい。なお、金属リチウム箔は、LiMn2-xMxO4の3V放電域のサイトを満たすリチウムが消費され、かつ初回充電時に負極活物質(黒鉛)の表面にて起きる非水電解質の還元反応でリチウムが消費された場合であっても、その一部が残存するように添加することが好ましい。
そして図2に示すように、正極電極層2bと負極電極層3bがセパレータ4を介して対向している。尚、図2においては説明を簡略にするために、各集電体2a、3aの片面に各電極膜2b、3bを成膜した形態を示しているが、各電極膜2b、3bを各集電体2a、3aの両面に成膜してもよいのはもちろんである。
次に、非水電解質は、高誘電率溶媒と低粘度溶媒とリチウム塩との混合物であって、且つ全溶媒に占める高誘電率溶媒の割合が30〜6体積%とされ、更に0.1質量%以上のビニレンカーボネートが添加されて構成されている。また、非水電解質中のリチウム塩濃度が1モル/リットル未満とされている。
高誘電率溶媒の割合が30体積%以下とすると、時間劣化比が低減して高温劣化を防止できる。一方、しかし、高誘電率溶媒の割合が6体積%未満になると、レート特性が低下するので好ましくない。また、リチウム塩濃度が1モル/リットル未満とすることで、高温特性を向上することができる。ただし、リチウム塩が濃度が0.1モル/リットル未満になると、レート特性が低下してしまうので好ましくない。
高誘電率溶媒の割合が30体積%以下とすると、時間劣化比が低減して高温劣化を防止できる。一方、しかし、高誘電率溶媒の割合が6体積%未満になると、レート特性が低下するので好ましくない。また、リチウム塩濃度が1モル/リットル未満とすることで、高温特性を向上することができる。ただし、リチウム塩が濃度が0.1モル/リットル未満になると、レート特性が低下してしまうので好ましくない。
なお、時間劣化とは、充電状態の電池を一定期間放置した後の電池容量の低下を言う。また時間劣化比とは、標準的な電解液を用いた場合の時間劣化に対する電池劣化の割合をいう。なお、標準的な電解液として、市販電解液(EC:DMC=1:2の混合溶媒にLiPF6を1モル/リットルの濃度で溶解したもの)を用いる。
高誘電率溶媒としては、エチレンカーボネート、プロピレンカーボネート、ブチレンカーボネート、γ-ブチロラクトン、γ-バレロラクトン、アセトニトリル、スルホラン、3-メチルスルホラン、ジメチルスルホキシド、N、N-ジメチルホルムアミド、N-メチルオキサゾリジノン、又はN、N-ジメチルアセトアミドのいずれか1種、または2種以上を用いることが好ましい。
また低粘度溶媒としては、ジメチルカーボネート(DMC)、ジエチルカーボネート(DEC)、エチルメチルカーボネート(EMC)、ジメトキシメタン、1,2ジメトキシエタン、テトラヒドロフラン、2-メチルテトラヒドロフラン、1,3-ジオキソラン、4-メチル-1,3-ジオキソラン、メチルホルメート、メチルアセテート、メチルプロピネートのいずれか1種、または2種以上であることが好ましい。
またリチウム塩としては、LiPF6 、LiBF4 、LiSbF6
、LiAsF6 、LiClO4 、LiCF3SO3、LiC4F9SO3、LiSbF6、LiAlO4、LiAlCl4、LiN(CxF2x+1SO2)(CyF2y+1SO2)(ただしx、yは自然数)、LiCl、LiI等のいずれか一種、または二種以上であることが好ましい。
また低粘度溶媒としては、ジメチルカーボネート(DMC)、ジエチルカーボネート(DEC)、エチルメチルカーボネート(EMC)、ジメトキシメタン、1,2ジメトキシエタン、テトラヒドロフラン、2-メチルテトラヒドロフラン、1,3-ジオキソラン、4-メチル-1,3-ジオキソラン、メチルホルメート、メチルアセテート、メチルプロピネートのいずれか1種、または2種以上であることが好ましい。
またリチウム塩としては、LiPF6 、LiBF4 、LiSbF6
、LiAsF6 、LiClO4 、LiCF3SO3、LiC4F9SO3、LiSbF6、LiAlO4、LiAlCl4、LiN(CxF2x+1SO2)(CyF2y+1SO2)(ただしx、yは自然数)、LiCl、LiI等のいずれか一種、または二種以上であることが好ましい。
特に、非水電解質として、高誘電率溶媒がエチレンカーボネートであり、低粘度溶媒がジメチルカーボネート、ジエチルカーボネート、エチルメチルカーボネートのいずれか一種又はこれらの混合物であり、且つリチウム塩がLiPF6であり、さらにビニレンカーボネートが添加されたものがより好ましい。ビニレンカーボネートを添加することにより、負極表面に被膜が形成される。この被膜形成により、充電時における非水電解質の分解反応が防止される。
更に、高誘電率溶媒と低粘度溶媒との配合比率が体積比で15:85〜7:93であり、LiPF6の濃度が0.15〜0.6モル/リットルであることがより好ましい。
更に、高誘電率溶媒と低粘度溶媒との配合比率が体積比で15:85〜7:93であり、LiPF6の濃度が0.15〜0.6モル/リットルであることがより好ましい。
そして、本実施形態のリチウム二次電池においては、リチウムを対極としたときの前記負極の電位が0.5V以下の電位を放電終止電位とすることが好ましい。この構成により、放電末期に負極からリチウムが完全に脱離することがなく、負極活物質の急激な体積変化が防止される。これにより、ビニレンカーボネートの添加により形成された被膜が割れたり剥がれたりするおそれがなく、被膜を再生するための余計なリチウムを消費せずに済み、充放電容量の劣化を防止できる。
また、このリチウム二次電池においては、リチウム含有複合酸化物に含まれるリチウムに加えて、更にあらかじめ黒鉛にリチウムがドープされている。このリチウム二次電池の初回充電時においては、負極活物質(黒鉛)の表面で非水電解質の還元分解反応が起こり、この反応によりリチウム含有複合酸化物から放出されるリチウムイオンの10〜20%が負極に固定されてしまい、これにより充放電反応に係るリチウムイオン、すなわちリチウム含有複合酸化物の4V放電域のサイトを満たすリチウムイオン量が減少する現象が起きる。また、リチウムマンガン複合酸化物LiMn2-xMxO4には、4V放電域でリチウムが挿入・脱離するサイトと、3V放電域でリチウムのが挿入・脱離するサイトが存在していて、LiMn2-xMxO4に含まれるリチウムは4V放電域のサイトに配置されており、3V放電域のサイトは空いた状態になっている。この様に、正極活物質であるリチウム含有複合酸化物には、リチウムイオンの不在に起因する未活用容量(潜在容量)が相当量存在している。従って、この未活用容量に相当する量のリチウムを予め負極に添加しておくことにより、正極活物質であるリチウム含有複合酸化物の未活用容量を利用することが可能となり、リチウム二次電池のエネルギー密度を高くすることができる。
正極活物質としてマンガン酸リチウム(LiMn2O4)90重量%、導電材として黒鉛を5重量%、結着材としてポリフッ化ビニリデン(PVdF)5重量%を、溶剤のN-メチルピロリドン(NMP)に固形分50%となるように混合してスラリーとした。これを集電体となるアルミ箔に連続的に塗布しながら80℃で乾燥して塗膜を形成した。次いで、集電体上の塗膜をローラープレスで膜密度が2.4g/cm3となるように加圧成形し、正極電極を作製した。次いで、この正極電極を100Pa以下に減圧しながら110℃で9時間加熱乾燥した。
また、負極活物質として黒鉛90重量%と、結着剤とPVdF10重量%を、溶剤のNMPに固形分50%となるように混合しスラリーとした。次いで、これを銅箔に連続的に塗布しながら80℃で乾燥して塗膜を形成した。次いで、銅箔上の塗膜をロールプレスで膜密度が1.4g/cm3となるように加圧成形し、負極電極を作製した。次いで、この負極電極を130℃で、100Pa以下に減圧しながら72時間加熱乾燥した。そして、この負極電極に、金属リチウムを貼り合わせた。金属リチウムの量は、負極活物質である黒鉛に対して0重量%以上40重量%の範囲とした。
次に、正極電極と負極電極の間にセパレータをはさんでリチウムを参照電極とした3電極式電池を製作し、充放電試験を行った。尚、3電極式電池の非水電解液としては、エチレンカーボネート(EC)とジメチルカーボネート(DMC)とエチルメチルカーボネート(EMC)をその混合比EC:DMC:EMCが1:4:5となるように混合し、この混合溶媒にLiPF6を0.5(モル/L)の濃度になるように溶解したものを用いた。さらに、ビニレンカーボネートを0%以上10%以下の範囲で添加した。
次いで、3電極式電池の充放電を25℃で実施し、1サイクル目の放電容量を100%とした場合の100サイクル後の容量維持率を求めた。結果を表1に示す。
次いで、3電極式電池の充放電を25℃で実施し、1サイクル目の放電容量を100%とした場合の100サイクル後の容量維持率を求めた。結果を表1に示す。
尚、充電は、1/3Cの電流を電池電圧が4.15Vに達するまで流し、その後、電流値が設定値の5%以下になる時間まで充電する条件で行った。また放電は、電池の放電終止電圧が3.1Vになるまで1/3Cで放電する条件とした。
表1に示すように、試料2から11は、金属リチウムが添加され、放電終止電位も0.5V以下であり、優れた容量維持率を示すことがわかる。一方、試料1は放電終止電位が0.5Vを越えているため、容量維持率が低下している。また試料12は金属リチウムが無添加であり、更に放電終止電位が0.5Vを越えているため、容量維持率が低下している。試料13はビニレンカーボネートと金属リチウムとがそれぞれ無添加であり、かつ放電終止電位が0.5Vを越えているため、容量維持率が低下している。
以上の結果から、金蔵リチウムを添加した場合の放電終止電位は、0.5V以下が好ましく、更にビニレンカーボネートを添加することがより好ましいことがわかる。
以上の結果から、金蔵リチウムを添加した場合の放電終止電位は、0.5V以下が好ましく、更にビニレンカーボネートを添加することがより好ましいことがわかる。
1 リチウム二次電池
2 正極電極(正極)
3 負極電極(負極)
4 セパレータ
2 正極電極(正極)
3 負極電極(負極)
4 セパレータ
Claims (12)
- リチウム含有複合酸化物を正極活物質として含む正極と、予めリチウムがドープされた黒鉛を負極活物質として含む負極と、非水電解質とを具備してなり、前記負極における放電終止電位が0.5V(対リチウム)以下に設定されていることを特徴とするリチウム二次電池。
- 前記非水電解質に0.1重量%以上のビニレンカーボネートが添加されていることを特徴とする請求項1に記載のリチウム二次電池。
- 前記負極の表面に、金属リチウム箔を配置・接合させることにより、前記黒鉛にリチウムがドープさせたことを特徴とする請求項1に記載のリチウム二次電池。
- 前記リチウム含有複合酸化物が、下記の組成式により表されるリチウムマンガン複合酸化物であり、前記金属リチウム箔の重量をLimとし、前記リチウムマンガン複合酸化物の3V放電域のサイトを満たすリチウムの重量をLi3Vとし、前記負極表面での初回充電時の前記非水電解質の還元反応により消費されるリチウムの重量をLi1cとしたとき、前記金属リチウム箔の重量が、Lim≧Li3V+Li1cの関係を満たすことを特徴とする請
求項3に記載のリチウム二次電池。
LiMn2−xMxO4
ただし、MはTi、V、Cr、Fe、Co、Ni、Al、Ag、Mg、Liのうちの少なくとも1種以上の元素であり、組成比を示すxは、0≦x≦1.0である。 - 前記非水電解質が高誘電率溶媒と低粘度溶媒とリチウム塩との混合物であって、且つ全溶媒に占める高誘電率溶媒の割合が30〜6体積%としてなることを特徴とする請求項1または請求項2に記載のリチウム二次電池。
- 前記非水電解質中のリチウム塩濃度が1モル/リットル未満であることを特徴とする請求項1または請求項5に記載のリチウム二次電池。
- 前記高誘電率溶媒がエチレンカーボネート、プロピレンカーボネート、ブチレンカーボネート、γ-ブチロラクトン、γ-バレロラクトン、アセトニトリル、スルホラン、3-メチルスルホラン、ジメチルスルホキシド、N、N-ジメチルホルムアミド、N-メチルオキサゾリジノン、又はN、N-ジメチルアセトアミドのいずれか1種、または2種以上であることを特徴とする請求項5に記載のリチウム二次電池。
- 前記低粘度溶媒がジメチルカーボネート(DMC)、ジエチルカーボネート(DEC)、エチルメチルカーボネート(EMC)、ジメトキシメタン、1,2ジメトキシエタン、テトラヒドロフラン、2-メチルテトラヒドロフラン、1,3-ジオキソラン、4-メチル-1,3-ジオキソラン、メチルホルメート、メチルアセテート、メチルプロピネートのいずれか1種、または2種以上であることを特徴とする請求項5に記載のリチウム二次電池。
- 前記リチウム塩がLiPF6 、LiBF4 、LiSbF6
、LiAsF6 、LiClO4 、LiCF3SO3、LiC4F9SO3、LiSbF6、LiAlO4、LiAlCl4、LiN(CxF2x+1SO2)(CyF2y+1SO2)(ただしx、yは自然数)、LiCl、LiI等のいずれか一種、または二種以上であることを特徴とする請求項5に記載のリチウム二次電池。 - 前記高誘電率溶媒がエチレンカーボネートであり、前記低粘度溶媒がジメチルカーボネート、ジエチルカーボネート、エチルメチルカーボネートのいずれか一種又はこれらの混合物であり、且つリチウム塩がLiPF6であることを特徴とする請求項5または請求項6に記載のリチウム二次電池。
- 前記高誘電率溶媒と前記低粘度溶媒との配合比率が体積比で15:85〜7:93としてなることを特徴とする請求項5ないし請求項10のいずれかに記載のリチウム二次電池。
- 前記LiPF6の濃度が0.15〜0.6モル/リットルであることを特徴とする請求項10に記載のリチウム二次電池。
Priority Applications (1)
| Application Number | Priority Date | Filing Date | Title |
|---|---|---|---|
| JP2004107291A JP2005294028A (ja) | 2004-03-31 | 2004-03-31 | リチウム二次電池 |
Applications Claiming Priority (1)
| Application Number | Priority Date | Filing Date | Title |
|---|---|---|---|
| JP2004107291A JP2005294028A (ja) | 2004-03-31 | 2004-03-31 | リチウム二次電池 |
Publications (1)
| Publication Number | Publication Date |
|---|---|
| JP2005294028A true JP2005294028A (ja) | 2005-10-20 |
Family
ID=35326732
Family Applications (1)
| Application Number | Title | Priority Date | Filing Date |
|---|---|---|---|
| JP2004107291A Pending JP2005294028A (ja) | 2004-03-31 | 2004-03-31 | リチウム二次電池 |
Country Status (1)
| Country | Link |
|---|---|
| JP (1) | JP2005294028A (ja) |
Cited By (10)
| Publication number | Priority date | Publication date | Assignee | Title |
|---|---|---|---|---|
| JP2008204788A (ja) * | 2007-02-20 | 2008-09-04 | Matsushita Electric Ind Co Ltd | 非水電解質二次電池 |
| JP2009170384A (ja) * | 2008-01-21 | 2009-07-30 | Nec Tokin Corp | リチウム二次電池 |
| JP2009545129A (ja) * | 2006-07-28 | 2009-12-17 | エルジー・ケム・リミテッド | 共融混合物を用いた二次電池及びその製造方法 |
| US8421418B2 (en) | 2008-09-25 | 2013-04-16 | Hitachi, Ltd. | Charging/discharging control unit for lithium secondary battery |
| JP2013125824A (ja) * | 2011-12-14 | 2013-06-24 | Jm Energy Corp | 蓄電デバイス |
| JP2014532285A (ja) * | 2011-12-26 | 2014-12-04 | ▲ホア▼▲ウェイ▼技術有限公司 | 非水性有機電解液、それを含むリチウムイオン2次電池、リチウムイオン2次電池の作製方法、および端末通信デバイス |
| CN109923693A (zh) * | 2016-08-31 | 2019-06-21 | 威廉马歇莱思大学 | 用于电池的阳极、阴极和隔膜、以及其制造方法和用途 |
| CN113597688A (zh) * | 2019-03-29 | 2021-11-02 | 株式会社村田制作所 | 固体电池 |
| WO2022163038A1 (ja) * | 2021-01-26 | 2022-08-04 | パナソニックIpマネジメント株式会社 | 電池 |
| US11984576B1 (en) | 2019-10-01 | 2024-05-14 | William Marsh Rice University | Alkali-metal anode with alloy coating applied by friction |
Citations (9)
| Publication number | Priority date | Publication date | Assignee | Title |
|---|---|---|---|---|
| JPH04115458A (ja) * | 1990-09-04 | 1992-04-16 | Bridgestone Corp | 非水電解質二次電池の製造方法 |
| JPH04206276A (ja) * | 1990-11-29 | 1992-07-28 | Sanyo Electric Co Ltd | 非水電解液二次電池 |
| JPH05144472A (ja) * | 1991-11-25 | 1993-06-11 | Matsushita Electric Ind Co Ltd | 非水電解液二次電池 |
| JPH08102333A (ja) * | 1994-09-30 | 1996-04-16 | Shin Kobe Electric Mach Co Ltd | 非水電解液二次電池 |
| JP2002075458A (ja) * | 2000-09-04 | 2002-03-15 | Matsushita Electric Ind Co Ltd | 非水電解質電池 |
| JP2003059531A (ja) * | 2001-08-22 | 2003-02-28 | Mitsubishi Heavy Ind Ltd | 非水電解質二次電池 |
| JP2003123740A (ja) * | 2001-10-18 | 2003-04-25 | Nec Corp | 二次電池用負極およびそれを用いた二次電池 |
| JP2003297419A (ja) * | 2002-04-05 | 2003-10-17 | Sony Corp | 非水電解質電池の製造方法 |
| JP2004014459A (ja) * | 2002-06-11 | 2004-01-15 | Nec Corp | 二次電池用電解液およびそれを用いた二次電池 |
-
2004
- 2004-03-31 JP JP2004107291A patent/JP2005294028A/ja active Pending
Patent Citations (9)
| Publication number | Priority date | Publication date | Assignee | Title |
|---|---|---|---|---|
| JPH04115458A (ja) * | 1990-09-04 | 1992-04-16 | Bridgestone Corp | 非水電解質二次電池の製造方法 |
| JPH04206276A (ja) * | 1990-11-29 | 1992-07-28 | Sanyo Electric Co Ltd | 非水電解液二次電池 |
| JPH05144472A (ja) * | 1991-11-25 | 1993-06-11 | Matsushita Electric Ind Co Ltd | 非水電解液二次電池 |
| JPH08102333A (ja) * | 1994-09-30 | 1996-04-16 | Shin Kobe Electric Mach Co Ltd | 非水電解液二次電池 |
| JP2002075458A (ja) * | 2000-09-04 | 2002-03-15 | Matsushita Electric Ind Co Ltd | 非水電解質電池 |
| JP2003059531A (ja) * | 2001-08-22 | 2003-02-28 | Mitsubishi Heavy Ind Ltd | 非水電解質二次電池 |
| JP2003123740A (ja) * | 2001-10-18 | 2003-04-25 | Nec Corp | 二次電池用負極およびそれを用いた二次電池 |
| JP2003297419A (ja) * | 2002-04-05 | 2003-10-17 | Sony Corp | 非水電解質電池の製造方法 |
| JP2004014459A (ja) * | 2002-06-11 | 2004-01-15 | Nec Corp | 二次電池用電解液およびそれを用いた二次電池 |
Cited By (15)
| Publication number | Priority date | Publication date | Assignee | Title |
|---|---|---|---|---|
| JP2009545129A (ja) * | 2006-07-28 | 2009-12-17 | エルジー・ケム・リミテッド | 共融混合物を用いた二次電池及びその製造方法 |
| JP2008204788A (ja) * | 2007-02-20 | 2008-09-04 | Matsushita Electric Ind Co Ltd | 非水電解質二次電池 |
| US8399127B2 (en) | 2007-02-20 | 2013-03-19 | Panasonic Corporation | Nonaqueous electrolyte secondary battery |
| JP2009170384A (ja) * | 2008-01-21 | 2009-07-30 | Nec Tokin Corp | リチウム二次電池 |
| US8421418B2 (en) | 2008-09-25 | 2013-04-16 | Hitachi, Ltd. | Charging/discharging control unit for lithium secondary battery |
| JP2013125824A (ja) * | 2011-12-14 | 2013-06-24 | Jm Energy Corp | 蓄電デバイス |
| JP2014532285A (ja) * | 2011-12-26 | 2014-12-04 | ▲ホア▼▲ウェイ▼技術有限公司 | 非水性有機電解液、それを含むリチウムイオン2次電池、リチウムイオン2次電池の作製方法、および端末通信デバイス |
| CN109923693A (zh) * | 2016-08-31 | 2019-06-21 | 威廉马歇莱思大学 | 用于电池的阳极、阴极和隔膜、以及其制造方法和用途 |
| US12087933B2 (en) | 2016-08-31 | 2024-09-10 | William Marsh Rice University | Anodes, cathodes, and separators for batteries and methods to make and use same |
| CN113597688A (zh) * | 2019-03-29 | 2021-11-02 | 株式会社村田制作所 | 固体电池 |
| US11984576B1 (en) | 2019-10-01 | 2024-05-14 | William Marsh Rice University | Alkali-metal anode with alloy coating applied by friction |
| WO2022163038A1 (ja) * | 2021-01-26 | 2022-08-04 | パナソニックIpマネジメント株式会社 | 電池 |
| JPWO2022163038A1 (ja) * | 2021-01-26 | 2022-08-04 | ||
| EP4287318A4 (en) * | 2021-01-26 | 2025-07-09 | Panasonic Ip Man Co Ltd | BATTERY |
| JP7766248B2 (ja) | 2021-01-26 | 2025-11-10 | パナソニックIpマネジメント株式会社 | 電池 |
Similar Documents
| Publication | Publication Date | Title |
|---|---|---|
| JP3797197B2 (ja) | 非水電解質二次電池 | |
| JP4884774B2 (ja) | 電気化学電池用の電極の製造方法 | |
| US20180248220A1 (en) | Nonaqueous electrolyte secondary batteries | |
| US20050186474A1 (en) | Positive electrodes for lithium batteries and their methods of fabrication | |
| US20090169992A1 (en) | Lithium Secondary Battery Using Ionic Liquid | |
| US10044072B2 (en) | Lithium secondary battery pack, as well as electronic device, charging system, and charging method using said pack | |
| JP2009048981A (ja) | 非水電解液二次電池 | |
| KR20020002200A (ko) | 비수 전해질 2차 전지를 충전하기 위한 충전 방법 | |
| JPH11339850A (ja) | リチウムイオン二次電池 | |
| US10096829B2 (en) | Nonaqueous electrolyte secondary batteries | |
| JP2008098055A (ja) | 電池 | |
| WO2013038939A1 (ja) | リチウム二次電池パック、並びにそれを用いた電子機器、充電システム及び充電方法 | |
| KR20180041602A (ko) | 리튬 이차전지용 전해액 및 이를 포함하는 리튬 이차전지 | |
| US20150325879A1 (en) | Lithium secondary battery | |
| JP2009026542A (ja) | リチウム二次電池 | |
| JP2011192561A (ja) | 非水電解液二次電池の製造方法 | |
| JP2010186689A (ja) | 非水電解液二次電池 | |
| JP4798951B2 (ja) | 非水電解質電池用正極及びこの正極を用いた電池 | |
| JP5205863B2 (ja) | 非水電解液二次電池 | |
| JPH087926A (ja) | 非水電解液二次電池 | |
| JP2008097879A (ja) | リチウムイオン二次電池 | |
| JP2005294028A (ja) | リチウム二次電池 | |
| KR20190012364A (ko) | 비수전해액용 첨가제, 이를 포함하는 리튬 이차전지용 비수전해액 및 리튬 이차전지 | |
| JP2009277432A (ja) | 二次電池用電極及びその製造方法並びに二次電池 | |
| JP5504853B2 (ja) | リチウム二次電池の使用方法 |
Legal Events
| Date | Code | Title | Description |
|---|---|---|---|
| A621 | Written request for application examination |
Free format text: JAPANESE INTERMEDIATE CODE: A621 Effective date: 20060330 |
|
| A977 | Report on retrieval |
Free format text: JAPANESE INTERMEDIATE CODE: A971007 Effective date: 20090126 |
|
| A131 | Notification of reasons for refusal |
Free format text: JAPANESE INTERMEDIATE CODE: A131 Effective date: 20091215 |
|
| A02 | Decision of refusal |
Free format text: JAPANESE INTERMEDIATE CODE: A02 Effective date: 20100427 |
