JP2005294025A - プレスフィットコネクタ及びその装着方法及び装着用治具 - Google Patents
プレスフィットコネクタ及びその装着方法及び装着用治具 Download PDFInfo
- Publication number
- JP2005294025A JP2005294025A JP2004107223A JP2004107223A JP2005294025A JP 2005294025 A JP2005294025 A JP 2005294025A JP 2004107223 A JP2004107223 A JP 2004107223A JP 2004107223 A JP2004107223 A JP 2004107223A JP 2005294025 A JP2005294025 A JP 2005294025A
- Authority
- JP
- Japan
- Prior art keywords
- press
- connector
- fit
- fitting
- pin
- Prior art date
- Legal status (The legal status is an assumption and is not a legal conclusion. Google has not performed a legal analysis and makes no representation as to the accuracy of the status listed.)
- Pending
Links
- 238000000034 method Methods 0.000 title claims abstract description 18
- 238000003825 pressing Methods 0.000 claims description 34
- 230000001105 regulatory effect Effects 0.000 claims description 29
- 238000006073 displacement reaction Methods 0.000 claims description 19
- 238000003754 machining Methods 0.000 claims description 10
- 238000005452 bending Methods 0.000 claims description 7
- 230000001154 acute effect Effects 0.000 claims description 5
- 230000003746 surface roughness Effects 0.000 claims description 5
- 238000004381 surface treatment Methods 0.000 claims description 5
- 238000010438 heat treatment Methods 0.000 claims description 3
- 239000000463 material Substances 0.000 description 21
- 238000004519 manufacturing process Methods 0.000 description 7
- 239000002184 metal Substances 0.000 description 4
- 238000005476 soldering Methods 0.000 description 3
- 230000000694 effects Effects 0.000 description 2
- 238000005304 joining Methods 0.000 description 2
- 238000010030 laminating Methods 0.000 description 2
- 238000002347 injection Methods 0.000 description 1
- 239000007924 injection Substances 0.000 description 1
- 230000001788 irregular Effects 0.000 description 1
- 239000007769 metal material Substances 0.000 description 1
- 230000004048 modification Effects 0.000 description 1
- 238000012986 modification Methods 0.000 description 1
- 238000003672 processing method Methods 0.000 description 1
- 230000003068 static effect Effects 0.000 description 1
- 239000000758 substrate Substances 0.000 description 1
Images
Landscapes
- Manufacturing Of Electrical Connectors (AREA)
- Multi-Conductor Connections (AREA)
- Coupling Device And Connection With Printed Circuit (AREA)
Abstract
【課題】たとえピン間隔が相違しているような場合であれ、それらすべてのピンをプリント基板に対して真直ぐに装着することのできるプレスフィットコネクタ、及びそのプリント基板への装着方法、及び同装置に用いられる装着用治具を提供する。
【解決手段】信号ピン22の圧入用張り出し部22aに、該圧入用張り出し部22aを装着用治具50によって押圧する際の押圧方向に対して傾斜角度αをなす傾斜面22cを設けて、プレスフィットコネクタを形成する。そして、この傾斜面22cによって、上記圧入用張り出し部22aの片方のみ押圧される場合であっても、信号ピン22が傾く(偏倚する)ことの規制を図る。
【選択図】 図1
【解決手段】信号ピン22の圧入用張り出し部22aに、該圧入用張り出し部22aを装着用治具50によって押圧する際の押圧方向に対して傾斜角度αをなす傾斜面22cを設けて、プレスフィットコネクタを形成する。そして、この傾斜面22cによって、上記圧入用張り出し部22aの片方のみ押圧される場合であっても、信号ピン22が傾く(偏倚する)ことの規制を図る。
【選択図】 図1
Description
本発明は、プリント基板に設けられた複数の端子電極とワイヤリング等との接合に用いられるプレスフィットコネクタ、及び同コネクタのプリント基板への装着方法、並びにその装着に用いられる装着用治具に関する。
例えば車載電子制御ユニット(ECU)等にあって、各種電子部品が搭載されるプリント基板とワイヤリング等との接合には、いわゆるライトアングルタイプのコネクタが用いられることが多い。この種のコネクタは一般に、コネクタピンをプリント基板のスルーホールに挿入した状態でフローはんだ付けを施すことにより、プリント基板に設けられている複数の端子電極とそれらコネクタピンとの電気的な接続を図るようにしている。
ただし、このようなはんだ付けによりコネクタピンと基板の端子電極とを接続する場合、その接続作業にかかる工数が無視できず、製造コストの増大も避けられない。そこで近年は、コネクタピンと基板の端子電極との接続に、例えば特許文献1に記載されているようなコネクタを応用したプレスフィットコネクタの採用が検討されている。上記ライトアングルタイプのコネクタにこのようなプレスフィットコネクタを採用することにより、上記はんだ付け等も不要となり、製造コストの低減が期待できるようになる。
特開平9−50871号公報
ところで、従来のライトアングルタイプのコネクタは通常、複数のパワーピンと信号ピンとを備えている。しかも、これらパワーピンと信号ピンとでは、各々そのピン間隔(ピッチ)も異なっている。
例えば一例として、図13に示すライトアングルタイプのプレスフィットコネクタでは、コネクタハウジング30から延出されるとともに、途中で直角に折り曲げられてプリント基板40のスルーホール41に装着される合計4段のピンを有している。そのうち、最上段の一列がパワーピン21であり、その下の3段はすべて信号ピン22となっている。そして、パワーピン21の横方向のピン間隔は約「3.2mm」であるのに対して、信号ピン22のピン間隔は約「2.2mm」となっている。なお、これらパワーピン21及び信号ピン22は共に、幅が約「0.64mm」の角状の導電性金属材料にて形成されている。
また、図14(a)〜(c)に三面図を示すように、このようなライトアングルタイプのプレスフィットコネクタには通常、パワーピン21及び信号ピン22の各々に、圧入用張り出し部21a及び22aとプレスフィット部21b及び22bとが設けられている。そして、同コネクタをプリント基板に接合する際には、櫛歯状の装着用治具を使用して上記圧入用張り出し部21a及び22aを押圧することにより上記プレスフィット部21b及び22bをプリント基板40のスルーホール41に圧入し、これによってその電気的及び機械的な接続を図ることになる。
しかし、上記のようなピン配列を採用するライトアングルタイプのプレスフィットコネクタでは、同コネクタをプリント基板40に装着する際に次のような不都合を生じることともなる。すなわち、同コネクタの平面図である図14(a)を図15に拡大して示すように、パワーピン21と信号ピン22との上述したピン間隔の相違により、パワーピン21が信号ピン22の圧入用張り出し部22aの一部を遮る(覆う)箇所が存在してしまう。したがって、このような箇所においては、この信号ピン22の圧入用張り出し部22aを上記櫛歯状の装着用治具で押圧する際に、圧入用張り出し部22aの片側のみが同治具によって押される、いわゆる片押し状態となる。このため図16に示すように、信号ピン22の圧入用張り出し部22aに対して上方から押圧荷重を印加すると、信号ピン22には、回転するように働くモーメントMが作用し、信号ピン22が傾いてしまう。そして結局は、信号ピン22の先端が横にずれ、プリント基板40のスルーホール41に対して真直ぐに装着することができなくなる。
本発明は、上記実情に鑑みてなされたものであり、たとえピン間隔が相違しているような場合であれ、それらすべてのピンをプリント基板に対して真直ぐに装着することのできるプレスフィットコネクタ、及びそのプリント基板への装着方法、及び同装置に用いられる装着用治具を提供することを目的とする。
こうした目的を達成するため、請求項1に記載のプレスフィットコネクタでは、コネクタハウジングから延出されて且つ、途中で直角に折り曲げられたライトアングルタイプのコネクタピンを備え、前記コネクタピンの先端部には、プリント基板のスルーホールに圧入されるプレスフィット部とこのプレスフィット部の前記スルーホールへの圧入を補助すべく前記コネクタピンが部分的に拡幅される態様で張り出された圧入用張り出し部とがそれぞれ設けられてなるプレスフィットコネクタとして、前記圧入用張り出し部に、当該圧入用張り出し部の押圧に際して前記コネクタピンの押圧方向以外への偏倚を規制する偏倚規制部を設けるようにした。
このような構造によれば、前述のようにピン間隔が異なるなどに起因して、上記圧入用張り出し部の片押しが余儀なくされる場合であれ、上記偏倚規制部によってそれらコネクタピンの横ずれ等、押圧方向以外への偏倚が規制されるようになるため、同コネクタピンをプリント基板に対して真直ぐに装着することができるようになる。
また、請求項1に記載のプレスフィットコネクタにおいては、例えば請求項2に記載の発明によるように、前記偏倚規制部が、前記押圧方向に対して鋭角となる傾斜面を有する切り欠き部からなるもの、とすることが、その実現も容易であり、しかも、圧入用張り出し部に設けられた上記傾斜面と同圧入用張り出し部上方のコネクタピン側面とによる規制を通じて、上述したコネクタピンの横ずれ等、押圧方向以外への偏倚が好適に規制されるようになる。
また、偏倚規制部としてこのような傾斜面を設ける場合には、さらに請求項3に記載の発明のように、前記押圧方向に対して鋭角となる傾斜面の角度が、前記圧入用張り出し部の一方への押圧によって前記コネクタピンに生じる横方向へのモーメントを打ち消し得る角度に設定されてなるもの、とすることで、その偏倚規制効率もさらに高められるようになる。
また、請求項1に記載のプレスフィットコネクタにおいては、例えば請求項4に記載の発明によるように、前記偏倚規制部が、前記圧入用張り出し部の前記コネクタピンとの付根部分に設けられて同圧入用張り出し部を押圧する治具の一部と係合される凹部からなるもの、として実現することもできる。偏倚規制部としてのこのような構造は、上記請求項2に記載の発明の構造にも通ずるが、この場合も、同偏倚規制部としての凹部と治具との係合を通じて、上述したコネクタピンの横ずれ等、押圧方向以外への偏倚が好適に規制されるようになる。
同様に、請求項1に記載のプレスフィットコネクタにおいては、例えば請求項5に記載の発明によるように、前記偏倚規制部が、前記圧入用張り出し部の端部に設けられて同圧入用張り出し部を押圧する治具の一部と係合される突起部からなるもの、としてこれを実現することも有効である。この場合も、偏倚規制部としての突起部と治具との係合を通じて、上述したコネクタピンの横ずれ等、押圧方向以外への偏倚が好適に規制されるようになる。
また、こうした突起部についてはこれを、例えば請求項6に記載の発明のように、
・前記圧入用張り出し部の端部上方に設けられてなるもの。
あるいは、請求項7に記載の発明のように、
・前記圧入用張り出し部の端部の前記コネクタハウジングから見て前方及び後方の少なくとも一方に設けられてなるもの。
そして、これらの構造において、さらには請求項8に記載の発明のように、
・前記圧入用張り出し部の端部を折り曲げ加工して形成されてなるもの。
等々、の態様での実現が可能である。これらいずれの場合であれ、それら偏倚規制部としての突起部と治具との係合を通じて、上述したコネクタピンの横ずれ等、押圧方向以外への偏倚を好適に規制することができる。また、特に請求項8に記載の発明のように、折り曲げ加工によって上記突起部を形成する場合、その曲げ代をコネクタピンと平行な方向に設けることが、例えば板金からプレスによる打ち抜き等によってコネクタピンを得る場合の材料取り数を稼ぐ上で有効である。すなわちこの場合、1枚の板金からより多くのコネクタピンを得ることができるようになる。
・前記圧入用張り出し部の端部上方に設けられてなるもの。
あるいは、請求項7に記載の発明のように、
・前記圧入用張り出し部の端部の前記コネクタハウジングから見て前方及び後方の少なくとも一方に設けられてなるもの。
そして、これらの構造において、さらには請求項8に記載の発明のように、
・前記圧入用張り出し部の端部を折り曲げ加工して形成されてなるもの。
等々、の態様での実現が可能である。これらいずれの場合であれ、それら偏倚規制部としての突起部と治具との係合を通じて、上述したコネクタピンの横ずれ等、押圧方向以外への偏倚を好適に規制することができる。また、特に請求項8に記載の発明のように、折り曲げ加工によって上記突起部を形成する場合、その曲げ代をコネクタピンと平行な方向に設けることが、例えば板金からプレスによる打ち抜き等によってコネクタピンを得る場合の材料取り数を稼ぐ上で有効である。すなわちこの場合、1枚の板金からより多くのコネクタピンを得ることができるようになる。
また、請求項1に記載のプレスフィットコネクタにおいては、請求項9に記載の発明のように、前記偏倚規制部が、前記圧入用張り出し部を押圧する治具と当接される同圧入用張り出し部上面の面粗度の大きい部分からなるもの、としてこれを実現することも可能である。この場合には、上記圧入用張り出し部と治具との静止摩擦によって、コネクタピンの横ずれ等、押圧方向以外への偏倚が規制されるようになる。
また、これら請求項1〜9のいずれか一項に記載のプレスフィットコネクタにあっては、請求項10に記載の発明によるように、前記偏倚規制部を有する圧入用張り出し部が、前記コネクタピンの一側面にのみ設けられてなる、といった構造も有効である。上記偏倚規制部が、いわゆる片押しに対してそれらコネクタピンの偏倚を規制するものである以上、理論的には、このような構造で必要十分であることになる。
一方、請求項11に記載のプレスフィットコネクタの装着方法では、コネクタハウジングから延出されて且つ、途中で直角に折り曲げられたライトアングルタイプの複数のコネクタピンを備え、それら各コネクタピンの先端部には、プリント基板のスルーホールに圧入されるプレスフィット部とこのプレスフィット部の前記スルーホールへの圧入を補助すべく前記コネクタピンが部分的に拡幅される態様で張り出された圧入用張り出し部とがそれぞれ設けられてなるプレスフィットコネクタを櫛歯状の治具を用いて前記プリント基板に装着する方法として、前記コネクタピンの各圧入用張り出し部には、当該圧入用張り出し部の前記治具による押圧に際して前記コネクタピンの押圧方向以外への偏倚を規制する偏倚規制部を設けておき、前記治具には、前記圧入用張り出し部の押圧時に前記偏倚規制部と係合される係合部を設けておき、それら偏倚規制部と係合部とが係合された状態で前記圧入用張り出し部を前記治具で押圧して前記プレスフィットコネクタを前記プリント基板に装着することとする。
上記請求項1〜10のいずれか一項に記載の構造を有するプレスフィットコネクタに対しては、それぞれ上記偏倚規制部の形状に係合する形状を有する係合部を備える治具を用い、該治具によって上記圧入用張り出し部を押圧するようにすることで、同プレスフィットコネクタの前記プリント基板に対する装着を適正に、しかも確実に行うことができるようになる。
また一方、請求項12に記載のプレスフィットコネクタの装着用治具では、コネクタハウジングから延出されて且つ、途中で直角に折り曲げられたライトアングルタイプの複数のコネクタピンを備え、それら各コネクタピンの先端部には、プリント基板のスルーホールに圧入されるプレスフィット部とこのプレスフィット部の前記スルーホールへの圧入を補助すべく前記コネクタピンが部分的に拡幅される態様で張り出された圧入用張り出し部とがそれぞれ設けられてなるとともに、それら圧入用張り出し部には、同圧入用張り出し部の押圧に際して前記コネクタピンの押圧方向以外への偏倚を規制する偏倚規制部が設けられてなるプレスフィットコネクタの前記圧入用張り出し部を押圧して、前記プレスフィットコネクタを前記プリント基板に装着するプレスフィットコネクタの装着用治具として、前記各コネクタピンが挿入される櫛歯状の形状を有してなり、それらコネクタピンの前記圧入用張り出し部と当接される部分には、同圧入用張り出し部の前記偏倚規制部と係合される係合部を備えてなるもの、としてこれを形成する。
装着用治具としてのこのような構造によって、上記請求項11に記載の装着方法も的確に実現されるようになる。
また、このような装着用治具としてはこれを、特に請求項13に記載の発明のように、前記櫛歯状の形状及び前記係合部の形状を分割する態様で複数枚の板材が積層されてなる構造とすることで、その実現、並びに製造も極めて容易となる。
また、このような装着用治具としてはこれを、特に請求項13に記載の発明のように、前記櫛歯状の形状及び前記係合部の形状を分割する態様で複数枚の板材が積層されてなる構造とすることで、その実現、並びに製造も極めて容易となる。
また、この請求項13に記載の装着用治具に関しては、さらに請求項14に記載の発明のように、前記複数枚の板材の各々が、放電加工によって前記櫛歯状の形状及び前記係合部の形状に対応する加工がなされてなるもの、とすることで、同装着用治具をより精密に製造することも可能となる。
そして、このような請求項14に記載の装着用治具に関して、請求項15に記載の発明のように、前記櫛歯状の形状及び前記係合部の形状に対応する加工がなされた前記複数枚の板材の各々はさらに、表面処理並びに熱処理が施されてなるもの、とすれば、当該治具として特に摩耗しやすい部分の強度を的確に高めることができるようにもなる。
(第1の実施の形態)
以下、本発明に係るプレスフィットコネクタ及びその装着方法及び装着用治具を具体化した第1の実施の形態について、図1〜図8に基づき説明する。なお、この実施の形態のプレスフィットコネクタも、コネクタ全体としての構造は、先の図14に例示した構造に準じたものを想定している。
以下、本発明に係るプレスフィットコネクタ及びその装着方法及び装着用治具を具体化した第1の実施の形態について、図1〜図8に基づき説明する。なお、この実施の形態のプレスフィットコネクタも、コネクタ全体としての構造は、先の図14に例示した構造に準じたものを想定している。
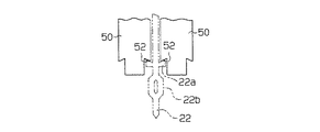
図1(a)は、本実施の形態にかかるプレスフィットコネクタの信号ピンの正面構造を、また図1(b)は、特にその圧入用張り出し部についてこれを拡大した構造をそれぞれ示したものである。
図1(a)に示すように、プレスフィットコネクタの信号ピン22の下部はプレスフィット部22bが形成されており、このプレスフィット部22bの上方には、同ピン22に対して対称となる態様で拡幅された圧入用張り出し部22aが形成されている。そして、この圧入用張り出し部22aを櫛歯状の装着用治具50を用いて押圧することによって、信号ピン22のプレスフィット部22bが図示しないプリント基板のスルーホールに嵌入、装着される。
ここで、信号ピン22の圧入用張り出し部22aの上方には、パワーピン21が存在しており、このパワーピン21が上記信号ピン22の圧入用張り出し部22aの片方を遮る構造となっている。このため、櫛歯状の装着用治具50を用いて信号ピン22をプリント基板に装着するとき、この櫛歯状の装着用治具50が圧入用張り出し部22aの片方(図中右側の圧入用張り出し部)しか押圧できないこととなり、いわゆる片押し状態となる。
そして前述のように、信号ピン22の圧入用張り出し部22aの片方のみが櫛歯状の装着用治具50によって押圧される場合には通常、信号ピン22の先端に横ずれ偏倚が生じて、同ピン22をプリント基板に対して真直ぐに挿入することができなくなる。
そこで、本実施の形態では、信号ピン22の上記張り出し部22aに、偏倚規制部として該信号ピン22の押圧方向に対して鋭角(傾斜角度α)となる傾斜面22cを有する切り欠き部を形成するようにしている。また、櫛歯状の装着用治具50の上記傾斜面22cと当接される部分にも、該傾斜面22cと係合する係合部52を併せて形成するようにしている。
このため、図1(b)に示すように、櫛歯状の装着用治具50によって信号ピン22の圧入用張り出し部22aが片押しされる場合は、押圧力fの横方向の分力fcが生じるようになる。そして、この分力fcによって信号ピン22は上記傾斜面22cに沿って横にずれようとするが、このとき信号ピン22の側面は櫛歯状の装着用治具50に当接されて、その傾きが規制されるようになる。
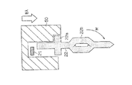
次に、櫛歯状の装着用治具50を用いてプレスフィットコネクタをプリント基板等に装着する際の装着方法について、図2〜図4に基づき説明する。
図2は、櫛歯状の装着用治具50及びプレスフィットコネクタの斜視構造を示す斜視図である。同図2に示すように、この櫛歯状の装着用治具50は、プレスフィットコネクタのパワーピン21と信号ピン22との配置及び各々のピンの圧入用張り出し部21aまたは22aの形状に合わせて、溝部51と係合部52とが形成されている。そして、同図2に矢印にて示すように、この櫛歯状の装着用治具50を180度回転させて、上記溝部51がプレスフィットコネクタの各ピンに向くように配置する。
図2は、櫛歯状の装着用治具50及びプレスフィットコネクタの斜視構造を示す斜視図である。同図2に示すように、この櫛歯状の装着用治具50は、プレスフィットコネクタのパワーピン21と信号ピン22との配置及び各々のピンの圧入用張り出し部21aまたは22aの形状に合わせて、溝部51と係合部52とが形成されている。そして、同図2に矢印にて示すように、この櫛歯状の装着用治具50を180度回転させて、上記溝部51がプレスフィットコネクタの各ピンに向くように配置する。
また、図3(a)及び(b)は、櫛歯状の装着用治具50とプレスフィットコネクタとを組み付けた状態での正面構造、及びB−B'線に沿った断面構造をそれぞれ示したものである。この状態で、プレスフィットコネクタの各々のピンに形成されている張り出し部21a及び22aが櫛歯状の装着用治具50の係合部52によって押圧される状態となっている。またこのとき、プレスフィットコネクタの各ピンがその先端がプリント基板のスルーホールの位置に合わせて整列される。
そして、図4(a)及び(b)は、櫛歯状の装着用治具50を用いてプレスフィットコネクタをプリント基板40に装着した状態での正面構造、及びB−B'線に沿った断面構造をそれぞれ示したものである。ここで、まずプレスフィットコネクタの各ピンの先端を数mm程度、プリント基板40のスルーホール41に仮挿入して、その後各コネクタピンの圧入用張り出し部21a及び22aに対して押圧荷重をかけることにより、それらコネクタピンをプリント基板40に挿入する。これによって、プレスフィットコネクタの各コネクタピンとプリント基板40にスルーホール41として設けられた各端子電極との電気的、機械的な接続が実現される。
このように、櫛歯状の装着用治具50には、プレスフィットコネクタの各ピンの位置に合わせて溝部51が形成され、また各ピンの張り出し部21a及び22aの形状に合わせて係合部52が形成されている。以下、この櫛歯状の装着用治具50の構造及びその製造方法等についてさらに詳細に説明する。
図5は、本実施の形態において使用される櫛歯状の装着用治具の組立構造を示す斜視図である。
同図5に示すように、櫛歯状の装着用治具50は、この例においては9枚の金属製板材(プレート)P1〜P9を積層して形成されている。これら9枚の板材P1〜P9は、それぞれプレスフィットコネクタのピンの配置及び圧入用張り出し部21a及び22aの形状に合わせて、放電加工などによって所望の形状に加工されている。このうち、最外側(図示手前側)から2枚目の板材P2は、プレスフィットコネクタのパワーピン21に対応するもので、この板材P2によってパワーピン21が押圧される。同様に、板材P4、P6、P8は、それぞれプレスフィットコネクタの3列の信号ピン22に対応するものである。また、その他の板材P1、P3、P5、P7及びP9は、プレスフィットコネクタのピンの前後方向のずれを防ぐために設けられるものである。
同図5に示すように、櫛歯状の装着用治具50は、この例においては9枚の金属製板材(プレート)P1〜P9を積層して形成されている。これら9枚の板材P1〜P9は、それぞれプレスフィットコネクタのピンの配置及び圧入用張り出し部21a及び22aの形状に合わせて、放電加工などによって所望の形状に加工されている。このうち、最外側(図示手前側)から2枚目の板材P2は、プレスフィットコネクタのパワーピン21に対応するもので、この板材P2によってパワーピン21が押圧される。同様に、板材P4、P6、P8は、それぞれプレスフィットコネクタの3列の信号ピン22に対応するものである。また、その他の板材P1、P3、P5、P7及びP9は、プレスフィットコネクタのピンの前後方向のずれを防ぐために設けられるものである。
これら板材P1〜P9の各々の形状を図6(a)〜(e)に示す。
まず、図6(a)に示すように、最外側(図示手前側)の板材P1は、特にピンを通したり押圧したりしないため、溝部も係合部も形成されていない。また、図6(b)に示す板材P2は、プレスフィットコネクタのパワーピン21を押圧するもので、各溝部51の両側に規則的に係合部52が形成されている。一方、上述したように、プレスフィットコネクタの信号ピン22は、パワーピン21に遮られる部分があるため、これら信号ピン22に対応する板材P4、P6及びP8の溝部51及び係合部52は、図6(d)に示すように実際のピンの配置に合わせて、不規則的な形状となっている。また、図6(c)に示す板材P3は、パワーピン21を通すために、規則的な溝部51を有して形成されている。これに対して、図6(e)に示す板材P5、P7及びP9も溝部51のみが形成されているが、これらの溝部51は、それぞれ上記板材P4、P6及びP8の形状に合わせた形状となっている。なお、上記板材P4、P6、P8に形成された係合部52の詳細な構造は、例えば図6(d)のB部分を例として、その拡大図を図7に示す。
まず、図6(a)に示すように、最外側(図示手前側)の板材P1は、特にピンを通したり押圧したりしないため、溝部も係合部も形成されていない。また、図6(b)に示す板材P2は、プレスフィットコネクタのパワーピン21を押圧するもので、各溝部51の両側に規則的に係合部52が形成されている。一方、上述したように、プレスフィットコネクタの信号ピン22は、パワーピン21に遮られる部分があるため、これら信号ピン22に対応する板材P4、P6及びP8の溝部51及び係合部52は、図6(d)に示すように実際のピンの配置に合わせて、不規則的な形状となっている。また、図6(c)に示す板材P3は、パワーピン21を通すために、規則的な溝部51を有して形成されている。これに対して、図6(e)に示す板材P5、P7及びP9も溝部51のみが形成されているが、これらの溝部51は、それぞれ上記板材P4、P6及びP8の形状に合わせた形状となっている。なお、上記板材P4、P6、P8に形成された係合部52の詳細な構造は、例えば図6(d)のB部分を例として、その拡大図を図7に示す。
本実施の形態ではこのように、9枚の板材P1〜P9の積層構造として櫛歯状の装着用治具50を構成している。次にこの櫛歯状の装着用治具50の具体的な製造方法について、図8を参照して説明する。
同図8に示すように、まず9枚の板材P1〜P9を準備し、それから各板材に対してワイヤ放電加工によって所望の形状に加工する。このように、櫛歯状の装着用治具50全体としての複雑な形状が個々の比較的簡単な形状に分割されるため、この櫛歯状の装着用治具50の製造がより簡易なものとり、複雑なピン配置に対応する複雑な治具形状の場合も容易に製作することが可能となる。また、この放電加工により、精密な加工が実現されるようになる。
次に、櫛歯状の装着用治具50を構成する板材P1〜P9の各々に対して、表面処理及び熱処理を施す。これによって、耐磨耗性や強度、硬度などの治具として望ましい特性を必要に応じて得ることができるようになる。また、本実施の形態では、ピンと当たる部分については、その表面の面粗度が他の部分よりも大きくなるように表面処理を施している。これにより、ピンと櫛歯状の装着用治具50とが当たるときに、摩擦力が増大するため、ピンの傾きを規制する効果が一層高められるようになる。
そして最後の工程として、上記加工、表面処理及び熱処理された各板材P1〜P9を積層して組み立てることによって、櫛歯状の装着用治具50が製造される。
以上説明したように、本実施の形態によれば、以下のような効果が得られるようになる。
以上説明したように、本実施の形態によれば、以下のような効果が得られるようになる。
(1)プレスフィットコネクタの信号ピン22の圧入用張り出し部22aに、この信号ピン22の傾きを規制する傾斜面22cを設けることとした。これによって、信号ピン22が傾こうとするときに、該信号ピン22は櫛歯状の装着用治具50に当たり、これにより、その傾きが規制されるようになる。
(2)信号ピン22の圧入用張り出し部22aに形成された傾斜面22cと係合する係合部52有する櫛歯状の装着用治具50を用いて、プレスフィットコネクタをプリント基板等に装着することで、プレスフィットコネクタを容易に装着することができるようになる。
(3)また、上記プレスフィットコネクタ装着用の櫛歯状の装着用治具50は、9枚の板材P1〜P9を積層することで形成されている。これら9枚の板材P1〜P9に対して、それぞれ放電加工によってピンの配置及び押圧用張り出し部21a及び22aの形状に応じて、所望の形状に加工することで、複雑な形状を有する櫛歯状の装着用治具50の製作が容易なものとなる。
なお、上記第1の実施の形態において、圧入用張り出し部22aに押圧方向に形成した傾斜面の傾斜角度αについてはこれを、前述した横方向の分力fcや冶具との摩擦力を考慮して、圧入用張り出し部22aの一方への押圧によって信号ピン22に生じる横方向へのモーメントを打ち消し得る角度に設定することがより望ましい。
(第2の実施の形態)
次に、本発明に係るプレスフィットコネクタ及びその装着方法及び装着用治具を具体化した第2の実施の形態について、図9を参照して詳細に説明する。
次に、本発明に係るプレスフィットコネクタ及びその装着方法及び装着用治具を具体化した第2の実施の形態について、図9を参照して詳細に説明する。
なお、本実施の形態のプレスフィットコネクタは、先の第1の実施の形態において、その張り出し部22aに形成される偏倚規制部としての傾斜面22cに代えて、図9に示す態様で張り出し部22aの端部に櫛歯状の装着用治具50の一部と係合される突起部22dを設けたものである。その他の点は、先の第1の実施の形態と同様であり、ここでのそれら共通する部分についての重複する説明は割愛する。また、本実施の形態では、プレスフィットコネクタの装着方法及び装着用治具についても先の第1の実施の形態に準じたものとなっているため、その詳細な説明についても割愛する。
図9(a)は、本実施の形態にかかるプレスフィットコネクタの信号ピン22についてその装着用治具50との関係とともにその正面構造を示したものであり、また図9(b)は、特にその圧入用張り出し部22aについてその正面構造を拡大して示したものである。
これら図9(a)及び(b)に示すように、本実施の形態にあって、上記圧入用張り出し部22aの端部には、上方に突出する突起部22dが形成されている。そして、装着用治具50によって圧入用張り出し部22aが押圧されるとき、この突起部22dは装着用治具50の一部に設けられた係合部53と係合されることとなる。
これにより、装着用治具50によって圧入用張り出し部22aの片方のみが押される場合であっても、信号ピン22の偏倚がこれら突起部22d及び係合部53によって規制されるようになる。
なお、上記第2の実施の形態では、突起部22dを圧入用張り出し部22aの端部に形成することとしたが、この突起部22dに代えて、圧入用張り出し部22aの信号ピン22との付根部分に凹部を形成し、この凹部に係合されるかたちで装着用治具50に係合部を設けるようにしてもよい。また、この圧入用張り出し部22aの端部を上方に折り曲げることで、上記突起部22dを形成するようにしてもよい。
(第3の実施の形態)
次に、本発明に係るプレスフィットコネクタ及びその装着方法及び装着用治具を具体化した第3の実施の形態について、図11を参照して詳細に説明する。
次に、本発明に係るプレスフィットコネクタ及びその装着方法及び装着用治具を具体化した第3の実施の形態について、図11を参照して詳細に説明する。
なお、本実施の形態のプレスフィットコネクタは、先の第1の実施の形態において、その張り出し部22aに形成される偏倚規制部としての傾斜面22cに代えて、図10に示す態様で張り出し部22aの端部に櫛歯状の装着用治具50の一部と係合される突起部22eを設けたものである。その他の点は、先の第1の実施の形態と同様であり、ここでのそれら共通する部分についての重複する説明は割愛する。また、本実施の形態では、プレスフィットコネクタの装着方法及び装着用治具についても先の第1の実施の形態に準じたものとなっているため、その詳細な説明についても割愛する。
図10(a)は、本実施の形態にかかるプレスフィットコネクタの信号ピン22について装着用治具50との関係とともにその正面構造を示したものであり、また図10(b)は、特にその圧入用張り出し部22aについてその正面構造を拡大して示したものである。
これら図10(a)及び(b)に示すように、本実施の形態にあって、コネクタハウジングから見て前方及び後方の両方において、圧入用張り出し部22aの端部を折り曲げ加工して突起部22eが形成されている。そして、装着用治具50によって圧入用張り出し部22aが押圧されるとき、この突起部22eは装着用治具50の一部に設けられた係合部54と係合されることとなる。
これにより、装着用治具50によって圧入用張り出し部22aの片方のみが押される場合であっても、信号ピン22の偏倚がこれら突起部22e及び係合部54によって規制されるようになる。
なお、この第3の実施の形態では、圧入用張り出し部22aを長めに形成しておいてその端部を折り曲げることで突起部22eを形成することとしたが、図11に示すように、圧入用張り出し部22aの下方を長めに形成し、その部分を2分割してピン22の前後方向に折り曲げることにより突起部22fを形成するようにしてもよい。特にこの場合には、板金からプレスによる打ち抜き加工等によってコネクタピンを得る際、上記第3の実施の形態のものと比較して、それら各ピンの圧入用張り出し部22aを含めた絶対幅を節約することが可能となり、1枚の板金からより多くのコネクタピンを得ることができるようにもなる。
(その他の実施の形態)
その他、上記各実施の形態に共通して変更可能な要素としては以下ようなものがある。
・上記各実施の形態では、9枚の板材P1〜P9を積層して櫛歯状の装着用治具50を形成することとしたが、ブロックを加工して一体形成の櫛歯状の装着用治具50を形成するようにしてもよい。
その他、上記各実施の形態に共通して変更可能な要素としては以下ようなものがある。
・上記各実施の形態では、9枚の板材P1〜P9を積層して櫛歯状の装着用治具50を形成することとしたが、ブロックを加工して一体形成の櫛歯状の装着用治具50を形成するようにしてもよい。
・上記各実施の形態では、圧入用張り出し部22aをピンの両側に形成することとしたが、圧入用張り出し部22aの片方のみが押圧される場合でも信号ピンの傾きが規制されるため、例えば上記第1の実施の形態の変形例として図12に示すように、押圧されないもう一方の圧入用張り出し部22aについては、その配設を省略するようにしてもよい。これにより、隣接するピンの間隔(ピッチ)を減少することもでき、ピン構造の簡略化、またプリント基板の省スペース化が期待できるようになる。
・上記各実施の形態では、装着用治具50のコネクタピンと当たる部分について、その表面の面粗度が他の部分より大きくなるように表面処理することとしたが、パワーピン21や信号ピン22からなるコネクタピンの上記装着用治具50と当たる部分についても、その面粗度が他の部分より大きくなるように表面処理を施すようにしてもよい。
・上記各実施の形態では、放電加工によって櫛歯状の装着用治具50を構成する各板材P1〜P9を形成することとしたが、放電加工に限らず、旋盤での機械加工など、その他の加工方法を用いるようにしてもよい。また、プレスフィットコネクタとしてのピン配列等も、上記例示したものに限らず任意である。
21…パワーピン、22…信号ピン、21a,22a…圧入用張り出し部、21b,22b…プレスフィット部、22c…傾斜面、22d,22e,22f…突起部、30…ハウジング、40…プリント基板、41…スルーホール、50…櫛歯状の装着用治具、51…溝部、52〜55…係合部、P1〜P9…板材。
Claims (15)
- コネクタハウジングから延出されて且つ、途中で直角に折り曲げられたライトアングルタイプのコネクタピンを備え、前記コネクタピンの先端部には、プリント基板のスルーホールに圧入されるプレスフィット部とこのプレスフィット部の前記スルーホールへの圧入を補助すべく前記コネクタピンが部分的に拡幅される態様で張り出された圧入用張り出し部とがそれぞれ設けられてなるプレスフィットコネクタにおいて、
前記圧入用張り出し部には、当該圧入用張り出し部の押圧に際して前記コネクタピンの押圧方向以外への偏倚を規制する偏倚規制部が設けられてなる
ことを特徴とするプレスフィットコネクタ。 - 前記偏倚規制部が、前記押圧方向に対して鋭角となる傾斜面を有する切り欠き部からなる
請求項1に記載のプレスフィットコネクタ。 - 前記押圧方向に対して鋭角となる傾斜面の角度が、前記圧入用張り出し部の一方への押圧によって前記コネクタピンに生じる横方向へのモーメントを打ち消し得る角度に設定されてなる
請求項2に記載のプレスフィットコネクタ。 - 前記偏倚規制部が、前記圧入用張り出し部の前記コネクタピンとの付根部分に設けられて同圧入用張り出し部を押圧する治具の一部と係合される凹部からなる
請求項1に記載のプレスフィットコネクタ。 - 前記偏倚規制部が、前記圧入用張り出し部の端部に設けられて同圧入用張り出し部を押圧する治具の一部と係合される突起部からなる
請求項1に記載のプレスフィットコネクタ。 - 前記突起部が、前記圧入用張り出し部の端部上方に設けられてなる
請求項5に記載のプレスフィットコネクタ。 - 前記突起部が、前記圧入用張り出し部の端部の前記コネクタハウジングから見て前方及び後方の少なくとも一方に設けられてなる
請求項5に記載のプレスフィットコネクタ。 - 前記突起部が、前記圧入用張り出し部の端部を折り曲げ加工して形成されてなる
請求項6または7に記載のプレスフィットコネクタ。 - 前記偏倚規制部が、前記圧入用張り出し部を押圧する治具と当接される同圧入用張り出し部上面の面粗度の大きい部分からなる
請求項1に記載のプレスフィットコネクタ。 - 前記偏倚規制部を有する圧入用張り出し部が、前記コネクタピンの一側面にのみ設けられてなる
請求項1〜9のいずれか一項に記載のプレスフィットコネクタ。 - コネクタハウジングから延出されて且つ、途中で直角に折り曲げられたライトアングルタイプの複数のコネクタピンを備え、それら各コネクタピンの先端部には、プリント基板のスルーホールに圧入されるプレスフィット部とこのプレスフィット部の前記スルーホールへの圧入を補助すべく前記コネクタピンが部分的に拡幅される態様で張り出された圧入用張り出し部とがそれぞれ設けられてなるプレスフィットコネクタを櫛歯状の治具を用いて前記プリント基板に装着する方法であって、
前記コネクタピンの各圧入用張り出し部には、当該圧入用張り出し部の前記治具による押圧に際して前記コネクタピンの押圧方向以外への偏倚を規制する偏倚規制部を設けておき、前記治具には、前記圧入用張り出し部の押圧時に前記偏倚規制部と係合される係合部を設けておき、それら偏倚規制部と係合部とが係合された状態で前記圧入用張り出し部を前記治具で押圧して前記プレスフィットコネクタを前記プリント基板に装着する
ことを特徴とするプレスフィットコネクタの装着方法。 - コネクタハウジングから延出されて且つ、途中で直角に折り曲げられたライトアングルタイプの複数のコネクタピンを備え、それら各コネクタピンの先端部には、プリント基板のスルーホールに圧入されるプレスフィット部とこのプレスフィット部の前記スルーホールへの圧入を補助すべく前記コネクタピンが部分的に拡幅される態様で張り出された圧入用張り出し部とがそれぞれ設けられてなるとともに、それら圧入用張り出し部には、同圧入用張り出し部の押圧に際して前記コネクタピンの押圧方向以外への偏倚を規制する偏倚規制部が設けられてなるプレスフィットコネクタの前記圧入用張り出し部を押圧して、前記プレスフィットコネクタを前記プリント基板に装着するプレスフィットコネクタの装着用治具であって、
前記各コネクタピンが挿入される櫛歯状の形状を有してなり、それらコネクタピンの前記圧入用張り出し部と当接される部分には、同圧入用張り出し部の前記偏倚規制部と係合される係合部を備えてなる
ことを特徴とするプレスフィットコネクタの装着用治具。 - 前記櫛歯状の形状及び前記係合部の形状を分割する態様で複数枚の板材が積層されてなる
請求項12に記載のプレスフィットコネクタの装着用治具。 - 前記複数枚の板材の各々は、放電加工によって前記櫛歯状の形状及び前記係合部の形状に対応する加工がなされてなる
請求項13に記載のプレスフィットコネクタの装着用治具。 - 前記櫛歯状の形状及び前記係合部の形状に対応する加工がなされた前記複数枚の板材の各々はさらに、表面処理並びに熱処理が施されてなる
請求項14に記載のプレスフィットコネクタの装着用治具。
Priority Applications (1)
| Application Number | Priority Date | Filing Date | Title |
|---|---|---|---|
| JP2004107223A JP2005294025A (ja) | 2004-03-31 | 2004-03-31 | プレスフィットコネクタ及びその装着方法及び装着用治具 |
Applications Claiming Priority (1)
| Application Number | Priority Date | Filing Date | Title |
|---|---|---|---|
| JP2004107223A JP2005294025A (ja) | 2004-03-31 | 2004-03-31 | プレスフィットコネクタ及びその装着方法及び装着用治具 |
Publications (1)
| Publication Number | Publication Date |
|---|---|
| JP2005294025A true JP2005294025A (ja) | 2005-10-20 |
Family
ID=35326729
Family Applications (1)
| Application Number | Title | Priority Date | Filing Date |
|---|---|---|---|
| JP2004107223A Pending JP2005294025A (ja) | 2004-03-31 | 2004-03-31 | プレスフィットコネクタ及びその装着方法及び装着用治具 |
Country Status (1)
| Country | Link |
|---|---|
| JP (1) | JP2005294025A (ja) |
Cited By (6)
| Publication number | Priority date | Publication date | Assignee | Title |
|---|---|---|---|---|
| EP2139075A2 (en) | 2008-06-27 | 2009-12-30 | Fujitsu Limited | Press-fit contact, connector, and connection structure of press-fit contact |
| JP2015133199A (ja) * | 2014-01-10 | 2015-07-23 | 矢崎総業株式会社 | 端子挿入治具 |
| WO2015124482A1 (de) * | 2014-02-24 | 2015-08-27 | Robert Bosch Gmbh | Steckeranschlusselement, verbindungsanordnung mit mehreren steckeranschlusselementen in einem elektrischen gerät und einpresswerkzeug zur ausbildung einer verbindungsanordnung |
| JP2017041341A (ja) * | 2015-08-19 | 2017-02-23 | 住友電装株式会社 | 回路基板用コネクタ |
| JP2023076911A (ja) * | 2021-11-24 | 2023-06-05 | 住友電装株式会社 | 端子および連鎖端子 |
| WO2023219006A1 (ja) * | 2022-05-13 | 2023-11-16 | 株式会社オートネットワーク技術研究所 | プレスフィット端子及び基板用コネクタ |
-
2004
- 2004-03-31 JP JP2004107223A patent/JP2005294025A/ja active Pending
Cited By (8)
| Publication number | Priority date | Publication date | Assignee | Title |
|---|---|---|---|---|
| EP2139075A2 (en) | 2008-06-27 | 2009-12-30 | Fujitsu Limited | Press-fit contact, connector, and connection structure of press-fit contact |
| JP2015133199A (ja) * | 2014-01-10 | 2015-07-23 | 矢崎総業株式会社 | 端子挿入治具 |
| WO2015124482A1 (de) * | 2014-02-24 | 2015-08-27 | Robert Bosch Gmbh | Steckeranschlusselement, verbindungsanordnung mit mehreren steckeranschlusselementen in einem elektrischen gerät und einpresswerkzeug zur ausbildung einer verbindungsanordnung |
| JP2017041341A (ja) * | 2015-08-19 | 2017-02-23 | 住友電装株式会社 | 回路基板用コネクタ |
| CN106469864A (zh) * | 2015-08-19 | 2017-03-01 | 住友电装株式会社 | 电路基板用连接器 |
| JP2023076911A (ja) * | 2021-11-24 | 2023-06-05 | 住友電装株式会社 | 端子および連鎖端子 |
| JP7675974B2 (ja) | 2021-11-24 | 2025-05-14 | 住友電装株式会社 | 端子および連鎖端子 |
| WO2023219006A1 (ja) * | 2022-05-13 | 2023-11-16 | 株式会社オートネットワーク技術研究所 | プレスフィット端子及び基板用コネクタ |
Similar Documents
| Publication | Publication Date | Title |
|---|---|---|
| JP4804386B2 (ja) | プレスフィット・コンタクト | |
| JP4425730B2 (ja) | コネクタ端子の製造方法 | |
| JP2007535102A (ja) | プリント配線板との無はんだの電気的な接続のためのピン、圧入工具ならびに無はんだの電気的な接続を形成するための方法 | |
| JP4626680B2 (ja) | 保持部材、電子部品、及び電子装置 | |
| JP2009140839A (ja) | 接続端子 | |
| JP2005294025A (ja) | プレスフィットコネクタ及びその装着方法及び装着用治具 | |
| JP4983387B2 (ja) | 基板用コネクタ | |
| JP6325389B2 (ja) | コネクタ組立体 | |
| CN101752712B (zh) | 连接器 | |
| JP2025531518A (ja) | 電子素子の電気接続のための接続素子 | |
| JP3929931B2 (ja) | コネクタの圧入用治具 | |
| JP4589100B2 (ja) | ノックピンを備えた結合構造物 | |
| JP2005340024A (ja) | 基板取付型電気コネクタ | |
| JP2006338919A (ja) | コネクタ | |
| JP2003069180A (ja) | フレキシブルブリント基板および電子機器 | |
| JP2010080235A (ja) | 接続端子構成体、コネクタ、及びコネクタの組立方法 | |
| JP4075807B2 (ja) | 端子金具及び基板用コネクタ | |
| JP2009252588A (ja) | コネクタソケット | |
| JP2020030918A (ja) | コネクタ及び積層基板モジュール | |
| JP2006210230A (ja) | プレスフィット端子、その固定方法及びプレスフィット端子を使用した回路基板装置の製造方法 | |
| JP2021086779A (ja) | ピンヘッダー組立体 | |
| CN100421310C (zh) | 能够减小翘曲的连接器 | |
| JP2001148271A (ja) | プレスフィットコネクタ用コンタクトおよびプレスフィットコネクタ | |
| JP3006206B2 (ja) | 表面実装型コネクタ | |
| JP4270572B2 (ja) | 両面接続用コネクタ |